SWCU192 November   2021 CC1312R7 , CC1352P7 , CC2652P7 , CC2652R7

 

  1.   1
    1.     2
    2.     3
    3.     4
    4.     5
    5.     6
  2.   7
    1.     8
    2.     9
    3.     10
      1.      11
        1.       12
        2.       13
        3.       14
        4.       15
      2.      16
        1.       17
        2.       18
        3.       19
      3.      20
      4.      21
      5.      22
        1.       23
        2.       24
      6.      25
      7.      26
      8.      27
        1.       28
        2.       29
        3.       30
        4.       31
      9.      32
      10.      33
      11.      34
      12.      35
      13.      36
        1.       37
          1.        38
          2.        39
          3.        40
          4.        41
        2.       42
  3.   43
    1.     44
    2.     45
    3.     46
      1.      47
      2.      48
      3.      49
      4.      50
      5.      51
      6.      52
    4.     53
      1.      54
      2.      55
      3.      56
      4.      57
    5.     58
      1.      59
      2.      60
        1.       61
        2.       62
        3.       63
        4.       64
        5.       65
        6.       66
        7.       67
        8.       68
        9.       69
        10.       70
        11.       71
        12.       72
        13.       73
        14.       74
        15.       75
        16.       76
        17.       77
        18.       78
        19.       79
        20.       80
        21.       81
    6.     82
      1.      83
      2.      84
      3.      85
    7.     86
      1.      87
      2.      88
        1.       89
        2.       90
          1.        91
          2.        92
          3.        93
        3.       94
        4.       95
        5.       96
        6.       97
          1.        98
          2.        99
          3.        100
        7.       101
      3.      102
        1.       103
          1.        104
    8.     105
      1.      106
      2.      107
      3.      108
    9.     109
      1.      110
      2.      111
      3.      112
      4.      113
      5.      114
  4.   115
    1.     116
  5.   117
    1.     118
    2.     119
      1.      120
      2.      121
        1.       122
        2.       123
      3.      124
      4.      125
      5.      126
      6.      127
      7.      128
  6.   129
    1.     130
      1.      131
      2.      132
      3.      133
      4.      134
      5.      135
      6.      136
      7.      137
        1.       138
        2.       139
    2.     140
      1.      141
      2.      142
      3.      143
      4.      144
    3.     145
      1.      146
      2.      147
        1.       148
    4.     149
      1.      150
      2.      151
        1.       152
        2.       153
        3.       154
    5.     155
      1.      156
      2.      157
        1.       158
        2.       159
        3.       160
    6.     161
    7.     162
      1.      163
      2.      164
  7.   165
    1.     166
    2.     167
      1.      168
        1.       169
      2.      170
        1.       171
        2.       172
        3.       173
    3.     174
      1.      175
        1.       176
        2.       177
      2.      178
        1.       179
        2.       180
        3.       181
        4.       182
        5.       183
        6.       184
        7.       185
        8.       186
      3.      187
      4.      188
        1.       189
          1.        190
          2.        191
          3.        192
        2.       193
          1.        194
        3.       195
          1.        196
    4.     197
    5.     198
    6.     199
    7.     200
    8.     201
    9.     202
    10.     203
  8.   204
    1.     205
    2.     206
    3.     207
      1.      208
    4.     209
      1.      210
        1.       211
      2.      212
        1.       213
    5.     214
      1.      215
        1.       216
      2.      217
        1.       218
        2.       219
        3.       220
      3.      221
    6.     222
      1.      223
      2.      224
      3.      225
      4.      226
      5.      227
    7.     228
      1.      229
        1.       230
        2.       231
        3.       232
      2.      233
      3.      234
    8.     235
      1.      236
      2.      237
      3.      238
  9.   239
    1.     240
    2.     241
      1.      242
        1.       243
        2.       244
        3.       245
      2.      246
      3.      247
      4.      248
    3.     249
      1.      250
      2.      251
        1.       252
        2.       253
        3.       254
    4.     255
    5.     256
      1.      257
      2.      258
      3.      259
      4.      260
    6.     261
    7.     262
      1.      263
      2.      264
  10.   265
    1.     266
    2.     267
    3.     268
    4.     269
    5.     270
    6.     271
    7.     272
      1.      273
      2.      274
  11.   275
    1.     276
      1.      277
      2.      278
    2.     279
      1.      280
        1.       281
      2.      282
        1.       283
          1.        284
        2.       285
      3.      286
        1.       287
        2.       288
        3.       289
        4.       290
        5.       291
        6.       292
        7.       293
        8.       294
        9.       295
        10.       296
        11.       297
        12.       298
        13.       299
  12.   300
    1.     301
    2.     302
      1.      303
    3.     304
    4.     305
      1.      306
  13.   307
    1.     308
    2.     309
      1.      310
      2.      311
    3.     312
    4.     313
      1.      314
      2.      315
      3.      316
    5.     317
      1.      318
      2.      319
      3.      320
        1.       321
        2.       322
      4.      323
        1.       324
          1.        325
        2.       326
          1.        327
        3.       328
      5.      329
        1.       330
        2.       331
        3.       332
        4.       333
        5.       334
      6.      335
        1.       336
        2.       337
        3.       338
        4.       339
        5.       340
    6.     341
      1.      342
      2.      343
    7.     344
      1.      345
      2.      346
        1.       347
        2.       348
        3.       349
      3.      350
        1.       351
        2.       352
          1.        353
          2.        354
          3.        355
        3.       356
          1.        357
        4.       358
          1.        359
          2.        360
      4.      361
        1.       362
        2.       363
          1.        364
        3.       365
          1.        366
          2.        367
          3.        368
          4.        369
        4.       370
          1.        371
        5.       372
          1.        373
        6.       374
          1.        375
      5.      376
        1.       377
        2.       378
        3.       379
          1.        380
          2.        381
            1.         382
          3.        383
            1.         384
            2.         385
              1.          386
              2.          387
              3.          388
              4.          389
              5.          390
              6.          391
              7.          392
              8.          393
            3.         394
            4.         395
            5.         396
    8.     397
      1.      398
        1.       399
        2.       400
      2.      401
    9.     402
      1.      403
  14.   404
    1.     405
    2.     406
    3.     407
      1.      408
      2.      409
      3.      410
      4.      411
    4.     412
      1.      413
    5.     414
    6.     415
    7.     416
    8.     417
    9.     418
      1.      419
        1.       420
        2.       421
    10.     422
      1.      423
      2.      424
      3.      425
  15.   426
    1.     427
    2.     428
    3.     429
      1.      430
      2.      431
      3.      432
      4.      433
        1.       434
        2.       435
      5.      436
      6.      437
        1.       438
        2.       439
        3.       440
        4.       441
        5.       442
        6.       443
      7.      444
      8.      445
      9.      446
      10.      447
    4.     448
      1.      449
      2.      450
        1.       451
        2.       452
        3.       453
    5.     454
      1.      455
  16.   456
    1.     457
    2.     458
    3.     459
      1.      460
      2.      461
        1.       462
        2.       463
        3.       464
        4.       465
        5.       466
      3.      467
      4.      468
    4.     469
      1.      470
      2.      471
      3.      472
      4.      473
      5.      474
    5.     475
      1.      476
  17.   477
    1.     478
    2.     479
      1.      480
      2.      481
      3.      482
        1.       483
      4.      484
    3.     485
      1.      486
      2.      487
      3.      488
    4.     489
      1.      490
  18.   491
    1.     492
    2.     493
    3.     494
    4.     495
      1.      496
  19.   497
    1.     498
    2.     499
    3.     500
    4.     501
    5.     502
      1.      503
      2.      504
      3.      505
    6.     506
      1.      507
        1.       508
        2.       509
        3.       510
          1.        511
          2.        512
    7.     513
      1.      514
  20.   515
    1.     516
      1.      517
    2.     518
      1.      519
        1.       520
      2.      521
        1.       522
        2.       523
      3.      524
      4.      525
    3.     526
      1.      527
        1.       528
        2.       529
        3.       530
        4.       531
      2.      532
        1.       533
          1.        534
        2.       535
          1.        536
          2.        537
        3.       538
          1.        539
        4.       540
          1.        541
          2.        542
          3.        543
        5.       544
        6.       545
        7.       546
        8.       547
        9.       548
        10.       549
    4.     550
      1.      551
        1.       552
      2.      553
        1.       554
        2.       555
          1.        556
          2.        557
          3.        558
          4.        559
          5.        560
      3.      561
        1.       562
        2.       563
        3.       564
      4.      565
        1.       566
        2.       567
          1.        568
          2.        569
          3.        570
      5.      571
        1.       572
        2.       573
          1.        574
          2.        575
          3.        576
          4.        577
            1.         578
            2.         579
          5.        580
          6.        581
        3.       582
          1.        583
          2.        584
          3.        585
            1.         586
            2.         587
            3.         588
            4.         589
          4.        590
      6.      591
        1.       592
        2.       593
      7.      594
        1.       595
        2.       596
          1.        597
          2.        598
          3.        599
          4.        600
          5.        601
            1.         602
              1.          603
            2.         604
              1.          605
            3.         606
              1.          607
          6.        608
    5.     609
      1.      610
        1.       611
        2.       612
      2.      613
        1.       614
        2.       615
          1.        616
          2.        617
          3.        618
          4.        619
          5.        620
          6.        621
          7.        622
          8.        623
      3.      624
        1.       625
        2.       626
          1.        627
          2.        628
          3.        629
          4.        630
      4.      631
        1.       632
        2.       633
          1.        634
          2.        635
          3.        636
            1.         637
            2.         638
      5.      639
        1.       640
        2.       641
          1.        642
          2.        643
          3.        644
            1.         645
            2.         646
            3.         647
          4.        648
            1.         649
            2.         650
            3.         651
            4.         652
          5.        653
          6.        654
      6.      655
        1.       656
        2.       657
          1.        658
          2.        659
          3.        660
          4.        661
          5.        662
    6.     663
      1.      664
        1.       665
        2.       666
          1.        667
            1.         668
            2.         669
      2.      670
      3.      671
      4.      672
      5.      673
      6.      674
      7.      675
    7.     676
    8.     677
      1.      678
      2.      679
      3.      680
      4.      681
      5.      682
      6.      683
      7.      684
      8.      685
      9.      686
      10.      687
      11.      688
      12.      689
  21.   690
    1.     691
    2.     692
    3.     693
      1.      694
  22.   695
    1.     696
    2.     697
    3.     698
    4.     699
      1.      700
      2.      701
      3.      702
      4.      703
        1.       704
        2.       705
          1.        706
          2.        707
      5.      708
      6.      709
      7.      710
    5.     711
    6.     712
    7.     713
      1.      714
  23.   715
    1.     716
    2.     717
    3.     718
    4.     719
      1.      720
      2.      721
        1.       722
        2.       723
      3.      724
      4.      725
        1.       726
        2.       727
          1.        728
          2.        729
        3.       730
        4.       731
        5.       732
        6.       733
        7.       734
    5.     735
    6.     736
    7.     737
      1.      738
  24.   739
    1.     740
    2.     741
    3.     742
      1.      743
        1.       744
        2.       745
        3.       746
        4.       747
        5.       748
      2.      749
        1.       750
      3.      751
        1.       752
        2.       753
      4.      754
      5.      755
        1.       756
        2.       757
    4.     758
    5.     759
      1.      760
  25.   761
    1.     762
    2.     763
    3.     764
    4.     765
      1.      766
        1.       767
      2.      768
      3.      769
      4.      770
        1.       771
      5.      772
        1.       773
      6.      774
        1.       775
      7.      776
        1.       777
      8.      778
        1.       779
        2.       780
    5.     781
      1.      782
      2.      783
      3.      784
      4.      785
        1.       786
        2.       787
        3.       788
    6.     789
      1.      790
      2.      791
      3.      792
      4.      793
    7.     794
    8.     795
      1.      796
      2.      797
    9.     798
      1.      799
  26.   800
    1.     801
      1.      802
    2.     803
      1.      804
      2.      805
      3.      806
        1.       807
        2.       808
        3.       809
      4.      810
        1.       811
        2.       812
        3.       813
    3.     814
      1.      815
      2.      816
        1.       817
        2.       818
        3.       819
        4.       820
        5.       821
          1.        822
          2.        823
          3.        824
        6.       825
          1.        826
        7.       827
          1.        828
          2.        829
          3.        830
          4.        831
        8.       832
      3.      833
        1.       834
          1.        835
          2.        836
          3.        837
          4.        838
          5.        839
          6.        840
          7.        841
          8.        842
          9.        843
          10.        844
          11.        845
          12.        846
          13.        847
          14.        848
        2.       849
          1.        850
          2.        851
          3.        852
          4.        853
          5.        854
          6.        855
          7.        856
          8.        857
          9.        858
          10.        859
          11.        860
          12.        861
          13.        862
          14.        863
          15.        864
          16.        865
          17.        866
          18.        867
          19.        868
          20.        869
      4.      870
        1.       871
        2.       872
        3.       873
        4.       874
        5.       875
    4.     876
      1.      877
        1.       878
        2.       879
        3.       880
        4.       881
        5.       882
      2.      883
        1.       884
        2.       885
    5.     886
      1.      887
        1.       888
        2.       889
        3.       890
        4.       891
      2.      892
      3.      893
        1.       894
        2.       895
      4.      896
        1.       897
          1.        898
            1.         899
            2.         900
          2.        901
          3.        902
          4.        903
          5.        904
        2.       905
        3.       906
        4.       907
        5.       908
        6.       909
      5.      910
        1.       911
        2.       912
        3.       913
        4.       914
        5.       915
        6.       916
    6.     917
      1.      918
        1.       919
          1.        920
        2.       921
        3.       922
        4.       923
      2.      924
    7.     925
      1.      926
      2.      927
    8.     928
      1.      929
      2.      930
      3.      931
      4.      932
      5.      933
      6.      934
      7.      935
      8.      936
        1.       937
        2.       938
        3.       939
        4.       940
      9.      941
        1.       942
        2.       943
        3.       944
      10.      945
        1.       946
        2.       947
        3.       948
        4.       949
        5.       950
      11.      951
        1.       952
        2.       953
        3.       954
        4.       955
        5.       956
      12.      957
      13.      958
      14.      959
      15.      960
      16.      961
      17.      962
    9.     963
      1.      964
    10.     965
      1.      966
      2.      967
        1.       968
          1.        969
        2.       970
        3.       971
      3.      972
      4.      973
        1.       974
        2.       975
      5.      976
        1.       977
        2.       978
          1.        979
        3.       980
          1.        981
          2.        982
        4.       983
          1.        984
          2.        985
        5.       986
          1.        987
          2.        988
          3.        989
      6.      990
        1.       991
        2.       992
    11.     993
      1.      994
      2.      995
      3.      996
  27.   997

Introduction

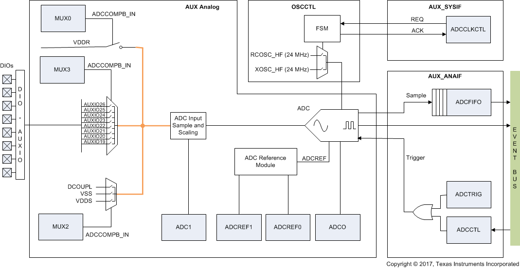
The AUX ADC peripheral has the following features:

  • 12-bit general purpose successive-approximation type (SAR) ADC
  • Samples analog-capable AUX I/O pins or internal chip voltages
  • Sample rates up to 200 ksamples/s
  • Manual or event-driven ADC trigger to start ADC sampling or conversion dependent of ADC operation mode:
    • ADC trigger starts sampling followed by conversion
    • Continuous sampling, ADC trigger starts conversion
  • Configurable sampling time
  • Fixed or relative ADC reference
  • Four-element ADC sample FIFO with event interface

Figure 20-29 shows how the ADC connects to analog nodes and the digital control provided by AUX_ANAIF and ADI_4_AUX registers.

GUID-431EADC4-1565-4FCD-BBCD-E75FAFE18391-low.gifFigure 20-29 ADC Block Diagram