ZHCABU2A April   2020  – October 2022 CC1350 , CC1352P , CC1352R , CC2400 , CC2420 , CC2430 , CC2500 , CC2520 , CC2530 , CC2538 , CC2540 , CC2541 , CC2543 , CC2544 , CC2545 , CC2564 , CC2590 , CC2591 , CC2592 , CC2620 , CC2630 , CC2640 , CC2650 , CC2652P , CC2652R , CC2652R7 , CC2652RSIP , CC3100 , CC3120 , CC3135 , CC3135MOD , CC3200 , CC3200MOD , CC3220MOD , CC3220MODA , CC3220R , CC3220S , CC3220SF , CC3230S , CC3230SF , CC3235MODAS , CC3235MODASF , CC3235MODS , CC3235MODSF , CC3235S , CC3235SF , WL1801MOD , WL1805MOD , WL1807MOD , WL1831

 

  1.   针对在免许可证 2.4GHz/5GHz 频段运行的 SRD 的 CE 法规
  2.   商标
  3. 引言
  4. 法规概述
    1. 2.1 CEPT ERC 建议 70-03
  5. 无线电设备指令 (RED)
    1. 3.1 基本要求
    2. 3.2 制造商的义务
    3. 3.3 无线电设备的符合性
      1. 3.3.1 无线电设备符合性推定
      2. 3.3.2 符合性评估程序
      3. 3.3.3 EU 符合性声明
      4. 3.3.4 加贴 CE 标识的规则和条件
      5. 3.3.5 技术文档
    4. 3.4 投入使用的限制
  6. ETSI EN 300 440
    1. 4.1 技术要求
      1. 4.1.1 环境概况
    2. 4.2 发送器要求
      1. 4.2.1 发送器最大辐射功率 (e.i.r.p.)
      2. 4.2.2 允许的工作频率范围
      3. 4.2.3 杂散域中的有害发射
      4. 4.2.4 占空比
      5. 4.2.5 FHSS 设备的附加要求
    3. 4.3 接收器要求
      1. 4.3.1 接收器类别
      2. 4.3.2 接收器性能标准
      3. 4.3.3 相邻信道选择性
      4. 4.3.4 阻塞或脱敏
      5. 4.3.5 杂散辐射 - 接收器
    4. 4.4 频谱接入技术
      1. 4.4.1 说前先听
        1. 4.4.1.1 LBT 时序参数
        2. 4.4.1.2 接收器 LBT 阈值和发送器最大开启时间
      2. 4.4.2 检测避让技术 (DAA)
  7. ETSI EN 300 328
    1. 5.1 技术要求
      1. 5.1.1 环境概况
    2. 5.2 设备类型
      1. 5.2.1 宽带数据传输设备类型
      2. 5.2.2 自适应和非自适应设备
      3. 5.2.3 接收器类别
      4. 5.2.4 天线类型
    3. 5.3 一致性要求
      1. 5.3.1 跳频设备的一致性要求
        1. 5.3.1.1  射频输出功率
        2. 5.3.1.2  占空比
        3. 5.3.1.3  累积传输时间、频率占用和跳频序列
        4. 5.3.1.4  跳频间隔
        5. 5.3.1.5  介质利用 (MU) 系数
        6. 5.3.1.6  自适应性(自适应 FHSS)
          1. 5.3.1.6.1 使用 LBT 的自适应 FHSS
          2. 5.3.1.6.2 使用 DAA 的自适应 FHSS
          3. 5.3.1.6.3 自适应 FHSSS - 短控制信令传输
        7. 5.3.1.7  占用的通道带宽
        8. 5.3.1.8  带外域中的发送器有害发射
        9. 5.3.1.9  杂散域中的发送器有害发射
        10. 5.3.1.10 接收器杂散发射
        11. 5.3.1.11 接收器阻塞
        12. 5.3.1.12 地理位置功能
      2. 5.3.2 宽带数据传输设备(非 FHSS)的一致性要求
        1. 5.3.2.1  射频输出功率
        2. 5.3.2.2  功率谱密度
        3. 5.3.2.3  占空比、Tx 序列和 Tx 间隙
        4. 5.3.2.4  介质利用系数
        5. 5.3.2.5  适应性(非 FHSS)
          1. 5.3.2.5.1 使用 LBT 的自适应非 FHSS
            1. 5.3.2.5.1.1 基于帧的设备
            2. 5.3.2.5.1.2 基于负载的设备
          2. 5.3.2.5.2 使用 DAA 的自适应非 FHSS
          3. 5.3.2.5.3 自适应非 FHSS - 短控制信令传输
        6. 5.3.2.6  占用的通道带宽
        7. 5.3.2.7  带外域中的发送器有害发射
        8. 5.3.2.8  74
        9. 5.3.2.9  杂散域中的发送器有害发射
        10. 5.3.2.10 接收器杂散发射
        11. 5.3.2.11 接收阻塞
        12. 5.3.2.12 地理位置功能
  8. ETSI EN 301 893
    1. 6.1 技术要求
      1. 6.1.1 环境概况
    2. 6.2 一致性要求
      1. 6.2.1  标称中心频率
      2. 6.2.2  标称信道带宽和占用的信道带宽
      3. 6.2.3  射频输出功率、发射功率控制 (TPC) 和功率密度
      4. 6.2.4  发送器有害发射 - 5GHz RLAN 频段外
      5. 6.2.5  发送器有害发射 - 5GHz RLAN 频段内
      6. 6.2.6  接收器杂散发射
      7. 6.2.7  动态频率选择 (DFS)
      8. 6.2.8  自适应性(信道接入机制)
        1. 6.2.8.1 基于帧的设备 (FBE)
          1. 6.2.8.1.1 发起设备信道接入机制
          2. 6.2.8.1.2 响应设备信道接入机制
        2. 6.2.8.2 基于负载的设备 (LBE)
          1. 6.2.8.2.1 设备类型 - 基于负载的设备
          2. 6.2.8.2.2 多信道运行 - 基于负载的设备
          3. 6.2.8.2.3 优先级 - 基于负载的设备
          4. 6.2.8.2.4 ED 阈值水平 - 基于负载的设备
          5. 6.2.8.2.5 发起设备信道接入机制 - 基于负载的设备
          6. 6.2.8.2.6 响应设备信道接入机制 - 基于负载的设备
        3. 6.2.8.3 短控制信令传输(FBE 和 LBE)
      9. 6.2.9  接收器阻塞
      10. 6.2.10 用户访问限制
      11. 6.2.11 地理位置功能
  9. ETSI EN 301 489
    1. 7.1 技术要求
    2. 7.2 环境分类
    3. 7.3 测试条件
    4. 7.4 射频排除频段
    5. 7.5 性能评估
      1. 7.5.1 设备分类
    6. 7.6 性能标准
      1. 7.6.1 最低性能水平
    7. 7.7 发射要求
      1. 7.7.1 辐射发射 – 机壳端口
      2. 7.7.2 传导发射 - 直流电源输入/输出端口
      3. 7.7.3 传导发射 - 交流电源输入/输出端口
      4. 7.7.4 谐波电流发射 - 交流电源输入端口
      5. 7.7.5 电压波动与闪变 - 交流电源输入端口
      6. 7.7.6 传导发射 - 有线网络端口
    8. 7.8 抗扰度要求
      1. 7.8.1 射频电磁场(80MHz 至 6000MHz)- 外壳端口
      2. 7.8.2 静电放电 - 外壳
      3. 7.8.3 快速瞬变 - 共模
      4. 7.8.4 射频 - 共模
      5. 7.8.5 车辆环境中的瞬变和浪涌
      6. 7.8.6 电压骤降和中断
      7. 7.8.7 浪涌
  10. IEC 62368-1
    1. 8.1 安全要求
  11. EN 62311
    1. 9.1 EN 62311 的要求和限制
  12. 10参考文献
  13. 11修订历史记录
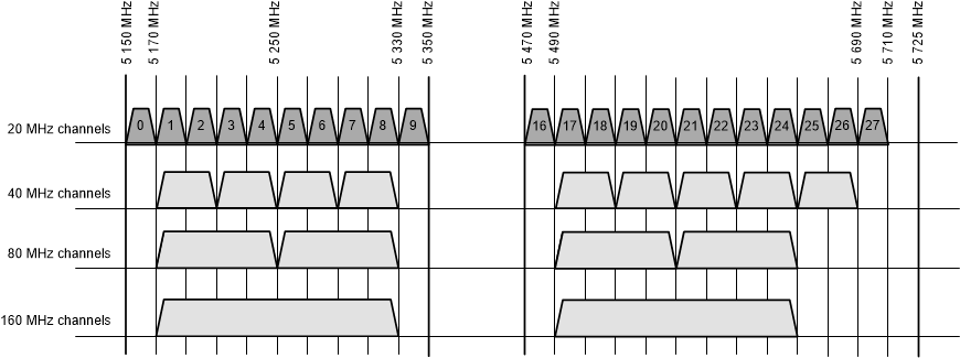
多信道运行 - 基于负载的设备

能够在相邻或非相邻工作信道(请参阅Topic Link Label6.2.1)中同时传输的基于负载的设备应实施下面的选项 1 或选项 2:

选项 1:基于负载的设备可以使用Topic Link Label6.2.1中提供的信道列表(标称中心频率)之外的 20MHz 工作信道的任何组合/分组,前提是它满足每个此类 20MHz 工作信道上的发起设备的信道接入要求(信道接入机制)(Topic Link Label6.2.8.2.5对此进行了介绍)。

选项 2:图 6-3 定义和展示了绑定的 40MHz、80MHz 或 160MHz 信道(有关信道编号,请参阅第 4.2.1.3 条)。如果满足以下条件,则使用 20MHz 工作信道组合/分组的基于负载的设备是绑定的 40MHz、80MHz 或 160MHz 信道的子集:

  • 该设备满足Topic Link Label6.2.8.2.5中定义的在 20MHz 工作信道(主工作信道)之一上的发起设备的信道接入要求(信道访问机制),以及
  • 设备在预期传输的每个其他工作信道上执行预期传输之前至少 25μs 的空闲信道评估 (CCA),并且未检测到高于Topic Link Label6.2.8.2.4中定义的 ED 阈值水平 (TL) 的能量。

主工作信道的选择应遵循以下程序之一:

  • 每当对应于当前主工作信道上的完成传输的争用窗口 (CW) 被设置为其最小值 (CWmin) 时,主工作信道被统一随机选择。对于该程序,为绑定信道内每个 20MHz 工作信道内的每个优先级(请参阅Topic Link Label6.2.8.2.3)维护一个争用窗口 (CW)。
  • 主工作信道是任意确定的,每秒更改不超过一次。

20MHz 工作信道的组合/分组是其子集的绑定 40MHz、80MHz 或 160MHz 信道每秒更改应不超过一次。

GUID-F8F832DE-4FA3-4388-A4A4-1DC4EC38F392-low.gif图 6-3 选项 2 的信道绑定