ZHCU768 May   2021

 

  1.   说明
  2.   资源
  3.   特性
  4.   应用
  5.   5
  6. 1系统说明
  7. 2系统概览
    1. 2.1 方框图
    2. 2.2 主要产品
      1. 2.2.1 SimpleLink MCU
        1. 2.2.1.1 CC3235MODS
        2. 2.2.1.2 CC1352R LaunchPad
          1. 2.2.1.2.1 CC1352R
      2. 2.2.2 电源
        1. 2.2.2.1 TPS63802
        2. 2.2.2.2 TPS63900
        3. 2.2.2.3 TPS62825
        4. 2.2.2.4 TPS7A03
        5. 2.2.2.5 TPS7A20
        6. 2.2.2.6 TPS62840
        7. 2.2.2.7 TPS22919
        8. 2.2.2.8 LM66100
      3. 2.2.3 外设
        1. 2.2.3.1 OPT3004
        2. 2.2.3.2 DRV8837C
        3. 2.2.3.3 TPA2011
        4. 2.2.3.4 TLV61048
      4. 2.2.4 OmniVision 视频编码器 OA7000
      5. 2.2.5 OmniVision 图像传感器 SP2329
      6. 2.2.6 YTOT 镜头模块
    3. 2.3 设计注意事项
      1. 2.3.1  输入电源:电池和 USB
      2. 2.3.2  电源要求
      3. 2.3.3  摄像头唤醒和昼/夜传感
        1. 2.3.3.1 基于 PIR 和 MSP430 的低成本、高性能运动检测设计
      4. 2.3.4  电池电量监测
      5. 2.3.5  红外 LED 照明
      6. 2.3.6  红外截止滤光片
      7. 2.3.7  音频
      8. 2.3.8  系统运行
      9. 2.3.9  Wi-Fi 和主机子系统
      10. 2.3.10 固件控制
        1. 2.3.10.1 应用流程
  8. 3硬件、软件、测试要求和测试结果
    1. 3.1 硬件
    2. 3.2 软件
    3. 3.3 设置
      1. 3.3.1 通过 Wi-Fi 传输视频的配置步骤
      2. 3.3.2 (可选)通过 USB 为 OA7000 刷写最新固件或流式传输视频
      3. 3.3.3 视频流式传输
      4. 3.3.4 摄像头模块的 LPSTK-CC1352R 配置设置
    4. 3.4 测试结果
      1. 3.4.1 电源轨和电流消耗
      2. 3.4.2 电池寿命计算
      3. 3.4.3 视频流式传输
      4. 3.4.4 红外 LED 驱动
  9. 4设计和文档支持
    1. 4.1 设计文件
      1. 4.1.1 原理图
      2. 4.1.2 物料清单
    2. 4.2 软件
    3. 4.3 支持资源
    4. 4.4 参考文献
    5. 4.5 商标
  10. 5关于作者

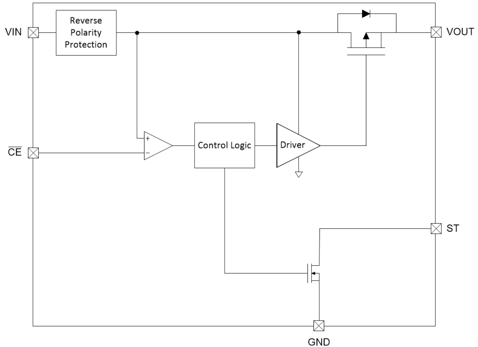
LM66100

LM66100 是单输入单输出 (SISO) 集成式理想二极管,非常适合用于各种应用。此器件包含一个可在 1.5V 至 5.5V 输入电压范围内运行的 P 沟道 MOSFET,并且支持 1.5A 的最大持续电流。该芯片通过比较 CE 引脚电压和输入电压来提供支持。当 CE 引脚电压比 VIN 高出 80mV 时,该器件被禁用并且 MOSFET 关闭。当 CE 引脚电压比 VIN 低 250mV 时,MOSFET 开启。LM66100 还具有反极性保护 (RPP) 功能,该功能可以保护器件不受误接线输入的影响,例如电池装反。

此参考设计可为摄像头实施电池和 USB 输入。两个 LM66100 理想二极管用来选择从 USB 或电池获取电源输入并防止两个电源之间出现反向流动的电流。

GUID-1F08F5BE-0084-418E-98AC-F428549D9F56-low.jpg图 2-13 LM66100 功能方框图