ZHCSBT2G November   2012  – October 2017 66AK2H06 , 66AK2H12 , 66AK2H14

PRODUCTION DATA.  

  1. 器件概述
    1. 1.1 特性
    2. 1.2 应用
    3. 1.3 说明
      1. 1.3.1 KeyStone II 的增强功能
    4. 1.4 功能方框图
  2. 修订历史记录
  3. Device Comparison
    1. 3.1 Related Products
  4. Terminal Configuration and Functions
    1. 4.1 Package Terminals
    2. 4.2 Pin Map
    3. 4.3 Terminal Functions
    4. 4.4 Pullup/Pulldown Resistors
  5. Specifications
    1. 5.1 Absolute Maximum Ratings
    2. 5.2 ESD Ratings
    3. 5.3 Recommended Operating Conditions
    4. 5.4 Power Consumption Summary
    5. 5.5 Electrical Characteristics
    6. 5.6 Thermal Resistance Characteristics for PBGA Package [AAW]
    7. 5.7 Power Supply to Peripheral I/O Mapping
  6. C66x CorePac
    1. 6.1 C66x DSP CorePac
    2. 6.2 Memory Architecture
      1. 6.2.1 L1P Memory
      2. 6.2.2 L1D Memory
      3. 6.2.3 L2 Memory
      4. 6.2.4 Multicore Shared Memory SRAM
      5. 6.2.5 L3 Memory
    3. 6.3 Memory Protection
    4. 6.4 Bandwidth Management
    5. 6.5 Power-Down Control
    6. 6.6 C66x CorePac Revision
      1. Table 6-2 CorePac Revision ID Register (MM_REVID) Field Descriptions
    7. 6.7 C66x CorePac Register Descriptions
  7. ARM CorePac
    1. 7.1 Features
    2. 7.2 System Integration
    3. 7.3 ARM Cortex-A15 Processor
      1. 7.3.1 Overview
      2. 7.3.2 Features
      3. 7.3.3 ARM Interrupt Controller
      4. 7.3.4 Endianess
    4. 7.4 CFG Connection
    5. 7.5 Main TeraNet Connection
    6. 7.6 Clocking and Reset
      1. 7.6.1 Clocking
      2. 7.6.2 Reset
  8. Memory, Interrupts, and EDMA for 66AK2Hxx
    1. 8.1 Memory Map Summary for 66AK2Hxx
    2. 8.2 Memory Protection Unit (MPU) for 66AK2Hxx
      1. 8.2.1 MPU Registers
        1. 8.2.1.1 MPU Register Map
        2. 8.2.1.2 Device-Specific MPU Registers
          1. 8.2.1.2.1 Configuration Register (CONFIG)
            1. Table 8-9 Configuration Register Field Descriptions
      2. 8.2.2 MPU Programmable Range Registers
        1. 8.2.2.1 Programmable Range n Start Address Register (PROGn_MPSAR)
          1. Table 8-10 Programmable Range n Start Address Register Field Descriptions
        2. 8.2.2.2 Programmable Range n - End Address Register (PROGn_MPEAR)
          1. Table 8-14 Programmable Range n End Address Register Field Descriptions
        3. 8.2.2.3 Programmable Range n Memory Protection Page Attribute Register (PROGn_MPPAR)
          1. Table 8-18 Programmable Range n Memory Protection Page Attribute Register Field Descriptions
    3. 8.3 Interrupts for 66AK2Hxx
      1. 8.3.1 Interrupt Sources and Interrupt Controller
      2. 8.3.2 CIC Registers
        1. 8.3.2.1 CIC0 Register Map
        2. 8.3.2.2 CIC1 Register Map
        3. 8.3.2.3 CIC2 Register Map
      3. 8.3.3 Inter-Processor Register Map
      4. 8.3.4 NMI and LRESET
    4. 8.4 Enhanced Direct Memory Access (EDMA3) Controller for 66AK2Hxx
      1. 8.4.1 EDMA3 Device-Specific Information
      2. 8.4.2 EDMA3 Channel Controller Configuration
      3. 8.4.3 EDMA3 Transfer Controller Configuration
      4. 8.4.4 EDMA3 Channel Synchronization Events
  9. System Interconnect
    1. 9.1 Internal Buses and Switch Fabrics
    2. 9.2 Switch Fabric Connections Matrix - Data Space
    3. 9.3 TeraNet Switch Fabric Connections Matrix - Configuration Space
    4. 9.4 Bus Priorities
  10. 10Device Boot and Configuration
    1. 10.1 Device Boot
      1. 10.1.1 Boot Sequence
      2. 10.1.2 Boot Modes Supported
        1. 10.1.2.1 Boot Device Field
          1. Table 10-3 Boot Mode Pins: Boot Device Values
        2. 10.1.2.2 Device Configuration Field
          1. 10.1.2.2.1 Sleep Boot Mode Configuration
            1. Table 10-4 Sleep Boot Configuration Field Descriptions
          2. 10.1.2.2.2 I2C Boot Device Configuration
            1. 10.1.2.2.2.1 I2C Passive Mode
              1. Table 10-5 I2C Passive Mode Device Configuration Field Descriptions
            2. 10.1.2.2.2.2 I2C Master Mode
              1. Table 10-6 I2C Master Mode Device Configuration Field Descriptions
          3. 10.1.2.2.3 SPI Boot Device Configuration
            1. Table 10-7 SPI Device Configuration Field Descriptions
          4. 10.1.2.2.4 EMIF Boot Device Configuration
            1. Table 10-8 EMIF Boot Device Configuration Field Descriptions
          5. 10.1.2.2.5 NAND Boot Device Configuration
            1. Table 10-9 NAND Boot Device Configuration Field Descriptions
        3. 10.1.2.3 Serial Rapid I/O Boot Device Configuration
          1. Table 10-10 Serial Rapid I/O Boot Device Configuration Field Descriptions
        4. 10.1.2.4 Ethernet (SGMII) Boot Device Configuration
          1. Table 10-11 Ethernet (SGMII) Boot Device Configuration Field Descriptions
          2. 10.1.2.4.1   PCIe Boot Device Configuration
            1. Table 10-12 PCIe Boot Device Configuration Field Descriptions
          3. 10.1.2.4.2   HyperLink Boot Device Configuration
            1. Table 10-14 HyperLink Boot Device Configuration Field Descriptions
          4. 10.1.2.4.3   UART Boot Device Configuration
            1. Table 10-15 UART Boot Configuration Field Descriptions
        5. 10.1.2.5 Boot Parameter Table
          1. 10.1.2.5.1  EMIF16 Boot Parameter Table
          2. 10.1.2.5.2  SRIO Boot Parameter Table
          3. 10.1.2.5.3  Ethernet Boot Parameter Table
          4. 10.1.2.5.4  PCIe Boot Parameter Table
          5. 10.1.2.5.5  I2C Boot Parameter Table
          6. 10.1.2.5.6  SPI Boot Parameter Table
          7. 10.1.2.5.7  HyperLink Boot Parameter Table
          8. 10.1.2.5.8  UART Boot Parameter Table
          9. 10.1.2.5.9  NAND Boot Parameter Table
          10. 10.1.2.5.10 DDR3 Configuration Table
        6. 10.1.2.6 Second-Level Bootloaders
      3. 10.1.3 SoC Security
      4. 10.1.4 System PLL Settings
        1. 10.1.4.1 ARM CorePac System PLL Settings
    2. 10.2 Device Configuration
      1. 10.2.1 Device Configuration at Device Reset
      2. 10.2.2 Peripheral Selection After Device Reset
      3. 10.2.3 Device State Control Registers
        1. 10.2.3.1  Device Status (DEVSTAT) Register
          1. Table 10-31 Device Status Register Field Descriptions
        2. 10.2.3.2  Device Configuration Register
          1. Table 10-32 Device Configuration Register Field Descriptions
        3. 10.2.3.3  JTAG ID (JTAGID) Register Description
          1. Table 10-33 JTAG ID Register Field Descriptions
        4. 10.2.3.4  Kicker Mechanism (KICK0 and KICK1) Register
        5. 10.2.3.5  DSP Boot Address Register (DSP_BOOT_ADDRn)
          1. Table 10-1 DSP BOOT Address Register (DSP_BOOT_ADDRn)
        6. 10.2.3.6  LRESETNMI PIN Status (LRSTNMIPINSTAT) Register
          1. Table 10-35 LRESETNMI PIN Status Register Field Descriptions
        7. 10.2.3.7  LRESETNMI PIN Status Clear (LRSTNMIPINSTAT_CLR) Register
          1. Table 10-36 LRESETNMI PIN Status Clear Register Field Descriptions
        8. 10.2.3.8  Reset Status (RESET_STAT) Register
          1. Table 10-37 Reset Status Register Field Descriptions
        9. 10.2.3.9  Reset Status Clear (RESET_STAT_CLR) Register
          1. Table 10-38 Reset Status Clear Register Field Descriptions
        10. 10.2.3.10 Boot Complete (BOOTCOMPLETE) Register
          1. Table 10-39 Boot Complete Register Field Descriptions
        11. 10.2.3.11 Power State Control (PWRSTATECTL) Register
          1. Table 10-40 Power State Control Register Field Descriptions
        12. 10.2.3.12 NMI Event Generation to C66x CorePac (NMIGRx) Register
          1. Table 10-41 NMI Generation Register Field Descriptions
        13. 10.2.3.13 IPC Generation (IPCGRx) Registers
          1. Table 10-42 IPC Generation Registers Field Descriptions
        14. 10.2.3.14 IPC Acknowledgment (IPCARx) Registers
          1. Table 10-43 IPC Acknowledgment Registers Field Descriptions
        15. 10.2.3.15 IPC Generation Host (IPCGRH) Register
          1. Table 10-44 IPC Generation Registers Field Descriptions
        16. 10.2.3.16 IPC Acknowledgment Host (IPCARH) Register
          1. Table 10-45 IPC Acknowledgment Register Field Descriptions
        17. 10.2.3.17 Timer Input Selection Register (TINPSEL)
          1. Table 10-46 Timer Input Selection Field Description
        18. 10.2.3.18 Timer Output Selection Register (TOUTPSEL)
          1. Table 10-47 Timer Output Selection Register Field Descriptions
        19. 10.2.3.19 Reset Mux (RSTMUXx) Register
          1. Table 10-48 Reset Mux Register Field Descriptions
        20. 10.2.3.20 Device Speed (DEVSPEED) Register
          1. Table 10-49 Device Speed Register Field Descriptions
        21. 10.2.3.21 ARM Endian Configuration Register 0 (ARMENDIAN_CFGr_0), r=0..7
          1. Table 10-50 ARM Endian Configuration Register 0 Field Descriptions
        22. 10.2.3.22 ARM Endian Configuration Register 1 (ARMENDIAN_CFGr_1), r=0..7
          1. Table 10-51 ARM Endian Configuration Register 1 Field Descriptions
        23. 10.2.3.23 ARM Endian Configuration Register 2 (ARMENDIAN_CFGr_2), r=0..7
          1. Table 10-52 ARM Endian Configuration Register 2 Field Descriptions
        24. 10.2.3.24 Chip Miscellaneous Control (CHIP_MISC_CTL0) Register
          1. Table 10-53 Chip Miscellaneous Control Register Field Descriptions
        25. 10.2.3.25 Chip Miscellaneous Control (CHIP_MISC_CTL1) Register
          1. Table 10-54 Chip Miscellaneous Control Register Field Descriptions
        26. 10.2.3.26 System Endian Status Register (SYSENDSTAT)
          1. Table 10-55 System Endian Status Register Field Descriptions
        27. 10.2.3.27 SYNECLK_PINCTL Register
          1. Table 10-56 SYNECLK_PINCTL Register Field Descriptions
        28. 10.2.3.28 USB PHY Control (USB_PHY_CTLx) Registers
          1. Table 10-57 USB_PHY_CTL0 Register Field Descriptions
          2. Table 10-58 USB_PHY_CTL1 Register Field Descriptions
          3. Table 10-59 USB_PHY_CTL2 Register Field Descriptions
          4. Table 10-60 USB_PHY_CTL3 Register Field Descriptions
          5. Table 10-61 USB_PHY_CTL4 Register Field Descriptions
          6. Table 10-62 USB_PHY_CTL5 Register Field Descriptions
  11. 1166AK2Hxx Peripheral Information
    1. 11.1  Recommended Clock and Control Signal Transition Behavior
    2. 11.2  Power Supplies
      1. 11.2.1 Power-Up Sequencing
        1. 11.2.1.1 Core-Before-IO Power Sequencing
        2. 11.2.1.2 IO-Before-Core Power Sequencing
        3. 11.2.1.3 Prolonged Resets
        4. 11.2.1.4 Clocking During Power Sequencing
      2. 11.2.2 Power-Down Sequence
      3. 11.2.3 Power Supply Decoupling and Bulk Capacitor
      4. 11.2.4 SmartReflex
        1. Table 11-5 SmartReflex 4-Pin 6-bit VID Interface Switching Characteristics
    3. 11.3  Power Sleep Controller (PSC)
      1. 11.3.1 Power Domains
      2. 11.3.2 Clock Domains
      3. 11.3.3 PSC Register Memory Map
    4. 11.4  Reset Controller
      1. 11.4.1 Power-on Reset
      2. 11.4.2 Hard Reset
      3. 11.4.3 Soft Reset
      4. 11.4.4 Local Reset
      5. 11.4.5 ARM CorePac Reset
      6. 11.4.6 Reset Priority
      7. 11.4.7 Reset Controller Register
      8. 11.4.8 Reset Electrical Data and Timing
        1. Table 11-10 Reset Timing Requirements
        2. Table 11-11 Reset Switching Characteristics
        3. Table 11-12 Boot Configuration Timing Requirements
    5. 11.5  Main PLL, ARM PLL, DDR3A PLL, DDR3B PLL, PASS PLL and the PLL Controllers
      1. 11.5.1 Main PLL Controller Device-Specific Information
        1. 11.5.1.1 Internal Clocks and Maximum Operating Frequencies
        2. 11.5.1.2 Local Clock Dividers
        3. 11.5.1.3 Module Clock Input
        4. 11.5.1.4 Main PLL Controller Operating Modes
        5. 11.5.1.5 Main PLL Stabilization, Lock, and Reset Times
      2. 11.5.2 PLL Controller Memory Map
        1. 11.5.2.1 PLL Secondary Control Register (SECCTL)
          1. Table 11-16 PLL Secondary Control Register Field Descriptions
        2. 11.5.2.2 PLL Controller Divider Register (PLLDIV3 and PLLDIV4)
          1. Table 11-17 PLL Controller Divider Register Field Descriptions
        3. 11.5.2.3 PLL Controller Clock Align Control Register (ALNCTL)
          1. Table 11-18 PLL Controller Clock Align Control Register Field Descriptions
        4. 11.5.2.4 PLLDIV Divider Ratio Change Status Register (DCHANGE)
          1. Table 11-19 PLLDIV Divider Ratio Change Status Register Field Descriptions
        5. 11.5.2.5 SYSCLK Status Register (SYSTAT)
          1. Table 11-20 SYSCLK Status Register Field Descriptions
        6. 11.5.2.6 Reset Type Status Register (RSTYPE)
          1. Table 11-21 Reset Type Status Register Field Descriptions
        7. 11.5.2.7 Reset Control Register (RSTCTRL)
          1. Table 11-22 Reset Control Register Field Descriptions
        8. 11.5.2.8 Reset Configuration Register (RSTCFG)
          1. Table 11-23 Reset Configuration Register Field Descriptions
        9. 11.5.2.9 Reset Isolation Register (RSISO)
          1. Table 11-24 Reset Isolation Register Field Descriptions
      3. 11.5.3 Main PLL Control Registers
        1. Table 11-25 Main PLL Control Register 0 (MAINPLLCTL0) Field Descriptions
        2. Table 11-26 Main PLL Control Register 1 (MAINPLLCTL1) Field Descriptions
      4. 11.5.4 ARM PLL Control Registers
        1. Table 11-27 ARM PLL Control Register 0 Field Descriptions
        2. Table 11-28 ARM PLL Control Register 1 Field Descriptions
      5. 11.5.5 Main PLL Controller, ARM, SRIO, HyperLink, PCIe, USB Clock Input Electrical Data and Timing
        1. Table 11-29 Main PLL Controller, ARM, SRIO, HyperLink, PCIe, USB Clock Input Timing Requirements
    6. 11.6  DDR3A PLL and DDR3B PLL
      1. 11.6.1 DDR3A PLL and DDR3B PLL Control Registers
        1. Table 11-30 DDR3A PLL and DDR3B PLL Control Register 0 Field Descriptions
        2. Table 11-31 DDR3A PLL and DDR3B PLL Control Register 1 Field Descriptions
      2. 11.6.2 DDR3A PLL and DDR3B PLL Device-Specific Information
      3. 11.6.3 DDR3 PLL Input Clock Electrical Data and Timing
        1. Table 11-32 DDR3 PLL DDRCLK(N|P) Timing Requirements
    7. 11.7  PASS PLL
      1. 11.7.1 PASS PLL Local Clock Dividers
      2. 11.7.2 PASS PLL Control Registers
        1. Table 11-33 PASS PLL Control Register 0 Field Descriptions (PASSPLLCTL0)
        2. Table 11-34 PASS PLL Control Register 1 Field Descriptions (PASSPLLCTL1)
      3. 11.7.3 PASS PLL Device-Specific Information
      4. 11.7.4 PASS PLL Input Clock Electrical Data and Timing
        1. Table 11-35 PASS PLL Timing Requirements
    8. 11.8  External Interrupts
      1. 11.8.1 External Interrupts Electrical Data and Timing
        1. Table 11-36 NMI and LRESET Timing Requirements
    9. 11.9  DDR3A and DDR3B Memory Controllers
      1. 11.9.1 DDR3 Memory Controller Device-Specific Information
      2. 11.9.2 DDR3 Slew Rate Control
      3. 11.9.3 DDR3 Memory Controller Electrical Data and Timing
    10. 11.10 I2C Peripheral
      1. 11.10.1 I2C Device-Specific Information
      2. 11.10.2 I2C Peripheral Register Description
      3. 11.10.3 I2C Electrical Data and Timing
        1. Table 11-38 I2C Timing Requirements
        2. Table 11-39 I2C Switching Characteristics
    11. 11.11 SPI Peripheral
      1. 11.11.1 SPI Electrical Data and Timing
        1. Table 11-40 SPI Timing Requirements
        2. Table 11-41 SPI Switching Characteristics
    12. 11.12 HyperLink Peripheral
      1. Table 11-42 HyperLink Peripheral Timing Requirements
      2. Table 11-43 HyperLink Peripheral Switching Characteristics
    13. 11.13 UART Peripheral
      1. Table 11-44 UART Timing Requirements
      2. Table 11-45 UART Switching Characteristics
    14. 11.14 PCIe Peripheral
    15. 11.15 Packet Accelerator
    16. 11.16 Security Accelerator
    17. 11.17 Network Coprocessor Gigabit Ethernet (GbE) Switch Subsystem
      1. Table 11-46 MACID1 Register Field Descriptions
      2. Table 11-47 MACID2 Register Field Descriptions
      3. Table 11-48 RFTCLK Select Register Field Descriptions
    18. 11.18 SGMII and XFI Management Data Input/Output (MDIO)
      1. Table 11-49 MDIO Timing Requirements
      2. Table 11-50 MDIO Switching Characteristics
    19. 11.19 Ten-Gigabit Ethernet (10GbE) Switch Subsystem
      1. 11.19.1 10GbE Supported Features
    20. 11.20 Timers
      1. 11.20.1 Timers Device-Specific Information
      2. 11.20.2 Timers Electrical Data and Timing
        1. Table 11-51 Timer Input Timing Requirements
        2. Table 11-52 Timer Output Switching Characteristics
    21. 11.21 Serial RapidIO (SRIO) Port
      1. 11.21.1 Serial RapidIO Device-Specific Information
    22. 11.22 General-Purpose Input/Output (GPIO)
      1. 11.22.1 GPIO Device-Specific Information
      2. 11.22.2 GPIO Peripheral Register Description
      3. 11.22.3 GPIO Electrical Data and Timing
        1. Table 11-54 GPIO Input Timing Requirements
        2. Table 11-55 GPIO Output Switching Characteristics
    23. 11.23 Semaphore2
    24. 11.24 Universal Serial Bus 3.0 (USB 3.0)
    25. 11.25 EMIF16 Peripheral
      1. 11.25.1 EMIF16 Electrical Data and Timing
        1. Table 11-56 EMIF16 Asynchronous Memory Timing Requirements
    26. 11.26 Emulation Features and Capability
      1. 11.26.1 Chip-Level Features
        1. 11.26.1.1 ARM Subsystem Features
        2. 11.26.1.2 DSP Features
      2. 11.26.2 ICEPick Module
        1. 11.26.2.1 ICEPick Dynamic Tap Insertion
    27. 11.27 Debug Port (EMUx)
      1. 11.27.1 Concurrent Use of Debug Port
      2. 11.27.2 Master ID for Hardware and Software Messages
      3. 11.27.3 SoC Cross-Triggering Connection
      4. 11.27.4 Peripherals-Related Debug Requirement
      5. 11.27.5 Advanced Event Triggering (AET)
      6. 11.27.6 Trace
        1. 11.27.6.1 Trace Electrical Data and Timing
          1. Table 11-66 Trace Switching Characteristics
      7. 11.27.7 IEEE 1149.1 JTAG
        1. 11.27.7.1 IEEE 1149.1 JTAG Compatibility Statement
        2. 11.27.7.2 JTAG Electrical Data and Timing
          1. Table 11-67 JTAG Test Port Timing Requirements
          2. Table 11-68 JTAG Test Port Switching Characteristics
  12. 12Device and Documentation Support
    1. 12.1 Device Nomenclature
    2. 12.2 Tools and Software
    3. 12.3 Documentation Support
    4. 12.4 Related Links
    5. 12.5 Community Resources
    6. 12.6 商标
    7. 12.7 静电放电警告
    8. 12.8 术语表
  13. 13Mechanical, Packaging, and Orderable Information
    1. 13.1 Packaging Information

封装选项

请参考 PDF 数据表获取器件具体的封装图。

机械数据 (封装 | 引脚)
  • AAW|1517
散热焊盘机械数据 (封装 | 引脚)
订购信息

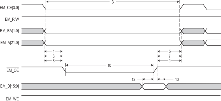
Table 11-56 EMIF16 Asynchronous Memory Timing Requirements(1)

(see Figure 11-53, Figure 11-54, Figure 11-55, and Figure 11-56)
NO. MIN MAX UNIT
General Timing
2 tw(WAIT) Pulse duration, WAIT assertion and deassertion minimum time 2E ns
28 td(WAIT-WEH) Setup time, WAIT asserted before WE high 4E + 3 ns
14 td(WAIT-OEH) Setup time, WAIT asserted before OE high 4E + 3 ns
Read Timing
3 tC(CEL) EMIF read cycle time when ew = 0, meaning not in extended wait mode (RS+RST+RH+3)*E-3 (RS+RST+RH+3)*E+3 ns
3 tC(CEL) EMIF read cycle time when ew =1, meaning extended wait mode enabled (RS+RST+RH+3)*E-3 (RS+RST+RH+3)*E+3 ns
4 tosu(CEL-OEL) Output setup time from CE low to OE low. SS = 0, not in select strobe mode (RS+1) × E – 3 (RS+1) × E + 3 ns
5 toh(OEH-CEH) Output hold time from OE high to CE high. SS = 0, not in select strobe mode (RH+1) × E – 3 (RH+1) × E + 3 ns
4 tosu(CEL-OEL) Output setup time from CE low to OE low in select strobe mode, SS = 1 (RS+1) × E – 3 (RS+1) × E + 3 ns
5 toh(OEH-CEH) Output hold time from OE high to CE high in select strobe mode, SS = 1 (RH+1) × E – 3 (RH+1) × E + 3 ns
6 tosu(BAV-OEL) Output setup time from BA valid to OE low (RS+1) × E – 3 (RS+1) × E + 3 ns
7 toh(OEH-BAIV) Output hold time from OE high to BA invalid (RH+1) × E – 3 (RH+1) × E + 3 ns
8 tosu(AV-OEL) Output setup time from A valid to OE low (RS+1) × E – 3 (RS+1) × E + 3 ns
9 toh(OEH-AIV) Output hold time from OE high to A invalid (RH+1) × E – 3 (RH+1) × E + 3 ns
10 tw(OEL) OE active time low, when ew = 0. Extended wait mode is disabled. (RST+1) × E – 3 (RST+1) × E + 3 ns
10 tw(OEL) OE active time low, when ew = 1. Extended wait mode is enabled. (RST+1) × E – 3 (RST+1) × E + 3 ns
11 td(WAITH-OEH) Delay time from WAIT deasserted to OE# high 4E + 3 ns
12 tsu(D-OEH) Input setup time from D valid to OE high 3 ns
13 th(OEH-D) Input hold time from OE high to D invalid 0.5 ns
Write Timing
15 tc(CEL) EMIF write cycle time when ew = 0, meaning not in extended wait mode (WS+WST+WH+TA+4)*E-3 (WS+WST+WH+TA+4)*E+3 ns
15 tc(CEL) EMIF write cycle time when ew =1., meaning extended wait mode is enabled (WS+WST+WH+TA+4)*E-3 (WS+WST+WH+TA+4)*E+3 ns
16 tosuCEL-WEL) Output setup time from CE low to WE low. SS = 0, not in select strobe mode (WS+1) × E – 3 ns
17 toh(WEH-CEH) Output hold time from WE high to CE high. SS = 0, not in select strobe mode (WH+1) × E – 3 ns
16 tosuCEL-WEL) Output setup time from CE low to WE low in select strobe mode, SS = 1 (WS+1) × E – 3 ns
17 toh(WEH-CEH) Output hold time from WE high to CE high in select strobe mode, SS = 1 (WH+1) × E – 3 ns
18 tosu(RNW-WEL) Output setup time from RNW valid to WE low (WS+1) × E – 3 ns
19 toh(WEH-RNW) Output hold time from WE high to RNW invalid (WH+1) × E – 3 ns
20 tosu(BAV-WEL) Output setup time from BA valid to WE low (WS+1) × E – 3 ns
21 toh(WEH-BAIV) Output hold time from WE high to BA invalid (WH+1) × E – 3 ns
22 tosu(AV-WEL) Output setup time from A valid to WE low (WS+1) × E – 3 ns
23 toh(WEH-AIV) Output hold time from WE high to A invalid (WH+1) × E – 3 ns
24 tw(WEL) WE active time low, when ew = 0. Extended wait mode is disabled. (WST+1) × E – 3 ns
24 tw(WEL) WE active time low, when ew = 1. Extended wait mode is enabled. (WST+1) × E – 3 ns
26 tosu(DV-WEL) Output setup time from D valid to WE low (WS+1) × E – 3 ns
27 toh(WEH-DIV) Output hold time from WE high to D invalid (WH+1) × E – 3 ns
25 td(WAITH-WEH) Delay time from WAIT deasserted to WE# high 4E + 3 ns
E = 1/(SYSCLK1/6)
66AK2H14 66AK2H12 66AK2H06 EMIF16_Asynchronous_Memory_Read_Timing.gifFigure 11-53 EMIF16 Asynchronous Memory Read Timing Diagram
66AK2H14 66AK2H12 66AK2H06 EMIF16_Asynchronous_Memory_Write_Timing.gifFigure 11-54 EMIF16 Asynchronous Memory Write Timing Diagram
66AK2H14 66AK2H12 66AK2H06 EMIF16_EM_Wait_Read_Timing.gifFigure 11-55 EMIF16 EM_WAIT Read Timing Diagram
66AK2H14 66AK2H12 66AK2H06 EMIF16_EM_Wait_Write_Timing.gifFigure 11-56 EMIF16 EM_WAIT Write Timing Diagram