ZHCSNW7A April   2021  – November 2025 LP8758-EA

PRODUCTION DATA  

  1.   1
  2. 特性
  3. 应用
  4. 说明
  5. 器件比较
  6. 引脚配置和功能
  7. 规格
    1. 6.1 绝对最大额定值
    2. 6.2 ESD 等级
    3. 6.3 建议运行条件
    4. 6.4 热性能信息
    5. 6.5 电气特性
    6. 6.6 I2C 串行总线时序要求
    7. 6.7 开关特性
    8. 6.8 典型特性
  8. 详细说明
    1. 7.1 概述
      1. 7.1.1 降压信息
        1. 7.1.1.1 工作模式
        2. 7.1.1.2 可编程性
        3. 7.1.1.3 特性
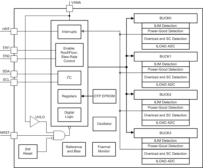
    2. 7.2 功能方框图
    3. 7.3 特性说明
      1. 7.3.1 概述
        1. 7.3.1.1 PWM 和 PFM 模式之间的转换
        2. 7.3.1.2 降压转换器负载电流测量
        3. 7.3.1.3 扩频模式
      2. 7.3.2 上电
      3. 7.3.3 稳压器控制
        1. 7.3.3.1 启用和禁用
        2. 7.3.3.2 更改输出电压
      4. 7.3.4 器件复位场景
      5. 7.3.5 诊断及保护特性
        1. 7.3.5.1 诊断警告(中断)
          1. 7.3.5.1.1 输出电流限制
          2. 7.3.5.1.2 热警告
        2. 7.3.5.2 保护(稳压器禁用)
          1. 7.3.5.2.1 短路和过载保护
          2. 7.3.5.2.2 热关断
        3. 7.3.5.3 故障(断电)
          1. 7.3.5.3.1 欠压锁定
      6. 7.3.6 数字信号滤波
    4. 7.4 器件功能模式
      1. 7.4.1 运行模式
    5. 7.5 编程
      1. 7.5.1 与 I2C 兼容的接口
        1. 7.5.1.1 数据有效性
        2. 7.5.1.2 启动和停止条件
        3. 7.5.1.3 传送数据
        4. 7.5.1.4 与 I2C 兼容的芯片地址
        5. 7.5.1.5 自动递增功能
    6. 7.6 寄存器映射
      1. 7.6.1 寄存器说明
        1. 7.6.1.1  OTP_REV
        2. 7.6.1.2  BUCK0_CTRL1
        3. 7.6.1.3  BUCK0_CTRL2
        4. 7.6.1.4  BUCK1_CTRL1
        5. 7.6.1.5  BUCK1_CTRL2
        6. 7.6.1.6  BUCK2_CTRL1
        7. 7.6.1.7  BUCK2_CTRL2
        8. 7.6.1.8  BUCK3_CTRL1
        9. 7.6.1.9  BUCK3_CTRL2
        10. 7.6.1.10 BUCK0_VOUT
        11. 7.6.1.11 BUCK0_FLOOR_VOUT
        12. 7.6.1.12 BUCK1_VOUT
        13. 7.6.1.13 BUCK1_FLOOR_VOUT
        14. 7.6.1.14 BUCK2_VOUT
        15. 7.6.1.15 BUCK2_FLOOR_VOUT
        16. 7.6.1.16 BUCK3_VOUT
        17. 7.6.1.17 BUCK3_FLOOR_VOUT
        18. 7.6.1.18 BUCK0_DELAY
        19. 7.6.1.19 BUCK1_DELAY
        20. 7.6.1.20 BUCK2_DELAY
        21. 7.6.1.21 BUCK3_DELAY
        22. 7.6.1.22 复位
        23. 7.6.1.23 CONFIG
        24. 7.6.1.24 INT_TOP
        25. 7.6.1.25 INT_BUCK_0_1
        26. 7.6.1.26 INT_BUCK_2_3
        27. 7.6.1.27 TOP_STAT
        28. 7.6.1.28 BUCK_0_1_STAT
        29. 7.6.1.29 BUCK_2_3_STAT
        30. 7.6.1.30 TOP_MASK
        31. 7.6.1.31 BUCK_0_1_MASK
        32. 7.6.1.32 BUCK_2_3_MASK
        33. 7.6.1.33 SEL_I_LOAD
        34. 7.6.1.34 I_LOAD_2
        35. 7.6.1.35 I_LOAD_1
  9. 应用和实施
    1. 8.1 应用信息
    2. 8.2 典型应用
      1. 8.2.1 设计要求
      2. 8.2.2 详细设计过程
        1. 8.2.2.1 应用元件
          1. 8.2.2.1.1 电感器选型
          2. 8.2.2.1.2 输入电容器选型
          3. 8.2.2.1.3 输出电容器选型
      3. 8.2.3 应用曲线
    3. 8.3 电源相关建议
    4. 8.4 布局
      1. 8.4.1 布局指南
      2. 8.4.2 布局示例
  10. 器件和文档支持
    1. 9.1 器件支持
    2. 9.2 文档支持
      1. 9.2.1 相关文档
    3. 9.3 接收文档更新通知
    4. 9.4 支持资源
    5. 9.5 商标
    6. 9.6 静电放电警告
    7. 9.7 术语表
  11. 10修订历史记录
  12. 11机械、封装和可订购信息

封装选项

机械数据 (封装 | 引脚)
散热焊盘机械数据 (封装 | 引脚)
订购信息

功能方框图

LP8758-EA