ZHCSNJ6C April   2021  – July 2024 TSER953

PRODUCTION DATA  

  1.   1
  2. 特性
  3. 应用
  4. 说明
  5. 引脚配置和功能
  6. 规格
    1. 5.1 绝对最大额定值
    2. 5.2 ESD 等级
    3. 5.3 建议运行条件
    4. 5.4 热性能信息
    5. 5.5 电气特性
    6. 5.6 推荐的串行控制总线时序
    7. 5.7 时序图
    8. 5.8 典型特性
  7. 详细说明
    1. 6.1 概述
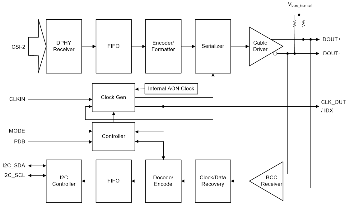
    2. 6.2 功能方框图
    3. 6.3 特性说明
      1. 6.3.1 CSI-2 接收器
        1. 6.3.1.1 CSI-2 接收器工作模式
        2. 6.3.1.2 CSI-2 接收器高速模式
        3. 6.3.1.3 CSI-2 协议层
        4. 6.3.1.4 CSI-2 短数据包
        5. 6.3.1.5 CSI-2 长数据包
        6. 6.3.1.6 CSI-2 错误和检测
          1. 6.3.1.6.1 CSI-2 ECC 检测和校正
          2. 6.3.1.6.2 CSI-2 校验和检测
          3. 6.3.1.6.3 D-PHY 错误检测
          4. 6.3.1.6.4 CSI-2 接收器状态
      2. 6.3.2 V3Link 正向通道发送器
        1. 6.3.2.1 帧格式
      3. 6.3.3 V3Link 反向通道接收器
      4. 6.3.4 串行器状态和监控
        1. 6.3.4.1 正向通道诊断
        2. 6.3.4.2 反向通道诊断
        3. 6.3.4.3 电压和温度检测
          1. 6.3.4.3.1 编程示例
        4. 6.3.4.4 内置自检
      5. 6.3.5 帧同步操作
        1. 6.3.5.1 外部帧同步
        2. 6.3.5.2 内部生成的帧同步
      6. 6.3.6 GPIO 支持
        1. 6.3.6.1 GPIO 状态
        2. 6.3.6.2 GPIO 输入控制
        3. 6.3.6.3 GPIO 输出控制
        4. 6.3.6.4 正向通道 GPIO
        5. 6.3.6.5 反向通道 GPIO
    4. 6.4 器件功能模式
      1. 6.4.1 时钟模式
        1. 6.4.1.1 同步模式
        2. 6.4.1.2 非同步时钟模式
        3. 6.4.1.3 非同步内部模式
        4. 6.4.1.4 DVP 兼容模式
        5. 6.4.1.5 配置 CLK_OUT
      2. 6.4.2 模式
    5. 6.5 编程
      1. 6.5.1 I2C 接口配置
        1. 6.5.1.1 CLK_OUT/IDX
          1. 6.5.1.1.1 IDX
      2. 6.5.2 I2C 接口运行
      3. 6.5.3 I2C 时序
    6. 6.6 图形生成
      1. 6.6.1 参考彩色条图形
      2. 6.6.2 固定彩色条图形
      3. 6.6.3 数据包发生器编程
        1. 6.6.3.1 确定彩色条大小
      4. 6.6.4 图形发生器的代码示例
    7. 6.7 寄存器映射
      1. 6.7.1 主寄存器
        1. 6.7.1.1  I2C 器件 ID 寄存器
        2. 6.7.1.2  复位
        3. 6.7.1.3  一般配置
        4. 6.7.1.4  正向通道模式选择
        5. 6.7.1.5  BC_MODE_SELECT
        6. 6.7.1.6  PLL 时钟控制
        7. 6.7.1.7  时钟输出控制 0
        8. 6.7.1.8  时钟输出控制 1
        9. 6.7.1.9  反向通道看门狗控制
        10. 6.7.1.10 I2C 控制 1
        11. 6.7.1.11 I2C 控制 2
        12. 6.7.1.12 SCL 高电平时间
        13. 6.7.1.13 SCL 低电平时间
        14. 6.7.1.14 本地 GPIO 数据
        15. 6.7.1.15 GPIO 输入控制
        16. 6.7.1.16 DVP_CFG
        17. 6.7.1.17 DVP_DT
        18. 6.7.1.18 强制 BIST 错误
        19. 6.7.1.19 远程 BIST 控制
        20. 6.7.1.20 传感器电压增益
        21. 6.7.1.21 传感器控制 0
        22. 6.7.1.22 传感器控制 1
        23. 6.7.1.23 电压传感器 0 阈值
        24. 6.7.1.24 电压传感器 1 阈值
        25. 6.7.1.25 温度传感器阈值
        26. 6.7.1.26 CSI-2 警报使能
        27. 6.7.1.27 警报感应使能
        28. 6.7.1.28 反向通道警报使能
        29. 6.7.1.29 CSI-2 极性选择
        30. 6.7.1.30 CSI-2 LP 模式极性
        31. 6.7.1.31 CSI-2 高速 RX 使能
        32. 6.7.1.32 CSI-2 低功耗使能
        33. 6.7.1.33 CSI-2 端接启用
        34. 6.7.1.34 CSI-2 数据包报头控制
        35. 6.7.1.35 反向通道配置
        36. 6.7.1.36 数据路径控制 1
        37. 6.7.1.37 远程合作伙伴能力 1
        38. 6.7.1.38 合作伙伴解串器 ID
        39. 6.7.1.39 目标 0 ID
        40. 6.7.1.40 目标 1 ID
        41. 6.7.1.41 目标 2 ID
        42. 6.7.1.42 目标 3 ID
        43. 6.7.1.43 目标 4 ID
        44. 6.7.1.44 目标 5 ID
        45. 6.7.1.45 目标 6 ID
        46. 6.7.1.46 目标 7 ID
        47. 6.7.1.47 目标 0 别名
        48. 6.7.1.48 目标 1 别名
        49. 6.7.1.49 目标 2 别名
        50. 6.7.1.50 目标 3 别名
        51. 6.7.1.51 目标 4 别名
        52. 6.7.1.52 目标 5 别名
        53. 6.7.1.53 目标 6 别名
        54. 6.7.1.54 目标 7 别名
        55. 6.7.1.55 反向通道控制
        56. 6.7.1.56 修订 ID
        57. 6.7.1.57 器件状态
        58. 6.7.1.58 常规状态
        59. 6.7.1.59 GPIO 引脚状态
        60. 6.7.1.60 BIST 错误计数
        61. 6.7.1.61 CRC 错误计数 1
        62. 6.7.1.62 CRC 错误计数 2
        63. 6.7.1.63 传感器状态
        64. 6.7.1.64 传感器 V0
        65. 6.7.1.65 传感器 V1
        66. 6.7.1.66 传感器 T
        67. 6.7.1.67 CSI-2 错误计数
        68. 6.7.1.68 CSI-2 错误状态
        69. 6.7.1.69 CSI-2 错误数据通道 0 和 1
        70. 6.7.1.70 CSI-2 错误数据通道 2 和 3
        71. 6.7.1.71 CSI-2 错误时钟通道
        72. 6.7.1.72 CSI-2 数据包报头数据
        73. 6.7.1.73 数据包标头字计数 0
        74. 6.7.1.74 数据包标头字计数 1
        75. 6.7.1.75 CSI-2 ECC
        76. 6.7.1.76 IND_ACC_CTL
        77. 6.7.1.77 IND_ACC_ADDR
        78. 6.7.1.78 IND_ACC_DATA
        79. 6.7.1.79 V3LINK_TX_ID0
        80. 6.7.1.80 V3LINK_TX_ID1
        81. 6.7.1.81 V3LINK_TX_ID2
        82. 6.7.1.82 V3LINK_TX_ID3
        83. 6.7.1.83 V3LINK_TX_ID4
        84. 6.7.1.84 V3LINK_TX_ID5
      2. 6.7.2 间接访问寄存器
        1. 6.7.2.1 PATGEN 寄存器
        2. 6.7.2.2 V3Link TX 寄存器
  8. 应用和实施
    1. 7.1 应用信息
      1. 7.1.1 同轴电缆供电
    2. 7.2 典型应用
      1. 7.2.1 设计要求
      2. 7.2.2 详细设计过程
        1. 7.2.2.1 CSI-2 接口
        2. 7.2.2.2 V3Link 输入/输出
        3. 7.2.2.3 内部稳压器旁路
        4. 7.2.2.4 环路滤波器去耦
      3. 7.2.3 应用曲线
    3. 7.3 电源相关建议
      1. 7.3.1 上电时序
        1. 7.3.1.1 系统初始化
          1. 7.3.1.1.1 温度斜坡初始化的代码示例
      2. 7.3.2 断电 (PDB)
    4. 7.4 布局
      1. 7.4.1 布局指南
        1. 7.4.1.1 CSI-2 指南
      2. 7.4.2 布局示例
  9. 器件和文档支持
    1. 8.1 文档支持
      1. 8.1.1 相关文档
    2. 8.2 接收文档更新通知
    3. 8.3 支持资源
    4. 8.4 商标
    5. 8.5 静电放电警告
    6. 8.6 术语表
  10. 修订历史记录
  11. 10机械、封装和可订购信息

封装选项

机械数据 (封装 | 引脚)
散热焊盘机械数据 (封装 | 引脚)
订购信息

功能方框图

TSER953