ZHCSA18F March 2009 – February 2021 TMS320C28341 , TMS320C28342 , TMS320C28343 , TMS320C28343-Q1 , TMS320C28344 , TMS320C28345 , TMS320C28346 , TMS320C28346-Q1
PRODUCTION DATA
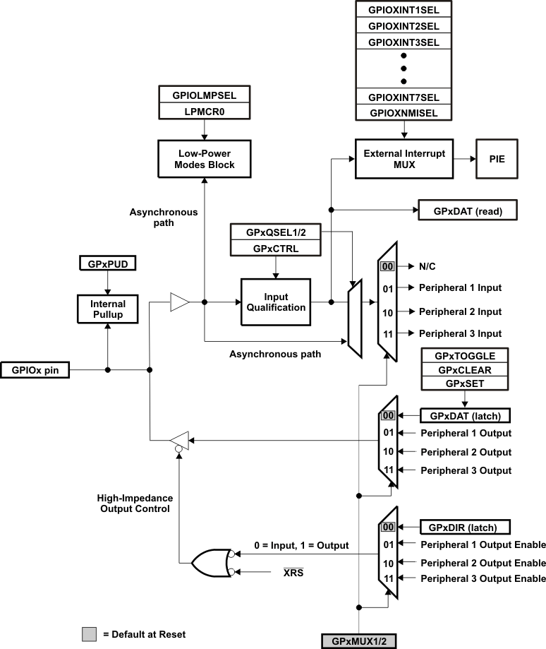
On the 2834x devices, the GPIO MUX can multiplex up to three independent peripheral signals on a single GPIO pin in addition to providing individual pin bit-banging I/O capability. The GPIO MUX block diagram per pin is shown in Figure 8-16. Because of the open-drain capabilities of the I2C pins, the GPIO MUX block diagram for these pins differ. See the TMS320x2834x Delfino System Control and Interrupts Reference Guide for details.
There is a 2-SYSCLKOUT cycle delay from when the write to the GPxMUXn and GPxQSELn registers occurs to when the action is valid.

The device supports 88 GPIO pins. The GPIO control and data registers are mapped to Peripheral Frame 1 to enable 32-bit operations on the registers (along with 16-bit operations). Table 8-17 shows the GPIO register mapping.
| NAME | ADDRESS | SIZE (x16) | DESCRIPTION |
|---|---|---|---|
| GPIO CONTROL REGISTERS (EALLOW PROTECTED) | |||
| GPACTRL | 0x6F80 | 2 | GPIO A Control Register (GPIO0 to 31) |
| GPAQSEL1 | 0x6F82 | 2 | GPIO A Qualifier Select 1 Register (GPIO0 to 15) |
| GPAQSEL2 | 0x6F84 | 2 | GPIO A Qualifier Select 2 Register (GPIO16 to 31) |
| GPAMUX1 | 0x6F86 | 2 | GPIO A MUX 1 Register (GPIO0 to 15) |
| GPAMUX2 | 0x6F88 | 2 | GPIO A MUX 2 Register (GPIO16 to 31) |
| GPADIR | 0x6F8A | 2 | GPIO A Direction Register (GPIO0 to 31) |
| GPAPUD | 0x6F8C | 2 | GPIO A Pullup Disable Register (GPIO0 to 31) |
| Reserved | 0x6F8E – 0x6F8F | 2 | |
| GPBCTRL | 0x6F90 | 2 | GPIO B Control Register (GPIO32 to 63) |
| GPBQSEL1 | 0x6F92 | 2 | GPIO B Qualifier Select 1 Register (GPIO32 to 47) |
| GPBQSEL2 | 0x6F94 | 2 | GPIOB Qualifier Select 2 Register (GPIO48 to 63) |
| GPBMUX1 | 0x6F96 | 2 | GPIO B MUX 1 Register (GPIO32 to 47) |
| GPBMUX2 | 0x6F98 | 2 | GPIO B MUX 2 Register (GPIO48 to 63) |
| GPBDIR | 0x6F9A | 2 | GPIO B Direction Register (GPIO32 to 63) |
| GPBPUD | 0x6F9C | 2 | GPIO B Pullup Disable Register (GPIO32 to 63) |
| Reserved | 0x6F9E – 0x6FA5 | 8 | |
| GPCMUX1 | 0x6FA6 | 2 | GPIO C MUX1 Register (GPIO64 to 79) |
| GPCMUX2 | 0x6FA8 | 2 | GPIO C MUX2 Register (GPIO80 to 87) |
| GPCDIR | 0x6FAA | 2 | GPIO C Direction Register (GPIO64 to 87) |
| GPCPUD | 0x6FAC | 2 | GPIO C Pullup Disable Register (GPIO64 to 87) |
| Reserved | 0x6FAE – 0x6FBF | 18 | |
| GPIO DATA REGISTERS (NOT EALLOW PROTECTED) | |||
| GPADAT | 0x6FC0 | 2 | GPIO A Data Register (GPIO0 to 31) |
| GPASET | 0x6FC2 | 2 | GPIO A Data Set Register (GPIO0 to 31) |
| GPACLEAR | 0x6FC4 | 2 | GPIO A Data Clear Register (GPIO0 to 31) |
| GPATOGGLE | 0x6FC6 | 2 | GPIO A Data Toggle Register (GPIO0 to 31) |
| GPBDAT | 0x6FC8 | 2 | GPIO B Data Register (GPIO32 to 63) |
| GPBSET | 0x6FCA | 2 | GPIO B Data Set Register (GPIO32 to 63) |
| GPBCLEAR | 0x6FCC | 2 | GPIO B Data Clear Register (GPIO32 to 63) |
| GPBTOGGLE | 0x6FCE | 2 | GPIOB Data Toggle Register (GPIO32 to 63) |
| GPCDAT | 0x6FD0 | 2 | GPIO C Data Register (GPIO64 to 87) |
| GPCSET | 0x6FD2 | 2 | GPIO C Data Set Register (GPIO64 to 87) |
| GPCCLEAR | 0x6FD4 | 2 | GPIO C Data Clear Register (GPIO64 to 87) |
| GPCTOGGLE | 0x6FD6 | 2 | GPIO C Data Toggle Register (GPIO64 to 87) |
| Reserved | 0x6FD8 – 0x6FDF | 8 | |
| GPIO INTERRUPT AND LOW-POWER MODES SELECT REGISTERS (EALLOW PROTECTED) | |||
| GPIOXINT1SEL | 0x6FE0 | 1 | XINT1 GPIO Input Select Register (GPIO0 to 31) |
| GPIOXINT2SEL | 0x6FE1 | 1 | XINT2 GPIO Input Select Register (GPIO0 to 31) |
| GPIOXNMISEL | 0x6FE2 | 1 | XNMI GPIO Input Select Register (GPIO0 to 31) |
| GPIOXINT3SEL | 0x6FE3 | 1 | XINT3 GPIO Input Select Register (GPIO32 to 63) |
| GPIOXINT4SEL | 0x6FE4 | 1 | XINT4 GPIO Input Select Register (GPIO32 to 63) |
| GPIOXINT5SEL | 0x6FE5 | 1 | XINT5 GPIO Input Select Register (GPIO32 to 63) |
| GPIOXINT6SEL | 0x6FE6 | 1 | XINT6 GPIO Input Select Register (GPIO32 to 63) |
| GPIOINT7SEL | 0x6FE7 | 1 | XINT7 GPIO Input Select Register (GPIO32 to 63) |
| GPIOLPMSEL | 0x6FE8 | 2 | LPM GPIO Select Register (GPIO0 to 31) |
| Reserved | 0x6FEA – 0x6FFF | 22 | |
| REGISTER BITS | PERIPHERAL SELECTION | |||||
|---|---|---|---|---|---|---|
| GPADIR GPADAT GPASET GPACLR GPATOGGLE | GPAMUX1 GPAQSEL1 | GPIOx GPAMUX1 = 0,0 | PER1 GPAMUX1 = 0, 1 | PER2 GPAMUX1 = 1, 0 | PER3 GPAMUX1 = 1, 1 | |
| QUALPRD0 | 0 | 1, 0 | GPIO0 (I/O) | EPWM1A (O) | Reserved | Reserved |
| 1 | 3, 2 | GPIO1 (I/O) | EPWM1B (O) | ECAP6 (I/O) | MFSRB (I/O) | |
| 2 | 5, 4 | GPIO2 (I/O) | EPWM2A (O) | Reserved | Reserved | |
| 3 | 7, 6 | GPIO3 (I/O) | EPWM2B (O) | ECAP5 (I/O) | MCLKRB (I/O) | |
| 4 | 9, 8 | GPIO4 (I/O) | EPWM3A (O) | Reserved | Reserved | |
| 5 | 11, 10 | GPIO5 (I/O) | EPWM3B (O) | MFSRA (I/O) | ECAP1 (I/O) | |
| 6 | 13, 12 | GPIO6 (I/O) | EPWM4A (O) | EPWMSYNCI (I) | EPWMSYNCO (O) | |
| 7 | 15, 14 | GPIO7 (I/O) | EPWM4B (O) | MCLKRA (I/O) | ECAP2 (I/O) | |
| QUALPRD1 | 8 | 17, 16 | GPIO8 (I/O) | EPWM5A (O) | CANTXB (O) | ADCSOCAO (O) |
| 9 | 19, 18 | GPIO9 (I/O) | EPWM5B (O) | SCITXDB (O) | ECAP3 (I/O) | |
| 10 | 21, 20 | GPIO10 (I/O) | EPWM6A (O) | CANRXB (I) | ADCSOCBO (O) | |
| 11 | 23, 22 | GPIO11 (I/O) | EPWM6B (O) | SCIRXDB (I) | ECAP4 (I/O) | |
| 12 | 25, 24 | GPIO12 (I/O) | TZ1 (I) | CANTXB (O) | MDXB (O) | |
| 13 | 27, 26 | GPIO13 (I/O) | TZ2 (I) | CANRXB (I) | MDRB (I) | |
| 14 | 29, 28 | GPIO14 (I/O) | TZ3 (I)/ XHOLD (I) | SCITXDB (O) | MCLKXB (I/O) | |
| 15 | 31, 30 | GPIO15 (I/O) | TZ4 (I)/ XHOLDA (O) | SCIRXDB (I) | MFSXB (I/O) | |
| GPAMUX2 GPAQSEL2 | GPAMUX2 = 0, 0 | GPAMUX2 = 0, 1 | GPAMUX2 = 1, 0 | GPAMUX2 = 1, 1 | ||
| QUALPRD2 | 16 | 1, 0 | GPIO16 (I/O) | SPISIMOA (I/O) | CANTXB (O) | TZ5 (I) |
| 17 | 3, 2 | GPIO17 (I/O) | SPISOMIA (I/O) | CANRXB (I) | TZ6 (I) | |
| 18 | 5, 4 | GPIO18 (I/O) | SPICLKA (I/O) | SCITXDB (O) | CANRXA (I) | |
| 19 | 7, 6 | GPIO19 (I/O) | SPISTEA (I/O) | SCIRXDB (I) | CANTXA (O) | |
| 20 | 9, 8 | GPIO20 (I/O) | EQEP1A (I) | MDXA (O) | CANTXB (O) | |
| 21 | 11, 10 | GPIO21 (I/O) | EQEP1B (I) | MDRA (I) | CANRXB (I) | |
| 22 | 13, 12 | GPIO22 (I/O) | EQEP1S (I/O) | MCLKXA (I/O) | SCITXDB (O) | |
| 23 | 15, 14 | GPIO23 (I/O) | EQEP1I (I/O) | MFSXA (I/O) | SCIRXDB (I) | |
| QUALPRD3 | 24 | 17, 16 | GPIO24 (I/O) | ECAP1 (I/O) | EQEP2A (I) | MDXB (O) |
| 25 | 19, 18 | GPIO25 (I/O) | ECAP2 (I/O) | EQEP2B (I) | MDRB (I) | |
| 26 | 21, 20 | GPIO26 (I/O) | ECAP3 (I/O) | EQEP2I (I/O) | MCLKXB (I/O) | |
| 27 | 23, 22 | GPIO27 (I/O) | ECAP4 (I/O) | EQEP2S (I/O) | MFSXB (I/O) | |
| 28 | 25, 24 | GPIO28 (I/O) | SCIRXDA (I) | XZCS6 (O) | ||
| 29 | 27, 26 | GPIO29 (I/O) | SCITXDA (O) | XA19 (O) | ||
| 30 | 29, 28 | GPIO30 (I/O) | CANRXA (I) | XA18 (O) | ||
| 31 | 31, 30 | GPIO31 (I/O) | CANTXA (O) | XA17 (O) | ||
| REGISTER BITS | PERIPHERAL SELECTION | |||||
|---|---|---|---|---|---|---|
| GPBDIR GPBDAT GPBSET GPBCLR GPBTOGGLE | GPBMUX1 GPBQSEL1 | GPIOx GPBMUX1 = 0, 0 | PER1 GPBMUX1 = 0, 1 | PER2 GPBMUX1 = 1, 0 | PER3 GPBMUX1 = 1, 1 | |
| QUALPRD0 | 0 | 1, 0 | GPIO32 (I/O) | SDAA (I/OC)(1) | EPWMSYNCI (I) | ADCSOCAO (O) |
| 1 | 3, 2 | GPIO33 (I/O) | SCLA (I/OC)(1) | EPWMSYNCO (O) | ADCSOCBO (O) | |
| 2 | 5, 4 | GPIO34 (I/O) | ECAP1 (I/O) | XREADY (I) | ||
| 3 | 7, 6 | GPIO35 (I/O) | SCITXDA (O) | XR/ W (O) | ||
| 4 | 9, 8 | GPIO36 (I/O) | SCIRXDA (I) | XZCS0 (O) | ||
| 5 | 11, 10 | GPIO37 (I/O) | ECAP2 (I/O) | XZCS7 (O) | ||
| 6 | 13, 12 | GPIO38 (I/O) | Reserved | XWE0 (O) | ||
| 7 | 15, 14 | GPIO39 (I/O) | XA16 (O) | |||
| QUALPRD1 | 8 | 17, 16 | GPIO40 (I/O) | XA0 (O) | ||
| 9 | 19, 18 | GPIO41 (I/O) | XA1 (O) | |||
| 10 | 21, 20 | GPIO42 (I/O) | XA2 (O) | |||
| 11 | 23, 22 | GPIO43 (I/O) | XA3 (O) | |||
| 12 | 25, 24 | GPIO44 (I/O) | XA4 (O) | |||
| 13 | 27, 26 | GPIO45 (I/O) | XA5 (O) | |||
| 14 | 29, 28 | GPIO46 (I/O) | XA6 (O) | |||
| 15 | 31, 30 | GPIO47 (I/O) | XA7 (O) | |||
| GPBMUX2 GPBQSEL2 | GPBMUX2 = 0, 0 | GPBMUX2 = 0, 1 | GPBMUX2 = 1, 0 | GPBMUX2 = 1, 1 | ||
| QUALPRD2 | 16 | 1, 0 | GPIO48 (I/O) | ECAP5 (I/O) | XD31 (I/O) | SPISIMOD (I/O) |
| 17 | 3, 2 | GPIO49 (I/O) | ECAP6 (I/O) | XD30 (I/O) | SPISOMID (I/O) | |
| 18 | 5, 4 | GPIO50 (I/O) | EQEP1A (I) | XD29 (I/O) | SPICLKD (I/O) | |
| 19 | 7, 6 | GPIO51 (I/O) | EQEP1B (I) | XD28 (I/O) | SPISTED (I/O) | |
| 20 | 9, 8 | GPIO52 (I/O) | EQEP1S (I/O) | XD27 (I/O) | Reserved | |
| 21 | 11, 10 | GPIO53 (I/O) | EQEP1I (I/O) | XD26 (I/O) | Reserved | |
| 22 | 13, 12 | GPIO54 (I/O) | SPISIMOA (I/O) | XD25 (I/O) | EQEP3A (I) | |
| 23 | 15, 14 | GPIO55 (I/O) | SPISOMIA (I/O) | XD24 (I/O) | EQEP3B (I) | |
| QUALPRD3 | 24 | 17, 16 | GPIO56 (I/O) | SPICLKA (I/O) | XD23 (I/O) | EQEP3S (I/O) |
| 25 | 19, 18 | GPIO57 (I/O) | SPISTEA (I/O) | XD22 (I/O) | EQEP3I (I/O) | |
| 26 | 21, 20 | GPIO58 (I/O) | MCLKRA (I/O) | XD21 (I/O) | EPWM7A (O) | |
| 27 | 23, 22 | GPIO59 (I/O) | MFSRA (I/O) | XD20 (I/O) | EPWM7B (O) | |
| 28 | 25, 24 | GPIO60 (I/O) | MCLKRB (I/O) | XD19 (I/O) | EPWM8A (O) | |
| 29 | 27, 26 | GPIO61 (I/O) | MFSRB (I/O) | XD18 (I/O) | EPWM8B (O) | |
| 30 | 29, 28 | GPIO62 (I/O) | SCIRXDC (I) | XD17 (I/O) | EPWM9A (O) | |
| 31 | 31, 30 | GPIO63 (I/O) | SCITXDC (O) | XD16 (I/O) | EPWM9B (O) | |
| REGISTER BITS | PERIPHERAL SELECTION | |||
|---|---|---|---|---|
| GPCDIR GPCDAT GPCSET GPCCLR GPCTOGGLE | GPCMUX1 | GPIOx or PER1 GPCMUX1 = 0, 0 or 0, 1 | PER2 or PER3 GPCMUX1 = 1, 0 or 1, 1 | |
| no qual | 0 | 1, 0 | GPIO64 (I/O) | XD15 (I/O) |
| 1 | 3, 2 | GPIO65 (I/O) | XD14 (I/O) | |
| 2 | 5, 4 | GPIO66 (I/O) | XD13 (I/O) | |
| 3 | 7, 6 | GPIO67 (I/O) | XD12 (I/O) | |
| 4 | 9, 8 | GPIO68 (I/O) | XD11 (I/O) | |
| 5 | 11, 10 | GPIO69 (I/O) | XD10 (I/O) | |
| 6 | 13, 12 | GPIO70 (I/O) | XD9 (I/O) | |
| 7 | 15, 14 | GPIO71 (I/O) | XD8 (I/O) | |
| no qual | 8 | 17, 16 | GPIO72 (I/O) | XD7 (I/O) |
| 9 | 19, 18 | GPIO73 (I/O) | XD6 (I/O) | |
| 10 | 21, 20 | GPIO74 (I/O) | XD5 (I/O) | |
| 11 | 23, 22 | GPIO75 (I/O) | XD4 (I/O) | |
| 12 | 25, 24 | GPIO76 (I/O) | XD3 (I/O) | |
| 13 | 27, 26 | GPIO77 (I/O) | XD2 (I/O) | |
| 14 | 29, 28 | GPIO78 (I/O) | XD1 (I/O) | |
| 15 | 31, 30 | GPIO79 (I/O) | XD0 (I/O) | |
| GPCMUX2 | GPCMUX2 = 0, 0 or 0, 1 | GPCMUX2 = 1, 0 or 1, 1 | ||
| no qual | 16 | 1, 0 | GPIO80 (I/O) | XA8 (O) |
| 17 | 3, 2 | GPIO81 (I/O) | XA9 (O) | |
| 18 | 5, 4 | GPIO82 (I/O) | XA10 (O) | |
| 19 | 7, 6 | GPIO83 (I/O) | XA11 (O) | |
| 20 | 9, 8 | GPIO84 (I/O) | XA12 (O) | |
| 21 | 11, 10 | GPIO85 (I/O) | XA13 (O) | |
| 22 | 13, 12 | GPIO86 (I/O) | XA14 (O) | |
| 23 | 15, 14 | GPIO87 (I/O) | XA15 (O) | |
The user can select the type of input qualification for each GPIO pin through the GPxQSEL1/2 registers from four choices:
Figure 8-17 Qualification Using Sampling WindowDue to the multilevel multiplexing that is required on the device, there may be cases where a peripheral input signal can be mapped to more then one GPIO pin. Also, when an input signal is not selected, the input signal will default to either a 0 or 1 state, depending on the peripheral.