ZHCSTN5A June   2024  – May 2025 ADS8681W , ADS8685W , ADS8689W

PRODUCTION DATA  

  1.   1
  2. 特性
  3. 应用
  4. 说明
  5. 引脚配置和功能
  6. 规格
    1. 5.1 绝对最大额定值
    2. 5.2 ESD 等级
    3. 5.3 建议运行条件
    4. 5.4 热性能信息
    5. 5.5 电气特性
    6. 5.6 时序要求
    7. 5.7 开关特性
    8. 5.8 时序图
    9. 5.9 典型特性
  7. 详细说明
    1. 6.1 概述
    2. 6.2 功能方框图
    3. 6.3 特性说明
      1. 6.3.1 模拟输入结构
      2. 6.3.2 模拟输入阻抗
      3. 6.3.3 输入保护电路
      4. 6.3.4 可编程增益放大器 (PGA)
      5. 6.3.5 二阶低通滤波器 (LPF)
      6. 6.3.6 ADC 驱动器
      7. 6.3.7 基准
        1. 6.3.7.1 内部基准
        2. 6.3.7.2 外部基准
      8. 6.3.8 ADC 传递函数
      9. 6.3.9 警报功能
        1. 6.3.9.1 输入警报
        2. 6.3.9.2 AVDD 警报
    4. 6.4 器件功能模式
      1. 6.4.1 主机到器件连接拓扑
        1. 6.4.1.1 单个器件:所有 multiSPI 选项
        2. 6.4.1.2 单个器件:标准 SPI 接口
        3. 6.4.1.3 多个器件:菊花链拓扑
      2. 6.4.2 器件工作模式
        1. 6.4.2.1 RESET 状态
        2. 6.4.2.2 ACQ 状态
        3. 6.4.2.3 CONV 状态
    5. 6.5 编程
      1. 6.5.1 数据传输帧
      2. 6.5.2 输入命令字和寄存器写入操作
      3. 6.5.3 输出数据字
      4. 6.5.4 数据传输协议
        1. 6.5.4.1 配置器件的协议
        2. 6.5.4.2 从器件读取数据时使用的协议
          1. 6.5.4.2.1 支持单 SDO-x 的传统、SPI 兼容 (SYS-xy-S) 协议
          2. 6.5.4.2.2 支持双 SDO-x 的传统、SPI 兼容 (SYS-xy-S) 协议
          3. 6.5.4.2.3 源同步 (SRC) 协议
            1. 6.5.4.2.3.1 输出时钟源选项
            2. 6.5.4.2.3.2 输出总线宽度选项
  8. 寄存器映射
    1. 7.1 器件配置和寄存器映射
      1. 7.1.1 DEVICE_ID_REG 寄存器(地址 = 00h)
      2. 7.1.2 RST_PWRCTL_REG 寄存器(地址 = 04h)
      3. 7.1.3 SDI_CTL_REG 寄存器(地址 = 08h)
      4. 7.1.4 SDO_CTL_REG 寄存器(地址 = 0Ch)
      5. 7.1.5 DATAOUT_CTL_REG 寄存器(地址 = 10h)
      6. 7.1.6 RANGE_SEL_REG 寄存器(地址 = 14h)
      7. 7.1.7 ALARM_REG 寄存器(地址 = 20h)
      8. 7.1.8 ALARM_H_TH_REG 寄存器(地址 = 24h)
      9. 7.1.9 ALARM_L_TH_REG 寄存器(地址 = 28h)
  9. 应用和实施
    1. 8.1 应用信息
    2. 8.2 典型应用
      1. 8.2.1 设计要求
      2. 8.2.2 详细设计过程
        1. 8.2.2.1 警报功能
      3. 8.2.3 应用曲线
    3. 8.3 电源相关建议
      1. 8.3.1 电源去耦
      2. 8.3.2 节能
        1. 8.3.2.1 NAP 模式
        2. 8.3.2.2 掉电 (PD) 模式
    4. 8.4 布局
      1. 8.4.1 布局指南
      2. 8.4.2 布局示例
  10. 器件和文档支持
    1. 9.1 文档支持
      1. 9.1.1 相关文档
    2. 9.2 接收文档更新通知
    3. 9.3 支持资源
    4. 9.4 商标
    5. 9.5 静电放电警告
    6. 9.6 术语表
  11. 10修订历史记录
  12. 11机械、封装和可订购信息

封装选项

机械数据 (封装 | 引脚)
散热焊盘机械数据 (封装 | 引脚)
订购信息

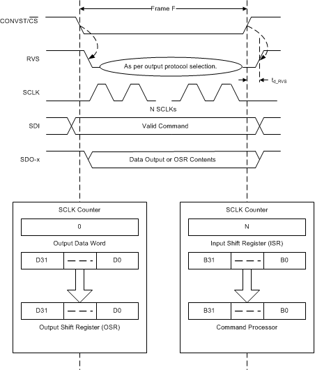
数据传输帧

器件和主机控制器之间的数据传输帧从 CONVST/CS 引脚的下降沿开始。当器件在随后的上升沿开始转换时,此帧结束。主机控制器通过在 CONV 阶段结束后将 CONVST/CS 信号拉至低电平 (图 6-25) 来启动数据传输帧。CONV 状态部分说明了此过程。

ADS8681W ADS8685W ADS8689W 数据传输帧图 6-25 数据传输帧

对于典型的数据传输帧 F:

  1. 主机控制器将 CONVST/CS 拉至低电平,以便启动数据传输帧。在 CONVST/CS 信号的下降沿:
    • RVS 变为低电平,指示数据传输帧开始。
    • 内部 SCLK 计数器复位为 0。
    • 器件控制数据总线。如图 6-25 所示,输出数据字的内容加载到 32 位输出移位寄存器 (OSR) 中。
    • 内部配置寄存器复位为 0000h,相当于执行了一个 NOP 命令。
  2. 在数据帧期间,主机控制器在 SCLK 引脚上提供时钟信号:
    • 在每个 SCLK 捕获边沿,SCLK 计数器递增。然后,在 SDI 引脚上接收到的数据位移入输入移位寄存器的 LSB。
    • 在输出时钟的每个启动边沿,输出移位寄存器数据的 MSB 在选定的 SDO-x 引脚上移出。在本例中,SCLK 是输出时钟。
    • RVS 引脚的状态取决于输出协议选择(请参阅从器件读取数据时使用的协议 部分)。
  3. 主机控制器将 CONVST/CS 引脚拉至高电平以结束数据传输帧。在 CONVST/CS 的上升沿:
    • SDO-x 引脚进入三态。
    • 图 6-25 所示,输入移位寄存器的内容传输至命令处理器以进行解码和进一步操作。
    • RVS 输出变为低电平,指示转换开始。

将 CONVST/CS 拉为高电平后,主机控制器会监测 RVS 引脚上的从低电平到高电平转换。或者,主机控制器会等待 tconv_max 时间(请参阅开关特性 表)结束,然后再启动新的数据传输帧。

在数据传输帧 F 结束时:

  • 如果 SCLK 计数器为 32,则器件会将帧 F 视为任何读取或写入操作的最优 数据传输帧。在最优数据传输帧结束时,命令处理器将 32 位输入移位寄存器内容视为有效命令字。
  • 如果 SCLK 计数器小于 32,则器件会将帧 F 视为 数据传输帧。
    • 对器件的数据写入操作无效,器件将此帧视为 NOP 命令。
    • 在短帧期间,SDO-x 引脚上传输的输出数据位仍然是有效数据。主机控制器使用短数据传输帧从 32 位输出移位寄存器中仅读取所需数量的 MSB 位。
  • 如果 SCLK 计数器大于 32,则器件会将帧 F 视为 数据传输帧。在长数据传输帧结束时,命令处理器将 32 位输入移位寄存器内容视为有效命令字。任何数据传输帧 F 中提供的最大时钟数没有限制。当主机提供长数据传输帧时,在 CONVST/CS 上升沿之前移入器件的最后 32 位构成所需命令。