ZHCSR35A November   2019  – August 2020 BQ79600-Q1

PRODUCTION DATA  

  1. 特性
  2. 应用
  3. 说明
  4. Revision History
  5. Pin Configuration and Functions
    1.     Pin Functions
  6. 规格
    1. 6.1 Absolute Maximum Ratings
    2. 6.2 ESD Ratings
    3. 6.3 Recommended Operating Conditions
    4. 6.4 Thermal Information
    5. 6.5 Electrical Characteristics
    6. 6.6 Timing Requirements
    7. 6.7 Typical Characteristics
  7. Detailed Description
    1. 7.1 Overview
    2. 7.2 Functional Block Diagram
    3. 7.3 Feature Description
      1. 7.3.1 Functional Modes and Power Supply
        1. 7.3.1.1 Power Mode
        2. 7.3.1.2 Pings
        3. 7.3.1.3 SPI/UART 选择
        4. 7.3.1.4 Digital Reset
        5. 7.3.1.5 Power Mode in BMS System
        6. 7.3.1.6 Power Supply
        7. 7.3.1.7 Shutdown
      2. 7.3.2 Communication
        1. 7.3.2.1 Data Communication Protocol
          1. 7.3.2.1.1 Frame Layer
            1. 7.3.2.1.1.1 Calculating Frame CRC Value
            2. 7.3.2.1.1.2 Verifying Frame CRC
          2. 7.3.2.1.2 Physical Layer
            1. 7.3.2.1.2.1 UART
              1. 7.3.2.1.2.1.1 TX HOLD OFF
              2. 7.3.2.1.2.1.2 UART COMM CLEAR
            2. 7.3.2.1.2.2 SPI
              1. 7.3.2.1.2.2.1 SPI_RDY 和 SPI FIFO
              2. 7.3.2.1.2.2.2 Flow to Read/Write BQ79600-Q1
              3. 7.3.2.1.2.2.3 SPI COMM CLEAR
            3. 7.3.2.1.2.3 Daisy Chain
        2. 7.3.2.2 Tone Communication Protocol
        3. 7.3.2.3 Device Auto Addressing / Ring Communication
          1. 7.3.2.3.1 Auto-Addressing
          2. 7.3.2.3.2 Ring Communication (optional)
        4. 7.3.2.4 Communication Timeout
        5. 7.3.2.5 Communication Debug Mode
      3. 7.3.3 Fault Handling
        1. 7.3.3.1 Fault Status Hierarchy/Reset/Mask
          1. 7.3.3.1.1 Fault Status Hierarchy
          2. 7.3.3.1.2 Fault Reset and Mask
        2. 7.3.3.2 Fault Interface
          1. 7.3.3.2.1 NFAULT
          2. 7.3.3.2.2 Daisy Chain (COMH and COML)
            1. 7.3.3.2.2.1 Fault Transmitting when BQ79600-Q1 in ACTIVE
            2. 7.3.3.2.2.2 Fault Transmitting when BQ79600-Q1 in SLEEP
            3. 7.3.3.2.2.3 Fault Transmitting (Automatic Host Wakeup/Reverse Wakeup) when BQ79600-Q1 in SHUTDOWN
      4. 7.3.4 INH/ Reverse Wakeup
      5. 7.3.5 Sniff Detector
      6. 7.3.6 Device Diagnostic
        1. 7.3.6.1 Power Supplies Check
          1. 7.3.6.1.1 Power Supply Diagnostic Check
          2. 7.3.6.1.2 Power Supply BIST
        2. 7.3.6.2 Thermal Shutdown
        3. 7.3.6.3 Oscillators Watchdog
        4. 7.3.6.4 Register Bit Flip Monitor
        5. 7.3.6.5 SPI FIFO 诊断
    4. 7.4 Device Functional Modes
    5. 7.5 Register Maps
      1. 7.5.1  Register Summary Table
      2. 7.5.2  Register: DIR0_ADDR
      3. 7.5.3  Register: DIR1_ADDR
      4. 7.5.4  Register: CONTROL1
      5. 7.5.5  Register: CONTROL2
      6. 7.5.6  Register: DIAG_CTRL
      7. 7.5.7  Register: DEV_CONF1
      8. 7.5.8  Register: DEV_CONF2
      9. 7.5.9  Register: TX_HOLD_OFF
      10. 7.5.10 Register: SLP_TIMEOUT
      11. 7.5.11 Register: COMM_TIMEOUT
      12. 7.5.12 Register: SPI_FIFO_UNLOCK
      13. 7.5.13 Register: FAULT_MSK
      14. 7.5.14 Register: FAULT_RST
      15. 7.5.15 Register: FAULT_SUMMARY
      16. 7.5.16 Register: FAULT_REG
      17. 7.5.17 Register: FAULT_SYS
      18. 7.5.18 Register: FAULT_PWR
      19. 7.5.19 Register: FAULT_COMM1
      20. 7.5.20 Register: FAULT_COMM2
      21. 7.5.21 Register: DEV_DIAG_STAT
      22. 7.5.22 Register: PARTID
      23. 7.5.23 Register: DIE_ID1
      24. 7.5.24 Register: DIE_ID2
      25. 7.5.25 Register: DIE_ID3
      26. 7.5.26 Register: DIE_ID4
      27. 7.5.27 Register: DIE_ID5
      28. 7.5.28 Register: DIE_ID6
      29. 7.5.29 Register: DIE_ID7
      30. 7.5.30 Register: DIE_ID8
      31. 7.5.31 Register: DIE_ID9
      32. 7.5.32 Register: DEBUG_CTRL_UNLOCK
      33. 7.5.33 Register: DEBUG_COMM_CTRL
      34. 7.5.34 Register: DEBUG_COMM_STAT
      35. 7.5.35 Register: DEBUG_SPI_PHY
      36. 7.5.36 Register: DEBUG_SPI_FRAME
      37. 7.5.37 Register: DEBUG_UART_FRAME
      38. 7.5.38 Register: DEBUG_COMH_PHY
      39. 7.5.39 Register: DEBUG_COMH_FRAME
      40. 7.5.40 Register: DEBUG_COML_PHY
      41. 7.5.41 Register: DEBUG_COML_FRAME
  8. Application and Implementation
    1. 8.1 Application Information
    2. 8.2 Typical Applications
      1. 8.2.1 Bridge With Reverse Wakeup in UART
        1. 8.2.1.1 Design Requirements
        2. 8.2.1.2 Detailed Design Procedure
          1. 8.2.1.2.1 MCU Interface (UART, NFAULT)
          2. 8.2.1.2.2 Daisy Chain Interface
          3. 8.2.1.2.3 INH Connection
        3. 8.2.1.3 Application Performance Plot
      2. 8.2.2 Bridge Without Reverse Wakeup in SPI
        1. 8.2.2.1 Design Requirements
        2. 8.2.2.2 Detailed Design Procedure
          1. 8.2.2.2.1 MCU Interface (SPI, SPI_RDY, NFAULT)
          2. 8.2.2.2.2 Daisy Chain Interface
        3. 8.2.2.3 Application Performance Plot
  9. Power Supply Recommendations
  10. 10Layout
    1. 10.1 Layout Guidelines
      1. 10.1.1 Ground Planes
      2. 10.1.2 Bypass Capacitors for Power Supplies
      3. 10.1.3 UART/SPI communication
      4. 10.1.4 Daisy Chain Communication
    2. 10.2 Layout Example
  11. 11Device and Documentation Support
    1. 11.1 Device Support
    2. 11.2 第三方产品免责声明
    3. 11.3 接收文档更新通知
    4. 11.4 支持资源
    5. 11.5 Trademarks
    6. 11.6 静电放电警告
    7. 11.7 术语表
  12. 12Mechanical, Packaging, and Orderable Information

封装选项

机械数据 (封装 | 引脚)
散热焊盘机械数据 (封装 | 引脚)
订购信息
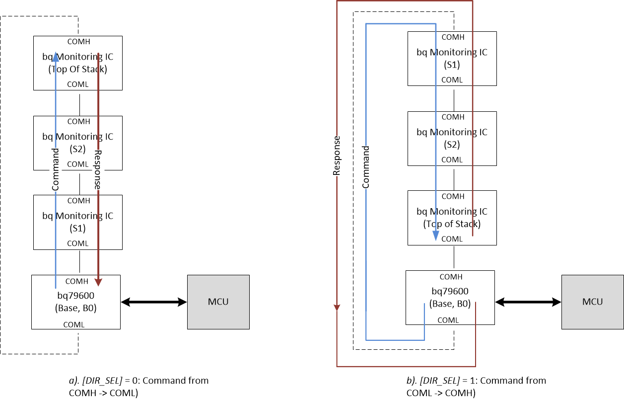
Ring Communication (optional)

A ring communication (optional) allows the system to establish communication from either direction. This allows the system to continue communicating to all stack devices even if one piece of daisy chain cable is broken.

Table 7-10 describes a procedure auto address Figure 7-23(b): to bring up a system of 1 bridge device and 3 stack devices from SHUTDOWN to a state ready to do read/write communication in reverse direction.

To change communication direction from Figure 7-23(a) to Figure 7-23(b), follow the steps 2, 4-14. (Assuming all devices in (a) are already in ACTIVE and auto addressed as described in Table 7-9)

GUID-A6AFCB67-3D82-4024-9BFE-F9AE2E0074CC-low.gif Figure 7-23 Example to Change Communication Direction in Daisy Chain
Table 7-10 Auto-Addressing Figure 7-22(b), assume all devices are in SHUTDOWN
STEP WORK WITH BQ7961X-Q1
1 send WAKE ping on RX (wakeup BQ79600-Q1)
2 single device write to BQ79600-Q1 control 1 [DIR_SEL] = 1 (change BQ79600-Q1 direction)
3 single device write to BQ79600-Q1 CONTROL1 [SEND_WAKE] = 1 (wake up stack devices)
4 dummy stack write data 0x00 to registers 0x343 to 0x34A (sync up internal DLL). These are 8 separate write commands.
5 brdcast write reverse 0x80 to address 0x309 (change stack devices direction DIR_SEL =1)
6 brdcast Write 0x02 to address 0x308(1)
7 brdcast Write 0x81 to address 0x309 (enable BQ7961X-Q1 auto addressing)
8 brdcast Write consecutively to address 0x307 = 0,1,2,3 (address 1-3 assigned to BQ7961X-Q1, 0 assigned to BQ79600-Q1)
9 brdcast write 0x02 to address 0x308 (set BQ7961X-Q1 as stack device )
10 single device write to device 3: data 0x03 to address 0x308 (set 3rd BQ7961X-Q1 as top of stack, BQ79600-Q1 is default to base)
11 dummy stack read registers 0x343 to 0x34A (sync up internal DLL). These are 8 separate read commands.
12 stack read address 0x307 (read back to verify address are correct for stack device)
13 single device read to BQ79600-Q1, verify 0x2001 = 0x14
14 finish initialization
Clear the previous TOP_STACK flag after communication direction is changed because top of stack device cannot be reached if one cable is broken