ZHCSIX2B October   2018  – January 2026 TPS65216

PRODUCTION DATA  

  1.   1
  2. 特性
  3. 应用
  4. 说明
  5. 引脚配置和功能
  6. 规格
    1. 5.1 绝对最大额定值
    2. 5.2 ESD 等级
    3. 5.3 建议运行条件
    4. 5.4 热性能信息
    5. 5.5 电气特性
    6. 5.6 时序要求
    7. 5.7 典型特性
  7. 详细说明
    1. 6.1 概述
    2. 6.2 功能方框图
    3. 6.3 特性说明
      1. 6.3.1 唤醒以及上电和断电序列
        1. 6.3.1.1  上电序列
        2. 6.3.1.2  断电序列
        3. 6.3.1.3  选通 1 和选通 2
        4. 6.3.1.4  电源电压监控器和电源正常 (PGOOD)
        5. 6.3.1.5  内部 LDO (INT_LDO)
        6. 6.3.1.6  限流负载开关
        7. 6.3.1.7  LDO1
        8. 6.3.1.8  UVLO
        9. 6.3.1.9  电源故障比较器
        10. 6.3.1.10 DCDC3 和 DCDC4 上电默认选择
        11. 6.3.1.11 I/O 配置
          1. 6.3.1.11.1 使用 GPIO2 作为 DCDC1 和 DCDC2 的复位信号
        12. 6.3.1.12 按钮输入 (PB)
          1. 6.3.1.12.1 指示 nWAKEUP 引脚上的 PB 低电平事件
          2. 6.3.1.12.2 按钮复位
        13. 6.3.1.13 AC_DET 输入 (AC_DET)
        14. 6.3.1.14 中断引脚 (INT)
        15. 6.3.1.15 I2C 总线运行
    4. 6.4 器件功能模式
      1. 6.4.1 运行模式
      2. 6.4.2 关断
      3. 6.4.3 ACTIVE
      4. 6.4.4 挂起
      5. 6.4.5 复位
  8. 寄存器映射
  9. 应用和实施
    1. 8.1 应用信息
    2. 8.2 典型应用
      1. 8.2.1 设计要求
      2. 8.2.2 详细设计过程
        1. 8.2.2.1 输出滤波器设计
        2. 8.2.2.2 降压转换器的电感器选择
        3. 8.2.2.3 输出电容器选型
      3. 8.2.3 应用曲线
    3. 8.3 电源相关建议
    4. 8.4 布局
      1. 8.4.1 布局指南
      2. 8.4.2 布局示例
  10. 器件和文档支持
    1. 9.1 器件支持
      1. 9.1.1 第三方产品免责声明
    2. 9.2 文档支持
      1. 9.2.1 相关文档
    3. 9.3 接收文档更新通知
    4. 9.4 支持资源
    5. 9.5 商标
    6. 9.6 静电放电警告
    7. 9.7 术语表
  11. 10修订历史记录
  12. 11机械、封装和可订购信息
    1. 11.1 封装选项附录
      1. 11.1.1 封装信息
      2. 11.1.2 卷带包装信息

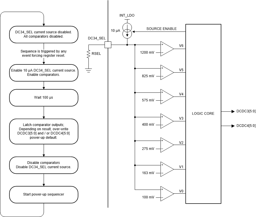
DCDC3 和 DCDC4 上电默认选择

TPS65216 左:选择 DCDC 上电默认电压的流程图 右:比较器电路图 6-13 左:选择 DCDC 上电默认电压的流程图 右:比较器电路
表 6-2 DCDC3 和 DCDC4 的上电默认值
RSEL [KΩ] 上电默认值
最小值 典型值 最大值 DCDC3[5:0] DCDC4[5:0]
0 0 7.7 编程默认值 (1.2V) 编程默认值 (3.3V)
12.1 0x12 (1.35V) 编程默认值 (3.3V)
20 0x18 (1.5V) 编程默认值 (3.3V)
30.9 31.6 32.3 0x1F (1.8V) 编程默认值 (3.3V)
45.3 0x3D (3.3V) 0x01 (1.2V)
编程默认值 (1.2V) 0x07 (1.35V)
95.3 编程默认值 (1.2V) 0x0D (1.5V)
150 连接至 INT_LDO 编程默认值 (1.2V) 0x14 (1.8V)