SPRS357D August   2006  – June 2020 TMS320F28044

PRODUCTION DATA.  

  1. 1Device Overview
    1. 1.1 Features
    2. 1.2 Applications
    3. 1.3 Description
    4. 1.4 Functional Block Diagram
  2. 2Revision History
  3. 3Device Comparison
    1. 3.1 Related Products
  4. 4Terminal Configuration and Functions
    1. 4.1 Pin Diagrams
    2. 4.2 Signal Descriptions
  5. 5Specifications
    1. 5.1  Absolute Maximum Ratings
    2. 5.2  ESD Ratings – Commercial
    3. 5.3  Recommended Operating Conditions
    4. 5.4  Power Consumption Summary
      1. Table 5-1 TMS320F28044 Current Consumption by Power-Supply Pins at 100-MHz SYSCLKOUT
      2. 5.4.1     Reducing Current Consumption
    5. 5.5  Electrical Characteristics
    6. 5.6  Thermal Resistance Characteristics for F28044 100-Ball GGM Package
    7. 5.7  Thermal Resistance Characteristics for F28044 100-Pin PZ Package
    8. 5.8  Thermal Design Considerations
    9. 5.9  Timing and Switching Characteristics
      1. 5.9.1 Timing Parameter Symbology
        1. 5.9.1.1 General Notes on Timing Parameters
        2. 5.9.1.2 Test Load Circuit
        3. 5.9.1.3 Device Clock Table
          1. Table 5-3 TMS320x280x Clock Table and Nomenclature
      2. 5.9.2 Power Sequencing
        1. 5.9.2.1   Power Management and Supervisory Circuit Solutions
        2. Table 5-5 Reset (XRS) Timing Requirements
      3. 5.9.3 Clock Requirements and Characteristics
        1. Table 5-6 Input Clock Frequency
        2. Table 5-7 XCLKIN Timing Requirements - PLL Enabled
        3. Table 5-8 XCLKIN Timing Requirements - PLL Disabled
        4. Table 5-9 XCLKOUT Switching Characteristics (PLL Bypassed or Enabled)
      4. 5.9.4 Peripherals
        1. 5.9.4.1 General-Purpose Input/Output (GPIO)
          1. 5.9.4.1.1 GPIO - Output Timing
            1. Table 5-10 General-Purpose Output Switching Characteristics
          2. 5.9.4.1.2 GPIO - Input Timing
            1. Table 5-11 General-Purpose Input Timing Requirements
          3. 5.9.4.1.3 Sampling Window Width for Input Signals
          4. 5.9.4.1.4 Low-Power Mode Wakeup Timing
            1. Table 5-12 IDLE Mode Timing Requirements
            2. Table 5-13 IDLE Mode Switching Characteristics
            3. Table 5-14 STANDBY Mode Timing Requirements
            4. Table 5-15 STANDBY Mode Switching Characteristics
            5. Table 5-16 HALT Mode Timing Requirements
            6. Table 5-17 HALT Mode Switching Characteristics
        2. 5.9.4.2 Enhanced Control Peripherals
          1. 5.9.4.2.1 Enhanced Pulse Width Modulator (ePWM) Timing
            1. Table 5-18 ePWM Timing Requirements
            2. Table 5-19 ePWM Switching Characteristics
          2. 5.9.4.2.2 Trip-Zone Input Timing
            1. Table 5-20 Trip-Zone input Timing Requirements
          3. 5.9.4.2.3 High-Resolution PWM Timing
            1. Table 5-21 High Resolution PWM Characteristics at SYSCLKOUT = (60 - 100 MHz)
          4. 5.9.4.2.4 ADC Start-of-Conversion Timing
            1. Table 5-22 External ADC Start-of-Conversion Switching Characteristics
        3. 5.9.4.3 External Interrupt Timing
          1. Table 5-23 External Interrupt Timing Requirements
          2. Table 5-24 External Interrupt Switching Characteristics
        4. 5.9.4.4 I2C Electrical Specification and Timing
          1. Table 5-25 I2C Timing
        5. 5.9.4.5 Serial Peripheral Interface (SPI) Master Mode Timing
          1. Table 5-26 SPI Master Mode External Timing (Clock Phase = 0)
          2. Table 5-27 SPI Master Mode External Timing (Clock Phase = 1)
        6. 5.9.4.6 SPI Slave Mode Timing
          1. Table 5-28 SPI Slave Mode External Timing (Clock Phase = 0)
          2. Table 5-29 SPI Slave Mode External Timing (Clock Phase = 1)
      5. 5.9.5 JTAG Debug Probe Connection Without Signal Buffering for the DSP
      6. 5.9.6 Flash Timing
        1. Table 5-30 Flash Endurance for A Temperature Material
        2. Table 5-31 Flash Parameters at 100-MHz SYSCLKOUT
        3. Table 5-32 Flash/OTP Access Timing
        4. Table 5-33 Flash Data Retention Duration
    10. 5.10 On-Chip Analog-to-Digital Converter
      1. Table 5-35 ADC Electrical Characteristics (over recommended operating conditions)
      2. 5.10.1     ADC Power-Up Control Bit Timing
        1. Table 5-36 ADC Power-Up Delays
        2. Table 5-37 Current Consumption for Different ADC Configurations (at 25-MHz ADCCLK)
      3. 5.10.2     Definitions
      4. 5.10.3     Sequential Sampling Mode (Single-Channel) (SMODE = 0)
        1. Table 5-38 Sequential Sampling Mode Timing
      5. 5.10.4     Simultaneous Sampling Mode (Dual-Channel) (SMODE = 1)
        1. Table 5-39 Simultaneous Sampling Mode Timing
      6. 5.10.5     Detailed Descriptions
  6. 6Detailed Description
    1. 6.1 Brief Descriptions
      1. 6.1.1  C28x CPU
      2. 6.1.2  Memory Bus (Harvard Bus Architecture)
      3. 6.1.3  Peripheral Bus
      4. 6.1.4  Real-Time JTAG and Analysis
      5. 6.1.5  Flash
      6. 6.1.6  M0, M1 SARAMs
      7. 6.1.7  L0, L1 SARAMs
      8. 6.1.8  Boot ROM
      9. 6.1.9  Security
      10. 6.1.10 Peripheral Interrupt Expansion (PIE) Block
      11. 6.1.11 External Interrupts (XINT1, XINT2, XNMI)
      12. 6.1.12 Oscillator and PLL
      13. 6.1.13 Watchdog
      14. 6.1.14 Peripheral Clocking
      15. 6.1.15 Low-Power Modes
      16. 6.1.16 Peripheral Frames 0, 1, 2 (PFn)
      17. 6.1.17 General-Purpose Input/Output (GPIO) Multiplexer
      18. 6.1.18 32-Bit CPU-Timers (0, 1, 2)
      19. 6.1.19 Control Peripherals
      20. 6.1.20 Serial Port Peripherals
    2. 6.2 Peripherals
      1. 6.2.1 32-Bit CPU-Timers 0/1/2
      2. 6.2.2 Enhanced PWM Modules (ePWM1–16)
      3. 6.2.3 Hi-Resolution PWM (HRPWM)
      4. 6.2.4 Enhanced Analog-to-Digital Converter (ADC) Module
        1. 6.2.4.1 ADC Connections if the ADC Is Not Used
        2. 6.2.4.2 ADC Registers
      5. 6.2.5 Serial Communications Interface (SCI) Module (SCI-A)
      6. 6.2.6 Serial Peripheral Interface (SPI) Module (SPI-A)
      7. 6.2.7 Inter-Integrated Circuit (I2C)
      8. 6.2.8 GPIO MUX
    3. 6.3 Memory Map
    4. 6.4 Register Map
      1. 6.4.1 Device Emulation Registers
    5. 6.5 Interrupts
      1. 6.5.1 External Interrupts
    6. 6.6 System Control
      1. 6.6.1 OSC and PLL Block
        1. 6.6.1.1 External Reference Oscillator Clock Option
        2. 6.6.1.2 PLL-Based Clock Module
        3. 6.6.1.3 Loss of Input Clock
      2. 6.6.2 Watchdog Block
    7. 6.7 Low-Power Modes Block
  7. 7Applications, Implementation, and Layout
    1. 7.1 TI Reference Design
  8. 8Device and Documentation Support
    1. 8.1 Getting Started
    2. 8.2 Device and Development Support Tool Nomenclature
    3. 8.3 Tools and Software
    4. 8.4 Documentation Support
    5. 8.5 Support Resources
    6. 8.6 Trademarks
    7. 8.7 Electrostatic Discharge Caution
    8. 8.8 Glossary
  9. 9Mechanical, Packaging, and Orderable Information
    1. 9.1 Packaging Information

封装选项

请参考 PDF 数据表获取器件具体的封装图。

机械数据 (封装 | 引脚)
  • PZ|100
散热焊盘机械数据 (封装 | 引脚)
订购信息

GPIO MUX

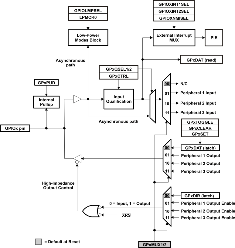
On the 280x, the GPIO MUX can multiplex up to three independent peripheral signals on a single GPIO pin in addition to providing individual pin bit-banging IO capability. The GPIO MUX block diagram per pin is shown in Figure 6-11. Because of the open drain capabilities of the I2C pins, the GPIO MUX block diagram for these pins differ. See the TMS320x280x, 2801x, 2804x DSP System Control and Interrupts Reference Guide for details.

TMS320F28044 gpiomux_prs357.gif
x stands for the port, either A or B. For example, GPxDIR refers to either the GPADIR and GPBDIR register depending on the particular GPIO pin selected.
GPxDAT latch/read are accessed at the same memory location.
Figure 6-11 GPIO MUX Block Diagram

The F28044 supports 34 GPIO pins. The GPIO control and data registers are mapped to Peripheral Frame 1 to enable 32-bit operations on the registers (along with 16-bit operations). Table 6-11 shows the GPIO register mapping.

Table 6-11 GPIO Registers

NAME ADDRESS SIZE (x16) DESCRIPTION
GPIO CONTROL REGISTERS (EALLOW PROTECTED)
GPACTRL 0x6F80 2 GPIO A Control Register (GPIO0 to 31)
GPAQSEL1 0x6F82 2 GPIO A Qualifier Select 1 Register (GPIO0 to 15)
GPAQSEL2 0x6F84 2 GPIO A Qualifier Select 2 Register (GPIO16 to 31)
GPAMUX1 0x6F86 2 GPIO A MUX 1 Register (GPIO0 to 15)
GPAMUX2 0x6F88 2 GPIO A MUX 2 Register (GPIO16 to 31)
GPADIR 0x6F8A 2 GPIO A Direction Register (GPIO0 to 31)
GPAPUD 0x6F8C 2 GPIO A Pull Up Disable Register (GPIO0 to 31)
GPAMCFG 0x6F8E 2 GPIO A Miscellaneous Configuration Register (GPIO0 to 31)
GPBCTRL 0x6F90 2 GPIO B Control Register (GPIO32 to 35)
GPBQSEL1 0x6F92 2 GPIO B Qualifier Select 1 Register (GPIO32 to 35)
GPBQSEL2 0x6F94 2 Reserved
GPBMUX1 0x6F96 2 GPIO B MUX 1 Register (GPIO32 to 35)
GPBMUX2 0x6F98 2 Reserved
GPBDIR 0x6F9A 2 GPIO B Direction Register (GPIO32 to 35)
GPBPUD 0x6F9C 2 GPIO B Pull Up Disable Register (GPIO32 to 35)
Reserved 0x6F9E –
0x6F9F
2 Reserved
Reserved 0x6FA0 –
0x6FBF
32 Reserved
GPIO DATA REGISTERS (NOT EALLOW PROTECTED)
GPADAT 0x6FC0 2 GPIO Data Register (GPIO0 to 31)
GPASET 0x6FC2 2 GPIO Data Set Register (GPIO0 to 31)
GPACLEAR 0x6FC4 2 GPIO Data Clear Register (GPIO0 to 31)
GPATOGGLE 0x6FC6 2 GPIO Data Toggle Register (GPIO0 to 31)
GPBDAT 0x6FC8 2 GPIO Data Register (GPIO32 to 35)
GPBSET 0x6FCA 2 GPIO Data Set Register (GPIO32 to 35)
GPBCLEAR 0x6FCC 2 GPIO Data Clear Register (GPIO32 to 35)
GPBTOGGLE 0x6FCE 2 GPIO Data Toggle Register (GPIO32 to 35)
Reserved 0x6FD0 –
0x6FDF
16 Reserved
GPIO INTERRUPT AND LOW POWER MODES SELECT REGISTERS (EALLOW PROTECTED)
GPIOXINT1SEL 0x6FE0 1 XINT1 GPIO Input Select Register (GPIO0 to 31)
GPIOXINT2SEL 0x6FE1 1 XINT2 GPIO Input Select Register (GPIO0 to 31)
GPIOXNMISEL 0x6FE2 1 XNMI GPIO Input Select Register (GPIO0 to 31)
Reserved 0x6FE3 –
0x6FE7
5 Reserved
GPIOLPMSEL 0x6FE8 2 LPM GPIO Select Register (GPIO0 to 31)
Reserved 0x6FEA –
0x6FFF
22 Reserved

Table 6-12 F28044 GPIO MUX Table

GPxMUX1/2(1)
REGISTER BITS
DEFAULT
AT RESET
PRIMARY I/O
FUNCTION
(GPxMUX1/2
BITS = 0,0)
PERIPHERAL
SELECTION 1(2)
(GPxMUX1 BITS = 0,1)
PERIPHERAL
SELECTION 2(2)
(GPxMUX1/2 BITS = 1,0)
PERIPHERAL
SELECTION 3 (2)
(GPxMUX1/2 BITS = 1,1)
GPAMCFG(EPWMMODE)(3)
0,0(4) 1,1
GPAMUX1
1–0 GPIO0 EPWM1A (O) EPWM1A (O) Reserved Reserved
3–2 GPIO1 EPWM1B (O) EPWM2A (O) Reserved Reserved
5–4 GPIO2 EPWM2A (O) EPWM3A (O) Reserved Reserved
7–6 GPIO3 EPWM2B (O) EPWM4A (O) Reserved Reserved
9–8 GPIO4 EPWM3A (O) EPWM5A (O) Reserved Reserved
11–10 GPIO5 EPWM3B (O) EPWM6A (O) Reserved Reserved
13–12 GPIO6 EPWM4A (O) EPWM7A (O) EPWMSYNCI (I) EPWMSYNCO (O)
15–14 GPIO7 EPWM4B (O) EPWM8A (O) Reserved Reserved
17–16 GPIO8 EPWM5A (O) EPWM9A (O) Reserved ADCSOCAO (O)
19–18 GPIO9 EPWM5B (O) EPWM10A (O) Reserved Reserved
21–20 GPIO10 EPWM6A (O) EPWM11A (O) Reserved ADCSOCBO (O)
23–22 GPIO11 EPWM6B (O) EPWM12A (O) Reserved Reserved
25–24 GPIO12 TZ1 (I) EPWM13A (O) Reserved Reserved
27–26 GPIO13 TZ2 (I) EPWM14A (O) Reserved Reserved
29–28 GPIO14 TZ3 (I) EPWM15A (O) Reserved Reserved
31–30 GPIO15 TZ4 (I) EPWM16A (O) Reserved Reserved
GPAMUX2
1–0 GPIO16 SPISIMOA (I/O) Reserved TZ5 (I)
3–2 GPIO17 SPISOMIA (I/O) Reserved TZ6 (I)
5–4 GPIO18 SPICLKA (I/O) Reserved TZ1 (I)
7–6 GPIO19 SPISTEA (I/O) Reserved TZ2 (I)
9–8 GPIO20 Reserved Reserved Reserved
11–10 GPIO21 Reserved Reserved Reserved
13–12 GPIO22 Reserved Reserved Reserved
15–14 GPIO23 Reserved Reserved Reserved
17–16 GPIO24 Reserved Reserved Reserved
19–18 GPIO25 Reserved Reserved Reserved
21–20 GPIO26 Reserved Reserved Reserved
23–22 GPIO27 Reserved Reserved Reserved
25–24 GPIO28 SCIRXDA (I) Reserved TZ5 (I)
27–26 GPIO29 SCITXDA (O) Reserved TZ6 (I)
29–28 GPIO30 Reserved Reserved TZ3 (I)
31–30 GPIO31 Reserved Reserved TZ4 (I)
GPBMUX1
1–0 GPIO32 SDAA (I/OC) EPWMSYNCI (I) ADCSOCAO (O)
3–2 GPIO33 SCLA (I/OC) EPWMSYNCO (O) ADCSOCBO (O)
5–4 GPIO34 Reserved Reserved Reserved
GPxMUX1/2 refers to the appropriate MUX register for the pin; GPAMUX1, GPAMUX2 or GPBMUX1.
The word "Reserved" means that there is no peripheral assigned to this GPxMUX1/2 register setting. Should it be selected, the state of the pin will be undefined and the pin may be driven. This selection is a reserved configuration for future expansion.
The options GPAMCFG(EPWMMODE) = 0, 1 and 1, 0 are reserved.
This is the default configuration upon reset.

The user can select the type of input qualification for each GPIO pin via the GPxQSEL1/2 registers from four choices:

  • Synchronization To SYSCLKOUT Only (GPxQSEL1/2 = 0,0): This is the default mode of all GPIO pins at reset and it simply synchronizes the input signal to the system clock (SYSCLKOUT).
  • Qualification Using Sampling Window (GPxQSEL1/2 = 0,1 and 1,0): In this mode the input signal, after synchronization to the system clock (SYSCLKOUT), is qualified by a specified number of cycles before the input is allowed to change.
  • TMS320F28044 qual_samp_prs357.gifFigure 6-12 Qualification Using Sampling Window
  • The sampling period is specified by the QUALPRD bits in the GPxCTRL register and is configurable in groups of 8 signals. It specifies a multiple of SYSCLKOUT cycles for sampling the input signal. The sampling window is either 3-samples or 6-samples wide and the output is only changed when ALL samples are the same (all 0s or all 1s) as shown in Figure 5-7 (for 6 sample mode).
  • No Synchronization (GPxQSEL1/2 = 1,1): This mode is used for peripherals where synchronization is not required (synchronization is performed within the peripheral).

Due to the multi-level multiplexing that is required on the F28044 device, there may be cases where a peripheral input signal can be mapped to more then one GPIO pin. Also, when an input signal is not selected, the input signal will default to either a 0 or 1 state, depending on the peripheral.