ZHCSRC3B December   2022  – March 2025 IWRL6432

PRODUCTION DATA  

  1.   1
  2. 特性
  3. 应用
  4. 说明
  5. 功能方框图
  6. 器件比较
    1. 5.1 相关产品
  7. 终端配置和功能
    1. 6.1 引脚图
    2. 6.2 信号说明
      1.      11
      2.      12
      3.      13
      4.      14
      5.      15
      6.      16
      7.      17
      8.      18
      9.      19
      10.      20
      11.      21
      12.      22
      13.      23
      14.      24
      15.      25
      16.      26
      17.      27
    3.     28
  8. 规格
    1. 7.1  绝对最大额定值
    2. 7.2  ESD 等级
    3. 7.3  上电小时数 (POH)
    4. 7.4  建议运行条件
    5. 7.5  一次性可编程 (OTP) 电子保险丝的 VPP 规格
      1. 7.5.1 建议的 OTP eFuse 编程操作条件
      2. 7.5.2 硬件要求
      3. 7.5.3 对硬件保修的影响
    6. 7.6  电源规格
      1. 7.6.1 低功耗 3.3V I/O 拓扑
      2. 7.6.2 BOM 优化的 3.3V I/O 拓扑
      3. 7.6.3 低功耗 1.8V I/O 拓扑
      4. 7.6.4 BOM 优化的 1.8V I/O 拓扑
      5. 7.6.5 系统拓扑
        1. 7.6.5.1 电源拓扑
          1. 7.6.5.1.1 BOM 优化模式
          2. 7.6.5.1.2 低功耗模式
      6. 7.6.6 BOM 优化型拓扑的内部 LDO 输出去耦电容器和布局条件
        1. 7.6.6.1 单电容器轨
          1. 7.6.6.1.1 1.2V 数字 LDO
        2. 7.6.6.2 双电容器轨
          1. 7.6.6.2.1 1.2V 射频 LDO
          2. 7.6.6.2.2 1.2V SRAM LDO
          3. 7.6.6.2.3 1.0V 射频 LDO
      7. 7.6.7 噪声和纹波规格
    7. 7.7  节电模式
      1. 7.7.1 功耗典型数值
    8. 7.8  每个电压轨的峰值电流要求
    9. 7.9  射频规格
    10. 7.10 支持的 DFE 特性
    11. 7.11 CPU 规格
    12. 7.12 热阻特性
    13. 7.13 时序和开关特性
      1. 7.13.1  电源时序和复位时序
      2. 7.13.2  同步帧触发
      3. 7.13.3  输入时钟和振荡器
        1. 7.13.3.1 时钟规格
      4. 7.13.4  多通道缓冲/标准串行外设接口 (McSPI)
        1. 7.13.4.1 McSPI 特性
        2. 7.13.4.2 SPI 时序条件
        3. 7.13.4.3 SPI - 控制器模式
          1. 7.13.4.3.1 SPI 的时序和开关要求 - 控制器模式
          2. 7.13.4.3.2 SPI 输出时序的时序和开关特性 - 控制器模式
        4. 7.13.4.4 SPI - 外设模式
          1. 7.13.4.4.1 SPI 的时序和开关要求 — 外设模式
          2. 7.13.4.4.2 SPI 输出时序的时序和开关特性 - 次级模式
      5. 7.13.5  RDIF 接口配置
        1. 7.13.5.1 RDIF 接口时序
        2. 7.13.5.2 RDIF 数据格式
      6. 7.13.6  通用输入/输出
        1. 7.13.6.1 输出时序的开关特性与负载电容 (CL) 间的关系
      7. 7.13.7  控制器局域网 - 灵活数据速率 (CAN-FD)
        1. 7.13.7.1 CANx TX 和 RX 引脚的动态特性
      8. 7.13.8  串行通信接口 (SCI)
        1. 7.13.8.1 SCI 时序要求
      9. 7.13.9  内部集成电路接口 (I2C)
        1. 7.13.9.1 I2C 时序要求
      10. 7.13.10 四线串行外设接口 (QSPI)
        1. 7.13.10.1 QSPI 时序条件
        2. 7.13.10.2 QSPI 输入(读取)时序的时序要求
        3. 7.13.10.3 QSPI 开关特性
      11. 7.13.11 JTAG 接口
        1. 7.13.11.1 JTAG 时序条件
        2. 7.13.11.2 IEEE 1149.1 JTAG 的时序要求
        3. 7.13.11.3 IEEE 1149.1 JTAG 在推荐工作条件下的开关特性
  9. 详细说明
    1. 8.1 概述
    2. 8.2 功能方框图
    3. 8.3 子系统
      1. 8.3.1 射频 (RF) 和模拟子系统
      2. 8.3.2 时钟子系统
      3. 8.3.3 发送子系统
      4. 8.3.4 接收子系统
      5. 8.3.5 处理器子系统
      6. 8.3.6 主机接口
      7. 8.3.7 应用子系统 Cortex-M4F
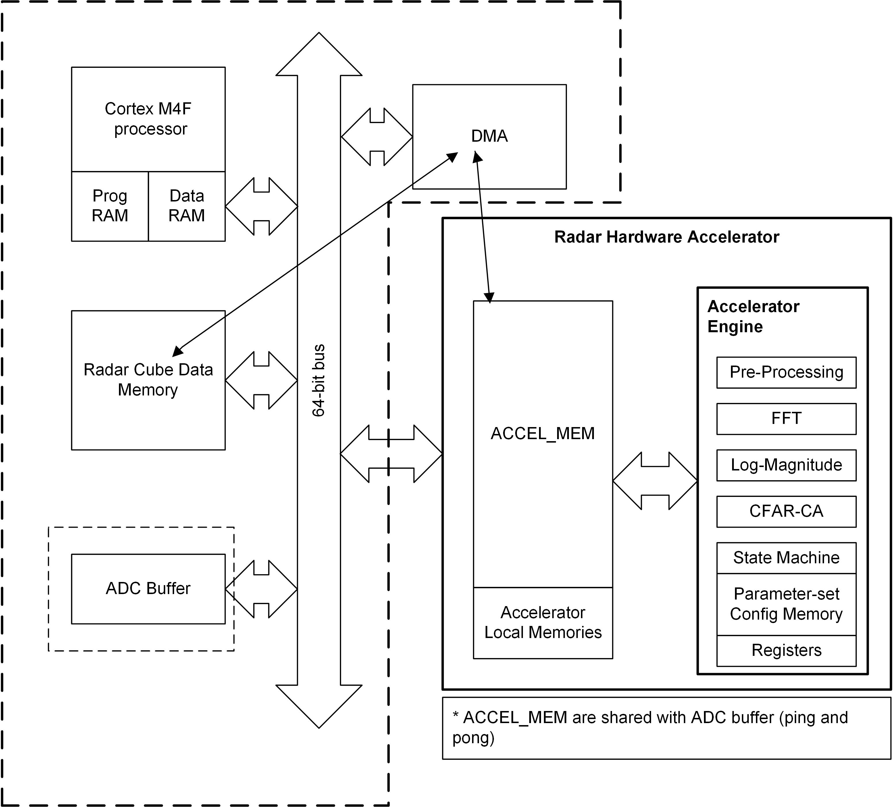
      8. 8.3.8 硬件加速器 (HWA1.2) 特性
        1. 8.3.8.1 HWA1.1 和 HWA1.2 之间的硬件加速器特性差异
    4. 8.4 其他子系统
      1. 8.4.1 用于用户应用的 GPADC 通道(服务)
      2. 8.4.2 GPADC 参数
    5. 8.5 存储器分区示例
    6. 8.6 引导模式
  10. 监控和诊断
  11. 10应用、实施和布局
    1. 10.1 应用信息
    2. 10.2 参考原理图
  12. 11器件和文档支持
    1. 11.1 器件命名规则
    2. 11.2 工具与软件
    3. 11.3 文档支持
    4. 11.4 支持资源
    5. 11.5 商标
    6. 11.6 静电放电警告
    7. 11.7 术语表
  13. 12修订历史记录
  14. 13机械、封装和可订购信息

封装选项

机械数据 (封装 | 引脚)
  • AMF|102
散热焊盘机械数据 (封装 | 引脚)
订购信息

硬件加速器 (HWA1.2) 特性

  • 快速 FFT 计算,具有可编程 2N 大小,最大为 1024 点复数 FFT。
  • 24 位(用于 I 和 Q 各一)的内部 FFT 位宽可实现良好的信号与量化噪声比 (SQNR) 性能
  • 在每个基数 2 阶段具有完全可编程的蝶式缩放,可实现用户灵活性
  • 用于进行前置 FFT 处理的内置功能 — 例如:直流估算和减除
  • 直流估算和减除、干扰估算和消除、实数窗口、复数解旋
  • 幅度(绝对值)和对数幅度计算
  • 灵活的数据流和数据样本排列,可支持高效的多维 FFT 运算和转置访问
  • 通过链接和循环机制对一组加速器操作逐个进行排序,最大限度地减小来自主处理器的干预
  • 峰值检测 — CFAR(CFAR-CA、CFAR-OS)检测器
  • 基本统计信息,包括总和 1D 最大值
  • 用于雷达立方体存储器优化的压缩引擎
IWRL6432 HWA 1.2 功能方框图图 8-6 HWA 1.2 功能方框图