ZHCSIC5C June   2018  – August 2021 DLPC3479

PRODUCTION DATA  

  1. 特性
  2. 应用
  3. 说明
  4. Revision History
  5. Pin Configuration and Functions
  6. Specifications
    1. 6.1  Absolute Maximum Ratings
    2. 6.2  ESD Ratings
    3. 6.3  Recommended Operating Conditions
    4. 6.4  Thermal Information
    5. 6.5  Power Electrical Characteristics
    6. 6.6  Pin Electrical Characteristics
    7. 6.7  Internal Pullup and Pulldown Electrical Characteristics
    8. 6.8  DMD Sub-LVDS Interface Electrical Characteristics
    9. 6.9  DMD Low-Speed Interface Electrical Characteristics
    10. 6.10 System Oscillator Timing Requirements
    11. 6.11 Power Supply and Reset Timing Requirements
    12. 6.12 Parallel Interface Frame Timing Requirements
    13. 6.13 Parallel Interface General Timing Requirements
    14. 6.14 Flash Interface Timing Requirements
    15. 6.15 Other Timing Requirements
    16. 6.16 DMD Sub-LVDS Interface Switching Characteristics
    17. 6.17 DMD Parking Switching Characteristics
    18. 6.18 Chipset Component Usage Specification
  7. Detailed Description
    1. 7.1 Overview
    2. 7.2 Functional Block Diagram
    3. 7.3 Feature Description
      1. 7.3.1  Input Source Requirements
        1. 7.3.1.1 Supported Resolution and Frame Rates
        2. 7.3.1.2 3D Display
        3. 7.3.1.3 Parallel Interface
          1. 7.3.1.3.1 PDATA Bus – Parallel Interface Bit Mapping Modes
      2. 7.3.2  Pattern Display
        1. 7.3.2.1 External Pattern Mode
          1. 7.3.2.1.1 8-bit Monochrome Patterns
          2. 7.3.2.1.2 1-Bit Monochrome Patterns
        2. 7.3.2.2 Internal Pattern Mode
          1. 7.3.2.2.1 Free Running Mode
          2. 7.3.2.2.2 Trigger In Mode
      3. 7.3.3  Device Start-Up
      4. 7.3.4  SPI Flash
        1. 7.3.4.1 SPI Flash Interface
        2. 7.3.4.2 SPI Flash Programming
      5. 7.3.5  I2C Interface
      6. 7.3.6  Content Adaptive Illumination Control (CAIC)
      7. 7.3.7  Local Area Brightness Boost (LABB)
      8. 7.3.8  3D Glasses Operation
      9. 7.3.9  Test Point Support
      10. 7.3.10 DMD Interface
        1. 7.3.10.1 Sub-LVDS (HS) Interface
    4. 7.4 Device Functional Modes
    5. 7.5 Programming
  8. Application and Implementation
    1. 8.1 Application Information
    2. 8.2 Typical Application
      1. 8.2.1 Design Requirements
      2. 8.2.2 Detailed Design Procedure
      3. 8.2.3 Application Curve
  9. Power Supply Recommendations
    1. 9.1 PLL Design Considerations
    2. 9.2 System Power-Up and Power-Down Sequence
    3. 9.3 Power-Up Initialization Sequence
    4. 9.4 DMD Fast Park Control (PARKZ)
    5. 9.5 Hot Plug I/O Usage
  10. 10Layout
    1. 10.1 Layout Guidelines
      1. 10.1.1 PLL Power Layout
      2. 10.1.2 Reference Clock Layout
        1. 10.1.2.1 Recommended Crystal Oscillator Configuration
      3. 10.1.3 Unused Pins
      4. 10.1.4 DMD Control and Sub-LVDS Signals
      5. 10.1.5 Layer Changes
      6. 10.1.6 Stubs
      7. 10.1.7 Terminations
      8. 10.1.8 Routing Vias
      9. 10.1.9 Thermal Considerations
    2. 10.2 Layout Example
  11. 11Device and Documentation Support
    1. 11.1 Device Support
      1. 11.1.1 第三方产品免责声明
      2. 11.1.2 Device Nomenclature
        1. 11.1.2.1 Device Markings
      3. 11.1.3 Video Timing Parameter Definitions
    2. 11.2 Documentation Support
    3. 11.3 接收文档更新通知
    4. 11.4 支持资源
    5. 11.5 Trademarks
    6. 11.6 Electrostatic Discharge Caution
    7. 11.7 术语表
  12. 12Mechanical, Packaging, and Orderable Information

封装选项

机械数据 (封装 | 引脚)
散热焊盘机械数据 (封装 | 引脚)
订购信息
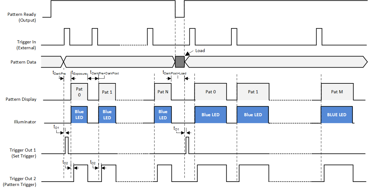
Trigger In Mode

Trigger In mode provides higher level of control to the user for displaying patterns. In this mode, the user controls when to display the pattern by sending an external trigger signal to the DLPC3479 controller. The DLPC3479 controller outputs a Pattern Ready signal to let the user know when the DLPC3479 controller is ready to accept the external trigger signal.

GUID-20201214-CA0I-Z1JZ-10TM-ZCZKH2VHFCWV-low.gif Figure 7-15 Trigger In Mode
  • DLPC3479 controller sets the Pattern Ready signal high to denote that the DLPC3479 controller is ready to accept Trigger In signal.
  • The user sends the external trigger input signal to the DLPC3479 controller to begin the display of the next pattern with tExposure (exposure time), tDarkPre, and tDarkPost (dark time).
  • Blue LED is configured to be ON for each pattern.
  • TRIG_OUT_1 (Pattern Set Trigger) is configured active high polarity and will have a minimum pulse width of 20 microseconds. TRIG_OUT_1 delay (tD1) is configured with respect to external trigger input (TRIG_IN).
  • TRIG_OUT_2 (Pattern Trigger) is configured active high polarity and stays active during the pattern exposure. TRIG_OUT_2 delay (tD2) is configured with reference to the start of each pattern exposure.