ZHCSXL1A December 2024 – May 2025 AM62D-Q1
PRODUCTION DATA
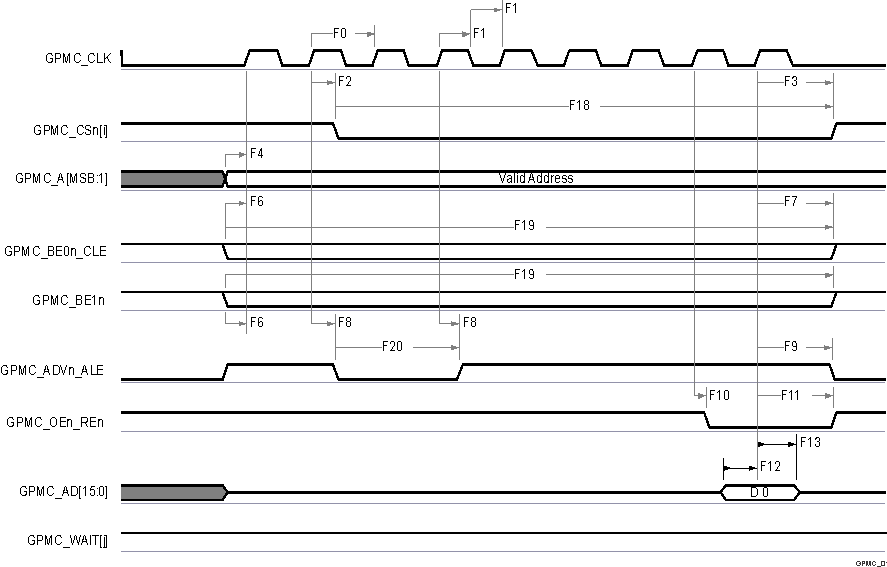
表 6-62 和表 6-63 展示了 GPMC 和 NOR 闪存的时序要求和开关特性 - 同步模式。
| 编号 | 参数 | 说明 | 模式(4) | 最小值 | 最大值 | 最小值 | 最大值 | 单位 |
|---|---|---|---|---|---|---|---|---|
| GPMC_FCLK = 100MHz(1) | GPMC_FCLK = 133MHz(1) | |||||||
| F12 | tsu(dV-clkH) | 建立时间,在输出时钟 GPMC_CLK 高电平之前输入数据 GPMC_AD[15:0] 有效 | div_by_1_mode; GPMC_FCLK_MUX; TIMEPARAGRANULARITY_X1 |
1.61 | 0.92 | ns | ||
| not_div_by_1_mode; GPMC_FCLK_MUX; TIMEPARAGRANULARITY_X1 |
0.86 | 3.41 | ns | |||||
| F13 | th(clkH-dV) | 保持时间,在输出时钟 GPMC_CLK 高电平之后输入数据 GPMC_AD[15:0] 有效 | div_by_1_mode; GPMC_FCLK_MUX; TIMEPARAGRANULARITY_X1 |
2.09 | 2.09 | ns | ||
| not_div_by_1_mode; GPMC_FCLK_MUX; TIMEPARAGRANULARITY_X1 |
2.09 | 2.09 | ns | |||||
| F21 | tsu(waitV-clkH) | 建立时间,在输出时钟 GPMC_CLK 高电平之前输入等待 GPMC_WAIT[j](2)(3) 有效 | div_by_1_mode; GPMC_FCLK_MUX; TIMEPARAGRANULARITY_X1 |
1.61 | 0.92 | ns | ||
| not_div_by_1_mode; GPMC_FCLK_MUX; TIMEPARAGRANULARITY_X1 |
0.86 | 3.41 | ns | |||||
| F22 | th(clkH-waitV) | 保持时间,在输出时钟 GPMC_CLK 高电平之后输入等待 GPMC_WAIT[j](2)(3) 有效 | div_by_1_mode; GPMC_FCLK_MUX; TIMEPARAGRANULARITY_X1 |
2.09 | 2.09 | ns | ||
| not_div_by_1_mode; GPMC_FCLK_MUX; TIMEPARAGRANULARITY_X1 |
2.09 | 2.09 | ns | |||||
| 编号(2) | 参数 | 说明 | 模式(16) | 最小值 | 最大值 | 最小值 | 最大值 | 单位 |
|---|---|---|---|---|---|---|---|---|
| 100MHz | 133MHz | |||||||
| F0 | 1/tc(clk) | 周期,输出时钟 GPMC_CLK(15) | div_by_1_mode; GPMC_FCLK_MUX; TIMEPARAGRANULARITY_X1 |
10.00 | 7.52 | ns | ||
| F1 | tw(clkH) | 典型脉冲持续时间,输出时钟 GPMC_CLK 高电平 | div_by_1_mode; GPMC_FCLK_MUX; TIMEPARAGRANULARITY_X1 |
0.475P - 0.3(14) | 0.475P - 0.3(14) | ns | ||
| F1 | tw(clkL) | 典型脉冲持续时间,输出时钟 GPMC_CLK 低电平 | div_by_1_mode; GPMC_FCLK_MUX; TIMEPARAGRANULARITY_X1 |
0.475P - 0.3(14) | 0.475P - 0.3(14) | ns | ||
| F2 | td(clkH-csnV) | 延迟时间,输出时钟 GPMC_CLK 上升沿到输出片选 GPMC_CSn[i] 转换(13) | div_by_1_mode; GPMC_FCLK_MUX; TIMEPARAGRANULARITY_X1; 无 extra_delay |
F - 2.2 (5) | F + 3.75 | F - 2.2 (5) | F + 3.75 | ns |
| F3 | td(clkH-CSn[i]V) | 延迟时间,输出时钟 GPMC_CLK 上升沿到输出片选 GPMC_CSn[i] 无效(13) | div_by_1_mode; GPMC_FCLK_MUX; TIMEPARAGRANULARITY_X1; 无 extra_delay |
E - 2.2 (4) | E + 3.18 | E - 2.2 (4) | E + 4.5 | ns |
| F4 | td(aV-clk) | 延迟时间,输出地址 GPMC_A[27:1] 有效到输出时钟 GPMC_CLK 第一个边沿 | div_by_1_mode; GPMC_FCLK_MUX; TIMEPARAGRANULARITY_X1 |
B - 2.3 (2) | B + 4.5 | B - 2.3 (2) | B + 4.5 | ns |
| F5 | td(clkH-aIV) | 延迟时间,输出时钟 GPMC_CLK 上升沿到输出地址 GPMC_A[27:1] 无效 | div_by_1_mode; GPMC_FCLK_MUX; TIMEPARAGRANULARITY_X1 |
-2.3 | 4.5 | -2.3 | 4.5 | ns |
| F6 | td(be[x]nV-clk) | 延迟时间,输出低字节使能和命令锁存使能 GPMC_BE0n_CLE、输出高字节使能 GPMC_BE1n 有效到输出时钟 GPMC_CLK 第一个边沿 | div_by_1_mode; GPMC_FCLK_MUX; TIMEPARAGRANULARITY_X1 |
B - 2.3 (2) | B + 1.9 | B - 2.3 (2) | B + 1.9 | ns |
| F7 | td(clkH-be[x]nIV) | 延迟时间,输出时钟 GPMC_CLK 上升沿到输出低字节使能和命令锁存使能 GPMC_BE0n_CLE、输出高字节使能 GPMC_BE1n 有效(10) | div_by_1_mode; GPMC_FCLK_MUX; TIMEPARAGRANULARITY_X1 |
D - 2.3(3) | D + 1.9 | D - 2.3 (3) | D + 1.9 | ns |
| F7 | td(clkL-be[x]nIV) | 延迟时间,GPMC_CLK 下降沿到 GPMC_BE0n_CLE、GPMC_BE1n 无效(11) | div_by_1_mode; GPMC_FCLK_MUX; TIMEPARAGRANULARITY_X1 |
D - 2.3 (3) | D + 1.9 | D - 2.3 (3) | D + 1.9 | ns |
| F7 | td(clkL-be[x]nIV) | 延迟时间,GPMC_CLK 下降沿到 GPMC_BE0n_CLE、GPMC_BE1n 无效(12) | div_by_1_mode; GPMC_FCLK_MUX; TIMEPARAGRANULARITY_X1 |
D - 2.3 (3) | D + 1.9 | D - 2.3 (3) | D + 1.9 | ns |
| F8 | td(clkH-advn) | 延迟时间,输出时钟 GPMC_CLK 上升沿到输出地址有效和地址锁存使能 GPMC_ADVn_ALE 转换 | div_by_1_mode; GPMC_FCLK_MUX; TIMEPARAGRANULARITY_X1; 无 extra_delay |
G - 2.3(6) | G + 4.5 | G - 2.3 (6) | G + 4.5 | ns |
| F9 | td(clkH-advnIV) | 延迟时间,输出时钟 GPMC_CLK 上升沿到输出地址有效和地址锁存使能 GPMC_ADVn_ALE 无效 | div_by_1_mode; GPMC_FCLK_MUX; TIMEPARAGRANULARITY_X1; 无 extra_delay |
D - 2.3 (3) | D + 4.5 | D - 2.3 (3) | D + 4.5 | ns |
| F10 | td(clkH-oen) | 延迟时间,输出时钟 GPMC_CLK 上升沿到输出使能 GPMC_OEn_REn 转换 | div_by_1_mode; GPMC_FCLK_MUX; TIMEPARAGRANULARITY_X1; 无 extra_delay |
H - 2.3 (7) | H + 3.5 | H - 2.3 (7) | H + 3.5 | ns |
| F11 | td(clkH-oenIV) | 延迟时间,输出时钟 GPMC_CLK 上升沿到输出使能 GPMC_OEn_REn 无效 | div_by_1_mode; GPMC_FCLK_MUX; TIMEPARAGRANULARITY_X1; 无 extra_delay |
H - 2.3 (7) | H + 3.5 | H - 2.3 (7) | H + 3.5 | ns |
| F14 | td(clkH-wen) | 延迟时间,输出时钟 GPMC_CLK 上升沿到输出写入使能 GPMC_WEn 转换 | div_by_1_mode; GPMC_FCLK_MUX; TIMEPARAGRANULARITY_X1; 无 extra_delay |
I - 2.3 (8) | I + 4.5 | I - 2.3 (8) | I + 4.5 | ns |
| F15 | td(clkH-do) | 延迟时间,输出时钟 GPMC_CLK 上升沿到输出数据 GPMC_AD[15:0] 转换(10) | div_by_1_mode; GPMC_FCLK_MUX; TIMEPARAGRANULARITY_X1 |
J - 2.3 (9) | J + 2.7 | J - 2.3 (9) | J + 2.7 | ns |
| F15 | td(clkL-do) | 延迟时间,GPMC_CLK 下降沿到 GPMC_AD[15:0] 数据总线转换(11) | div_by_1_mode; GPMC_FCLK_MUX; TIMEPARAGRANULARITY_X1 |
J - 2.3 (9) | J + 2.7 | J - 2.3 (9) | J + 2.7 | ns |
| F15 | td(clkL-do) | 延迟时间,GPMC_CLK 下降沿到 GPMC_AD[15:0] 数据总线转换(12) | div_by_1_mode; GPMC_FCLK_MUX; TIMEPARAGRANULARITY_X1 |
J - 2.3 (9) | J + 2.7 | J - 2.3 (9) | J + 2.7 | ns |
| F17 | td(clkH-be[x]n) | 延迟时间,输出时钟 GPMC_CLK 上升沿到输出低字节使能和命令锁存使能 GPMC_BE0n_CLE 转换(10) | div_by_1_mode; GPMC_FCLK_MUX; TIMEPARAGRANULARITY_X1 |
J - 2.3 (9) | J + 1.9 | J - 2.3 (9) | J + 1.9 | ns |
| F17 | td(clkL-be[x]n) | 延迟时间,GPMC_CLK 下降沿到 GPMC_BE0n_CLE、GPMC_BE1n 转换(11) | div_by_1_mode; GPMC_FCLK_MUX; TIMEPARAGRANULARITY_X1 |
J - 2.3 (9) | J + 1.9 | J - 2.3 (9) | J + 1.9 | ns |
| F17 | td(clkL-be[x]n) | 延迟时间,GPMC_CLK 下降沿到 GPMC_BE0n_CLE、GPMC_BE1n 转换(12) | div_by_1_mode; GPMC_FCLK_MUX; TIMEPARAGRANULARITY_X1 |
J - 2.3 (9) | J + 1.9 | J - 2.3 (9) | J + 1.9 | ns |
| F18 | tw(csnV) | 脉冲持续时间,输出片选 GPMC_CSn[i](13) 低电平 | 读取 | A | A | ns | ||
| 写入 | A | A | ns | |||||
| F19 | tw(be[x]nV) | 脉冲持续时间,输出低字节使能和命令锁存使能 GPMC_BE0n_CLE、输出高字节使能 GPMC_BE1n 低电平 | 读取 | C | C | ns | ||
| 写入 | C | C | ns | |||||
| F20 | tw(advnV) | 脉冲持续时间,输出地址有效和地址锁存使能 GPMC_ADVn_ALE 低电平 | 读取 | K | K | ns | ||
| 写入 | K | K | ns | |||||




