ZHCSH08 October   2017 MSP432E411Y

PRODUCTION DATA.  

  1. 1器件概述
    1. 1.1 特性
    2. 1.2 应用
    3. 1.3 说明
    4. 1.4 功能框图
  2. 2Revision History
  3. 3Device Characteristics
    1. 3.1 Related Products
  4. 4Terminal Configuration and Functions
    1. 4.1 Pin Diagram
    2. 4.2 Pin Attributes
    3. 4.3 Signal Descriptions
      1. Table 4-3 Signal Descriptions
    4. 4.4 GPIO Pin Multiplexing
    5. 4.5 Buffer Type
    6. 4.6 Connections for Unused Pins
  5. 5Specifications
    1. 5.1  Absolute Maximum Ratings
    2. 5.2  ESD Ratings
    3. 5.3  Recommended Operating Conditions
    4. 5.4  Recommended DC Operating Conditions
    5. 5.5  Recommended GPIO Operating Characteristics
    6. 5.6  Recommended Fast GPIO Pad Operating Conditions
    7. 5.7  Recommended Slow GPIO Pad Operating Conditions
    8. 5.8  GPIO Current Restrictions
    9. 5.9  I/O Reliability
    10. 5.10 Current Consumption
    11. 5.11 Peripheral Current Consumption
    12. 5.12 LDO Regulator Characteristics
    13. 5.13 Power Dissipation
    14. 5.14 Thermal Resistance Characteristics, 212-Pin ZAD (NFBGA) Package
    15. 5.15 Timing and Switching Characteristics
      1. 5.15.1  Load Conditions
      2. 5.15.2  Power Supply Sequencing
        1. 5.15.2.1 Power and Brownout
          1. Table 5-3 Power and Brownout Levels
          2. 5.15.2.1.1 VDDA Levels
          3. 5.15.2.1.2 VDD Levels
          4. 5.15.2.1.3 VDDC Levels
          5. 5.15.2.1.4 VDD Glitch Response
          6. 5.15.2.1.5 VDD Droop Response
      3. 5.15.3  Reset Timing
        1. Table 5-4 Reset Characteristics
      4. 5.15.4  Clock Specifications
        1. 5.15.4.1 PLL Specifications
          1. Table 5-5 Phase Locked Loop (PLL) Characteristics
          2. 5.15.4.1.1 PLL Configuration
        2. 5.15.4.2 PIOSC Specifications
        3. 5.15.4.3 Low-Frequency Oscillator Specifications
          1. Table 5-9 Low-Frequency Oscillator Characteristics
        4. 5.15.4.4 Hibernation Low-Frequency Oscillator Specifications
          1. Table 5-10 Hibernation External Oscillator (XOSC) Input Characteristics
          2. Table 5-11 Hibernation Internal Low-Frequency Oscillator Clock Characteristics
        5. 5.15.4.5 Main Oscillator Specifications
          1. Table 5-12 Main Oscillator Input Characteristics
        6. 5.15.4.6 Main Oscillator Specification WIth ADC
          1. Table 5-14 System Clock Characteristics With ADC Operation
        7. 5.15.4.7 System Clock Characteristics With USB Operation
          1. Table 5-15 System Clock Characteristics With USB Operation
      5. 5.15.5  Sleep Modes
        1. Table 5-16 Wake From Sleep Characteristics
        2. Table 5-17 Wake From Deep Sleep Characteristics
      6. 5.15.6  Hibernation Module
        1. Table 5-18 Hibernation Module Battery Characteristics
        2. Table 5-19 Hibernation Module Characteristics
        3. Table 5-20 Hibernation Module Tamper I/O Characteristics
      7. 5.15.7  Flash Memory
        1. Table 5-21 Flash Memory Characteristics
      8. 5.15.8  EEPROM
        1. Table 5-22 EEPROM Characteristics
      9. 5.15.9  Input/Output Pin Characteristics
        1. Table 5-23 Fast GPIO Module Characteristics
        2. Table 5-24 Slow GPIO Module Characteristics
        3. 5.15.9.1    Types of I/O Pins and ESD Protection
          1. 5.15.9.1.1 Hibernate WAKE pin
            1. Table 5-25 Pad Voltage and Current Characteristics for Hibernate WAKE Pin
          2. 5.15.9.1.2 Nonpower I/O Pins
            1. Table 5-26 Nonpower I/O Pad Voltage and Current Characteristics
      10. 5.15.10 External Peripheral Interface (EPI)
        1. Table 5-28 EPI SDRAM Characteristics
        2. Table 5-29 EPI SDRAM Interface Characteristics
        3. Table 5-30 EPI Host-Bus 8 and Host-Bus 16 Interface Characteristics
        4. Table 5-31 EPI General-Purpose Interface Characteristics
        5. Table 5-32 EPI PSRAM Interface Characteristics
      11. 5.15.11 Analog-to-Digital Converter (ADC)
        1. Table 5-33 Electrical Characteristics for ADC at 1 Msps
        2. Table 5-34 Electrical Characteristics for ADC at 2 Msps
      12. 5.15.12 Synchronous Serial Interface (SSI)
        1. Table 5-35 SSI Characteristics
        2. Table 5-36 Bi- and Quad-SSI Characteristics
      13. 5.15.13 Inter-Integrated Circuit (I2C) Interface
        1. Table 5-37 I2C Characteristics
      14. 5.15.14 Ethernet Controller
        1. 5.15.14.1 DC Characteristics
          1. Table 5-38 Ethernet PHY DC Characteristics
        2. 5.15.14.2 Clock Characteristics for Ethernet
          1. Table 5-39 MOSC 25-MHz Crystal Specification
          2. Table 5-40 MOSC Single-Ended 25-MHz Oscillator Specification
          3. Table 5-41 EN0RREF_CLK 50-MHz Oscillator Specification
        3. 5.15.14.3 AC Characteristics
          1. Table 5-42 Ethernet Controller Enable and Software Reset Timing
          2. Table 5-43 MII Serial Management Timing
          3. Table 5-44 100-Mbps MII Transmit Timing
          4. Table 5-45 100-Mbps MII Receive Timing
          5. Table 5-46 100Base-TX Transmit Timing
          6. Table 5-47 10-Mbps MII Transmit Timing
          7. Table 5-48 10-Mbps MII Receive Timing
          8. Table 5-49 10Base-T Normal Link Pulse Timing
          9. Table 5-50 Auto-Negotiation Fast Link Pulse (FLP) Timing
          10. Table 5-51 100Base-TX Signal Detect Timing
          11. Table 5-52 RMII Transmit Timing
          12. Table 5-53 RMII Receive Timing
      15. 5.15.15 Universal Serial Bus (USB) Controller
        1. Table 5-54 ULPI Interface Timing
      16. 5.15.16 LCD Controller
        1. Table 5-55 LCD Controller Load Capacitance Limits
        2. 5.15.16.1   LCD Interface Display Driver (LIDD Mode)
          1. Table 5-56 LCD Switching Characteristics
          2. Table 5-57 Timing Requirements for LCDDATA in LIDD Mode
          3. 5.15.16.1.1 Hitachi Mode
          4. 5.15.16.1.2 Motorola 6800 Mode
          5. 5.15.16.1.3 Intel 8080 Mode
        3. 5.15.16.2   LCD Raster Mode
          1. Table 5-58 Switching Characteristics for LCD Raster Mode
      17. 5.15.17 Analog Comparator
        1. Table 5-59 Analog Comparator Characteristics
        2. Table 5-60 Analog Comparator Characteristics
        3. Table 5-61 Analog Comparator Voltage Reference Characteristics
        4. Table 5-62 Analog Comparator Voltage Reference Characteristics
      18. 5.15.18 Pulse-Width Modulator (PWM)
        1. Table 5-63 PWM Timing Characteristics
      19. 5.15.19 Emulation and Debug
        1. Table 5-64 JTAG Characteristics
  6. 6Detailed Description
    1. 6.1 Overview
    2. 6.2 Functional Block Diagram
    3. 6.3 Arm Cortex-M4F Processor Core
      1. 6.3.1 Processor Core
      2. 6.3.2 System Timer (SysTick)
      3. 6.3.3 Nested Vectored Interrupt Controller (NVIC)
      4. 6.3.4 System Control Block (SCB)
      5. 6.3.5 Memory Protection Unit (MPU)
      6. 6.3.6 Floating-Point Unit (FPU)
    4. 6.4 On-Chip Memory
      1. 6.4.1 SRAM
      2. 6.4.2 Flash Memory
      3. 6.4.3 ROM
      4. 6.4.4 EEPROM
      5. 6.4.5 Memory Map
    5. 6.5 Peripherals
      1. 6.5.1  External Peripheral Interface (EPI)
      2. 6.5.2  Cyclical Redundancy Check (CRC)
      3. 6.5.3  Advanced Encryption Standard (AES) Accelerator
      4. 6.5.4  Data Encryption Standard (DES) Accelerator
      5. 6.5.5  Secure Hash Algorithm/Message Digest Algorithm (SHA/MD5) Accelerator
      6. 6.5.6  Serial Communications Peripherals
        1. 6.5.6.1 Ethernet MAC and PHY
        2. 6.5.6.2 Controller Area Network (CAN)
        3. 6.5.6.3 Universal Serial Bus (USB)
        4. 6.5.6.4 Universal Asynchronous Receiver/Transmitter (UART)
        5. 6.5.6.5 1-Wire Master Module
        6. 6.5.6.6 Inter-Integrated Circuit (I2C)
        7. 6.5.6.7 Quad Synchronous Serial Interface (QSSI)
      7. 6.5.7  System Integration
        1. 6.5.7.1 Direct Memory Access (DMA)
        2. 6.5.7.2 System Control and Clocks
        3. 6.5.7.3 Programmable Timers
        4. 6.5.7.4 Capture Compare PWM (CCP) Pins
        5. 6.5.7.5 Hibernation (HIB) Module
        6. 6.5.7.6 Watchdog Timers
        7. 6.5.7.7 Programmable GPIOs
      8. 6.5.8  LCD Controller
      9. 6.5.9  Advanced Motion Control
        1. 6.5.9.1 Pulse Width Modulation (PWM)
        2. 6.5.9.2 Quadrature Encoder With Index (QEI) Module
      10. 6.5.10 Analog
        1. 6.5.10.1 ADC
        2. 6.5.10.2 Analog Comparators
      11. 6.5.11 JTAG and Arm Serial Wire Debug
      12. 6.5.12 Peripheral Memory Map
    6. 6.6 Identification
    7. 6.7 Boot Modes
  7. 7Applications, Implementation, and Layout
    1. 7.1 System Design Guidelines
  8. 8器件和文档支持
    1. 8.1 入门和后续步骤
    2. 8.2 器件命名规则
    3. 8.3 工具和软件
    4. 8.4 文档支持
    5. 8.5 Community Resources
    6. 8.6 商标
    7. 8.7 静电放电警告
    8. 8.8 出口管制提示
    9. 8.9 术语表
  9. 9机械、封装和可订购信息

封装选项

机械数据 (封装 | 引脚)
  • ZAD|212
散热焊盘机械数据 (封装 | 引脚)
订购信息

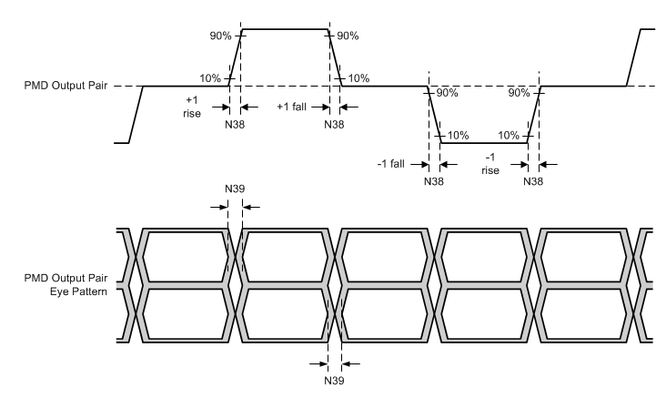
Table 5-46 100Base-TX Transmit Timing

over operating free-air temperature (unless otherwise noted) (see Figure 5-39)
NO. PARAMETERMINTYPMAXUNIT
N38 tRF 100-Mbps PMD output pair tR and tF(1) 3 4 5 ns
tRF_MM 100-Mbps tR and tF symmetry (2)(3) 500 ps
N39 tRF_JTTR 100-Mbps PMD output pair transmit jitter 1.4 ns
Rise and fall times taken at 10% and 90% of the +1 or –1 amplitude.
Normal mismatch is the difference between the maximum and minimum of all rise and fall times
Choice of Ethernet transformer magnetics can affect this parameter.
MSP432E411Y Ethernet_100Base-T_TX_RF_Jitter.gifFigure 5-39 100 Base-TX Transmit Timing

Table 5-47 lists the 10-Mbps MII transmit timing.