ZHCU910B May   2020  – November 2020

 

  1.   商标
  2. 1引言
    1. 1.1 关键特性
  3. 2GESI 扩展板概述
    1. 2.1 GESI 扩展板标识
    2. 2.2 GESI 扩展板元件标识
  4. 3GESI 扩展板 - 用户设置/配置
    1. 3.1 GESI 信息娱乐扩展板与 CP 板
      1. 3.1.1 电路板组装过程
    2. 3.2 电源要求
    3. 3.3 EVM 复位/中断按钮
    4. 3.4 EVM 配置 DIP 开关
  5. 4GESI 扩展板硬件架构
    1. 4.1  GESI 扩展板硬件顶层图
    2. 4.2  扩展连接器
    3. 4.3  板 ID EEPROM
    4. 4.4  以太网接口
      1. 4.4.1 RGMII 时钟方案
      2. 4.4.2 以太网端口 LED 指示
    5. 4.5  PROFIBUS/RS485
    6. 4.6  LIN 接口
    7. 4.7  MCAN
    8. 4.8  多路复用器选择
      1. 4.8.1 多路复用器 – PRGx_MDIO/MDC、CPSW9G_MDIO/MDC
      2. 4.8.2 多路复用器 – PRG1_RGMII1/PRG1_PWM
      3. 4.8.3 多路复用器 – PRG1_PWM/MCAN
      4. 4.8.4 MUX_MC/BP_SEL
    9. 4.9  GESI LaunchPad 与 Booster Pack 的接口
    10. 4.10 电机控制接口
    11. 4.11 USS/IMU 接头
    12. 4.12 测试接头
  6.   A 接口映射
  7.   B GESI 板 GPIO 映射
  8.   C I2C 地址映射
  9.   D 修订历史记录

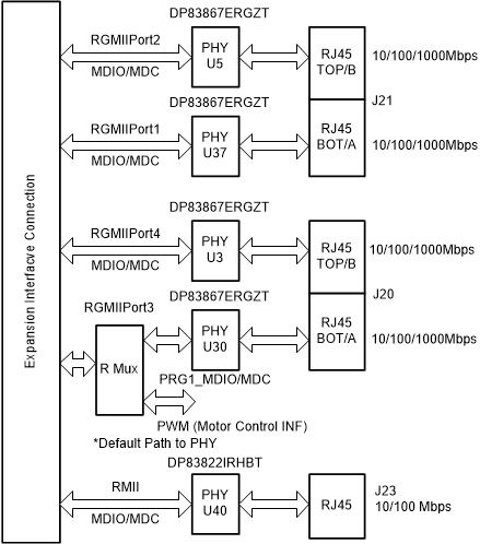
以太网接口

Jacinto7 EVM - GESI 扩展板为用户提供了验证 Jacinto7 SoC 的 RGMII 和 RMII 控制器的选项。

GESI 使用四个 DP83867 千兆位以太网,支持 4 个 RGMII 接口。它连接到 2 个堆叠 RJ45 连接器 J20A & J20B 与 J21A & J21B。这些 PHY 的默认配置可由 PHY 配置引脚的电阻器搭接决定。

表 4-4 RGMII PHY 搭接配置
端口 RGMII 端口 1 RGMII 端口 2 RGMII 端口 3 RGMII 端口 4
连接器 J21A J21B J20A J20B
PHY 地址 00000 00011 01100 01111
自动协商 启用 启用 启用 启用
ANEGSel 10/100/1000 10/100/1000 10/100/1000 10/100/1000
RGMII 时钟偏移 TX 0ns 0ns 0ns 0ns
RGMII 时钟偏移 RX 2ns 2ns 2ns 2ns

在这些 RGMII PHY 上,CPSWxG 或 Jacinto7 处理器的主域 RGMII 接口可通过软件配置进行验证,这是处理器特定的特性。

GUID-6ABAD604-6143-40EB-93FA-E84FEA68223B-low.gif图 4-3 以太网接口

以太网 PHY 管理总线 MDIO-MDC 通过 2:1 多路复用器 SN74CB3Q3257PWR 进行连接。有关多路复用器选择 GPIO 的详细信息,请参阅Topic Link LabelB

DP83822IRHBT 的 RMII 连接提供 10/100Mbps 端口 (J23)。