ZHCS894U April   2001  – July 2019 TMS320F2810 , TMS320F2811 , TMS320F2812

PRODUCTION DATA.  

  1. 1器件概述
    1. 1.1 特性
    2. 1.2 应用
    3. 1.3 说明
    4. 1.4 功能方框图
  2. 2修订历史记录
  3. 3Device Comparison
    1. 3.1 Related Products
  4. 4Terminal Configuration and Functions
    1. 4.1 Pin Diagrams
    2. 4.2 Signal Descriptions
  5. 5Specifications
    1. 5.1  Absolute Maximum Ratings
    2. 5.2  ESD Ratings – Commercial
    3. 5.3  ESD Ratings – Automotive
    4. 5.4  Recommended Operating Conditions
    5. 5.5  Power Consumption Summary
      1. Table 5-1 TMS320F281x Current Consumption by Power-Supply Pins Over Recommended Operating Conditions During Low-Power Modes at 150-MHz SYSCLKOUT
      2. 5.5.1     Current Consumption Graphs
      3. 5.5.2     Reducing Current Consumption
    6. 5.6  Electrical Characteristics
    7. 5.7  Thermal Resistance Characteristics for 179-Ball ZHH Package
    8. 5.8  Thermal Resistance Characteristics for 179-Ball GHH Package
    9. 5.9  Thermal Resistance Characteristics for 176-Pin PGF Package
    10. 5.10 Thermal Resistance Characteristics for 128-Pin PBK Package
    11. 5.11 Thermal Design Considerations
    12. 5.12 Timing and Switching Characteristics
      1. 5.12.1 Timing Parameter Symbology
        1. 5.12.1.1 General Notes on Timing Parameters
        2. 5.12.1.2 Test Load Circuit
        3. 5.12.1.3 Signal Transition Levels
      2. 5.12.2 Power Supply Sequencing
      3. 5.12.3 Reset Timing
        1. Table 5-3 Reset (XRS) Timing Requirements
      4. 5.12.4 Clock Specifications
        1. 5.12.4.1 Device Clock Table
          1. Table 5-4 Clock Table and Nomenclature
        2. 5.12.4.2 Clock Requirements and Characteristics
          1. 5.12.4.2.1 Input Clock Requirements
            1. Table 5-5 Input Clock Frequency
            2. Table 5-6 XCLKIN Timing Requirements – PLL Bypassed or Enabled
            3. Table 5-7 XCLKIN Timing Requirements – PLL Disabled
          2. 5.12.4.2.2 Output Clock Characteristics
            1. Table 5-9 XCLKOUT Switching Characteristics (PLL Bypassed or Enabled)
      5. 5.12.5 Peripherals
        1. 5.12.5.1  General-Purpose Input/Output (GPIO) – Output Timing
          1. Table 5-10 General-Purpose Output Switching Characteristics
        2. 5.12.5.2  General-Purpose Input/Output (GPIO) – Input Timing
          1. Table 5-11 General-Purpose Input Timing Requirements
        3. 5.12.5.3  Event Manager Interface
          1. 5.12.5.3.1 PWM Timing
            1. Table 5-12 PWM Switching Characteristics
            2. Table 5-13 Timer and Capture Unit Timing Requirements
            3. Table 5-14 External ADC Start-of-Conversion – EVA – Switching Characteristics
            4. Table 5-15 External ADC Start-of-Conversion – EVB – Switching Characteristics
        4. 5.12.5.4  Low-Power Mode Wakeup Timing
          1. Table 5-16 IDLE Mode Timing Requirements
          2. Table 5-17 IDLE Mode Switching Characteristics
          3. Table 5-18 STANDBY Mode Timing Requirements
          4. Table 5-19 STANDBY Mode Switching Characteristics
          5. Table 5-20 HALT Mode Timing Requirements
          6. Table 5-21 HALT Mode Switching Characteristics
        5. 5.12.5.5  Serial Peripheral Interface (SPI) Master Mode Timing
          1. Table 5-22 SPI Master Mode External Timing (Clock Phase = 0)
          2. Table 5-23 SPI Master Mode External Timing (Clock Phase = 1)
        6. 5.12.5.6  Serial Peripheral Interface (SPI) Slave Mode Timing
          1. Table 5-24 SPI Slave Mode External Timing (Clock Phase = 0)
          2. Table 5-25 SPI Slave Mode External Timing (Clock Phase = 1)
        7. 5.12.5.7  External Interface (XINTF) Timing
          1. 5.12.5.7.1 USEREADY = 0
          2. 5.12.5.7.2 Synchronous Mode (USEREADY = 1, READYMODE = 0)
          3. 5.12.5.7.3 Asynchronous Mode (USEREADY = 1, READYMODE = 1)
        8. 5.12.5.8  XINTF Signal Alignment to XCLKOUT
        9. 5.12.5.9  External Interface Read Timing
          1. Table 5-28 External Memory Interface Read Switching Characteristics
          2. Table 5-29 External Memory Interface Read Timing Requirements
        10. 5.12.5.10 External Interface Write Timing
          1. Table 5-30 External Memory Interface Write Switching Characteristics
        11. 5.12.5.11 External Interface Ready-on-Read Timing With One External Wait State
          1. Table 5-31 External Memory Interface Read Switching Characteristics (Ready-on-Read, 1 Wait State)
          2. Table 5-32 External Memory Interface Read Timing Requirements (Ready-on-Read, 1 Wait State)
          3. Table 5-33 Synchronous XREADY Timing Requirements (Ready-on-Read, 1 Wait State)
          4. Table 5-34 Asynchronous XREADY Timing Requirements (Ready-on-Read, 1 Wait State)
        12. 5.12.5.12 External Interface Ready-on-Write Timing With One External Wait State
          1. Table 5-35 External Memory Interface Write Switching Characteristics (Ready-on-Write, 1 Wait State)
          2. Table 5-36 Synchronous XREADY Timing Requirements (Ready-on-Write, 1 Wait State)
          3. Table 5-37 Asynchronous XREADY Timing Requirements (Ready-on-Write, 1 Wait State)
        13. 5.12.5.13 XHOLD and XHOLDA
        14. 5.12.5.14 XHOLD/XHOLDA Timing
          1. Table 5-38 XHOLD/XHOLDA Timing Requirements (XCLKOUT = XTIMCLK)
          2. Table 5-39 XHOLD/XHOLDA Timing Requirements (XCLKOUT = 1/2 XTIMCLK)
        15. 5.12.5.15 On-Chip Analog-to-Digital Converter
          1. Table 5-40  ADC Absolute Maximum Ratings Over Recommended Operating Conditions (Unless Otherwise Noted)
          2. Table 5-41  ADC Electrical Characteristics Over Recommended Operating Conditions (Unless Otherwise Noted)—AC Specifications
          3. Table 5-42  ADC Electrical Characteristics Over Recommended Operating Conditions (Unless Otherwise Noted)—DC Specifications
          4. 5.12.5.15.1 Current Consumption for Different ADC Configurations
            1. Table 5-43 Current Consumption for Different ADC Configurations (at 25-MHz ADCCLK)
          5. 5.12.5.15.2 ADC Power-Up Control Bit Timing
            1. Table 5-44 ADC Power-Up Delays
          6. 5.12.5.15.3 Detailed Description
            1. 5.12.5.15.3.1 Reference Voltage
            2. 5.12.5.15.3.2 Analog Inputs
            3. 5.12.5.15.3.3 Converter
            4. 5.12.5.15.3.4 Conversion Modes
          7. 5.12.5.15.4 Sequential Sampling Mode (Single-Channel) (SMODE = 0)
            1. Table 5-45 Sequential Sampling Mode Timing
          8. 5.12.5.15.5 Simultaneous Sampling Mode (Dual-Channel) (SMODE = 1)
            1. Table 5-46 Simultaneous Sampling Mode Timing
          9. 5.12.5.15.6 Definitions of Specifications and Terminology
        16. 5.12.5.16 Multichannel Buffered Serial Port (McBSP) Timing
          1. 5.12.5.16.1 McBSP Transmit and Receive Timing
            1. Table 5-47 McBSP Timing Requirements
            2. Table 5-48 McBSP Switching Characteristics
          2. 5.12.5.16.2 McBSP as SPI Master or Slave Timing
            1. Table 5-49 McBSP as SPI Master or Slave Timing Requirements (CLKSTP = 10b, CLKXP = 0)
            2. Table 5-50 McBSP as SPI Master or Slave Switching Characteristics (CLKSTP = 10b, CLKXP = 0)
            3. Table 5-51 McBSP as SPI Master or Slave Timing Requirements (CLKSTP = 11b, CLKXP = 0)
            4. Table 5-52 McBSP as SPI Master or Slave Switching Characteristics (CLKSTP = 11b, CLKXP = 0)
            5. Table 5-53 McBSP as SPI Master or Slave Timing Requirements (CLKSTP = 10b, CLKXP = 1)
            6. Table 5-54 McBSP as SPI Master or Slave Switching Characteristics (CLKSTP = 10b, CLKXP = 1)
            7. Table 5-55 McBSP as SPI Master or Slave Timing Requirements (CLKSTP = 11b, CLKXP = 1)
            8. Table 5-56 McBSP as SPI Master or Slave Switching Characteristics (CLKSTP = 11b, CLKXP = 1)
      6. 5.12.6 Emulator Connection Without Signal Buffering for the DSP
      7. 5.12.7 Interrupt Timing
        1. Table 5-57 Interrupt Switching Characteristics
        2. Table 5-58 Interrupt Timing Requirements
      8. 5.12.8 Flash Timing
        1. Table 5-59 Flash Endurance for A and S Temperature Material
        2. Table 5-60 Flash Endurance for Q Temperature Material
        3. Table 5-61 Flash Parameters at 150-MHz SYSCLKOUT
        4. Table 5-62 Flash/OTP Access Timing
        5. Table 5-63 Flash Data Retention Duration
  6. 6Detailed Description
    1. 6.1  Brief Descriptions
      1. 6.1.1  C28x CPU
      2. 6.1.2  Memory Bus (Harvard Bus Architecture)
      3. 6.1.3  Peripheral Bus
      4. 6.1.4  Real-Time JTAG and Analysis
      5. 6.1.5  External Interface (XINTF) (F2812 Only)
      6. 6.1.6  Flash
      7. 6.1.7  M0, M1 SARAMs
      8. 6.1.8  L0, L1, H0 SARAMs
      9. 6.1.9  Boot ROM
      10. 6.1.10 Security
      11. 6.1.11 Peripheral Interrupt Expansion (PIE) Block
      12. 6.1.12 External Interrupts (XINT1, XINT2, XINT13, XNMI)
      13. 6.1.13 Oscillator and PLL
      14. 6.1.14 Watchdog
      15. 6.1.15 Peripheral Clocking
      16. 6.1.16 Low-Power Modes
      17. 6.1.17 Peripheral Frames 0, 1, 2 (PFn)
      18. 6.1.18 General-Purpose Input/Output (GPIO) Multiplexer
      19. 6.1.19 32-Bit CPU-Timers (0, 1, 2)
      20. 6.1.20 Control Peripherals
      21. 6.1.21 Serial Port Peripherals
    2. 6.2  Peripherals
      1. 6.2.1 32-Bit CPU-Timers 0/1/2
      2. 6.2.2 Event Manager Modules (EVA, EVB)
        1. 6.2.2.1 General-Purpose (GP) Timers
        2. 6.2.2.2 Full-Compare Units
        3. 6.2.2.3 Programmable Deadband Generator
        4. 6.2.2.4 PWM Waveform Generation
        5. 6.2.2.5 Double Update PWM Mode
        6. 6.2.2.6 PWM Characteristics
        7. 6.2.2.7 Capture Unit
        8. 6.2.2.8 Quadrature-Encoder Pulse (QEP) Circuit
        9. 6.2.2.9 External ADC Start-of-Conversion
      3. 6.2.3 Enhanced Analog-to-Digital Converter (ADC) Module
      4. 6.2.4 Enhanced Controller Area Network (eCAN) Module
      5. 6.2.5 Multichannel Buffered Serial Port (McBSP) Module
      6. 6.2.6 Serial Communications Interface (SCI) Module
      7. 6.2.7 Serial Peripheral Interface (SPI) Module
      8. 6.2.8 GPIO MUX
    3. 6.3  Memory Maps
    4. 6.4  Register Map
    5. 6.5  Device Emulation Registers
    6. 6.6  External Interface, XINTF (F2812 Only)
      1. 6.6.1 Timing Registers
      2. 6.6.2 XREVISION Register
    7. 6.7  Interrupts
      1. 6.7.1 External Interrupts
    8. 6.8  System Control
    9. 6.9  OSC and PLL Block
      1. 6.9.1 Loss of Input Clock
    10. 6.10 PLL-Based Clock Module
    11. 6.11 External Reference Oscillator Clock Option
    12. 6.12 Watchdog Block
    13. 6.13 Low-Power Modes Block
  7. 7Applications, Implementation, and Layout
    1. 7.1 TI Reference Design
  8. 8器件和文档支持
    1. 8.1 入门
    2. 8.2 器件和开发支持工具命名规则
    3. 8.3 工具与软件
    4. 8.4 文档支持
    5. 8.5 相关链接
    6. 8.6 Community Resources
    7. 8.7 商标
    8. 8.8 静电放电警告
    9. 8.9 Glossary
  9. 9机械、封装和可订购信息
    1. 9.1 封装信息

封装选项

请参考 PDF 数据表获取器件具体的封装图。

机械数据 (封装 | 引脚)
  • PBK|128
散热焊盘机械数据 (封装 | 引脚)
订购信息

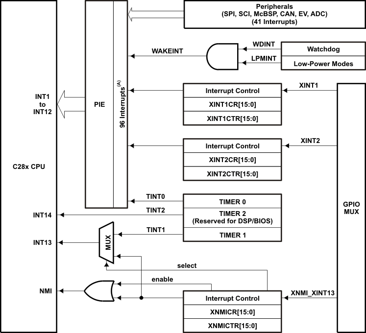
Interrupts

Figure 6-17 shows how the various interrupt sources are multiplexed within the F281x devices.

TMS320F2810 TMS320F2811 TMS320F2812 int_pie_prs174.gif
Out of a possible 96 interrupts, 45 are currently used by peripherals.
Figure 6-17 Interrupt Sources

Eight PIE block interrupts are grouped into one CPU interrupt. In total, 12 CPU interrupt groups, with 8 interrupts per group equals 96 possible interrupts. On the F281x, 45 of these are used by peripherals as shown in Table 6-24.

The TRAP #VectorNumber instruction transfers program control to the interrupt service routine corresponding to the vector specified. TRAP #0 attempts to transfer program control to the address pointed to by the reset vector. The PIE vector table does not, however, include a reset vector. Therefore, TRAP #0 should not be used when the PIE is enabled. Doing so will result in undefined behavior.

When the PIE is enabled, TRAP #1 through TRAP #12 will transfer program control to the interrupt service routine corresponding to the first vector within the PIE group. For example: TRAP #1 fetches the vector from INT1.1, TRAP #2 fetches the vector from INT2.1 and so forth.

TMS320F2810 TMS320F2811 TMS320F2812 muxint_prs174.gifFigure 6-18 Multiplexing of Interrupts Using the PIE Block

Table 6-24 PIE Peripheral Interrupts(1)

CPU
INTERRUPTS
PIE INTERRUPTS
INTx.8 INTx.7 INTx.6 INTx.5 INTx.4 INTx.3 INTx.2 INTx.1
INT1 WAKEINT
(LPM/WD)
TINT0
(TIMER 0)
ADCINT
(ADC)
XINT2 XINT1 Reserved PDPINTB
(EV-B)
PDPINTA
(EV-A)
INT2 Reserved T1OFINT
(EV-A)
T1UFINT
(EV-A)
T1CINT
(EV-A)
T1PINT
(EV-A)
CMP3INT
(EV-A)
CMP2INT
(EV-A)
CMP1INT
(EV-A)
INT3 Reserved CAPINT3
(EV-A)
CAPINT2
(EV-A)
CAPINT1
(EV-A)
T2OFINT
(EV-A)
T2UFINT
(EV-A)
T2CINT
(EV-A)
T2PINT
(EV-A)
INT4 Reserved T3OFINT
(EV-B)
T3UFINT
(EV-B)
T3CINT
(EV-B)
T3PINT
(EV-B)
CMP6INT
(EV-B)
CMP5INT
(EV-B)
CMP4INT
(EV-B)
INT5 Reserved CAPINT6
(EV-B)
CAPINT5
(EV-B)
CAPINT4
(EV-B)
T4OFINT
(EV-B)
T4UFINT
(EV-B)
T4CINT
(EV-B)
T4PINT
(EV-B)
INT6 Reserved Reserved MXINT
(McBSP)
MRINT
(McBSP)
Reserved Reserved SPITXINTA
(SPI)
SPIRXINTA
(SPI)
INT7 Reserved Reserved Reserved Reserved Reserved Reserved Reserved Reserved
INT8 Reserved Reserved Reserved Reserved Reserved Reserved Reserved Reserved
INT9 Reserved Reserved ECAN1INT
(CAN)
ECAN0INT
(CAN)
SCITXINTB
(SCI-B)
SCIRXINTB
(SCI-B)
SCITXINTA
(SCI-A)
SCIRXINTA
(SCI-A)
INT10 Reserved Reserved Reserved Reserved Reserved Reserved Reserved Reserved
INT11 Reserved Reserved Reserved Reserved Reserved Reserved Reserved Reserved
INT12 Reserved Reserved Reserved Reserved Reserved Reserved Reserved Reserved
Out of the 96 possible interrupts, 45 interrupts are currently used. The remaining interrupts are reserved for future devices. These interrupts can be used as software interrupts if they are enabled at the PIEIFRx level, provided none of the interrupts within the group is being used by a peripheral. Otherwise, interrupts coming in from peripherals may be lost by accidentally clearing their flag while modifying the PIEIFR.
To summarize, there are two safe cases when the reserved interrupts could be used as software interrupts:
  1. No peripheral within the group is asserting interrupts.
  2. No peripheral interrupts are assigned to the group (example PIE group 12).

Table 6-25 PIE Configuration and Control Registers(1)

NAME ADDRESS SIZE (x16) DESCRIPTION
PIECTRL 0x0000 0CE0 1 PIE, Control Register
PIEACK 0x0000 0CE1 1 PIE, Acknowledge Register
PIEIER1 0x0000 0CE2 1 PIE, INT1 Group Enable Register
PIEIFR1 0x0000 0CE3 1 PIE, INT1 Group Flag Register
PIEIER2 0x0000 0CE4 1 PIE, INT2 Group Enable Register
PIEIFR2 0x0000 0CE5 1 PIE, INT2 Group Flag Register
PIEIER3 0x0000 0CE6 1 PIE, INT3 Group Enable Register
PIEIFR3 0x0000 0CE7 1 PIE, INT3 Group Flag Register
PIEIER4 0x0000 0CE8 1 PIE, INT4 Group Enable Register
PIEIFR4 0x0000 0CE9 1 PIE, INT4 Group Flag Register
PIEIER5 0x0000 0CEA 1 PIE, INT5 Group Enable Register
PIEIFR5 0x0000 0CEB 1 PIE, INT5 Group Flag Register
PIEIER6 0x0000 0CEC 1 PIE, INT6 Group Enable Register
PIEIFR6 0x0000 0CED 1 PIE, INT6 Group Flag Register
PIEIER7 0x0000 0CEE 1 PIE, INT7 Group Enable Register
PIEIFR7 0x0000 0CEF 1 PIE, INT7 Group Flag Register
PIEIER8 0x0000 0CF0 1 PIE, INT8 Group Enable Register
PIEIFR8 0x0000 0CF1 1 PIE, INT8 Group Flag Register
PIEIER9 0x0000 0CF2 1 PIE, INT9 Group Enable Register
PIEIFR9 0x0000 0CF3 1 PIE, INT9 Group Flag Register
PIEIER10 0x0000 0CF4 1 PIE, INT10 Group Enable Register
PIEIFR10 0x0000 0CF5 1 PIE, INT10 Group Flag Register
PIEIER11 0x0000 0CF6 1 PIE, INT11 Group Enable Register
PIEIFR11 0x0000 0CF7 1 PIE, INT11 Group Flag Register
PIEIER12 0x0000 0CF8 1 PIE, INT12 Group Enable Register
PIEIFR12 0x0000 0CF9 1 PIE, INT12 Group Flag Register
Reserved 0x0000 0CFA – 0x0000 0CFF 6 Reserved
The PIE configuration and control registers are not protected by EALLOW mode. The PIE vector table is protected.