ZHCS894U April   2001  – July 2019 TMS320F2810 , TMS320F2811 , TMS320F2812

PRODUCTION DATA.  

  1. 1器件概述
    1. 1.1 特性
    2. 1.2 应用
    3. 1.3 说明
    4. 1.4 功能方框图
  2. 2修订历史记录
  3. 3Device Comparison
    1. 3.1 Related Products
  4. 4Terminal Configuration and Functions
    1. 4.1 Pin Diagrams
    2. 4.2 Signal Descriptions
  5. 5Specifications
    1. 5.1  Absolute Maximum Ratings
    2. 5.2  ESD Ratings – Commercial
    3. 5.3  ESD Ratings – Automotive
    4. 5.4  Recommended Operating Conditions
    5. 5.5  Power Consumption Summary
      1. Table 5-1 TMS320F281x Current Consumption by Power-Supply Pins Over Recommended Operating Conditions During Low-Power Modes at 150-MHz SYSCLKOUT
      2. 5.5.1     Current Consumption Graphs
      3. 5.5.2     Reducing Current Consumption
    6. 5.6  Electrical Characteristics
    7. 5.7  Thermal Resistance Characteristics for 179-Ball ZHH Package
    8. 5.8  Thermal Resistance Characteristics for 179-Ball GHH Package
    9. 5.9  Thermal Resistance Characteristics for 176-Pin PGF Package
    10. 5.10 Thermal Resistance Characteristics for 128-Pin PBK Package
    11. 5.11 Thermal Design Considerations
    12. 5.12 Timing and Switching Characteristics
      1. 5.12.1 Timing Parameter Symbology
        1. 5.12.1.1 General Notes on Timing Parameters
        2. 5.12.1.2 Test Load Circuit
        3. 5.12.1.3 Signal Transition Levels
      2. 5.12.2 Power Supply Sequencing
      3. 5.12.3 Reset Timing
        1. Table 5-3 Reset (XRS) Timing Requirements
      4. 5.12.4 Clock Specifications
        1. 5.12.4.1 Device Clock Table
          1. Table 5-4 Clock Table and Nomenclature
        2. 5.12.4.2 Clock Requirements and Characteristics
          1. 5.12.4.2.1 Input Clock Requirements
            1. Table 5-5 Input Clock Frequency
            2. Table 5-6 XCLKIN Timing Requirements – PLL Bypassed or Enabled
            3. Table 5-7 XCLKIN Timing Requirements – PLL Disabled
          2. 5.12.4.2.2 Output Clock Characteristics
            1. Table 5-9 XCLKOUT Switching Characteristics (PLL Bypassed or Enabled)
      5. 5.12.5 Peripherals
        1. 5.12.5.1  General-Purpose Input/Output (GPIO) – Output Timing
          1. Table 5-10 General-Purpose Output Switching Characteristics
        2. 5.12.5.2  General-Purpose Input/Output (GPIO) – Input Timing
          1. Table 5-11 General-Purpose Input Timing Requirements
        3. 5.12.5.3  Event Manager Interface
          1. 5.12.5.3.1 PWM Timing
            1. Table 5-12 PWM Switching Characteristics
            2. Table 5-13 Timer and Capture Unit Timing Requirements
            3. Table 5-14 External ADC Start-of-Conversion – EVA – Switching Characteristics
            4. Table 5-15 External ADC Start-of-Conversion – EVB – Switching Characteristics
        4. 5.12.5.4  Low-Power Mode Wakeup Timing
          1. Table 5-16 IDLE Mode Timing Requirements
          2. Table 5-17 IDLE Mode Switching Characteristics
          3. Table 5-18 STANDBY Mode Timing Requirements
          4. Table 5-19 STANDBY Mode Switching Characteristics
          5. Table 5-20 HALT Mode Timing Requirements
          6. Table 5-21 HALT Mode Switching Characteristics
        5. 5.12.5.5  Serial Peripheral Interface (SPI) Master Mode Timing
          1. Table 5-22 SPI Master Mode External Timing (Clock Phase = 0)
          2. Table 5-23 SPI Master Mode External Timing (Clock Phase = 1)
        6. 5.12.5.6  Serial Peripheral Interface (SPI) Slave Mode Timing
          1. Table 5-24 SPI Slave Mode External Timing (Clock Phase = 0)
          2. Table 5-25 SPI Slave Mode External Timing (Clock Phase = 1)
        7. 5.12.5.7  External Interface (XINTF) Timing
          1. 5.12.5.7.1 USEREADY = 0
          2. 5.12.5.7.2 Synchronous Mode (USEREADY = 1, READYMODE = 0)
          3. 5.12.5.7.3 Asynchronous Mode (USEREADY = 1, READYMODE = 1)
        8. 5.12.5.8  XINTF Signal Alignment to XCLKOUT
        9. 5.12.5.9  External Interface Read Timing
          1. Table 5-28 External Memory Interface Read Switching Characteristics
          2. Table 5-29 External Memory Interface Read Timing Requirements
        10. 5.12.5.10 External Interface Write Timing
          1. Table 5-30 External Memory Interface Write Switching Characteristics
        11. 5.12.5.11 External Interface Ready-on-Read Timing With One External Wait State
          1. Table 5-31 External Memory Interface Read Switching Characteristics (Ready-on-Read, 1 Wait State)
          2. Table 5-32 External Memory Interface Read Timing Requirements (Ready-on-Read, 1 Wait State)
          3. Table 5-33 Synchronous XREADY Timing Requirements (Ready-on-Read, 1 Wait State)
          4. Table 5-34 Asynchronous XREADY Timing Requirements (Ready-on-Read, 1 Wait State)
        12. 5.12.5.12 External Interface Ready-on-Write Timing With One External Wait State
          1. Table 5-35 External Memory Interface Write Switching Characteristics (Ready-on-Write, 1 Wait State)
          2. Table 5-36 Synchronous XREADY Timing Requirements (Ready-on-Write, 1 Wait State)
          3. Table 5-37 Asynchronous XREADY Timing Requirements (Ready-on-Write, 1 Wait State)
        13. 5.12.5.13 XHOLD and XHOLDA
        14. 5.12.5.14 XHOLD/XHOLDA Timing
          1. Table 5-38 XHOLD/XHOLDA Timing Requirements (XCLKOUT = XTIMCLK)
          2. Table 5-39 XHOLD/XHOLDA Timing Requirements (XCLKOUT = 1/2 XTIMCLK)
        15. 5.12.5.15 On-Chip Analog-to-Digital Converter
          1. Table 5-40  ADC Absolute Maximum Ratings Over Recommended Operating Conditions (Unless Otherwise Noted)
          2. Table 5-41  ADC Electrical Characteristics Over Recommended Operating Conditions (Unless Otherwise Noted)—AC Specifications
          3. Table 5-42  ADC Electrical Characteristics Over Recommended Operating Conditions (Unless Otherwise Noted)—DC Specifications
          4. 5.12.5.15.1 Current Consumption for Different ADC Configurations
            1. Table 5-43 Current Consumption for Different ADC Configurations (at 25-MHz ADCCLK)
          5. 5.12.5.15.2 ADC Power-Up Control Bit Timing
            1. Table 5-44 ADC Power-Up Delays
          6. 5.12.5.15.3 Detailed Description
            1. 5.12.5.15.3.1 Reference Voltage
            2. 5.12.5.15.3.2 Analog Inputs
            3. 5.12.5.15.3.3 Converter
            4. 5.12.5.15.3.4 Conversion Modes
          7. 5.12.5.15.4 Sequential Sampling Mode (Single-Channel) (SMODE = 0)
            1. Table 5-45 Sequential Sampling Mode Timing
          8. 5.12.5.15.5 Simultaneous Sampling Mode (Dual-Channel) (SMODE = 1)
            1. Table 5-46 Simultaneous Sampling Mode Timing
          9. 5.12.5.15.6 Definitions of Specifications and Terminology
        16. 5.12.5.16 Multichannel Buffered Serial Port (McBSP) Timing
          1. 5.12.5.16.1 McBSP Transmit and Receive Timing
            1. Table 5-47 McBSP Timing Requirements
            2. Table 5-48 McBSP Switching Characteristics
          2. 5.12.5.16.2 McBSP as SPI Master or Slave Timing
            1. Table 5-49 McBSP as SPI Master or Slave Timing Requirements (CLKSTP = 10b, CLKXP = 0)
            2. Table 5-50 McBSP as SPI Master or Slave Switching Characteristics (CLKSTP = 10b, CLKXP = 0)
            3. Table 5-51 McBSP as SPI Master or Slave Timing Requirements (CLKSTP = 11b, CLKXP = 0)
            4. Table 5-52 McBSP as SPI Master or Slave Switching Characteristics (CLKSTP = 11b, CLKXP = 0)
            5. Table 5-53 McBSP as SPI Master or Slave Timing Requirements (CLKSTP = 10b, CLKXP = 1)
            6. Table 5-54 McBSP as SPI Master or Slave Switching Characteristics (CLKSTP = 10b, CLKXP = 1)
            7. Table 5-55 McBSP as SPI Master or Slave Timing Requirements (CLKSTP = 11b, CLKXP = 1)
            8. Table 5-56 McBSP as SPI Master or Slave Switching Characteristics (CLKSTP = 11b, CLKXP = 1)
      6. 5.12.6 Emulator Connection Without Signal Buffering for the DSP
      7. 5.12.7 Interrupt Timing
        1. Table 5-57 Interrupt Switching Characteristics
        2. Table 5-58 Interrupt Timing Requirements
      8. 5.12.8 Flash Timing
        1. Table 5-59 Flash Endurance for A and S Temperature Material
        2. Table 5-60 Flash Endurance for Q Temperature Material
        3. Table 5-61 Flash Parameters at 150-MHz SYSCLKOUT
        4. Table 5-62 Flash/OTP Access Timing
        5. Table 5-63 Flash Data Retention Duration
  6. 6Detailed Description
    1. 6.1  Brief Descriptions
      1. 6.1.1  C28x CPU
      2. 6.1.2  Memory Bus (Harvard Bus Architecture)
      3. 6.1.3  Peripheral Bus
      4. 6.1.4  Real-Time JTAG and Analysis
      5. 6.1.5  External Interface (XINTF) (F2812 Only)
      6. 6.1.6  Flash
      7. 6.1.7  M0, M1 SARAMs
      8. 6.1.8  L0, L1, H0 SARAMs
      9. 6.1.9  Boot ROM
      10. 6.1.10 Security
      11. 6.1.11 Peripheral Interrupt Expansion (PIE) Block
      12. 6.1.12 External Interrupts (XINT1, XINT2, XINT13, XNMI)
      13. 6.1.13 Oscillator and PLL
      14. 6.1.14 Watchdog
      15. 6.1.15 Peripheral Clocking
      16. 6.1.16 Low-Power Modes
      17. 6.1.17 Peripheral Frames 0, 1, 2 (PFn)
      18. 6.1.18 General-Purpose Input/Output (GPIO) Multiplexer
      19. 6.1.19 32-Bit CPU-Timers (0, 1, 2)
      20. 6.1.20 Control Peripherals
      21. 6.1.21 Serial Port Peripherals
    2. 6.2  Peripherals
      1. 6.2.1 32-Bit CPU-Timers 0/1/2
      2. 6.2.2 Event Manager Modules (EVA, EVB)
        1. 6.2.2.1 General-Purpose (GP) Timers
        2. 6.2.2.2 Full-Compare Units
        3. 6.2.2.3 Programmable Deadband Generator
        4. 6.2.2.4 PWM Waveform Generation
        5. 6.2.2.5 Double Update PWM Mode
        6. 6.2.2.6 PWM Characteristics
        7. 6.2.2.7 Capture Unit
        8. 6.2.2.8 Quadrature-Encoder Pulse (QEP) Circuit
        9. 6.2.2.9 External ADC Start-of-Conversion
      3. 6.2.3 Enhanced Analog-to-Digital Converter (ADC) Module
      4. 6.2.4 Enhanced Controller Area Network (eCAN) Module
      5. 6.2.5 Multichannel Buffered Serial Port (McBSP) Module
      6. 6.2.6 Serial Communications Interface (SCI) Module
      7. 6.2.7 Serial Peripheral Interface (SPI) Module
      8. 6.2.8 GPIO MUX
    3. 6.3  Memory Maps
    4. 6.4  Register Map
    5. 6.5  Device Emulation Registers
    6. 6.6  External Interface, XINTF (F2812 Only)
      1. 6.6.1 Timing Registers
      2. 6.6.2 XREVISION Register
    7. 6.7  Interrupts
      1. 6.7.1 External Interrupts
    8. 6.8  System Control
    9. 6.9  OSC and PLL Block
      1. 6.9.1 Loss of Input Clock
    10. 6.10 PLL-Based Clock Module
    11. 6.11 External Reference Oscillator Clock Option
    12. 6.12 Watchdog Block
    13. 6.13 Low-Power Modes Block
  7. 7Applications, Implementation, and Layout
    1. 7.1 TI Reference Design
  8. 8器件和文档支持
    1. 8.1 入门
    2. 8.2 器件和开发支持工具命名规则
    3. 8.3 工具与软件
    4. 8.4 文档支持
    5. 8.5 相关链接
    6. 8.6 Community Resources
    7. 8.7 商标
    8. 8.8 静电放电警告
    9. 8.9 Glossary
  9. 9机械、封装和可订购信息
    1. 9.1 封装信息

封装选项

请参考 PDF 数据表获取器件具体的封装图。

机械数据 (封装 | 引脚)
  • PBK|128
散热焊盘机械数据 (封装 | 引脚)
订购信息

Multichannel Buffered Serial Port (McBSP) Module

The McBSP module has the following features:

  • Compatible to McBSP in TMS320C54x/TMS320C55x DSP devices, except the DMA features
  • Full-duplex communication
  • Double-buffered data registers which allow a continuous data stream
  • Independent framing and clocking for receive and transmit
  • External shift clock generation or an internal programmable frequency shift clock
  • A wide selection of data sizes including 8-, 12-, 16-, 20-, 24-, or 32-bits
  • 8-bit data transfers with LSB or MSB first
  • Programmable polarity for both frame synchronization and data clocks
  • Highly programmable internal clock and frame generation
  • Support A-bis mode
  • Direct interface to industry-standard CODECs, Analog Interface Chips (AICs), and other serially connected A/D and D/A devices
  • Works with SPI-compatible devices
  • Two 16 x 16-level FIFO for Transmit channel
  • Two 16 x 16-level FIFO for Receive channel

The following application interfaces can be supported on the McBSP:

  • T1/E1 framers
  • MVIP switching-compatible and ST-BUS-compliant devices including:
    • MVIP framers
    • H.100 framers
    • SCSA framers
    • IOM-2 compliant devices
    • AC97-compliant devices (the necessary multiphase frame synchronization capability is provided.)
    • IIS-compliant devices
  • McBSP clock rate = CLKG = CLKSRG/(1 + CLKGDIV) , where CLKSRG source could be LSPCLK, CLKX, or CLKR. (1)
  • Serial port performance is limited by I/O buffer switching speed. Internal prescalers must be adjusted such that the peripheral speed is less than the I/O buffer speed limit—20-MHz maximum.

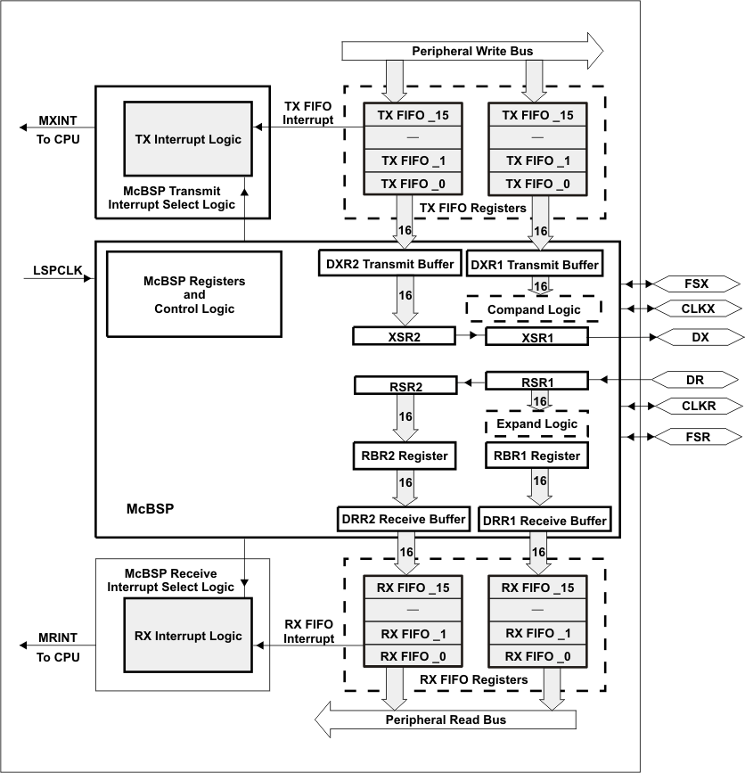
Figure 6-9 shows the block diagram of the McBSP module with FIFO, interfaced to the F281x version of Peripheral Frame 2.

TMS320F2810 TMS320F2811 TMS320F2812 mcbsp_prs174.gifFigure 6-9 McBSP Module With FIFO

Table 6-9 provides a summary of the McBSP registers.

Table 6-9 McBSP Registers

NAME ADDRESS
0x00 78xxh
TYPE
(R/W)
RESET VALUE
(HEX)
DESCRIPTION
DATA REGISTERS, RECEIVE, TRANSMIT(1)
0x0000 McBSP Receive Buffer Register
0x0000 McBSP Receive Shift Register
0x0000 McBSP Transmit Shift Register
DRR2 00 R 0x0000 McBSP Data Receive Register 2
  • Read First if the word size is greater than 16 bits,
    else ignore DRR2
DRR1 01 R 0x0000 McBSP Data Receive Register 1
  • Read Second if the word size is greater than 16 bits,
    else read DRR1 only
DXR2 02 W 0x0000 McBSP Data Transmit Register 2
  • Write First if the word size is greater than 16 bits,
    else ignore DXR2
DXR1 03 W 0x0000 McBSP Data Transmit Register 1
  • Write Second if the word size is greater than 16 bits,
    else write to DXR1 only
McBSP CONTROL REGISTERS
SPCR2 04 R/W 0x0000 McBSP Serial Port Control Register 2
SPCR1 05 R/W 0x0000 McBSP Serial Port Control Register 1
RCR2 06 R/W 0x0000 McBSP Receive Control Register 2
RCR1 07 R/W 0x0000 McBSP Receive Control Register 1
XCR2 08 R/W 0x0000 McBSP Transmit Control Register 2
XCR1 09 R/W 0x0000 McBSP Transmit Control Register 1
SRGR2 0A R/W 0x0000 McBSP Sample Rate Generator Register 2
SRGR1 0B R/W 0x0000 McBSP Sample Rate Generator Register 1
MULTICHANNEL CONTROL REGISTERS
MCR2 0C R/W 0x0000 McBSP Multichannel Register 2
MCR1 0D R/W 0x0000 McBSP Multichannel Register 1
RCERA 0E R/W 0x0000 McBSP Receive Channel Enable Register Partition A
RCERB 0F R/W 0x0000 McBSP Receive Channel Enable Register Partition B
XCERA 10 R/W 0x0000 McBSP Transmit Channel Enable Register Partition A
XCERB 11 R/W 0x0000 McBSP Transmit Channel Enable Register Partition B
PCR 12 R/W 0x0000 McBSP Pin Control Register
RCERC 13 R/W 0x0000 McBSP Receive Channel Enable Register Partition C
RCERD 14 R/W 0x0000 McBSP Receive Channel Enable Register Partition D
XCERC 15 R/W 0x0000 McBSP Transmit Channel Enable Register Partition C
XCERD 16 R/W 0x0000 McBSP Transmit Channel Enable Register Partition D
RCERE 17 R/W 0x0000 McBSP Receive Channel Enable Register Partition E
RCERF 18 R/W 0x0000 McBSP Receive Channel Enable Register Partition F
XCERE 19 R/W 0x0000 McBSP Transmit Channel Enable Register Partition E
XCERF 1A R/W 0x0000 McBSP Transmit Channel Enable Register Partition F
RCERG 1B R/W 0x0000 McBSP Receive Channel Enable Register Partition G
RCERH 1C R/W 0x0000 McBSP Receive Channel Enable Register Partition H
XCERG 1D R/W 0x0000 McBSP Transmit Channel Enable Register Partition G
XCERH 1E R/W 0x0000 McBSP Transmit Channel Enable Register Partition H
FIFO MODE REGISTERS (applicable only in FIFO mode)
FIFO Data Registers(2)
DRR2 00 R 0x0000 McBSP Data Receive Register 2 – Top of receive FIFO
  • Read First FIFO pointers will not advance
DRR1 01 R 0x0000 McBSP Data Receive Register 1 – Top of receive FIFO
  • Read Second for FIFO pointers to advance
DXR2 02 W 0x0000 McBSP Data Transmit Register 2 – Top of transmit FIFO
  • Write First FIFO pointers will not advance
DXR1 03 W 0x0000 McBSP Data Transmit Register 1 – Top of transmit FIFO
  • Write Second for FIFO pointers to advance
FIFO Control Registers
MFFTX 20 R/W 0xA000 McBSP Transmit FIFO Register
MFFRX 21 R/W 0x201F McBSP Receive FIFO Register
MFFCT 22 R/W 0x0000 McBSP FIFO Control Register
MFFINT 23 R/W 0x0000 McBSP FIFO Interrupt Register
MFFST 24 R/W 0x0000 McBSP FIFO Status Register
DRR2/DRR1 and DXR2/DXR1 share the same addresses of receive and transmit FIFO registers in FIFO mode.
FIFO pointers advancing is based on order of access to DRR2/DRR1 and DXR2/DXR1 registers.