ZHCS864Q April 2009 – January 2024 TMS320F28030 , TMS320F28030-Q1 , TMS320F28031 , TMS320F28031-Q1 , TMS320F28032 , TMS320F28032-Q1 , TMS320F28033 , TMS320F28033-Q1 , TMS320F28034 , TMS320F28034-Q1 , TMS320F28035 , TMS320F28035-Q1
PRODUCTION DATA
本部分介绍振荡器和时钟机制、看门狗功能以及低功率模式。
| 名称 | 地址 | 大小 (x 16) | 说明(1) |
|---|---|---|---|
| BORCFG | 0x00 0985 | 1 | BOR 配置寄存器 |
| XCLK | 0x00 7010 | 1 | XCLKOUT 控制 |
| PLLSTS | 0x00 7011 | 1 | PLL 状态寄存器 |
| CLKCTL | 0x00 7012 | 1 | 时钟控制寄存器 |
| PLLLOCKPRD | 0x00 7013 | 1 | PLL 锁周期 |
| INTOSC1TRIM | 0x00 7014 | 1 | 内部振荡器 1 调整寄存器 |
| INTOSC2TRIM | 0x00 7016 | 1 | 内部振荡器 2 调整寄存器 |
| PCLKCR2 | 0x00 7019 | 1 | 外设时钟控制寄存器 2 |
| LOSPCP | 0x00 701B | 1 | 低速外设时钟预分频器寄存器 |
| PCLKCR0 | 0x00 701C | 1 | 外设时钟控制寄存器 0 |
| PCLKCR1 | 0x00 701D | 1 | 外设时钟控制寄存器 1 |
| LPMCR0 | 0x00 701E | 1 | 低功耗模式控制寄存器 0 |
| PCLKCR3 | 0x00 7020 | 1 | 外设时钟控制寄存器 3 |
| PLLCR | 0x00 7021 | 1 | PLL 控制寄存器 |
| SCSR | 0x00 7022 | 1 | 系统控制与状态寄存器 |
| WDCNTR | 0x00 7023 | 1 | 看门狗计数器寄存器 |
| WDKEY | 0x00 7025 | 1 | 看门狗复位密钥寄存器 |
| WDCR | 0x00 7029 | 1 | 看门狗控制寄存器 |
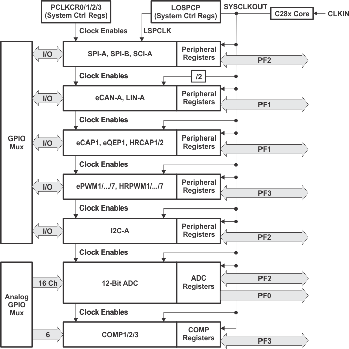
图 7-6 显示了讨论的各种时钟域。图 7-7 显示了能够为器件运行提供时钟的各种时钟源(内部和外部)。
