ZHCSXJ5A September   2024  – November 2024 LMK1D2102L , LMK1D2104L , LMK1D2106L

PRODUCTION DATA  

  1.   1
  2. 特性
  3. 应用
  4. 说明
  5. 器件比较
  6. 引脚配置和功能
  7. 规格
    1. 6.1 绝对最大额定值
    2. 6.2 ESD 等级
    3. 6.3 建议运行条件
    4. 6.4 热性能信息
    5. 6.5 电气特性
    6. 6.6 典型特性
  8. 参数测量信息
    1. 7.1 差分电压测量术语
  9. 详细说明
    1. 8.1 概述
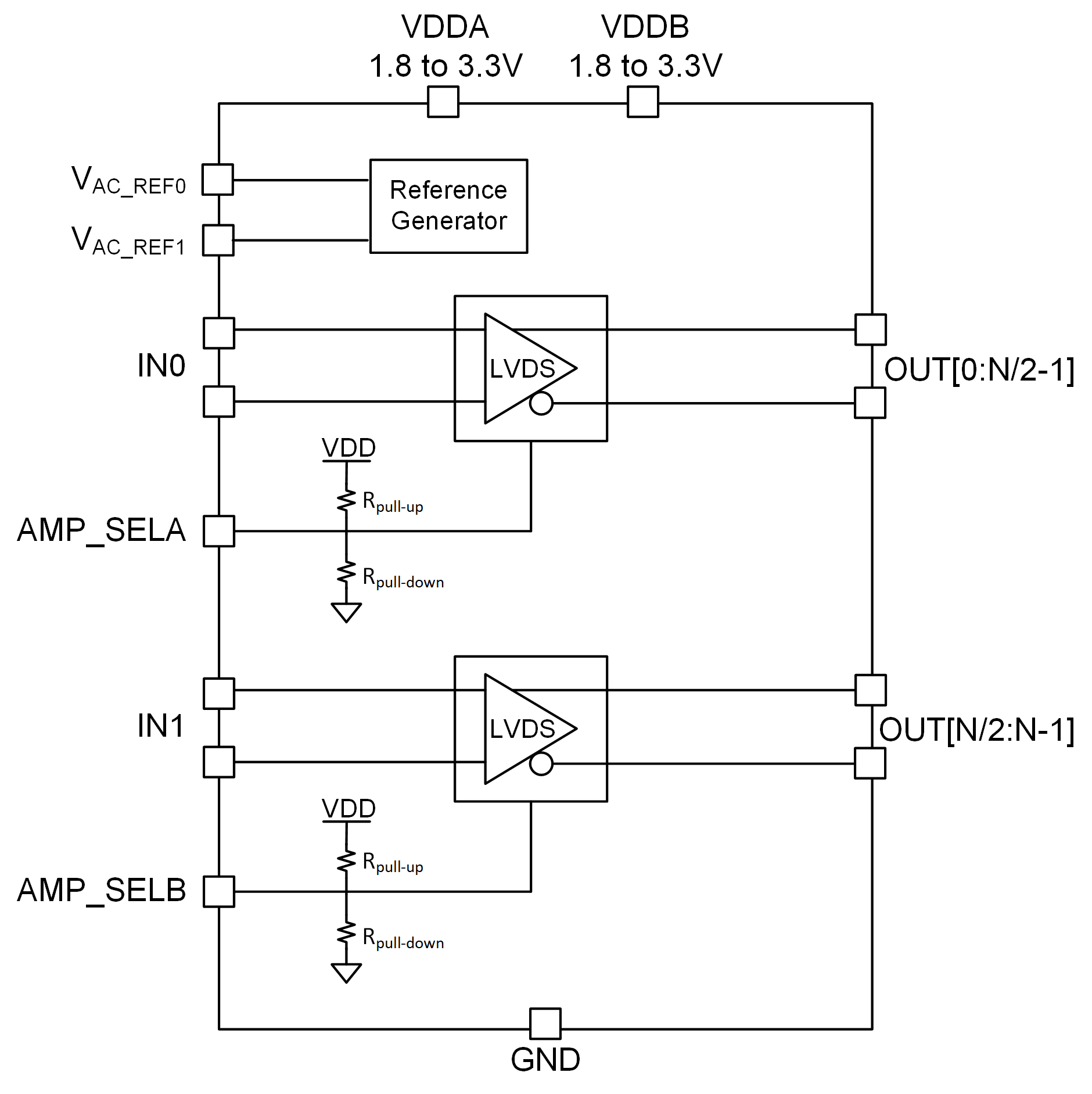
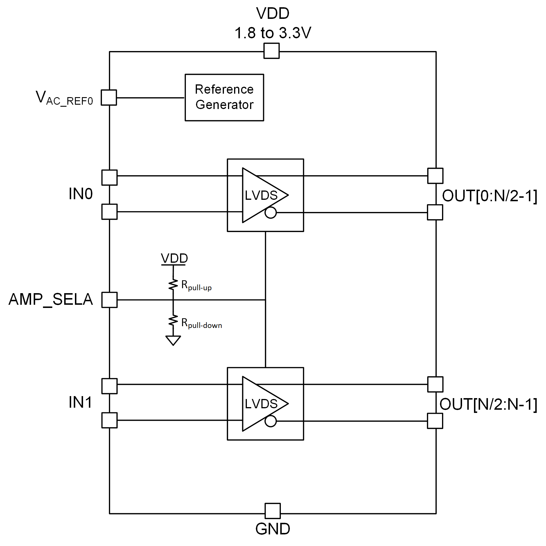
    2. 8.2 功能方框图
    3. 8.3 特性说明
      1. 8.3.1 输出共模
      2. 8.3.2 失效防护输入
    4. 8.4 器件功能模式
      1. 8.4.1 输出启用/禁用和振幅选择
      2. 8.4.2 LVDS 输出端接
      3. 8.4.3 输入端接
  10. 应用和实施
    1. 9.1 应用信息
    2. 9.2 典型应用
      1. 9.2.1 设计要求
      2. 9.2.2 详细设计过程
      3. 9.2.3 应用曲线
    3. 9.3 电源相关建议
    4. 9.4 布局
      1. 9.4.1 布局指南
      2. 9.4.2 布局示例
  11. 10器件和文档支持
    1. 10.1 文档支持
      1. 10.1.1 相关文档
    2. 10.2 接收文档更新通知
    3. 10.3 支持资源
    4. 10.4 商标
    5. 10.5 静电放电警告
    6. 10.6 术语表
  12. 11修订历史记录
  13. 12机械、封装和可订购信息
    1. 12.1 Tape and Reel Information

封装选项

请参考 PDF 数据表获取器件具体的封装图。

机械数据 (封装 | 引脚)
  • RGT|16
散热焊盘机械数据 (封装 | 引脚)
订购信息

功能方框图

LMK1D2102L LMK1D2104L LMK1D2106L LMK1D2108L LMK1D2102 和 LMK1D2104 功能方框图图 8-1 LMK1D2102 和 LMK1D2104 功能方框图
LMK1D2102L LMK1D2104L LMK1D2106L LMK1D2108L LMK1D2106 和 LMK1D2108 功能方框图图 8-2 LMK1D2106 和 LMK1D2108 功能方框图