ZHCU410B December   2017  – November 2022

 

  1.   说明
  2.   资源
  3.   特性
  4.   应用
  5.   5
  6. 1系统说明
    1. 1.1 关键系统规格
  7. 2系统概述
    1. 2.1 方框图
    2. 2.2 设计注意事项
      1. 2.2.1 使用条件:假设
        1. 2.2.1.1 一般假设
        2. 2.2.1.2 特定假设
      2. 2.2.2 诊断覆盖范围
        1. 2.2.2.1 双通道监控
        2. 2.2.2.2 通过 MCU (SIL1) 检查 ISO1211 功能
        3. 2.2.2.3 通过 MCU (SIL1) 检查 TPS22919 功能
        4. 2.2.2.4 通过 MCU (SIL1) 检查 TPS27S100 功能
        5. 2.2.2.5 利用 ISO5452、ISO5852S 或 UCC21750 集成式模拟至 PWM 隔离式传感器的 RDY 引脚实现可选的监控功能
      3. 2.2.3 驱动状态
    3. 2.3 重点产品
      1. 2.3.1 ISO1211
      2. 2.3.2 TPS27S100
      3. 2.3.3 TPS22919
      4. 2.3.4 ISO5852S、ISO5452
    4. 2.4 系统设计原理
      1. 2.4.1 用于 STO 的数字输入接收器
      2. 2.4.2 用于控制 VCC1 的 STO_1 信号流路径
      3. 2.4.3 STO_2 信号流路径
        1. 2.4.3.1 用于控制栅极驱动器的次级侧电源电压的高侧开关
        2. 2.4.3.2 为次级侧供电:栅极驱动器的 VCC2
      4. 2.4.4 栅极驱动器设计
      5. 2.4.5 STO_FB 信号流路径
  8. 3硬件、软件、测试要求和测试结果
    1. 3.1 入门硬件
      1. 3.1.1 PCB 概述
    2. 3.2 测试和结果
      1. 3.2.1 逻辑高电平和逻辑低电平 STO 阈值
      2. 3.2.2 STO1 信号验证
        1. 3.2.2.1 STO1 传播到栅极驱动器的 VCC1
        2. 3.2.2.2 1ms STO 脉冲抑制
        3. 3.2.2.3 MCU 接口的诊断脉冲
      3. 3.2.3 STO2 信号验证
        1. 3.2.3.1 STO2 传播到栅极驱动器的 VCC2
        2. 3.2.3.2 1 ms 脉冲抑制
        3. 3.2.3.3 MCU 的诊断脉冲
        4. 3.2.3.4 浪涌电流测量
      4. 3.2.4 基于开关的 3.3V 电压轨
      5. 3.2.5 60V 输入电压和反极性保护
      6. 3.2.6 跳闸区域功能验证
  9. 4设计文件
    1. 4.1 原理图
    2. 4.2 物料清单
    3. 4.3 板层图
    4. 4.4 Altium 项目
    5. 4.5 Gerber 文件
    6. 4.6 装配图
  10. 5相关文档
    1. 5.1 商标
  11. 6关于作者
  12. 7鸣谢
  13. 8修订历史记录

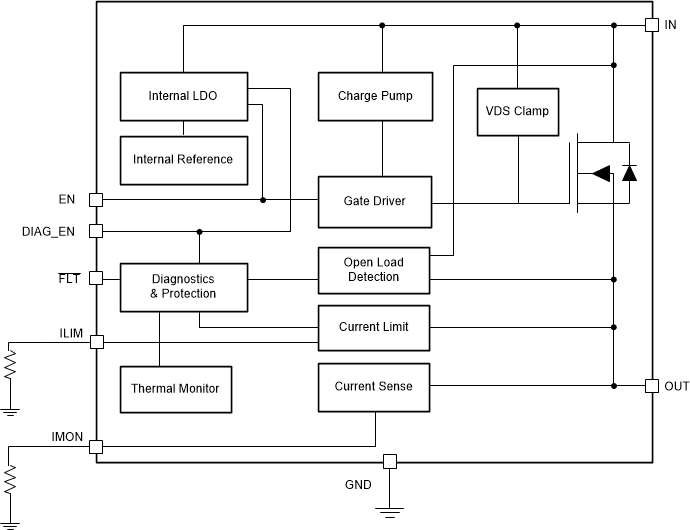
TPS27S100

图 2-7 显示了 TPS27S100 功能方框图。TPS27S100 是一款受到全面保护的单通道高侧开关,具有集成式 NMOS 和电荷泵。可调节电流限制功能能够极大地提高整个系统的可靠性。器件诊断报告具有两个版本,以支持数字故障状态和模拟电流监控器输出。凭借精确的电流监控器和可调节电流限制功能,该器件在市场上脱颖而出。

GUID-E3A7A509-6E4A-4E2C-AADC-9D78965E7D93-low.gif图 2-7 TPS27S100 功能方框图