ZHCSHT7G April   2019  – April 2025 ADC12DJ5200RF

PRODUCTION DATA  

  1.   1
  2. 特性
  3. 应用
  4. 说明
  5. Pin Configuration and Functions
  6. Specifications
    1. 5.1  Absolute Maximum Ratings
    2. 5.2  ESD Ratings
    3. 5.3  Recommended Operating Conditions
    4. 5.4  Thermal Information
    5. 5.5  Electrical Characteristics: DC Specifications
    6. 5.6  Electrical Characteristics: Power Consumption
    7. 5.7  Electrical Characteristics: AC Specifications (Dual-Channel Mode)
    8. 5.8  Electrical Characteristics: AC Specifications (Single-Channel Mode)
    9. 5.9  Timing Requirements
    10. 5.10 Switching Characteristics
    11. 5.11 Typical Characteristics
  7. Detailed Description
    1. 6.1 Overview
    2. 6.2 Functional Block Diagram
    3. 6.3 Feature Description
      1. 6.3.1  Device Comparison
      2. 6.3.2  Analog Inputs
        1. 6.3.2.1 Analog Input Protection
        2. 6.3.2.2 Full-Scale Voltage (VFS) Adjustment
        3. 6.3.2.3 Analog Input Offset Adjust
      3. 6.3.3  ADC Core
        1. 6.3.3.1 ADC Theory of Operation
        2. 6.3.3.2 ADC Core Calibration
        3. 6.3.3.3 Analog Reference Voltage
        4. 6.3.3.4 ADC Overrange Detection
        5. 6.3.3.5 Code Error Rate (CER)
      4. 6.3.4  Temperature Monitoring Diode
      5. 6.3.5  Timestamp
      6. 6.3.6  Clocking
        1. 6.3.6.1 Noiseless Aperture Delay Adjustment (tAD Adjust)
        2. 6.3.6.2 Aperture Delay Ramp Control (TAD_RAMP)
        3. 6.3.6.3 SYSREF Capture for Multi-Device Synchronization and Deterministic Latency
          1. 6.3.6.3.1 SYSREF Position Detector and Sampling Position Selection (SYSREF Windowing)
          2. 6.3.6.3.2 Automatic SYSREF Calibration
      7. 6.3.7  Programmable FIR Filter (PFIR)
        1. 6.3.7.1 Dual Channel Equalization
        2. 6.3.7.2 Single Channel Equalization
        3. 6.3.7.3 Time Varying Filter
      8. 6.3.8  Digital Down Converters (DDC)
        1. 6.3.8.1 Rounding and Saturation
        2. 6.3.8.2 Numerically-Controlled Oscillator and Complex Mixer
          1. 6.3.8.2.1 NCO Fast Frequency Hopping (FFH)
          2. 6.3.8.2.2 NCO Selection
          3. 6.3.8.2.3 Basic NCO Frequency Setting Mode
          4. 6.3.8.2.4 Rational NCO Frequency Setting Mode
          5. 6.3.8.2.5 NCO Phase Offset Setting
          6. 6.3.8.2.6 NCO Phase Synchronization
        3. 6.3.8.3 Decimation Filters
        4. 6.3.8.4 Output Data Format
        5. 6.3.8.5 Decimation Settings
          1. 6.3.8.5.1 Decimation Factor
          2. 6.3.8.5.2 DDC Gain Boost
      9. 6.3.9  JESD204C Interface
        1. 6.3.9.1 Transport Layer
        2. 6.3.9.2 Scrambler
        3. 6.3.9.3 Link Layer
        4. 6.3.9.4 8B/10B Link Layer
          1. 6.3.9.4.1 Data Encoding (8B/10B)
          2. 6.3.9.4.2 Multiframes and the Local Multiframe Clock (LMFC)
          3. 6.3.9.4.3 Code Group Synchronization (CGS)
          4. 6.3.9.4.4 Initial Lane Alignment Sequence (ILAS)
          5. 6.3.9.4.5 Frame and Multiframe Monitoring
        5. 6.3.9.5 64B/66B Link Layer
          1. 6.3.9.5.1 64B/66B Encoding
          2. 6.3.9.5.2 Multiblocks, Extended Multiblocks and the Local Extended Multiblock Clock (LEMC)
          3. 6.3.9.5.3 Block, Multiblock and Extended Multiblock Alignment using Sync Header
            1. 6.3.9.5.3.1 Cyclic Redundancy Check (CRC) Mode
            2. 6.3.9.5.3.2 Forward Error Correction (FEC) Mode
          4. 6.3.9.5.4 Initial Lane Alignment
          5. 6.3.9.5.5 Block, Multiblock and Extended Multiblock Alignment Monitoring
        6. 6.3.9.6 Physical Layer
          1. 6.3.9.6.1 SerDes Pre-Emphasis
        7. 6.3.9.7 JESD204C Enable
        8. 6.3.9.8 Multi-Device Synchronization and Deterministic Latency
        9. 6.3.9.9 Operation in Subclass 0 Systems
      10. 6.3.10 Alarm Monitoring
        1. 6.3.10.1 Clock Upset Detection
        2. 6.3.10.2 FIFO Upset Detection
    4. 6.4 Device Functional Modes
      1. 6.4.1 Dual-Channel Mode
      2. 6.4.2 Single-Channel Mode (DES Mode)
      3. 6.4.3 Dual-Input Single-Channel Mode (DUAL DES Mode)
      4. 6.4.4 JESD204C Modes
        1. 6.4.4.1 JESD204C Operating Modes Table
        2. 6.4.4.2 JESD204C Modes continued
        3. 6.4.4.3 JESD204C Transport Layer Data Formats
        4. 6.4.4.4 64B/66B Sync Header Stream Configuration
        5. 6.4.4.5 Dual DDC and Redundant Data Mode
      5. 6.4.5 Power-Down Modes
      6. 6.4.6 Test Modes
        1. 6.4.6.1 Serializer Test-Mode Details
        2. 6.4.6.2 PRBS Test Modes
        3. 6.4.6.3 Clock Pattern Mode
        4. 6.4.6.4 Ramp Test Mode
        5. 6.4.6.5 Short and Long Transport Test Mode
          1. 6.4.6.5.1 Short Transport Test Pattern
        6. 6.4.6.6 D21.5 Test Mode
        7. 6.4.6.7 K28.5 Test Mode
        8. 6.4.6.8 Repeated ILA Test Mode
        9. 6.4.6.9 Modified RPAT Test Mode
      7. 6.4.7 Calibration Modes and Trimming
        1. 6.4.7.1 Foreground Calibration Mode
        2. 6.4.7.2 Background Calibration Mode
        3. 6.4.7.3 Low-Power Background Calibration (LPBG) Mode
      8. 6.4.8 Offset Calibration
      9. 6.4.9 Trimming
    5. 6.5 Programming
      1. 6.5.1 Using the Serial Interface
        1. 6.5.1.1 SCS
        2. 6.5.1.2 SCLK
        3. 6.5.1.3 SDI
        4. 6.5.1.4 SDO
        5. 6.5.1.5 Streaming Mode
    6. 6.6 SPI Register Map
  8. Application Information Disclaimer
    1. 7.1 Application Information
    2. 7.2 Typical Applications
      1. 7.2.1 Wideband RF Sampling Receiver
        1. 7.2.1.1 Design Requirements
          1. 7.2.1.1.1 Input Signal Path
          2. 7.2.1.1.2 Clocking
        2. 7.2.1.2 Detailed Design Procedure
          1. 7.2.1.2.1 Calculating Values of AC-Coupling Capacitors
        3. 7.2.1.3 Application Curves
      2. 7.2.2 Reconfigurable Dual-Channel 5GSPS or Single-Channel 10-Gsps Oscilloscope
        1. 7.2.2.1 Design Requirements
          1. 7.2.2.1.1 Input Signal Path
          2. 7.2.2.1.2 Clocking
          3. 7.2.2.1.3 ADC12DJ5200RF Ososcilloscope Applications
        2. 7.2.2.2 Application Curves
    3. 7.3 Initialization Set Up
    4. 7.4 Power Supply Recommendations
      1. 7.4.1 Power Sequencing
    5. 7.5 Layout
      1. 7.5.1 Layout Guidelines
      2. 7.5.2 Layout Example
  9. Device and Documentation Support
    1. 8.1 Device Support
      1. 8.1.1 Development Support
    2. 8.2 Documentation Support
      1. 8.2.1 Related Documentation
    3. 8.3 Receiving Notification of Documentation Updates
    4. 8.4 Support Resources
    5. 8.5 Trademarks
    6. 8.6 静电放电警告
    7. 8.7 术语表
  10. Revision History
  11. 10Mechanical, Packaging, and Orderable Information

封装选项

机械数据 (封装 | 引脚)
散热焊盘机械数据 (封装 | 引脚)
订购信息

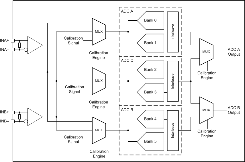
Calibration Modes and Trimming

ADC12DJ5200RF has two calibration modes available: foreground calibration and background calibration. When foreground calibration is initiated the ADCs are automatically taken offline and the output data becomes mid-code (0x000 in 2's complement) while a calibration is occurring. Background calibration allows the ADC to continue normal operation while the ADC cores are calibrated in the background by swapping in a different ADC core to take its place. Additional offset calibration features are available in both foreground and background calibration modes. Further, a number of ADC parameters can be trimmed to optimize performance in a user system.

ADC12DJ5200RF consists of a total of six sub-ADCs, each referred to as a bank, with two banks forming an ADC core. The banks sample out-of-phase so that each ADC core is two-way interleaved. The six banks form three ADC cores, referred to as ADC A, ADC B, and ADC C. In foreground calibration mode, ADC A samples INA± and ADC B samples INB± in dual-channel mode and both ADC A and ADC B sample INA± (or INB±) in single-channel mode. In the background calibration modes, the third ADC core, ADC C, is swapped in periodically for ADC A and ADC B so that they can be calibrated without disrupting operation. Figure 6-26 provides a diagram of the calibration system including labeling of the banks that make up each ADC core. When calibration is performed the linearity, gain and offset voltage for each bank are calibrated to an internally generated calibration signal. The analog inputs can be driven during calibration, in both foreground and background calibration, except that when offset calibration (OS_CAL or BGOS_CAL) is used there must be no signals (or aliased signals) near DC for proper estimation of the offset (see the Offset Calibration section).

ADC12DJ5200RF ADC12DJ5200RF Calibration System Block DiagramFigure 6-26 ADC12DJ5200RF Calibration System Block Diagram

In addition to calibration, a number of ADC parameters are user controllable to provide trimming for optimal performance. These parameters include input offset voltage, ADC gain, interleaving timing, and input termination resistance. The default trim values are programmed at the factory to unique values for each device that are determined to be optimal at the test system operating conditions. The user can read the factory-programmed values from the trim registers and adjust as desired. The register fields that control the trimming are labeled according to the input that is being sampled (INA± or INB±), the bank that is being trimmed, or the ADC core that is being trimmed. The user is not expected to change the trim values as operating conditions change, however optimal performance can be obtained by doing so. Any custom trimming must be done on a per device basis because of process variations, meaning that there is no global optimal setting for all parts. See the Trimming section for information about the available trim parameters and associated registers.