ZHCUAF1A October   2011  – June 2021 TPS62160 , TPS62170

 

  1.   TPS62160EVM-627 和 TPS62170EVM-627 评估模块
  2. 1引言
    1. 1.1 背景
    2. 1.2 性能规格
    3. 1.3 更改
      1. 1.3.1 固定输出运行
      2. 1.3.2 输入和输出电容器
      3. 1.3.3 环路响应测量
  3. 2设置
    1. 2.1 输入/输出连接器说明
    2. 2.2 设置
  4. 3TPS621x0EVM-627 测试结果
  5. 4电路板布局布线
  6. 5原理图和物料清单
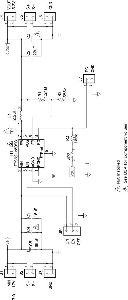
    1. 5.1 原理图
    2. 5.2 物料清单
  7. 6修订历史记录

原理图

GUID-0C909E93-2AF1-495A-8F17-6BADD1E6B4E5-low.gif图 5-1 TPS621x0EVM-627 原理图