SPRUI78D March   2019  â€“ January 2022 F28377D-SEP , TMS320F28075 , TMS320F28075-Q1 , TMS320F28076 , TMS320F28374D , TMS320F28374S , TMS320F28375D , TMS320F28375S , TMS320F28375S-Q1 , TMS320F28376D , TMS320F28376S , TMS320F28377D , TMS320F28377D-Q1 , TMS320F28377S , TMS320F28377S-Q1 , TMS320F28378D , TMS320F28378S , TMS320F28379D , TMS320F28379D-Q1 , TMS320F28379S

 

  1.   Trademarks
  2. Introduction
    1. 1.1 About This Document
    2. 1.2 Acronyms Used in This Document
    3. 1.3 C2000 Architecture and Product Overview
      1. 1.3.1 TMS320F2837xD Delfino MCU
      2. 1.3.2 TMS320F2837xS Delfino MCU
      3. 1.3.3 TMS320F2807x Piccolo MCU
  3. System Integrator Development Interface Agreement
    1. 2.1 Safety Enabled Design Packages for Functional Safety Applications
    2. 2.2 System Integrator Activities
      1. 2.2.1 Operational and Environmental Constraints
      2. 2.2.2 Safety Concept Definition
      3. 2.2.3 Safety Concept Implementation
      4. 2.2.4 Verification of Safety Concept Including Safety Metric Calculation
    3. 2.3 Product Safety Constraints
    4. 2.4 Suggestions for Improving Freedom From Interference
    5. 2.5 Suggestions for Addressing Common Cause Failures
    6. 2.6 Support for System Integrator Activities
  4. C2000 Development Process for Management of Systematic Faults
    1. 3.1 TI's Hardware Development Process
    2. 3.2 Yogitech fRMethodology Enhanced Development Process
    3. 3.3 TI’s Enhanced Safety Development Process
    4. 3.4 C2000 Diagnostics Libraries
      1. 3.4.1 TMS320F2837xD TMS320F2837xS TMS320F2807x Diagnostic Software Library (SDL)
      2. 3.4.2 C2000 CLA STL (CLA-STL)
  5. TMS320F2837xD/S and TMS320F2807x MCU Architecture for Management of Random Faults
    1. 4.1 Functional Safety Concept
      1. 4.1.1 VDA E-GAS Monitoring Concept
      2. 4.1.2 Fault Tolerant Time Interval (FTTI)
    2. 4.2 TMS320F2837xD/S and TMS320F2807x MCU Safety Philosophy
      1. 4.2.1 TMS320F2837xD MCU Safety Philosophy
      2. 4.2.2 TMS320F2837xS and TMS320F2807x MCU Safety Philosophy
      3. 4.2.3 Assumed Safety Requirements
      4. 4.2.4 C2000 MCU Safe State
      5. 4.2.5 Operating States
      6. 4.2.6 Management of Faults
  6. Brief Description of Safety Elements
    1. 5.1 C2000 MCU Infrastructure Components
      1. 5.1.1 Power Supply
      2. 5.1.2 Clock
      3. 5.1.3 Reset
      4. 5.1.4 System Control Module and Configuration Registers
      5. 5.1.5 Efuse Static Configuration
      6. 5.1.6 JTAG Debug, Trace, Calibration, and Test Access
    2. 5.2 Processing Elements
      1. 5.2.1 C28x Central Processing Unit (CPU)
      2. 5.2.2 Control Law Accelerator
    3. 5.3 Memory (Flash, SRAM and ROM)
      1. 5.3.1 Embedded Flash Memory
      2. 5.3.2 Embedded SRAM
      3. 5.3.3 Embedded ROM
    4. 5.4 On-Chip Communication Including Bus-Arbitration
      1. 5.4.1 Device Interconnect
      2. 5.4.2 Direct Memory Access (DMA)
      3. 5.4.3 Inter Processor Communication (IPC)
      4. 5.4.4 Enhanced Peripheral Interrupt Expander (ePIE) Module
      5. 5.4.5 Dual Zone Code Security Module (DCSM)
      6. 5.4.6 CrossBar (X-BAR)
      7. 5.4.7 Timer
    5. 5.5 Digital I/O
      1. 5.5.1 General-Purpose Input/Output (GPIO) and Pinmuxing
      2. 5.5.2 Enhanced Pulse Width Modulators (ePWM)
      3. 5.5.3 High Resolution PWM (HRPWM)
      4. 5.5.4 Enhanced Capture (eCAP)
      5. 5.5.5 Enhanced Quadrature Encoder Pulse (eQEP)
      6. 5.5.6 Sigma Delta Filter Module (SDFM)
      7. 5.5.7 External Interrupt (XINT)
    6. 5.6 Analogue I/O
      1. 5.6.1 Analog-to-Digital Converter (ADC)
      2. 5.6.2 Buffered Digital to Analog Converter (DAC)
      3. 5.6.3 Comparator Subsystem (CMPSS)
    7. 5.7 Data Transmission
      1. 5.7.1 Controller Area Network (DCAN)
      2. 5.7.2 Serial Peripheral Interface (SPI)
      3. 5.7.3 Serial Communication Interface (SCI)
      4. 5.7.4 Inter-Integrated Circuit (I2C)
      5. 5.7.5 Multi-Channel Buffered Serial Port (MCBSP)
      6. 5.7.6 External Memory Interface (EMIF)
    8. 5.8 Not Safety Related Elements
  7. Brief Description of Diagnostics
    1. 6.1 C2000 MCU Infrastructure Components
      1. 6.1.1  Clock Integrity Check Using CPU Timer
      2. 6.1.2  Clock Integrity Check Using HRPWM
      3. 6.1.3  EALLOW and MEALLOW Protection for Critical Registers
      4. 6.1.4  Efuse Autoload Self-Test
      5. 6.1.5  Efuse ECC
      6. 6.1.6  Efuse ECC Logic Self-Test
      7. 6.1.7  External Clock Monitoring via XCLKOUT
      8. 6.1.8  External Monitoring of Warm Reset (XRSn)
      9. 6.1.9  External Voltage Supervisor
      10. 6.1.10 External Watchdog
      11. 6.1.11 Glitch Filtering on Reset Pins
      12. 6.1.12 Hardware Disable of JTAG Port
      13. 6.1.13 Internal Watchdog (WD)
      14. 6.1.14 Lock Mechanism for Control Registers
      15. 6.1.15 Missing Clock Detect (MCD)
      16. 6.1.16 NMIWD Reset Functionality
      17. 6.1.17 NMIWD Shadow Registers
      18. 6.1.18 Multi-Bit Enable Keys for Control Registers
      19. 6.1.19 Online Monitoring of Temperature
      20. 6.1.20 Periodic Software Read Back of Static Configuration Registers
      21. 6.1.21 Peripheral Clock Gating (PCLKCR)
      22. 6.1.22 Peripheral Soft Reset (SOFTPRES)
      23. 6.1.23 PLL Lock Profiling Using On-Chip Timer
      24. 6.1.24 Reset Cause Information
      25. 6.1.25 Software Read Back of Written Configuration
      26. 6.1.26 Software Test of ERRORSTS Functionality
      27. 6.1.27 Software Test of Missing Clock Detect Functionality
      28. 6.1.28 Software Test of Reset
      29. 6.1.29 Software Test of Watchdog(WD) Operation
    2. 6.2 Processing Elements
      1. 6.2.1  CLA Handling of Illegal Operation and Illegal Results
      2. 6.2.2  CLA Liveness Check Using CPU
      3. 6.2.3  CPU Hardware Built-In Self-Test (HWBIST)
      4. 6.2.4  CPU Hardware Built-In Self-Test (HWBIST) Auto-Coverage
      5. 6.2.5  CPU Hardware Built-In Self-Test (HWBIST) Fault Injection Capability
      6. 6.2.6  CPU Hardware Built-In Self-Test (HWBIST) Timeout Feature
      7. 6.2.7  CPU Handling of Illegal Operation, Illegal Results and Instruction Trapping
      8. 6.2.8  Reciprocal Comparison by Software
      9. 6.2.9  Software Test of CLA
      10. 6.2.10 Stack Overflow Detection
      11. 6.2.11 VCU CRC Check of Static Memory Contents
      12. 6.2.12 VCU CRC Auto Coverage
      13. 6.2.13 Disabling of Unused CLA Task Trigger Sources
    3. 6.3 Memory (Flash, SRAM and ROM)
      1. 6.3.1  Bit Multiplexing in Flash Memory Array
      2. 6.3.2  Bit Multiplexing in SRAM Memory Array
      3. 6.3.3  Data Scrubbing to Detect/Correct Memory Errors
      4. 6.3.4  Flash ECC
      5. 6.3.5  Flash Program Verify and Erase Verify Check
      6. 6.3.6  Software Test of ECC Logic
      7. 6.3.7  Software Test of Flash Prefetch, Data Cache and Wait-States
      8. 6.3.8  Access Protection Mechanism for Memories
      9. 6.3.9  SRAM ECC
      10. 6.3.10 SRAM Parity
      11. 6.3.11 Software Test of Parity Logic
      12. 6.3.12 Software Test of SRAM
    4. 6.4 On-Chip Communication Including Bus-Arbitration
      1. 6.4.1  1oo2 Software Voting Using Secondary Free Running Counter
      2. 6.4.2  DMA Overflow Interrupt
      3. 6.4.3  Event Timestamping Using IPC Counter
      4. 6.4.4  Maintaining Interrupt Handler for Unused Interrupts
      5. 6.4.5  Majority Voting and Error Detection of Link Pointer
      6. 6.4.6  PIE Double SRAM Comparison Check
      7. 6.4.7  PIE Double SRAM Hardware Comparison
      8. 6.4.8  Power-Up Pre-Operational Security Checks
      9. 6.4.9  Software Check of X-BAR Flag
      10. 6.4.10 Software Test of ePIE Operation Including Error Tests
      11. 6.4.11 Disabling of Unused DMA Trigger Sources
      12. 6.4.12 IPC 64-Bit Counter Value Plausibility Check
    5. 6.5 Digital I/O
      1. 6.5.1  ECAP Application Level Safety Mechanism
      2. 6.5.2  ePWM Application Level Safety Mechanism
      3. 6.5.3  ePWM Fault Detection Using XBAR
      4. 6.5.4  ePWM Synchronization Check
      5. 6.5.5  eQEP Application Level Safety Mechanisms
      6. 6.5.6  eQEP Quadrature Watchdog
      7. 6.5.7  eQEP Software Test of Quadrature Watchdog Functionality
      8. 6.5.8  Hardware Redundancy
      9. 6.5.9  HRPWM Built-In Self-Check and Diagnostic Capabilities
      10. 6.5.10 Information Redundancy Techniques
      11. 6.5.11 Monitoring of ePWM by eCAP
      12. 6.5.12 Monitoring of ePWM by ADC
      13. 6.5.13 Online Monitoring of Interrupts and Events
      14. 6.5.14 SDFM Comparator Filter for Online Monitoring
      15. 6.5.15 SD Modulator Clock Fail Detection Mechanism
      16. 6.5.16 Software Test of Function Including Error Tests
    6. 6.6 Analogue I/O
      1. 6.6.1 ADC Information Redundancy Techniques
      2. 6.6.2 ADC Input Signal Integrity Check
      3. 6.6.3 ADC Signal Quality Check by Varying Acquisition Window
      4. 6.6.4 CMPSS Ramp Generator Functionality Check
      5. 6.6.5 DAC to ADC Loopback Check
      6. 6.6.6 DAC to Comparator Loopback Check
      7. 6.6.7 Opens/Shorts Detection Circuit for ADC
      8. 6.6.8 VDAC Conversion by ADC
      9. 6.6.9 Disabling Unused Sources of SOC Inputs to ADC
    7. 6.7 Data Transmission
      1. 6.7.1  Bit Error Detection
      2. 6.7.2  CRC in Message
      3. 6.7.3  DCAN Acknowledge Error Detection
      4. 6.7.4  DCAN Form Error Detection
      5. 6.7.5  DCAN Stuff Error Detection
      6. 6.7.6  EMIF Access Latency Profiling Using On-Chip Timer
      7. 6.7.7  EMIF Access Protection Mechanism
      8. 6.7.8  EMIF Asynchronous Memory Timeout Protection Mechanism
      9. 6.7.9  I2C Access Latency Profiling Using On-Chip Timer
      10. 6.7.10 Information Redundancy Techniques Including End-to-End Safeing
      11. 6.7.11 I2C Data Acknowledge Check
      12. 6.7.12 McBSP Receiver Overrun Detection
      13. 6.7.13 McBSP Receiver Sync Error Detection
      14. 6.7.14 McBSP Transmitter Sync Error Detection
      15. 6.7.15 McBSP Transmitter Underflow Detection
      16. 6.7.16 Parity in Message
      17. 6.7.17 SCI Break Error Detection
      18. 6.7.18 SCI Frame Error Detection
      19. 6.7.19 SCI Overrun Error Detection
      20. 6.7.20 Software Test of Function Using I/O Loopback
      21. 6.7.21 SPI Data Overrun Detection
      22. 6.7.22 Transmission Redundancy
  8. Safety Architecture Configurations
  9. Terms and Definitions
  10. Summary of Safety Features and Diagnostics
  11. 10References
  12. 11Revision History

Safety Architecture Configurations

The various redundancy architectures possible for the safety instrumented systems are indicated in Table 7-1. For more information, see [10].

Table 7-1 Safety Architecture Configurations
Diagnostic Implementation
1 1oo1 Architecture
GUID-8C3D340C-9B3B-4EA7-83F2-673244590E72-low.gif
NA
2 1oo1D
GUID-69F3CE63-C9D4-4935-8D13-586274A88866-low.gif
Diagnostic channel is implemented using various hardware diagnostic features like Watchdog, and so forth.
3 1oo1D
Same figure as above.
Diagnostic channel is implemented using reciprocal comparison (uses two processing units for implementing reciprocal comparison) and other hardware diagnostic features.
4 1oo2
GUID-F3AE81D0-B65D-475B-B625-6869217FB0CB-low.gif
Two different processing units are used to implement one channel.
5 2oo2
GUID-FB1E5C2B-1E2D-4554-BFE5-EB8E49DFE666-low.gif
Two different processing units are used to implement one channel.
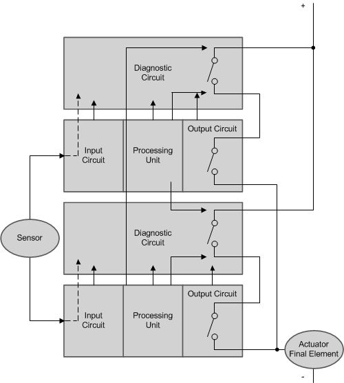
6 2oo2D
GUID-57F79116-9B55-4477-BBED-C883DA41A74A-low.gif
Two 1oo1D structures of #2 wired together to implement a safe channel.
7 2oo2D
Same figure as above.
Two 1oo1D structures of #3 wired together.
8 1oo2DGUID-97A9B6C8-7573-4103-8FEE-A7728035EE4D-low.gif Similar to 2oo2D implementation of #6 with additional control lines wired to control one set of units using the other unit
9 1oo2D
Same figure as above.
Similar to 2oo2D implementation of #7 with additional control lines wired to control one set of units using the other unit.
10 2oo3
GUID-920A9846-A0A4-4427-AA2C-32B82DC96D47-low.gif
Use three different processing units to implement majority voting. The fourth channel can be used either standalone or with hardware diagnostic features.