ZHCSHA1C November 2019 – July 2020 ADS8686S
PRODUCTION DATA
对于 ADS8686S,每个通道都包含一个模拟前端,模拟前端由可编程增益放大器 (PGA)、可编程模拟低通滤波器 (LPF) 和 ADC 输入驱动器组成。每个通道的模拟输入均存在 1MΩ 的恒定阻抗(20% 超量程设置下阻抗为 1.2MΩ),与 ADC 采样频率无关。模拟前端电路的高输入阻抗允许直接连接到电压互感器 (PT) 和电流互感器 (CT)。ADC 输入可支持高达 ±10V、±5V 和 ±2.5V 的双极输入,每个输入有 20% 超量程选项,集成的信号调节功能消除了对外部放大器或 ADC 驱动器电路的需求。
如图 8-1 所示,电源系统中使用的 PT 和 CT 输出范围通常为 ±10V 或 ±5V。虽然 PT 和 CT 隔离了电源系统,但串联电阻(RXAP 或 RXBP)必须放置在模拟输入通道上。串联电阻有助于将输入电流限制到 ±10mA,以保护 ADC。
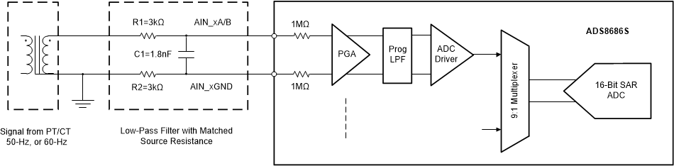
每个模拟输入通道通常使用 LPF 消除高频噪声拾取并充分减少混叠。图 8-2 显示输入 RC 滤波器的建议配置电路示例。平衡的 RC 滤波器配置将正路径上的外源电阻(RXAP 或 RXBP)与负路径上的相等电阻(RXAM 或 RXBM)相匹配。正负路径中的源阻抗匹配可改善共模噪声抑制,通过消除外部串联电阻引起的任何额外增益误差来帮助维持系统的直流精度。
图 8-2 输入 RC 低通滤波器图 8-1 所示的数据采集系统的主要目标是在 60Hz 电源网络中测量高达 50 个谐波。因此,模拟前端必须有足够的带宽(如Equation3 所示),以检测高达 3060Hz 的信号。

图 8-2 中所示的低通滤波器配置的通带由 –3dB 频率决定,根据Equation4 计算。

C1 的值选择为 1.8nF,这是 C0G 类型和 0603 尺寸表面贴装元件中可用的标准电容值。此 LPF 与 R1 和 R2 电阻结合使用,可提供足够的带宽来容纳 60Hz 输入信号所需的 50 个谐波。