ZHCSD79A January   2015  – August 2019 ADS54J54

PRODUCTION DATA.  

  1. 特性
  2. 应用
  3. 说明
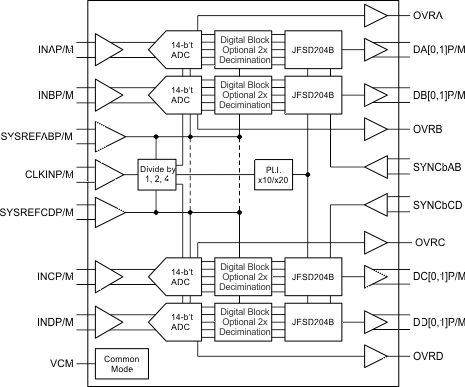
    1.     简化原理图
  4. 修订历史记录
  5. Pin Configuration and Functions
    1.     Pin Functions
  6. Specifications
    1. 6.1  Absolute Maximum Ratings
    2. 6.2  ESD Ratings
    3. 6.3  Recommended Operating Conditions
    4. 6.4  Thermal Information
    5. 6.5  Electrical Characteristics
    6. 6.6  Electrical Characteristics: 250 MSPS Output, 2x Decimation Filter
    7. 6.7  Electrical Characteristics: 500 MSPS Output
    8. 6.8  Electrical Characteristics: Sample Clock Timing Characteristics
    9. 6.9  Electrical Characteristics: Digital Outputs
    10. 6.10 Timing Requirements
    11. 6.11 Reset Timing
    12. 6.12 Typical Characteristics
  7. Detailed Description
    1. 7.1 Overview
    2. 7.2 Functional Block Diagram
    3. 7.3 Feature Description
      1. 7.3.1  Decimation by 2 (250 MSPS Output)
      2. 7.3.2  Over-Range Indication
      3. 7.3.3  JESD204B Interface
        1. 7.3.3.1 JESD204B Initial Lane Alignment (ILA)
        2. 7.3.3.2 JESD204B Test Patterns
        3. 7.3.3.3 JESD204B Frame Assembly
      4. 7.3.4  SYSREF Clocking Schemes
      5. 7.3.5  Split-Mode Operation
      6. 7.3.6  Eye Diagram Information
      7. 7.3.7  Analog Inputs
      8. 7.3.8  Clock Inputs
      9. 7.3.9  Input Clock Divider
      10. 7.3.10 Power-Down Control
      11. 7.3.11 Device Configuration
      12. 7.3.12 JESD204B Interface Initialization Sequence
      13. 7.3.13 Device and Register Initialization
    4. 7.4 Device Functional Modes
      1. 7.4.1 Operating Modes
      2. 7.4.2 Output Format
    5. 7.5 Programming
      1. 7.5.1 Serial Register Write
      2. 7.5.2 Serial Register Readout
    6. 7.6 Register Maps
      1. 7.6.1 Register Descriptions
        1. 7.6.1.1  Register Address 0
          1. Table 9. Register Address 0 Field Descriptions
        2. 7.6.1.2  Register Address 1
          1. Table 10. Register Address 1 Field Descriptions
        3. 7.6.1.3  Register Address 3
          1. Table 11. Register Address 3 Field Descriptions
        4. 7.6.1.4  Register Address 4
          1. Table 12. Register Address 4 Field Descriptions
        5. 7.6.1.5  Register Address 5
          1. Table 13. Register Address 5 Field Descriptions
          2. Table 14. Configurations When ENABLE Pin is Low
        6. 7.6.1.6  Register Address 6
          1. Table 15. Register Address 6 Field Descriptions
          2. Table 16. Configurations When ENABLE Pin is High
        7. 7.6.1.7  Register Address 7
          1. Table 17. Register Address 7 Field Descriptions
        8. 7.6.1.8  Register Address 8
          1. Table 18. Register Address 8 Field Descriptions
        9. 7.6.1.9  Register Address 12
          1. Table 19. Register Address 12 Field Descriptions
        10. 7.6.1.10 Register Address 13
          1. Table 20. Register Address 13 Field Descriptions
        11. 7.6.1.11 Register Address 14
          1. Table 21. Register Address 14 Field Descriptions
        12. 7.6.1.12 Register Address 15
          1. Table 22. Register Address 15 Field Descriptions
        13. 7.6.1.13 Register Address 16
          1. Table 23. Register Address 16 Field Descriptions
        14. 7.6.1.14 Register Address 19
          1. Table 24. Register Address 19 Field Descriptions
        15. 7.6.1.15 Register Address 22
          1. Table 25. Register Address 22 Field Descriptions
        16. 7.6.1.16 Register Address 23
          1. Table 26. Register Address 23 Field Descriptions
        17. 7.6.1.17 Register Address 26
          1. Table 27. Register Address 26 Field Descriptions
        18. 7.6.1.18 Register Address 29
          1. Table 28. Register Address 29 Field Descriptions
        19. 7.6.1.19 Register Address 30
          1. Table 29. Register Address 30 Field Descriptions
          2. Table 30. Configurations
        20. 7.6.1.20 Register Address 31
          1. Table 31. Register Address 31 Field Descriptions
          2. Table 32. Configurations
        21. 7.6.1.21 Register Address 32
          1. Table 33. Register Address 32 Field Descriptions
        22. 7.6.1.22 Register Address 33
          1. Table 34. Register Address 33 Field Descriptions
        23. 7.6.1.23 Register Address 99
          1. Table 35. Register Address 99 Field Descriptions
        24. 7.6.1.24 Register Address 100
          1. Table 36. Register Address 100 Field Descriptions
        25. 7.6.1.25 Register Address 103
          1. Table 37. Register Address 103 Field Descriptions
          2. Table 38. Pre-Emphasis Level is: Decimal Value / 30
        26. 7.6.1.26 Register Address 104
          1. Table 39. Register Address 104 Field Descriptions
        27. 7.6.1.27 Register Address 107
          1. Table 40. Register Address 107 Field Descriptions
          2. Table 41. Pre-Emphasis Level is: Decimal Value / 30
        28. 7.6.1.28 Register Address 108
          1. Table 42. Register Address 108 Field Descriptions
  8. Application and Implementation
    1. 8.1 Application Information
    2. 8.2 Typical Application
    3. 8.3 Design Requirements
    4. 8.4 Detailed Design Procedure
      1. 8.4.1 SNR and Clock Jitter
    5. 8.5 Application Curves
  9. Power Supply Recommendations
  10. 10Layout
    1. 10.1 Layout Guidelines
      1. 10.1.1 CML SerDes Transmitter Interface
    2. 10.2 Layout Example
  11. 11器件和文档支持
    1. 11.1 商标
    2. 11.2 静电放电警告
    3. 11.3 Glossary
  12. 12机械、封装和可订购信息

封装选项

机械数据 (封装 | 引脚)
散热焊盘机械数据 (封装 | 引脚)
订购信息

说明

ADS54J54 是一款低功耗、高带宽 14 位、500MSPS 四通道模数转换器 (ADC)。该器件支持 JESD204B 串行接口,数据传输速率高达 5Gbps,每个 ADC 可支持 1 或 2 条通道。已缓冲模拟输入在大大减少采样保持毛刺脉冲能量的同时,在宽频率范围内提供统一的输入阻抗。采样时钟分频器可实现更灵活的系统时钟架构设计。ADS54J54 以超低功耗在宽输入频率范围内提供出色的无杂散动态范围 (SFDR)。该器件具有可选 2x 抽取滤波器,可提供高通或低通滤波器两种模式。

器件信息(1)

器件型号 封装 封装尺寸(标称值)
ADS54J54 VQFN (64) 9.00mm x 9.00mm
  1. 如需了解所有可用封装,请参阅数据表末尾的可订购产品附录。

简化原理图

ADS54J54 fbd_FAD_slase67.gif