ZHCS894U April   2001  – July 2019 TMS320F2810 , TMS320F2811 , TMS320F2812

PRODUCTION DATA.  

  1. 1器件概述
    1. 1.1 特性
    2. 1.2 应用
    3. 1.3 说明
    4. 1.4 功能方框图
  2. 2修订历史记录
  3. 3Device Comparison
    1. 3.1 Related Products
  4. 4Terminal Configuration and Functions
    1. 4.1 Pin Diagrams
    2. 4.2 Signal Descriptions
  5. 5Specifications
    1. 5.1  Absolute Maximum Ratings
    2. 5.2  ESD Ratings – Commercial
    3. 5.3  ESD Ratings – Automotive
    4. 5.4  Recommended Operating Conditions
    5. 5.5  Power Consumption Summary
      1. Table 5-1 TMS320F281x Current Consumption by Power-Supply Pins Over Recommended Operating Conditions During Low-Power Modes at 150-MHz SYSCLKOUT
      2. 5.5.1     Current Consumption Graphs
      3. 5.5.2     Reducing Current Consumption
    6. 5.6  Electrical Characteristics
    7. 5.7  Thermal Resistance Characteristics for 179-Ball ZHH Package
    8. 5.8  Thermal Resistance Characteristics for 179-Ball GHH Package
    9. 5.9  Thermal Resistance Characteristics for 176-Pin PGF Package
    10. 5.10 Thermal Resistance Characteristics for 128-Pin PBK Package
    11. 5.11 Thermal Design Considerations
    12. 5.12 Timing and Switching Characteristics
      1. 5.12.1 Timing Parameter Symbology
        1. 5.12.1.1 General Notes on Timing Parameters
        2. 5.12.1.2 Test Load Circuit
        3. 5.12.1.3 Signal Transition Levels
      2. 5.12.2 Power Supply Sequencing
      3. 5.12.3 Reset Timing
        1. Table 5-3 Reset (XRS) Timing Requirements
      4. 5.12.4 Clock Specifications
        1. 5.12.4.1 Device Clock Table
          1. Table 5-4 Clock Table and Nomenclature
        2. 5.12.4.2 Clock Requirements and Characteristics
          1. 5.12.4.2.1 Input Clock Requirements
            1. Table 5-5 Input Clock Frequency
            2. Table 5-6 XCLKIN Timing Requirements – PLL Bypassed or Enabled
            3. Table 5-7 XCLKIN Timing Requirements – PLL Disabled
          2. 5.12.4.2.2 Output Clock Characteristics
            1. Table 5-9 XCLKOUT Switching Characteristics (PLL Bypassed or Enabled)
      5. 5.12.5 Peripherals
        1. 5.12.5.1  General-Purpose Input/Output (GPIO) – Output Timing
          1. Table 5-10 General-Purpose Output Switching Characteristics
        2. 5.12.5.2  General-Purpose Input/Output (GPIO) – Input Timing
          1. Table 5-11 General-Purpose Input Timing Requirements
        3. 5.12.5.3  Event Manager Interface
          1. 5.12.5.3.1 PWM Timing
            1. Table 5-12 PWM Switching Characteristics
            2. Table 5-13 Timer and Capture Unit Timing Requirements
            3. Table 5-14 External ADC Start-of-Conversion – EVA – Switching Characteristics
            4. Table 5-15 External ADC Start-of-Conversion – EVB – Switching Characteristics
        4. 5.12.5.4  Low-Power Mode Wakeup Timing
          1. Table 5-16 IDLE Mode Timing Requirements
          2. Table 5-17 IDLE Mode Switching Characteristics
          3. Table 5-18 STANDBY Mode Timing Requirements
          4. Table 5-19 STANDBY Mode Switching Characteristics
          5. Table 5-20 HALT Mode Timing Requirements
          6. Table 5-21 HALT Mode Switching Characteristics
        5. 5.12.5.5  Serial Peripheral Interface (SPI) Master Mode Timing
          1. Table 5-22 SPI Master Mode External Timing (Clock Phase = 0)
          2. Table 5-23 SPI Master Mode External Timing (Clock Phase = 1)
        6. 5.12.5.6  Serial Peripheral Interface (SPI) Slave Mode Timing
          1. Table 5-24 SPI Slave Mode External Timing (Clock Phase = 0)
          2. Table 5-25 SPI Slave Mode External Timing (Clock Phase = 1)
        7. 5.12.5.7  External Interface (XINTF) Timing
          1. 5.12.5.7.1 USEREADY = 0
          2. 5.12.5.7.2 Synchronous Mode (USEREADY = 1, READYMODE = 0)
          3. 5.12.5.7.3 Asynchronous Mode (USEREADY = 1, READYMODE = 1)
        8. 5.12.5.8  XINTF Signal Alignment to XCLKOUT
        9. 5.12.5.9  External Interface Read Timing
          1. Table 5-28 External Memory Interface Read Switching Characteristics
          2. Table 5-29 External Memory Interface Read Timing Requirements
        10. 5.12.5.10 External Interface Write Timing
          1. Table 5-30 External Memory Interface Write Switching Characteristics
        11. 5.12.5.11 External Interface Ready-on-Read Timing With One External Wait State
          1. Table 5-31 External Memory Interface Read Switching Characteristics (Ready-on-Read, 1 Wait State)
          2. Table 5-32 External Memory Interface Read Timing Requirements (Ready-on-Read, 1 Wait State)
          3. Table 5-33 Synchronous XREADY Timing Requirements (Ready-on-Read, 1 Wait State)
          4. Table 5-34 Asynchronous XREADY Timing Requirements (Ready-on-Read, 1 Wait State)
        12. 5.12.5.12 External Interface Ready-on-Write Timing With One External Wait State
          1. Table 5-35 External Memory Interface Write Switching Characteristics (Ready-on-Write, 1 Wait State)
          2. Table 5-36 Synchronous XREADY Timing Requirements (Ready-on-Write, 1 Wait State)
          3. Table 5-37 Asynchronous XREADY Timing Requirements (Ready-on-Write, 1 Wait State)
        13. 5.12.5.13 XHOLD and XHOLDA
        14. 5.12.5.14 XHOLD/XHOLDA Timing
          1. Table 5-38 XHOLD/XHOLDA Timing Requirements (XCLKOUT = XTIMCLK)
          2. Table 5-39 XHOLD/XHOLDA Timing Requirements (XCLKOUT = 1/2 XTIMCLK)
        15. 5.12.5.15 On-Chip Analog-to-Digital Converter
          1. Table 5-40  ADC Absolute Maximum Ratings Over Recommended Operating Conditions (Unless Otherwise Noted)
          2. Table 5-41  ADC Electrical Characteristics Over Recommended Operating Conditions (Unless Otherwise Noted)—AC Specifications
          3. Table 5-42  ADC Electrical Characteristics Over Recommended Operating Conditions (Unless Otherwise Noted)—DC Specifications
          4. 5.12.5.15.1 Current Consumption for Different ADC Configurations
            1. Table 5-43 Current Consumption for Different ADC Configurations (at 25-MHz ADCCLK)
          5. 5.12.5.15.2 ADC Power-Up Control Bit Timing
            1. Table 5-44 ADC Power-Up Delays
          6. 5.12.5.15.3 Detailed Description
            1. 5.12.5.15.3.1 Reference Voltage
            2. 5.12.5.15.3.2 Analog Inputs
            3. 5.12.5.15.3.3 Converter
            4. 5.12.5.15.3.4 Conversion Modes
          7. 5.12.5.15.4 Sequential Sampling Mode (Single-Channel) (SMODE = 0)
            1. Table 5-45 Sequential Sampling Mode Timing
          8. 5.12.5.15.5 Simultaneous Sampling Mode (Dual-Channel) (SMODE = 1)
            1. Table 5-46 Simultaneous Sampling Mode Timing
          9. 5.12.5.15.6 Definitions of Specifications and Terminology
        16. 5.12.5.16 Multichannel Buffered Serial Port (McBSP) Timing
          1. 5.12.5.16.1 McBSP Transmit and Receive Timing
            1. Table 5-47 McBSP Timing Requirements
            2. Table 5-48 McBSP Switching Characteristics
          2. 5.12.5.16.2 McBSP as SPI Master or Slave Timing
            1. Table 5-49 McBSP as SPI Master or Slave Timing Requirements (CLKSTP = 10b, CLKXP = 0)
            2. Table 5-50 McBSP as SPI Master or Slave Switching Characteristics (CLKSTP = 10b, CLKXP = 0)
            3. Table 5-51 McBSP as SPI Master or Slave Timing Requirements (CLKSTP = 11b, CLKXP = 0)
            4. Table 5-52 McBSP as SPI Master or Slave Switching Characteristics (CLKSTP = 11b, CLKXP = 0)
            5. Table 5-53 McBSP as SPI Master or Slave Timing Requirements (CLKSTP = 10b, CLKXP = 1)
            6. Table 5-54 McBSP as SPI Master or Slave Switching Characteristics (CLKSTP = 10b, CLKXP = 1)
            7. Table 5-55 McBSP as SPI Master or Slave Timing Requirements (CLKSTP = 11b, CLKXP = 1)
            8. Table 5-56 McBSP as SPI Master or Slave Switching Characteristics (CLKSTP = 11b, CLKXP = 1)
      6. 5.12.6 Emulator Connection Without Signal Buffering for the DSP
      7. 5.12.7 Interrupt Timing
        1. Table 5-57 Interrupt Switching Characteristics
        2. Table 5-58 Interrupt Timing Requirements
      8. 5.12.8 Flash Timing
        1. Table 5-59 Flash Endurance for A and S Temperature Material
        2. Table 5-60 Flash Endurance for Q Temperature Material
        3. Table 5-61 Flash Parameters at 150-MHz SYSCLKOUT
        4. Table 5-62 Flash/OTP Access Timing
        5. Table 5-63 Flash Data Retention Duration
  6. 6Detailed Description
    1. 6.1  Brief Descriptions
      1. 6.1.1  C28x CPU
      2. 6.1.2  Memory Bus (Harvard Bus Architecture)
      3. 6.1.3  Peripheral Bus
      4. 6.1.4  Real-Time JTAG and Analysis
      5. 6.1.5  External Interface (XINTF) (F2812 Only)
      6. 6.1.6  Flash
      7. 6.1.7  M0, M1 SARAMs
      8. 6.1.8  L0, L1, H0 SARAMs
      9. 6.1.9  Boot ROM
      10. 6.1.10 Security
      11. 6.1.11 Peripheral Interrupt Expansion (PIE) Block
      12. 6.1.12 External Interrupts (XINT1, XINT2, XINT13, XNMI)
      13. 6.1.13 Oscillator and PLL
      14. 6.1.14 Watchdog
      15. 6.1.15 Peripheral Clocking
      16. 6.1.16 Low-Power Modes
      17. 6.1.17 Peripheral Frames 0, 1, 2 (PFn)
      18. 6.1.18 General-Purpose Input/Output (GPIO) Multiplexer
      19. 6.1.19 32-Bit CPU-Timers (0, 1, 2)
      20. 6.1.20 Control Peripherals
      21. 6.1.21 Serial Port Peripherals
    2. 6.2  Peripherals
      1. 6.2.1 32-Bit CPU-Timers 0/1/2
      2. 6.2.2 Event Manager Modules (EVA, EVB)
        1. 6.2.2.1 General-Purpose (GP) Timers
        2. 6.2.2.2 Full-Compare Units
        3. 6.2.2.3 Programmable Deadband Generator
        4. 6.2.2.4 PWM Waveform Generation
        5. 6.2.2.5 Double Update PWM Mode
        6. 6.2.2.6 PWM Characteristics
        7. 6.2.2.7 Capture Unit
        8. 6.2.2.8 Quadrature-Encoder Pulse (QEP) Circuit
        9. 6.2.2.9 External ADC Start-of-Conversion
      3. 6.2.3 Enhanced Analog-to-Digital Converter (ADC) Module
      4. 6.2.4 Enhanced Controller Area Network (eCAN) Module
      5. 6.2.5 Multichannel Buffered Serial Port (McBSP) Module
      6. 6.2.6 Serial Communications Interface (SCI) Module
      7. 6.2.7 Serial Peripheral Interface (SPI) Module
      8. 6.2.8 GPIO MUX
    3. 6.3  Memory Maps
    4. 6.4  Register Map
    5. 6.5  Device Emulation Registers
    6. 6.6  External Interface, XINTF (F2812 Only)
      1. 6.6.1 Timing Registers
      2. 6.6.2 XREVISION Register
    7. 6.7  Interrupts
      1. 6.7.1 External Interrupts
    8. 6.8  System Control
    9. 6.9  OSC and PLL Block
      1. 6.9.1 Loss of Input Clock
    10. 6.10 PLL-Based Clock Module
    11. 6.11 External Reference Oscillator Clock Option
    12. 6.12 Watchdog Block
    13. 6.13 Low-Power Modes Block
  7. 7Applications, Implementation, and Layout
    1. 7.1 TI Reference Design
  8. 8器件和文档支持
    1. 8.1 入门
    2. 8.2 器件和开发支持工具命名规则
    3. 8.3 工具与软件
    4. 8.4 文档支持
    5. 8.5 相关链接
    6. 8.6 Community Resources
    7. 8.7 商标
    8. 8.8 静电放电警告
    9. 8.9 Glossary
  9. 9机械、封装和可订购信息
    1. 9.1 封装信息

封装选项

请参考 PDF 数据表获取器件具体的封装图。

机械数据 (封装 | 引脚)
  • PBK|128
散热焊盘机械数据 (封装 | 引脚)
订购信息

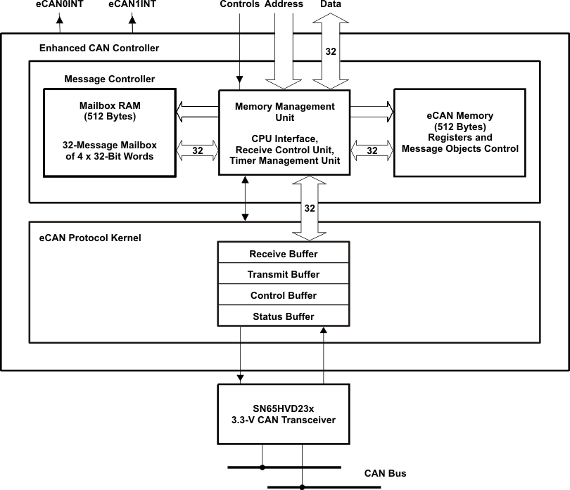
Enhanced Controller Area Network (eCAN) Module

The CAN module has the following features:

  • Fully compliant with ISO 11898-1 (CAN 2.0B)
  • Supports data rates up to 1 Mbps
  • Thirty-two mailboxes, each with the following properties:
    • Configurable as receive or transmit
    • Configurable with standard or extended identifier
    • Has a programmable receive mask
    • Supports data and remote frame
    • Composed of 0 to 8 bytes of data
    • Uses a 32-bit time stamp on receive and transmit message
    • Protects against reception of new message
    • Holds the dynamically programmable priority of transmit message
    • Employs a programmable interrupt scheme with two interrupt levels
    • Employs a programmable alarm on transmission or reception time-out
  • Low-power mode
  • Programmable wake-up on bus activity
  • Automatic reply to a remote request message
  • Automatic retransmission of a frame in case of loss of arbitration or error
  • 32-bit local network time counter synchronized by a specific message (communication in conjunction with mailbox 16)
  • Self-test mode
    • Operates in a loopback mode receiving its own message. A “dummy” acknowledge is provided, thereby eliminating the need for another node to provide the acknowledge bit.

NOTE: For a SYSCLKOUT of 150 MHz, the smallest bit rate possible is 23.4 kbps.

The 28x CAN has passed the conformance test per ISO/DIS 16845. Contact TI for details.

TMS320F2810 TMS320F2811 TMS320F2812 ecan_prs174.gifFigure 6-7 eCAN Block Diagram and Interface Circuit

Table 6-7 3.3-V eCAN Transceivers for the TMS320F281x DSPs

PART
NUMBER
SUPPLY
VOLTAGE
LOW-POWER
MODE
SLOPE
CONTROL
VREF OTHER TA
SN65HVD230 3.3 V Standby Adjustable Yes –40°C to 85°C
SN65HVD230Q 3.3 V Standby Adjustable Yes –40°C to 125°C
SN65HVD231 3.3 V Sleep Adjustable Yes –40°C to 85°C
SN65HVD231Q 3.3 V Sleep Adjustable Yes –40°C to 125°C
SN65HVD232 3.3 V None None None –40°C to 85°C
SN65HVD232Q 3.3 V None None None –40°C to 125°C
SN65HVD233 3.3 V Standby Adjustable None Diagnostic Loopback –40°C to 125°C
SN65HVD234 3.3 V Standby
and
Sleep
Adjustable None –40°C to 125°C
SN65HVD235 3.3 V Standby Adjustable None Autobaud Loopback –40°C to 125°C
ISO1050 3–5.5 V None None None Built-in Isolation
Low Prop Delay
Thermal Shutdown
Failsafe Operation
Dominant Time-out
–55°C to 105°C
TMS320F2810 TMS320F2811 TMS320F2812 mm_ecan_prs174.gifFigure 6-8 eCAN Memory Map

NOTE

If the eCAN module is not used in an application, the RAM available (LAM, MOTS, MOTO, and mailbox RAM) can be used as general-purpose RAM. The CAN module clock should be enabled for this.

The CAN registers listed in Table 6-8 are used by the CPU to configure and control the CAN controller and the message objects. eCAN control registers only support 32-bit read/write operations. Mailbox RAM can be accessed as 16 bits or 32 bits. 32-bit accesses are aligned to an even boundary.

Table 6-8 CAN Registers(1)

NAME ADDRESS SIZE (x32) DESCRIPTION
CANME 0x00 6000 1 Mailbox enable
CANMD 0x00 6002 1 Mailbox direction
CANTRS 0x00 6004 1 Transmit request set
CANTRR 0x00 6006 1 Transmit request reset
CANTA 0x00 6008 1 Transmission acknowledge
CANAA 0x00 600A 1 Abort acknowledge
CANRMP 0x00 600C 1 Receive message pending
CANRML 0x00 600E 1 Receive message lost
CANRFP 0x00 6010 1 Remote frame pending
CANGAM 0x00 6012 1 Global acceptance mask
CANMC 0x00 6014 1 Master control
CANBTC 0x00 6016 1 Bit-timing configuration
CANES 0x00 6018 1 Error and status
CANTEC 0x00 601A 1 Transmit error counter
CANREC 0x00 601C 1 Receive error counter
CANGIF0 0x00 601E 1 Global interrupt flag 0
CANGIM 0x00 6020 1 Global interrupt mask
CANGIF1 0x00 6022 1 Global interrupt flag 1
CANMIM 0x00 6024 1 Mailbox interrupt mask
CANMIL 0x00 6026 1 Mailbox interrupt level
CANOPC 0x00 6028 1 Overwrite protection control
CANTIOC 0x00 602A 1 TX I/O control
CANRIOC 0x00 602C 1 RX I/O control
CANTSC 0x00 602E 1 Time stamp counter (Reserved in SCC mode)
CANTOC 0x00 6030 1 Time-out control (Reserved in SCC mode)
CANTOS 0x00 6032 1 Time-out status (Reserved in SCC mode)
These registers are mapped to Peripheral Frame 1.