ZHCS864Q April   2009  – January 2024 TMS320F28030 , TMS320F28030-Q1 , TMS320F28031 , TMS320F28031-Q1 , TMS320F28032 , TMS320F28032-Q1 , TMS320F28033 , TMS320F28033-Q1 , TMS320F28034 , TMS320F28034-Q1 , TMS320F28035 , TMS320F28035-Q1

PRODUCTION DATA  

  1.   1
  2. 特性
  3. 应用
  4. 说明
    1. 3.1 功能方框图
  5. 器件比较
    1. 4.1 相关产品
  6. 引脚配置和功能
    1. 5.1 引脚图
    2. 5.2 信号说明
  7. 规格
    1. 6.1  绝对最大额定值
    2. 6.2  ESD 等级 - 汽车
    3. 6.3  ESD 等级 - 商用
    4. 6.4  建议工作条件
    5. 6.5  功耗摘要
      1. 6.5.1 TMS320F2803x 在 60MHz SYSCLKOUT 下的电流消耗
      2. 6.5.2 减少电流消耗
      3. 6.5.3 流耗图(VREG 启用)
    6. 6.6  电气特性
    7. 6.7  热阻特性
      1. 6.7.1 PN 封装
      2. 6.7.2 PAG 封装
      3. 6.7.3 RSH 封装
    8. 6.8  散热设计注意事项
    9. 6.9  无信号缓冲情况下 MCU 与 JTAG 调试探针的连接
    10. 6.10 参数信息
      1. 6.10.1 时序参数符号
      2. 6.10.2 定时参数的通用注释
    11. 6.11 测试负载电路
    12. 6.12 电源时序
      1. 6.12.1 复位 (XRS) 时序要求
      2. 6.12.2 复位 (XRS) 开关特征
    13. 6.13 时钟规范
      1. 6.13.1 器件时钟表
        1. 6.13.1.1 2803x时钟表和命名规则(60MHz 器件)
        2. 6.13.1.2 器件计时要求/特性
        3. 6.13.1.3 内部零引脚振荡器 (INTOSC1/INTOSC2) 特性
      2. 6.13.2 时钟要求和特性
        1. 6.13.2.1 XCLKIN 定时要求 - PLL 已启用
        2. 6.13.2.2 XCLKIN 时序要求 - PLL 已禁用
        3. 6.13.2.3 XCLKOUT 开关特性(旁路或启用 PLL)
    14. 6.14 闪存定时
      1. 6.14.1 T 温度材料的闪存/OTP 耐久性
      2. 6.14.2 S 温度材料的闪存/OTP 耐久性
      3. 6.14.3 Q 温度材料的闪存/OTP 耐久性
      4. 6.14.4 60MHz SYSCLKOUT 下的闪存参数
      5. 6.14.5 闪存 / OTP 访问时序
      6. 6.14.6 闪存数据保持持续时间
  8. 详细说明
    1. 7.1 概述
      1. 7.1.1  CPU
      2. 7.1.2  控制律加速器 (CLA)
      3. 7.1.3  内存总线(哈弗总线架构)
      4. 7.1.4  外设总线
      5. 7.1.5  实时 JTAG 和分析
      6. 7.1.6  闪存
      7. 7.1.7  M0,M1 SARAM
      8. 7.1.8  L0 SARAM,和 L1,L2,和 L3 DPSARAM
      9. 7.1.9  引导 ROM
        1. 7.1.9.1 仿真引导
        2. 7.1.9.2 GetMode
        3. 7.1.9.3 引导加载器使用的外设引脚
      10. 7.1.10 安全
      11. 7.1.11 外设中断扩展 (PIE) 块
      12. 7.1.12 外部中断 (XINT1-XINT3)
      13. 7.1.13 内部零引脚振荡器、振荡器和 PLL
      14. 7.1.14 看门狗
      15. 7.1.15 外设时钟
      16. 7.1.16 低功耗模式
      17. 7.1.17 外设帧 0,1,2,3 (PFn)
      18. 7.1.18 通用输入/输出 (GPIO) 复用器
      19. 7.1.19 32 位 CPU 计时器 (0,1,2)
      20. 7.1.20 控制外设
      21. 7.1.21 串行端口外设
    2. 7.2 内存映射
    3. 7.3 寄存器映射
    4. 7.4 器件仿真寄存器
    5. 7.5 VREG/BOR/POR
      1. 7.5.1 片载电压稳压器 (VREG)
        1. 7.5.1.1 使用片上 VREG
        2. 7.5.1.2 禁用片载 VREG
      2. 7.5.2 片上加电复位 (POR) 和欠压复位 (BOR) 电路
    6. 7.6 系统控制
      1. 7.6.1 内部零引脚振荡器
      2. 7.6.2 晶体振荡器选项
      3. 7.6.3 基于 PLL 的时钟模块
      4. 7.6.4 输入时钟的损耗(NMI 看门狗功能)
      5. 7.6.5 CPU 看门狗模块
    7. 7.7 低功耗模式块
    8. 7.8 中断
      1. 7.8.1 外部中断
        1. 7.8.1.1 外部中断电子数据/定时
          1. 7.8.1.1.1 外部中断时序要求
          2. 7.8.1.1.2 外部中断开关特性
    9. 7.9 外设
      1. 7.9.1  控制律加速器 (CLA) 概述
      2. 7.9.2  模拟模块
        1. 7.9.2.1 模数转换器 (ADC)
          1. 7.9.2.1.1 特性
          2. 7.9.2.1.2 ADC 转换开始电子数据/定时
            1. 7.9.2.1.2.1 外部 ADC 转换启动开关特性
          3. 7.9.2.1.3 片载模数转换器 (ADC) 电子数据/定时
            1. 7.9.2.1.3.1 ADC 电气特性
            2. 7.9.2.1.3.2 ADC 电源模式
            3. 7.9.2.1.3.3 内部温度传感器
              1. 7.9.2.1.3.3.1 温度传感器系数
            4. 7.9.2.1.3.4 ADC 加电控制位时序
              1. 7.9.2.1.3.4.1 ADC 加电延迟
            5. 7.9.2.1.3.5 ADC 顺序模式时序和同步模式时序
        2. 7.9.2.2 ADC 多路复用器
        3. 7.9.2.3 比较器块
          1. 7.9.2.3.1 片载比较器 / DAC 电子数据/定时
            1. 7.9.2.3.1.1 比较器/DAC 的电气特性
      3. 7.9.3  详细说明
      4. 7.9.4  串行外设接口 (SPI) 模块
        1. 7.9.4.1 SPI 主模式电气数据/时序
          1. 7.9.4.1.1 SPI 主模式外部时序(时钟相位 = 0)
          2. 7.9.4.1.2 SPI 主模式外部时序(时钟相位 = 1)
        2. 7.9.4.2 SPI 从模式电气数据/时序
          1. 7.9.4.2.1 SPI 从模式外部时序(时钟相位 = 0)
          2. 7.9.4.2.2 SPI 从模式外部时序(时钟相位 = 1)
      5. 7.9.5  串行通信接口 (SCI) 模块
      6. 7.9.6  本地互连网络 (LIN)
      7. 7.9.7  增强型控制器局域网 (eCAN) 模块
      8. 7.9.8  内部集成电路 (I2C)
        1. 7.9.8.1 I2C 电气数据/时序
          1. 7.9.8.1.1 I2C 时序要求
          2. 7.9.8.1.2 I2C 开关特征
      9. 7.9.9  增强型 PWM 模块 (ePWM1/2/3/4/5/6/7)
        1. 7.9.9.1 ePWM 电气数据/时序
          1. 7.9.9.1.1 ePWM 时序要求
          2. 7.9.9.1.2 ePWM 开关特性
        2. 7.9.9.2 跳闸区输入时序
          1. 7.9.9.2.1 跳闸区域输入时序要求
      10. 7.9.10 高分辨率 PWM (HRPWM)
        1. 7.9.10.1 HRPWM 电气数据/时序
          1. 7.9.10.1.1 高分辨率 PWM 特性
      11. 7.9.11 增强型捕捉模块 (eCAP1)
        1. 7.9.11.1 eCAP 电气数据/时序
          1. 7.9.11.1.1 增强型捕捉 (eCAP) 时序要求
          2. 7.9.11.1.2 eCAP 开关特性
      12. 7.9.12 高分辨率捕捉 (HRCAP) 模块
        1. 7.9.12.1 HRCAP 电气数据/时序
          1. 7.9.12.1.1 高分辨率捕捉 (HRCAP) 时序要求
      13. 7.9.13 增强型正交编码器脉冲 (eQEP)
        1. 7.9.13.1 eQEP 电气数据/时序
          1. 7.9.13.1.1 增强型正交编码器脉冲 (eQEP) 时序要求
          2. 7.9.13.1.2 eQEP 开关特性
      14. 7.9.14 JTAG 端口
      15. 7.9.15 通用输入/输出 (GPIO) 多路复用器
        1. 7.9.15.1 GPIO 电气数据/时序
          1. 7.9.15.1.1 GPIO - 输出时序
            1. 7.9.15.1.1.1 通用输出开关特征
          2. 7.9.15.1.2 GPIO - 输入时序
            1. 7.9.15.1.2.1 通用输入时序要求
          3. 7.9.15.1.3 输入信号的采样窗口宽度
          4. 7.9.15.1.4 低功耗唤醒时序
            1. 7.9.15.1.4.1 空闲模式时序要求
            2. 7.9.15.1.4.2 空闲模式开关特性
            3. 7.9.15.1.4.3 待机模式时序要求
            4. 7.9.15.1.4.4 待机模式开关特征
            5. 7.9.15.1.4.5 停机模式时序要求
            6. 7.9.15.1.4.6 停机模式开关特征
  9. 应用、实施和布局
    1. 8.1 TI 参考设计
  10. 器件和文档支持
    1. 9.1 器件和开发支持工具命名规则
    2. 9.2 工具与软件
    3. 9.3 文档支持
    4. 9.4 支持资源
    5. 9.5 商标
    6. 9.6 静电放电警告
    7. 9.7 术语表
  11. 10修订历史记录
  12. 11机械、封装和可订购信息
    1. 11.1 封装信息

封装选项

机械数据 (封装 | 引脚)
散热焊盘机械数据 (封装 | 引脚)
订购信息

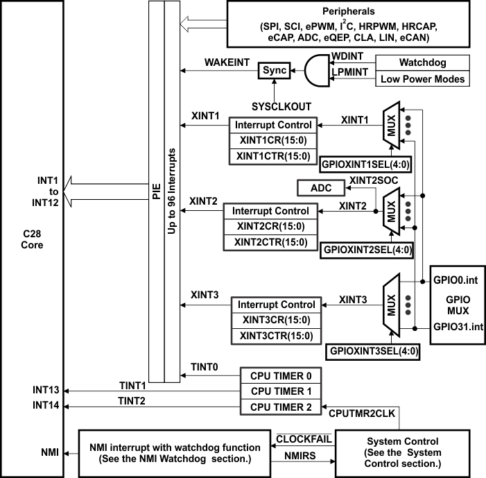
中断

图 7-12 显示了各种中断源是如何被多路复用的。

GUID-7F38ED99-46D5-4894-9C3D-CA206C4ADA86-low.gif图 7-12 外部和 PIE 中断源

8 个 PIE 块中断组合成了一个 CPU 中断。共有 12 个 CPU 中断组,每组 8 个中断,等于 96 个可能中断。表 7-19 显示了 2803x 器件所用的中断。

TRAP #Vectornumber(矢量号)指令将程序控制发送至与指定的矢量相对应的中断处理例程。TRAP #0 指令尝试将程序控制传送到复位矢量所指向的地址。然而,PIE 矢量表不含复位矢量。因此,当启用 PIE 时,不应使用 TRAP #0 指令。这样做将导致未定义的行为。

当启用 PIE 时,TRAP #1 至 TRAP #12 指令会将程序控制传送到与 PIE 组内第一个矢量相对应的中断服务例程。例如,TRAP#1 指令从 INT1.1 中获取矢量,TRAP#2 从 INT2.1 中获取矢量,以此类推。

GUID-36B07754-7CC8-4399-ADE6-3DCC823FA0B0-low.gif图 7-13 使用 PIE 块的中断多路复用

表 7-19 中,在 96 个可能中断中,部分中断未被使用。这些中断是为以后的器件保留的。如果它们在 PIEIFRx 级被启用并且这个组中的中断均未被外设使用,则这些中断可被用作软件中断。否则,在意外地清除它们的标志同时修改 PIEIFR 的情况下,来自外设的中断也许会丢失。总的来说,在两种安全情况下,保留的中断可用作软件中断:

  1. 组内没有外设使中断有效。
  2. 没有将外设中断分配给组(如 PIE 组 7)
表 7-19 PIE 多路复用的外设中断矢量表
INTx.8 INTx.7 INTx.6 INTx.5 INTx.4 INTx.3 INTx.2 INTx.1
INT1.y WAKEINT TINT0 ADCINT9 XINT2 XINT1 保留 ADCINT2 ADCINT1
(LPM/WD) (计时器 0) (ADC) Ext. int.2 Ext. int.1 (ADC) (ADC)
0xD4E 0xD4C 0xD4A 0xD48 0xD46 0xD44 0xD42 0xD40
INT2.y 保留 EPWM7_TZINT EPWM6_TZINT EPWM5_TZINT EPWM4_TZINT EPWM3_TZINT EPWM2_TZINT EPWM1_TZINT
- (ePWM7) (ePWM6) (ePWM5) (ePWM4) (ePWM3) (ePWM2) (ePWM1)
0xD5E 0xD5C 0xD5A 0xD58 0xD56 0xD54 0xD52 0xD50
INT3.y 保留 EPWM7_INT EPWM6_INT EPWM5_INT EPWM4_INT EPWM3_INT EPWM2_INT EPWM1_INT
- (ePWM7) (ePWM6) (ePWM5) (ePWM4) (ePWM3) (ePWM2) (ePWM1)
0xD6E 0xD6C 0xD6A 0xD68 0xD66 0xD64 0xD62 0xD60
INT4.y HRCAP2_INT HRCAP1_INT 保留 保留 保留 保留 保留 ECAP1_INT
(HRCAP2) (HRCAP1) - - - - - (eCAP1)
0xD7E 0xD7C 0xD7A 0xD78 0xD76 0xD74 0xD72 0xD70
INT5.y 保留 保留 保留 保留 保留 保留 保留 EQEP1_INT
- - - - - - - (eQEP1)
0xD8E 0xD8C 0xD8A 0xD88 0xD86 0xD84 0xD82 0xD80
INT6.y 保留 保留 保留 保留 SPITXINTB SPIRXINTB SPITXINTA SPIRXINTA
- - - - (SPI-B) (SPI-B) (SPI-A) (SPI-A)
0xD9E 0xD9C 0xD9A 0xD98 0xD96 0xD94 0xD92 0xD90
INT7.y 保留 保留 保留 保留 保留 保留 保留 保留
- - - - - - - -
0xDAE 0xDAC 0xDAA 0xDA8 0xDA6 0xDA4 0xDA2 0xDA0
INT8.y 保留 保留 保留 保留 保留 保留 I2CINT2A I2CINT1A
- - - - - - (I2C-A) (I2C-A)
0xDBE 0xDBC 0xDBA 0xDB8 0xDB6 0xDB4 0xDB2 0xDB0
INT9.y 保留 保留 ECAN1_INTA ECAN0_INTA LIN1_INTA LIN0_INTA SCITXINTA SCIRXINTA
- - (CAN-A) (CAN-A) (LIN-A) (LIN-A) (SCI-A) (SCI-A)
0xDCE 0xDCC 0xDCA 0xDC8 0xDC6 0xDC4 0xDC2 0xDC0
INT10.y ADCINT8 ADCINT7 ADCINT6 ADCINT5 ADCINT4 ADCINT3 ADCINT2 ADCINT1
(ADC) (ADC) (ADC) (ADC) (ADC) (ADC) (ADC) (ADC)
0xDDE 0xDDC 0xDDA 0xDD8 0xDD6 0xDD4 0xDD2 0xDD0
INT11.y CLA1_INT8 CLA1_INT7 CLA1_INT6 CLA1_INT5 CLA1_INT4 CLA1_INT3 CLA1_INT2 CLA1_INT1
(CLA) (CLA) (CLA) (CLA) (CLA) (CLA) (CLA) (CLA)
0xDEE 0xDEC 0xDEA 0xDE8 0xDE6 0xDE4 0xDE2 0xDE0
INT12.y LUF LVF 保留 保留 保留 保留 保留 XINT3
(CLA) (CLA) - - - - - Ext.Int. 3
0xDFE 0xDFC 0xDFA 0xDF8 0xDF6 0xDF4 0xDF2 0xDF0
表 7-20 PIE 配置和控制寄存器
名称地址大小 (x 16)说明(1)
PIECTRL0x0CE01PIE,控制寄存器
PIEACK0x0CE11PIE,应答寄存器
PIEIER10x0CE21PIE,INT1 组启用寄存器
PIEIFR10x0CE31PIE,INT1 组标志寄存器
PIEIER20x0CE41PIE,INT2 组启用寄存器
PIEIFR20x0CE51PIE,INT2 组标志寄存器
PIEIER30x0CE61PIE,INT3 组启用寄存器
PIEIFR30x0CE71PIE,INT3 组标志寄存器
PIEIER40x0CE81PIE,INT4 组启用寄存器
PIEIFR40x0CE91PIE,INT4 组标志寄存器
PIEIER50x0CEA1PIE,INT5 组启用寄存器
PIEIFR50x0CEB1PIE,INT5 组标志寄存器
PIEIER60x0CEC1PIE,INT6 组启用寄存器
PIEIFR60x0CED1PIE,INT6 组标志寄存器
PIEIER70x0CEE1PIE,INT7 组启用寄存器
PIEIFR70x0CEF1PIE,INT7 组标志寄存器
PIEIER80x0CF01PIE,INT8 组启用寄存器
PIEIFR80x0CF11PIE,INT8 组标志寄存器
PIEIER90x0CF21PIE,INT9 组启用寄存器
PIEIFR90x0CF31PIE,INT9 组标志寄存器
PIEIER100x0CF41PIE,INT10 组启用寄存器
PIEIFR100x0CF51PIE,INT10 组标志寄存器
PIEIER110x0CF61PIE,INT11 组启用寄存器
PIEIFR110x0CF71PIE,INT11 组标志寄存器
PIEIER120x0CF81PIE,INT12 组启用寄存器
PIEIFR120x0CF91PIE,INT12 组标志寄存器
保留0x0CFA –
0x0CFF
6保留
PIE 配置和控制寄存器未受 EALLOW 模式保护。PIE 矢量表受保护。