ZHCAAS5A June   2020  – July 2021 THVD8000 , THVD8010

 

  1.   商标
  2. 简介和器件概述
  3. 与 RS-485 的比较
  4. 电缆类型
  5. 数据速率、载波频率和通信距离
  6. 电感器和电容器选择
  7. 网络拓扑
  8. 终端和失效防护
  9. 总线负载
  10. 接地和共模噪声
  11. 10结论
    1. 10.1 参考文献
  12. 11修订历史记录

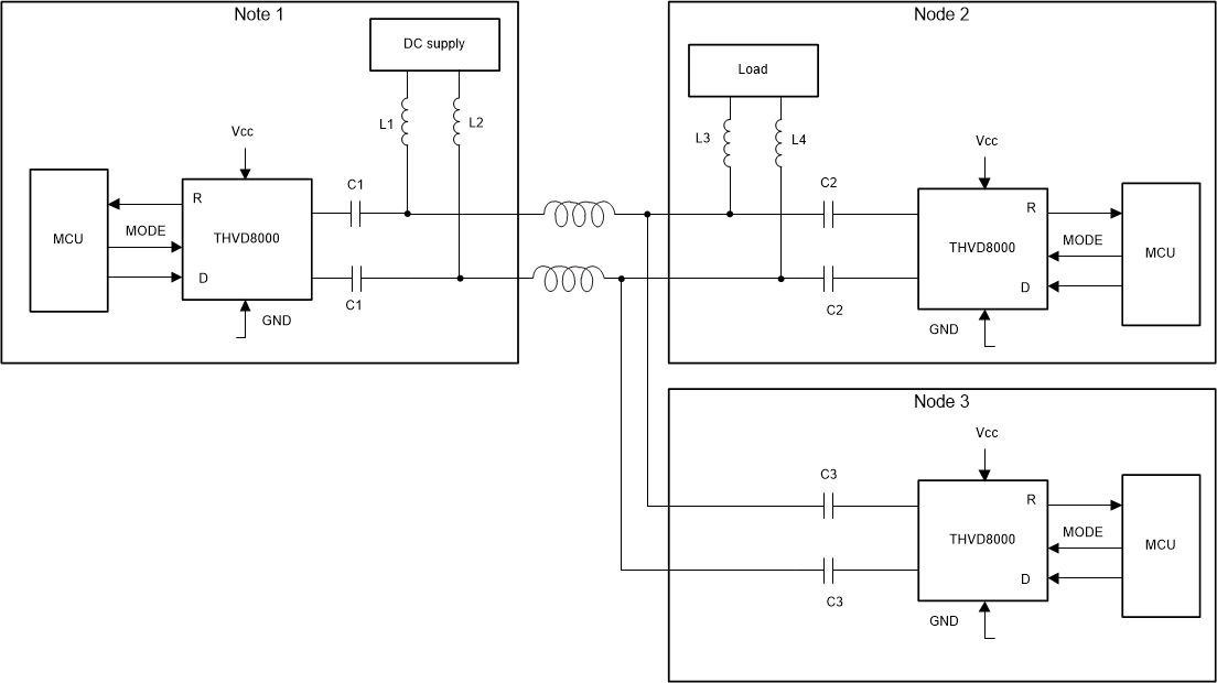
总线负载

如前所述,与 RS-485 收发器相比,THVD8000 具有类似的驱动强度和类似的接收器灵敏度。为了评估总线上的信号衰减,请计入因多个节点的端接、去耦电感和输入阻抗而导致的所有电缆损耗和总线上负载。关于电缆损耗和电感器负载,之前已在本应用报告中讨论过。THVD8000 接收器的输入阻抗约为 RS-485 标准中所测量单位负载 (UL) 的 1/8。连接到总线的所有其他外部元件(如 TVS 二极管)可能会对多个节点和高载波频率产生影响。在所有节点中,并非所有节点都必须同时提供数据和电力。一些节点可以自供电,只包含传输数据,如图 8-16 中的节点 3 所示。

GUID-D9DAEA71-3686-45D1-AB01-DA9F255E6B6A-low.gif图 8-16 THVD8000 多节点设置