ZHCS807G February   2012  – August 2018 LMK00304

PRODUCTION DATA.  

  1. 特性
  2. 应用
  3. 说明
    1.     Device Images
      1.      功能框图
      2.      LVPECL 输出摆幅 (VOD) 与频率间的关系
  4. 修订历史记录
  5. Pin Configuration and Functions
    1.     Pin Functions
  6. Specifications
    1. 6.1 Absolute Maximum Ratings
    2. 6.2 ESD Ratings
    3. 6.3 Recommended Operating Conditions
    4. 6.4 Thermal Information
    5. 6.5 Electrical Characteristics
    6. 6.6 Typical Characteristics
  7. Parameter Measurement Information
    1. 7.1 Differential Voltage Measurement Terminology
  8. Detailed Description
    1. 8.1 Overview
    2. 8.2 Functional Block Diagram
    3. 8.3 Feature Description
      1. 8.3.1 VCC and VCCO Power Supplies
      2. 8.3.2 Clock Inputs
      3. 8.3.3 Clock Outputs
        1. 8.3.3.1 Reference Output
  9. Application and Implementation
    1. 9.1 Driving the Clock Inputs
    2. 9.2 Crystal Interface
    3. 9.3 Termination and Use of Clock Drivers
      1. 9.3.1 Termination for DC-Coupled Differential Operation
      2. 9.3.2 Termination for AC-Coupled Differential Operation
      3. 9.3.3 Termination for Single-Ended Operation
  10. 10Power Supply Recommendations
    1. 10.1 Power Supply Sequencing
    2. 10.2 Current Consumption and Power Dissipation Calculations
      1. 10.2.1 Power Dissipation Example: Worst-Case Dissipation
    3. 10.3 Power Supply Bypassing
      1. 10.3.1 Power Supply Ripple Rejection
    4. 10.4 Thermal Management
      1. 10.4.1 Support for PCB Temperature up to 105°C
  11. 11器件和文档支持
    1. 11.1 文档支持
      1. 11.1.1 相关文档
    2. 11.2 接收文档更新通知
    3. 11.3 社区资源
    4. 11.4 商标
    5. 11.5 静电放电警告
    6. 11.6 术语表
  12. 12机械、封装和可订购信息

封装选项

机械数据 (封装 | 引脚)
散热焊盘机械数据 (封装 | 引脚)
订购信息

Thermal Management

Power dissipation in the LMK00304 device can be high enough to require attention to thermal management. For reliability and performance reasons the die temperature should be limited to a maximum of 125°C. That is, as an estimate, TA (ambient temperature) plus device power dissipation times θJA should not exceed 125°C.

The package of the device has an exposed pad that provides the primary heat removal path as well as excellent electrical grounding to the printed circuit board. To maximize the removal of heat from the package a thermal land pattern including multiple vias to a ground plane must be incorporated on the PCB within the footprint of the package. The exposed pad must be soldered down to ensure adequate heat conduction out of the package.

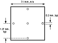
A recommended land and via pattern is shown in Figure 40. More information on soldering WQFN packages can be obtained at: http://www.ti.com/packaging.

LMK00304 30177373.gifFigure 40. Recommended Land and Via Pattern

To minimize junction temperature it is recommended that a simple heat sink be built into the PCB (if the ground plane layer is not exposed). This is done by including a copper area of about 2 square inches on the opposite side of the PCB from the device. This copper area may be plated or solder coated to prevent corrosion but should not have conformal coating (if possible), which could provide thermal insulation. The vias shown in Figure 40 should connect these top and bottom copper layers and to the ground layer. These vias act as “heat pipes” to carry the thermal energy away from the device side of the board to where it can be more effectively dissipated.