ZHCSCL3 JUNE 2014 DS90UH925AQ-Q1
PRODUCTION DATA.
| PARAMETER | MIN | MAX | UNIT | ||
|---|---|---|---|---|---|
| VDD33 | Supply Voltage | –0.3 | +4.0 | V | |
| VDDIO | Supply Voltage | –0.3 | +4.0 | V | |
| LVCMOS I/O Voltage | –0.3 | VDDIO + 0.3 | V | ||
| Serializer Output Voltage | –0.3 | +2.75 | V | ||
| TJ | Junction Temperature | +150 | °C | ||
| For soldering specifications: see product folder at www.ti.com and www.ti.com/lit/an/snoa549c/snoa549c.pdf |
|||||
| MIN | MAX | UNIT | ||||
|---|---|---|---|---|---|---|
| Tstg | Storage temperature range | 48 Lead WQFN Package | -65 | +150 | °C | |
| V(ESD) | Electrostatic discharge | Human body model (HBM), per AEC Q100-002(1) | -8 | +8 | kV | |
| Charged device model (CDM), per AEC Q100-011 | -1.25 | +1.25 | ||||
| Machine Model | -250 | +250 | V | |||
| ESD Rating (IEC 61000-4-2) RD = 330Ω, CS = 150pF |
Air Discharge (DOUT+, DOUT-) | -15 | +15 | kV | ||
| Contact Discharge (DOUT+, DOUT-) | -8 | +8 | ||||
| ESD Rating (ISO10605) RD = 330Ω, CS = 150pF RD = 2KΩ, CS = 150pF or 330pF |
Air Discharge (DOUT+, DOUT-) | -15 | +15 | kV | ||
| Contact Discharge (DOUT+, DOUT-) | -8 | +8 | ||||
| MIN | TYP | MAX | UNIT | |
|---|---|---|---|---|
| Supply Voltage (VDD33) | 3.0 | 3.3 | 3.6 | V |
| LVCMOS Supply Voltage (VDDIO) | 3.0 | 3.3 | 3.6 | V |
| OR | ||||
| LVCMOS Supply Voltage (VDDIO) | 1.71 | 1.8 | 1.89 | V |
| Operating Free Air Temperature (TA) | −40 | +25 | +105 | °C |
| PCLK Frequency | 5 | 85 | MHz | |
| Supply Noise(6) | 100 | mVP-P | ||
| THERMAL METRIC(1) | WQFN | UNIT | |
|---|---|---|---|
| 48 PINS | |||
| RθJA | Junction-to-ambient thermal resistance | 35 | °C/W |
| RθJC(top) | Junction-to-case (top) thermal resistance | 5.2 | |
| RθJB | Junction-to-board thermal resistance | 5.5 | |
| ψJT | Junction-to-top characterization parameter | 0.1 | |
| ψJB | Junction-to-board characterization parameter | 5.5 | |
| RθJC(bot) | Junction-to-case (bottom) thermal resistance | 1.3 | |
| SYMBOL | PARAMETER | CONDITIONS | PIN/FREQ. | MIN | TYP | MAX | UNIT | |
|---|---|---|---|---|---|---|---|---|
| LVCMOS I/O DC SPECIFICATIONS | ||||||||
| VIH | High Level Input Voltage | VDDIO = 3.0 to 3.6 V | PDB | 2.0 | VDDIO | V | ||
| VIL | Low Level Input Voltage | VDDIO = 3.0 to 3.6 V | GND | 0.8 | V | |||
| IIN | Input Current | VIN = 0 V or VDDIO = 3.0 to 3.6 V | −10 | ±1 | +10 | μA | ||
| VIH | High Level Input Voltage | VDDIO = 3.0 to 3.6 V | R[7:0], G[7:0], B[7:0], HS, VS, DE, PCLK, I2S_CLK, I2S_WC, I2S_DA, I2S_DB | 2.0 | VDDIO | V | ||
| VDDIO = 1.71 to 1.89 V | 0.65* VDDIO |
VDDIO | V | |||||
| VIL | Low Level Input Voltage | VDDIO = 3.0 to 3.6 V | GND | 0.8 | V | |||
| VDDIO = 1.71 to 1.89 V | GND | 0.35* VDDIO |
V | |||||
| IIN | Input Current | VIN = 0 V or VDDIO | VDDIO = 3.0 to 3.6 V |
−10 | ±1 | +10 | μA | |
| VDDIO = 1.71 to 1.89 V |
−10 | ±1 | +10 | μA | ||||
| VOH | High Level Output Voltage | IOH = −4 mA | VDDIO = 3.0 to 3.6 V | GPIO[3:0], GPO_REG[7:4], REM_INTB | 2.4 | VDDIO | V | |
| VDDIO = 1.71 to 1.89 V |
VDDIO - 0.45 | VDDIO | V | |||||
| VOL | Low Level Output Voltage | IOL = +4 mA | VDDIO = 3.0 to 3.6 V | GND | 0.4 | V | ||
| VDDIO = 1.71 to 1.89 V |
GND | 0.35 | V | |||||
| IOS | Output Short Circuit Current | VOUT = 0 V | −50 | mA | ||||
| IOZ | TRI-STATE® Output Current | VOUT = 0 V or VDDIO, PDB = L, | −10 | +10 | μA | |||
| FPD-LINK III CML DRIVER DC SPECIFICATIONS | ||||||||
| VODp-p | Differential Output Voltage (DOUT+) – (DOUT-) |
RL = 100 Ω, Figure 1 | DOUT+, DOUT- | 1160 | 1250 | 1340 | mVp-p | |
| ΔVOD | Output Voltage Unbalance | 1 | 50 | mV | ||||
| VOS | Offset Voltage – Single-ended | RL = 100 Ω, Figure 1 | 2.5-0.25*VODp-p (TYP) | V | ||||
| ΔVOS | Offset Voltage Unbalance Single-ended |
1 | 50 | mV | ||||
| IOS | Output Short Circuit Current | DOUT+/- = 0 V, PDB = L or H |
−38 | mA | ||||
| RT | Internal Termination Resistor - Single ended | 40 | 52 | 62 | Ω | |||
| SUPPLY CURRENT | ||||||||
| IDD1 | Supply Current (includes load current) RL = 100 Ω, f = 85 MHz |
Checker Board Pattern, Figure 2 |
VDD33= 3.6 V | VDD33 | 148 | 170 | mA | |
| IDDIO1 | VDDIO = 3.6 V | VDDIO | 90 | 180 | μA | |||
| VDDIO = 1.89 V | 1 | 1.6 | mA | |||||
| IDDS1 | Supply Current Remote Auto Power Down Mode | 0x01[7] = 1, deserializer is powered down | VDD33 = 3.6 V | VDD33 | 1.2 | 2.4 | mA | |
| IDDIOS1 | VDDIO = 3.6 V | VDDIO | 65 | 150 | μA | |||
| VDDIO = 1.89 V | 55 | 150 | μA | |||||
| IDDS2 | Supply Current Power Down | PDB = L, All LVCMOS inputs are floating or tied to GND | VDD33 = 3.6 V | VDD33 | 1 | 2 | mA | |
| IDDIOS2 | VDDIO = 3.6 V | VDDIO | 65 | 150 | μA | |||
| VDDIO = 1.89 V | 50 | 150 | μA | |||||
| SYMBOL | PARAMETER | CONDITIONS | PIN/FREQ. | MIN | TYP | MAX | UNIT |
|---|---|---|---|---|---|---|---|
| GPIO BIT RATE | |||||||
| BR | Forward Channel Bit Rate | See(7)(8) | f = 5 – 85 MHz GPIO[3:0] |
0.25* f | Mbps | ||
| Back Channel Bit Rate | 75 | kbps | |||||
| RECOMMENDED TIMING FOR PCLK | |||||||
| tTCP | PCLK Period | See(7)(8) | PCLK | 11.76 | T | 200 | ns |
| tCIH | PCLK Input High Time | 0.4*T | 0.5*T | 0.6*T | ns | ||
| tCIL | PCLK Input Low Time | 0.4*T | 0.5*T | 0.6*T | ns | ||
| tCLKT | PCLK Input Transition Time Figure 3(7)(8) |
f = 5 MHz | 4.0 | ns | |||
| f = 85 MHz | 0.5 | ns | |||||
| tIJIT | PCLK Input Jitter Tolerance, Bit Error Rate ≤10-10 |
f / 40 < Jitter Freq < f / 20(7)(9) | f = 5 – 78 MHz | 0.4 | 0.6 | UI | |
| SYMBOL | PARAMETER | CONDITIONS | MIN | TYP | MAX | UNIT |
|---|---|---|---|---|---|---|
| fSCL | SCL Clock Frequency | Standard Mode | 0 | 100 | kHz | |
| Fast Mode | 0 | 400 | kHz | |||
| tLOW | SCL Low Period | Standard Mode | 4.7 | us | ||
| Fast Mode | 1.3 | us | ||||
| tHIGH | SCL High Period | Standard Mode | 4.0 | us | ||
| Fast Mode | 0.6 | us | ||||
| tHD;STA | Hold time for a start or a repeated start condition Figure 8 |
Standard Mode | 4.0 | us | ||
| Fast Mode | 0.6 | us | ||||
| tSU:STA | Set Up time for a start or a repeated start condition Figure 8 |
Standard Mode | 4.7 | us | ||
| Fast Mode | 0.6 | us | ||||
| tHD;DAT | Data Hold Time Figure 8 |
Standard Mode | 0 | 3.45 | us | |
| Fast Mode | 0 | 0.9 | us | |||
| tSU;DAT | Data Set Up Time Figure 8 |
Standard Mode | 250 | ns | ||
| Fast Mode | 100 | ns | ||||
| tSU;STO | Set Up Time for STOP Condition, Figure 8 | Standard Mode | 4.0 | us | ||
| Fast Mode | 0.6 | us | ||||
| tBUF | Bus Free Time Between STOP and START, Figure 8 |
Standard Mode | 4.7 | us | ||
| Fast Mode | 1.3 | us | ||||
| tr | SCL & SDA Rise Time, Figure 8 |
Standard Mode | 1000 | ns | ||
| Fast Mode | 300 | ns | ||||
| tf | SCL & SDA Fall Time, Figure 8 |
Standard Mode | 300 | ns | ||
| Fast mode | 300 | ns |
| SYMBOL | PARAMETER | CONDITIONS | MIN | TYP | MAX | UNIT |
|---|---|---|---|---|---|---|
| VIH | Input High Level | SDA and SCL | 0.7* VDD33 |
VDD33 | V | |
| VIL | Input Low Level Voltage | SDA and SCL | GND | 0.3* VDD33 |
V | |
| VHY | Input Hysteresis | >50 | mV | |||
| VOL | SDA, IOL = 1.25 mA | 0 | 0.36 | V | ||
| Iin | SDA or SCL, Vin = VDD33 or GND | -10 | +10 | µA | ||
| tR | SDA RiseTime – READ | SDA, RPU = 10 kΩ, Cb ≤ 400 pF, Figure 8 | 430 | ns | ||
| tF | SDA Fall Time – READ | 20 | ns | |||
| tSU;DAT | Set Up Time – READ | Figure 8 | 560 | ns | ||
| tHD;DAT | Hold Up Time – READ | Figure 8 | 615 | ns | ||
| tSP | Input Filter | 50 | ns | |||
| Cin | Input Capacitance | SDA or SCL | <5 | pF |
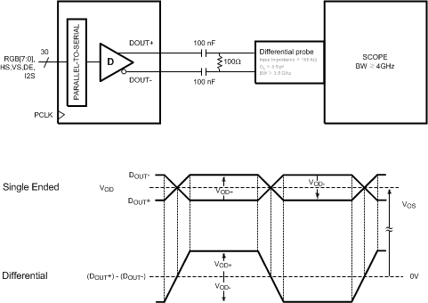
Figure 1. Serializer VOD DC Output
Figure 2. Checkboard Data Pattern
Figure 3. Serializer Input Clock Transition Time
Figure 4. Serializer CML Output Load and Transition Time
Figure 5. Serializer Setup and Hold Times
Figure 6. Serializer Lock Time
Figure 7. Serializer CML Output Jitter
Figure 8. Serial Control Bus Timing Diagram
| SYMBOL | PARAMETER | TEST CONDITIONS | PIN/FREQ. | MIN | TYP | MAX | UNIT |
|---|---|---|---|---|---|---|---|
| tLHT | CML Output Low-to-High Transition Time | See Figure 4 | DOUT+, DOUT- | 80 | 130 | ps | |
| tHLT | CML Output High-to-Low Transition Time | 80 | 130 | ps | |||
| tDIS | Data Input Setup to PCLK | See Figure 5 | R[7:0], G[7:0], B[7:0], HS, VS, DE, PCLK, I2S_CLK, I2S_WC, I2S_DA | 2.0 | ns | ||
| tDIH | Data Input Hold from PCLK | 2.0 | ns | ||||
| tPLD | Serializer PLL Lock Time | Figure 6(4) | f = 15 - 45MHz | 131*T | ns | ||
| tSD | Delay — Latency | f = 15 - 45MHz | 145*T | ns | |||
| tTJIT | Output Total Jitter, Bit Error Rate ≥10-10 Figure 7(7)(8)(5) |
RL = 100Ω f = 45MHz |
DOUT+, DOUT- | 0.25 | 0.30 | UI |

Figure 10. Comparison of Deserializer LVCMOS RX PCLK Output locked to a 78 MHz TX PCLK