ZHCSGW2H April   2017  – December 2024 DRV5032

PRODUCTION DATA  

  1.   1
  2. 特性
  3. 应用
  4. 说明
  5. 器件比较
  6. 引脚配置和功能
  7. 规格
    1. 6.1 绝对最大额定值
    2. 6.2 ESD 等级
    3. 6.3 建议运行条件
    4. 6.4 热性能信息
    5. 6.5 电气特性
    6. 6.6 磁特性
    7. 6.7 典型特性
  8. 详细说明
    1. 7.1 概述
    2. 7.2 功能方框图
    3. 7.3 特性说明
      1. 7.3.1 磁通量方向
      2. 7.3.2 器件版本比较
        1. 7.3.2.1 磁性阈值
        2. 7.3.2.2 磁响应
        3. 7.3.2.3 输出类型
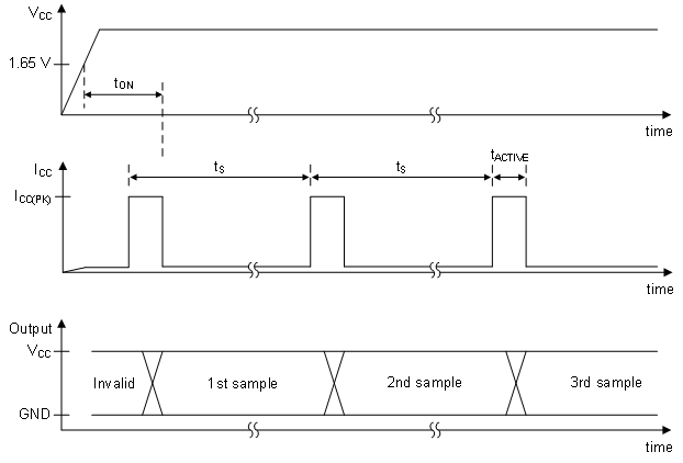
        4. 7.3.2.4 采样率
      3. 7.3.3 霍尔元件位置
    4. 7.4 器件功能模式
  9. 应用和实现
    1. 8.1 应用信息
      1. 8.1.1 输出类型权衡
    2. 8.2 典型应用
      1. 8.2.1 通用磁感应
        1. 8.2.1.1 设计要求
        2. 8.2.1.2 详细设计过程
        3. 8.2.1.3 应用曲线
      2. 8.2.2 三位置开关
        1. 8.2.2.1 设计要求
        2. 8.2.2.2 详细设计过程
        3. 8.2.2.3 应用曲线
    3. 8.3 最佳设计实践
    4. 8.4 电源相关建议
    5. 8.5 布局
      1. 8.5.1 布局指南
      2. 8.5.2 布局示例
  10. 器件和文档支持
    1. 9.1 文档支持
      1. 9.1.1 相关文档
    2. 9.2 接收文档更新通知
    3. 9.3 支持资源
    4. 9.4 商标
    5. 9.5 静电放电警告
    6. 9.6 术语表
  11. 10修订历史记录
  12. 11机械、封装和可订购信息

封装选项

请参考 PDF 数据表获取器件具体的封装图。

机械数据 (封装 | 引脚)
  • DBZ|3
  • LPG|3
  • DMR|4
散热焊盘机械数据 (封装 | 引脚)
订购信息

采样率

当 DRV5032 器件上电时,它会测量第一个磁性样本并设置 tON 时间内的输出。输出被锁存,器件进入超低功耗睡眠状态。在每个 tS 时间后,器件会测量一个新的样本,并在必要时更新输出。如果磁场在各周期之间没有变化,则输出不会改变。

DRV5032 时序图图 7-7 时序图