ZHCSOH4A July   2021  – August 2021 DLPC1438

PRODUCTION DATA  

  1. 特性
  2. 应用
  3. 说明
  4. Revision History
  5. Pin Configuration and Functions
  6. Specifications
    1. 6.1  Absolute Maximum Ratings
    2. 6.2  ESD Ratings
    3. 6.3  Recommended Operating Conditions
    4. 6.4  Thermal Information
    5. 6.5  Power Electrical Characteristics
    6. 6.6  Pin Electrical Characteristics
    7. 6.7  Internal Pullup and Pulldown Electrical Characteristics
    8. 6.8  DMD Sub-LVDS Interface Electrical Characteristics
    9. 6.9  DMD Low-Speed Interface Electrical Characteristics
    10. 6.10 System Oscillator Timing Requirements
    11. 6.11 Power Supply and Reset Timing Requirements
    12. 6.12 Parallel Interface Frame Timing Requirements
    13. 6.13 Parallel Interface General Timing Requirements
    14. 6.14 BT656 Interface General Timing Requirements
    15. 6.15 Flash Interface Timing Requirements
    16. 6.16 Other Timing Requirements
    17. 6.17 DMD Sub-LVDS Interface Switching Characteristics
    18. 6.18 DMD Parking Switching Characteristics
    19. 6.19 Chipset Component Usage Specification
  7. Detailed Description
    1. 7.1 Overview
    2. 7.2 Functional Block Diagram
    3. 7.3 Feature Description
      1. 7.3.1 Input Source
        1. 7.3.1.1 Supported Resolution and Frame Rates
        2. 7.3.1.2 Parallel Interface
      2. 7.3.2 External Print
      3. 7.3.3 Device Startup
      4. 7.3.4 SPI Flash
        1. 7.3.4.1 SPI Flash Interface
        2. 7.3.4.2 SPI Flash Programming
      5. 7.3.5 I2C Interface
      6. 7.3.6 Test Point Support
      7. 7.3.7 DMD Interface
        1. 7.3.7.1 Sub-LVDS (HS) Interface
    4. 7.4 Device Functional Modes
    5. 7.5 Programming
  8. Application and Implementation
    1. 8.1 Application Information
    2. 8.2 Typical Application
      1. 8.2.1 Pattern projector for 3D printer without actuation and without FPGA
        1. 8.2.1.1 Design Requirements
        2. 8.2.1.2 Detailed Design Procedure
        3. 8.2.1.3 Application Curve
      2. 8.2.2 Pattern projector for 3D printer with actuator
        1. 8.2.2.1 Design Requirements
        2. 8.2.2.2 Detailed Design Procedure
        3. 8.2.2.3 Application Curve
  9. Power Supply Recommendations
    1. 9.1 PLL Design Considerations
    2. 9.2 System Power-Up and Power-Down Sequence
    3. 9.3 Power-Up Initialization Sequence
    4. 9.4 DMD Fast Park Control (PARKZ)
    5. 9.5 Hot Plug I/O Usage
  10. 10Layout
    1. 10.1 Layout Guidelines
      1. 10.1.1 PLL Power Layout
      2. 10.1.2 Reference Clock Layout
        1. 10.1.2.1 Recommended Crystal Oscillator Configuration
      3. 10.1.3 Unused Pins
      4. 10.1.4 DMD Control and Sub-LVDS Signals
      5. 10.1.5 Layer Changes
      6. 10.1.6 Stubs
      7. 10.1.7 Terminations
      8. 10.1.8 Routing Vias
      9. 10.1.9 Thermal Considerations
    2. 10.2 Layout Example
  11. 11Device and Documentation Support
    1. 11.1 Device Support
      1. 11.1.1 第三方产品免责声明
      2. 11.1.2 Device Nomenclature
        1. 11.1.2.1 Device Markings
    2. 11.2 Documentation Support
      1. 11.2.1 Related Documentation
    3. 11.3 接收文档更新通知
    4. 11.4 支持资源
    5. 11.5 Trademarks
    6. 11.6 Electrostatic Discharge Caution
    7. 11.7 术语表
  12. 12Mechanical, Packaging, and Orderable Information

封装选项

机械数据 (封装 | 引脚)
散热焊盘机械数据 (封装 | 引脚)
订购信息

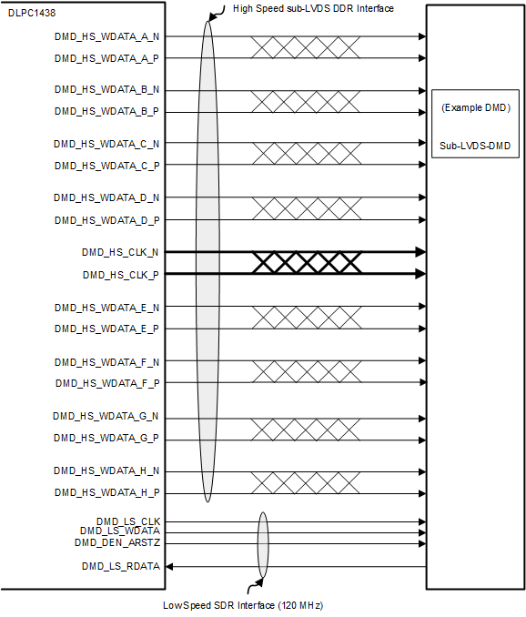
Sub-LVDS (HS) Interface

The DLP300S/DLP301S DMD does not require all of the available output data lanes of the controller. Internal software selection allows the controller to support multiple DMD interface swap configurations. These options can improve board layout by remapping specific combinations of DMD interface lines to other DMD interface lines as needed. Table 7-9 shows the two options available for the DLP300S/DLP301S DMD. Leave any unused DMD signal pairs unconnected on the final board design.

Table 7-9 DLP300S/DLP301S DMD – ASIC to 8-Lane DMD Pin Mapping Options
DLPC1438 CONTROLLER 8 LANE DMD ROUTING OPTIONSDMD PINS
OPTION 1OPTION 2
HS_WDATA_D_P
HS_WDATA_D_N
HS_WDATA_E_P
HS_WDATA_E_N
Input DATA_p_0
Input DATA_n_0
HS_WDATA_C_P
HS_WDATA_C_N
HS_WDATA_F_P
HS_WDATA_F_N
Input DATA_p_1
Input DATA_n_1
HS_WDATA_B_P
HS_WDATA_B_N
HS_WDATA_G_P
HS_WDATA_G_N
Input DATA_p_2
Input DATA_n_2
HS_WDATA_A_P
HS_WDATA_A_N
HS_WDATA_H_P
HS_WDATA_H_N
Input DATA_p_3
Input DATA_n_3
HS_WDATA_H_P
HS_WDATA_H_N
HS_WDATA_A_P
HS_WDATA_A_N
Input DATA_p_4
Input DATA_n_4
HS_WDATA_G_P
HS_WDATA_G_N
HS_WDATA_B_P
HS_WDATA_B_N
Input DATA_p_5
Input DATA_n_5
HS_WDATA_F_P
HS_WDATA_F_N
HS_WDATA_C_P
HS_WDATA_C_N
Input DATA_p_6
Input DATA_n_6
HS_WDATA_E_P
HS_WDATA_E_N
HS_WDATA_D_P
HS_WDATA_D_N
Input DATA_p_7
Input DATA_n_7
GUID-C6A99896-786F-479B-9845-A2BED500AB78-low.gifFigure 7-2 DLP300S/DLP301S DMD Interface Example

The sub-LVDS high-speed interface waveform quality and timing on the DLPC1438 controller depends on the total length of the interconnect system, the spacing between traces, the characteristic impedance, etch losses, and how well matched the lengths are across the interface. Thus, ensuring positive timing margin requires attention to many factors.

In an attempt to minimize the signal integrity analysis that would otherwise be required, the DMD Control and Sub-LVDS Signals layout section is provided as a reference of an interconnect system that satisfy both waveform quality and timing requirements (accounting for both PCB routing mismatch and PCB signal integrity). Variation from these recommendations may also work, but should be confirmed with PCB signal integrity analysis or lab measurements.