ZHCSJQ2A May   2019  – August 2019 TPS2596

PRODUCTION DATA.  

  1. 特性
  2. 应用
  3. 说明
    1.     Device Images
      1.      简化原理图
      2.      TPS25963x 1KV EFT 响应
  4. 修订历史记录
  5. 器件比较表
  6. Pin Configuration and Functions
    1.     Pin Functions
  7. Specifications
    1. 7.1 Absolute Maximum Ratings
    2. 7.2 ESD Ratings
    3. 7.3 Recommended Operating Conditions
    4. 7.4 Thermal Information
    5. 7.5 Electrical Characteristics
    6. 7.6 Timing Requirements
    7. 7.7 Switching Characteristics
    8. 7.8 Typical Characteristics
  8. Detailed Description
    1. 8.1 Overview
    2. 8.2 Functional Block Diagram
    3. 8.3 Feature Description
      1. 8.3.1 Undervoltage Protection (UVP) and Undervoltage Lockout (UVLO)
      2. 8.3.2 Overvoltage Protection
        1. 8.3.2.1 Overvoltage Lockout
        2. 8.3.2.2 Overvoltage Clamp
      3. 8.3.3 Inrush Current, Overcurrent and Short Circuit Protection
        1. 8.3.3.1 Slew Rate and Inrush Current Control (dVdt)
        2. 8.3.3.2 Active Current Limiting
        3. 8.3.3.3 Short-Circuit Protection
      4. 8.3.4 Analog Load Current Monitor (IMON)
      5. 8.3.5 Overtemperature Protection (OTP)
      6. 8.3.6 Fault Indication
    4. 8.4 Device Functional Modes
      1. 8.4.1 Enable and Fault Pin Functional Mode 1: Single Device, Self-Controlled
      2. 8.4.2 Enable and Fault Pin Functional Mode 2: Single Device, Host-Controlled
      3. 8.4.3 Enable and Fault Pin Functional Mode 3: Multiple Devices, Self-Controlled
  9. Application and Implementation
    1. 9.1 Application Information
    2. 9.2 Typical Application
      1. 9.2.1 Precision Current Limiting and Protection for White Goods
      2. 9.2.2 Design Requirements
      3. 9.2.3 Detailed Design Procedure
        1. 9.2.3.1 Programming the Current-Limit Threshold: RILM Selection
        2. 9.2.3.2 Undervoltage and Overvoltage Lockout Set Point
        3. 9.2.3.3 Setting Output Voltage Ramp Time (TdVdT)
          1. 9.2.3.3.1 Case 1: Start-Up Without Load. Only Output Capacitance COUT Draws Current
          2. 9.2.3.3.2 Case 2: Start-Up With Load. Output Capacitance COUT and Load Draw Current
      4. 9.2.4 Support Component Selection: RFLT and CIN
      5. 9.2.5 Application Curves
    3. 9.3 System Examples
      1. 9.3.1 Current Limiting and Overvoltage Protection and for Energy Meter Power Rails
      2. 9.3.2 Precision Current Limiting and Protection in Appliances
  10. 10Power Supply Recommendations
    1. 10.1 Transient Protection
    2. 10.2 Output Short-Circuit Measurements
  11. 11Layout
    1. 11.1 Layout Guidelines
    2. 11.2 Layout Example
  12. 12器件和文档支持
    1. 12.1 文档支持
      1. 12.1.1 相关文档
    2. 12.2 接收文档更新通知
    3. 12.3 社区资源
    4. 12.4 商标
    5. 12.5 静电放电警告
    6. 12.6 Glossary
  13. 13机械、封装和可订购信息

封装选项

机械数据 (封装 | 引脚)
散热焊盘机械数据 (封装 | 引脚)
订购信息

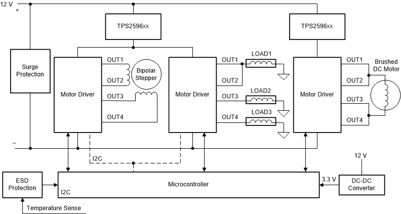
Precision Current Limiting and Protection in Appliances

Household and similar electrical appliances are subjected to various tests (for example: needle flame, glow wire) as part of the certification for electrical and fire safety compliance as per the regulations. Special precautions need to be taken in the design to pass these tests, which include the use of higher grade flame retardant plastic material for the housing enclosures. There are certain provisions in the standard which can be leveraged to make the certification easier, faster and also reduce the cost of plastic materials. For example, any node which has less than 15 W of power available to it is classified as a LPC (Low Power Circuit as per the definition in IEC 60335-1) and deemed to be safe. All circuits or sub-systems further downstream from a LPC node are exempt from the aforementioned tests.

eFuses like TPS2596xx are a simple and cost effective way to limit the power delivered to the downstream load. The key parameter to be considered is the current imit tolerance and accuracy, which determines how high one can set the nominal current limit without exceeding the 15-W power limit on the upper end. On the lower end, it determines the maximum power the load can draw in normal conditions without hitting the current limit. TPS2596xx provides a current limit accuracy of ±5 % (at room temperature), which allows the load to use nearly 90% out of the 15-W limit under normal operating conditions.

In contrast, an alternative current limiting solution with wider current limit tolerance, say ±25 % would leave only 50 % out of 15 W for the load circuit to operate under normal conditions. This places severe constraints on the load circuit design and/or capabilities.

Figure 61 shows a sub-system example of a refrigerator and freezer system where TPS2596xx is used for precision current limiting and protection of 15-W rails to ease the qualification as low-power circuit as per IEC 60335-1.

TPS2596 System-Examples-Appliances.gifFigure 61. Appliances 15-W LPC Implementation Example

TIDA-010004 demonstrates a multi-load drive using single driver chip with eFuse for protection and 15-W LPC implementation.

Refer to this Designing Low-Power Circuits (LPCs) using TPS2596 for Household and similar Appliances application note for a detailed insight into implementing power limited circuits using eFuses.