ZHCSJ94K March   1996  – February 2024 SN74HC4066

PRODUCTION DATA  

  1.   1
  2. 特性
  3. 应用
  4. 说明
  5. Pin Configuration and Functions
  6. Specifications
    1. 5.1 Absolute Maximum Ratings
    2. 5.2 ESD Ratings
    3. 5.3 Recommended Operating Conditions
    4. 5.4 Thermal Information
    5. 5.5 Electrical Characteristics
    6. 5.6 Switching Characteristics
    7. 5.7 Operating Characteristics
    8. 5.8 Typical Characteristics
  7. Parameter Measurement Information
  8. Detailed Description
    1. 7.1 Overview
    2. 7.2 Functional Block Diagram
    3. 7.3 Feature Description
    4. 7.4 Device Functional Modes
  9. Application and Implementation
    1. 8.1 Application Information
    2. 8.2 Typical Application
      1. 8.2.1 Design Requirements
      2. 8.2.2 Detailed Design Procedure
      3. 8.2.3 Application Curve
    3. 8.3 Power Supply Recommendations
    4. 8.4 Layout
      1. 8.4.1 Layout Guidelines
      2. 8.4.2 Layout Example
  10. Device and Documentation Support
    1. 9.1 Documentation Support
      1. 9.1.1 Related Documentation
    2. 9.2 接收文档更新通知
    3. 9.3 支持资源
    4. 9.4 Trademarks
    5. 9.5 静电放电警告
    6. 9.6 术语表
  11. 10Revision History
  12. 11Mechanical, Packaging, and Orderable Information

封装选项

请参考 PDF 数据表获取器件具体的封装图。

机械数据 (封装 | 引脚)
  • D|14
  • PW|14
  • DB|14
  • N|14
  • NS|14
散热焊盘机械数据 (封装 | 引脚)
订购信息

Parameter Measurement Information

GUID-F228CC45-441E-4A98-B11E-79B410696390-low.gif Figure 6-1 ON-State Resistance Test Circuit
GUID-CDA6B914-8E02-4C3C-96F3-A3FDAD674CA9-low.gif Figure 6-2 OFF-State Switch Leakage-Current Test Circuit
GUID-DB84BC34-135C-4947-A567-84DD3A9D881E-low.gif Figure 6-3 ON-State Leakage-Current Test Circuit
GUID-3531D611-3B87-4674-92F2-F76C5A6826E5-low.gif Figure 6-4 Propagation Delay Time, Signal Input to Signal Output
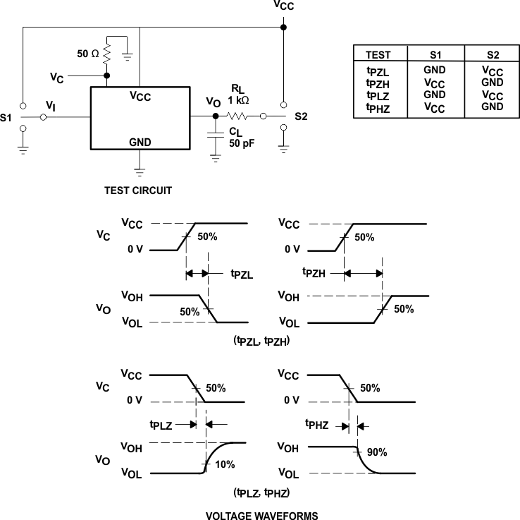
GUID-0BC2847E-AC48-4F85-8B61-5EF37734645D-low.gif Figure 6-5 Switching Time (tPZL, tPLZ, tPZH, tPHZ), Control to Signal Output
GUID-ADADC6FC-11CD-4591-B461-311648DDCDCD-low.gif Figure 6-6 Control-Input Frequency
GUID-99C9690A-5EA0-4B9D-8944-EDDE5132391E-low.gif Figure 6-7 Control Feed-Through Noise
GUID-D742B323-06E9-4BC9-BAF2-67E438C8CE22-low.gif Figure 6-8 Minimum Through Bandwidth
GUID-659F4D3F-F43A-4316-8915-4C4E8086FFE0-low.gif Figure 6-9 Crosstalk Between Any Two Switches
GUID-6448D217-6F9A-4048-B9E8-6402EAF01010-low.gif Figure 6-10 Feed Through, Switch OFF
GUID-63539C9E-DFBB-4AF1-B73C-A54C5F71422F-low.gif Figure 6-11 Amplitude-Distortion Rate