ZHCSQT0E March   2007  – July 2022 TPS5450

PRODUCTION DATA  

  1. 特性
  2. 应用
  3. 说明
  4. 修订历史记录
  5. 引脚配置和功能
    1.     引脚功能
  6. 规格
    1. 6.1 绝对最大额定值
    2. 6.2 ESD 额定值
    3. 6.3 建议工作条件
    4. 6.4 热性能信息
    5. 6.5 电气特性
    6. 6.6 典型特性
  7. 详细说明
    1. 7.1 概述
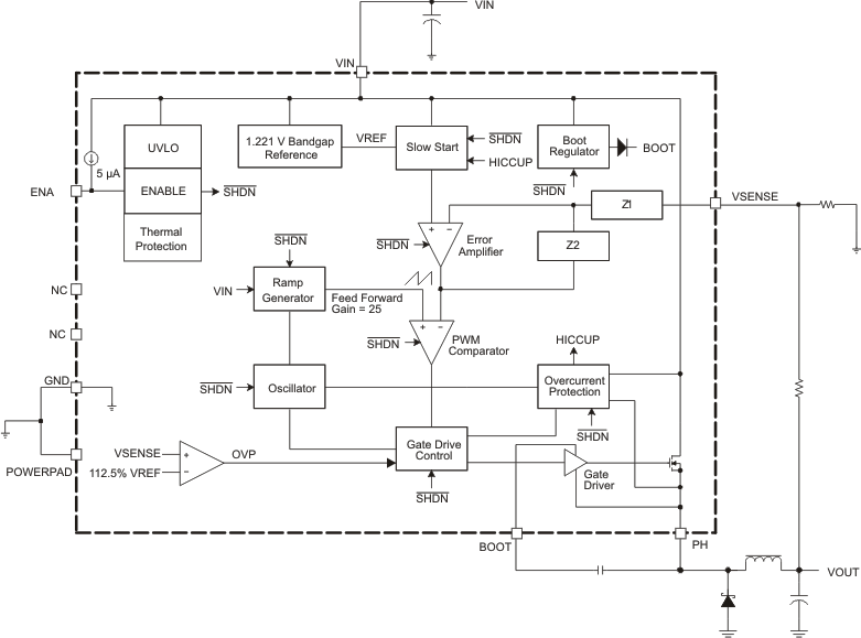
    2. 7.2 功能方框图
    3. 7.3 特性说明
      1. 7.3.1  振荡器频率
      2. 7.3.2  电压基准
      3. 7.3.3  使能 (ENA) 和内部慢启动
      4. 7.3.4  欠压锁定 (UVLO)
      5. 7.3.5  升压电容器 (BOOT)
      6. 7.3.6  输出反馈 (VSENSE) 和内部补偿
      7. 7.3.7  电压前馈
      8. 7.3.8  脉宽调制 (PWM) 控制
      9. 7.3.9  过流限制
      10. 7.3.10 过压保护
      11. 7.3.11 热关断
    4. 7.4 器件功能模式
      1. 7.4.1 在最低输入电压附近工作
      2. 7.4.2 通过 ENA 控制工作
  8. 应用和实现
    1. 8.1 应用信息
    2. 8.2 典型应用
      1. 8.2.1 设计要求
      2. 8.2.2 详细设计过程
        1. 8.2.2.1 开关频率
        2. 8.2.2.2 输出电压设定点
        3. 8.2.2.3 输入电容器
        4. 8.2.2.4 输出滤波器元件
        5. 8.2.2.5 电感器选择
        6. 8.2.2.6 电容器选型
        7.       43
        8. 8.2.2.7 启动电容器
        9. 8.2.2.8 环流二极管
        10. 8.2.2.9 高级信息
          1. 8.2.2.9.1 输出电压限制
          2. 8.2.2.9.2 内部补偿网络
      3. 8.2.3 应用曲线
  9. 电源相关建议
  10. 10布局
    1. 10.1 布局指南
    2. 10.2 布局示例
    3. 10.3 热计算
  11. 11器件和文档支持
    1. 11.1 器件支持
      1. 11.1.1 第三方产品免责声明
    2. 11.2 商标
    3. 11.3 Electrostatic Discharge Caution
    4. 11.4 术语表
  12. 12机械、封装和可订购信息

功能方框图

GUID-81252E7D-7961-44A6-BDCC-402E10A71F4D-low.gif