SSZT438 July   2019 DRV8231 , DRV8231A , DRV8251 , DRV8251A , DRV8870 , DRV8874 , DRV8876

 

  1.   1
  2.   2
    1.     3
    2.     Vacuum Robot Design Challenges
    3.     Additional Resources

Ranita Bera

Co-authored by Austin Coldiron

As the world becomes increasingly automated, cleaning the house with a regular, standing vacuum cleaner feels like a chore. Since the release of the first vacuum robot in 2002, there has been a dramatic increase in capabilities and available options for cleaning robots. In fact, many premium robotic vacuums are currently on their sixth generation.

What’s helping drive this change – both figuratively and literally – is a device that your modern vacuum robot would have no trouble picking up: a motor driver. And much like the household robotic helpers of today, motor drivers continue to decrease in size while increasing in performance.

In this article, we will review the main features and current trends in vacuum robots, and how motor drivers can help address those requirements.

Moving forward, vacuum robots are expected to become less clumsy (in other words, not as easily disoriented) and faster. Their designs will also continue to shrink, enabling them to clean tight spots such as under kitchen cabinets or low-clearance furniture.

Vacuum Robot Design Challenges

Two of the biggest design challenges for vacuum robots are battery life and reliability. Most vacuum robots are battery operated and charge from a power dock. Figure 1 is a typical block diagram for a vacuum robot.

GUID-EDDA4356-4290-4E7A-841C-2BBC3097E5E2-low.png Figure 1 Block Diagram for a Vacuum Robot

Motors are a big part of vacuum robots. How to drive the motor and what kind of motor drivers to use determines battery life and reliability.

Let’s review the main system blocks that control the majority of the power consumed in a vacuum robot, the main motors involved, and the system requirements that determine what kind of motor driver will control and reduce the power consumption:

  • The primary suction of a vacuum robot is accomplished with a motor that runs at 3 A to 4 A, typically with a peak current as high as 8 A. Efficiency and full protection are important requirements. A brushless motor driver typically drives this motor in order to reduce noise and increase efficiency.
  • The two bidirectional wheels use brushed motor drivers. Earlier models only moved in one direction, but bidirectional wheels are extremely useful in detangling a robot or enabling it to change direction from a difficult spot. These are low-speed motors with a typical root-mean-square (RMS) current rating of <1 A. Good torque is necessary to move over rougher floor types such as carpet compared to smooth tile or hardwood floors. Another key requirement is to monitor the output current and send feedback to the microcontroller (MCU) if the current is high for an extended amount of time, which could indicate that the vacuum robot is stuck.
  • The main brush uses a brushed motor that sits in the center of the vacuum robot for agitating and pulling dirt off the floor. This is a medium-speed motor with a high RMS current rating of approximately 3 A.
  • Depending on the type of vacuum robot and the brand, there may be one or two unidirectional side brushes operating at medium speeds. These side brushes drive dirt to the main brush by rotating inwards toward the center of the robot. The RMS current rating is <1 A.

Most of the motors we’ve mentioned are brushed motors with an RMS current rating from 1 A to 3 A, as shown in Figure 2, including several TI brushed and brushless motor drivers.

In earlier generations of vacuum robots, external current sensing across shunt resistors handled the monitoring and sensing of the output current. These shunt resistors were bulky, expensive and took up a lot of board footprint. Using external bulky high-value shunt resistors also increased power consumption and thus reduced the robot’s battery life.

GUID-970EDD96-0E33-4B93-A13C-925C2EB1210D-low.png Figure 2 Motors and Motor Drivers in Vacuum Robots

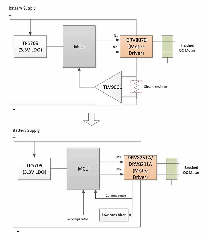
Figure 3 shows a block diagram of an early generation of vacuum robots where the DRV8870 requires an external shunt resistor to sense current and an external amplifier to send feedback to the MCU. This requires extra board space, adds cost, and increases routing complexity and maintenance.

Replacing the DRV8870 with the DRV8251A or DRV8231A eliminates the need for sense resistors and amplifiers because the current sensing feedback occurs internally, as shown in Figure 3. The addition of current sensing also eliminates the need for an external gain amplifier for feedback.

The low sleep current of these devices and the absence of a bulky shunt resistor can help reduce power consumption and increase battery life for vacuum robots, while internal current sensing enables active stall monitoring to determine whether the motor is stuck at a location, or if there is aging or wear and tear on the wheels. To learn more about internal current sensing and the IPROPI pin refer to the DRV8251A technical data sheet and the application brief, "Advantages of Integrated Current Sensing."

GUID-F2A9F59C-18E4-4800-AF14-92FC1BB2ECA8-low.jpg Figure 3 Examples of Driving a Bidirectional Motor, Replacing the DRV8870 with the DRV8251A or DRV8231A

Figure 4 shows the reduction in the size of the shunt resistors between the DRV8870 and the DRV8251A or DRV8231A.

GUID-02DDF5D1-1D85-4ECC-8D2F-DA1159F49870-low.png Figure 4 Board Size with External Shunt Resistor (Left) Compared to Integrated Current Sensing (Right)

If the motor needs to be bidirectional (like in the wheel or the main brush motor), then the drivers need two inputs (IN1 and IN2) to drive the motor using two MCU pins.

If you need a driver for a unidirectional side brush, the DRV8874 and DRV8876 require just one input pin (the EN pin), leading to a reduction of MCU pins, as shown in Figure 5. The DRV8874 and DRV8876 are pin-to-pin compatible with varying peak currents of 6 A and 3.5 A, respectively.

GUID-55C20515-DF9A-4C9A-9D95-11E16899ED72-low.png Figure 5 Driving a Unidirectional Motor with the DRV8874 or DRV8876

TI’s DRV8251A, DRV8231A, DRV8874 and DRV8876 H-bridge brushless-DC drivers address the need for longer battery life, higher reliability and smaller size. With integrated current sensing, these devices eliminate the need for external shunt resistors, helping save bill-of-materials cost, board space and power consumption, and reducing the overall design effort.

Additional Resources