ZHCSC55A January 2014 – March 2014 UCD9244-EP
PRODUCTION DATA.
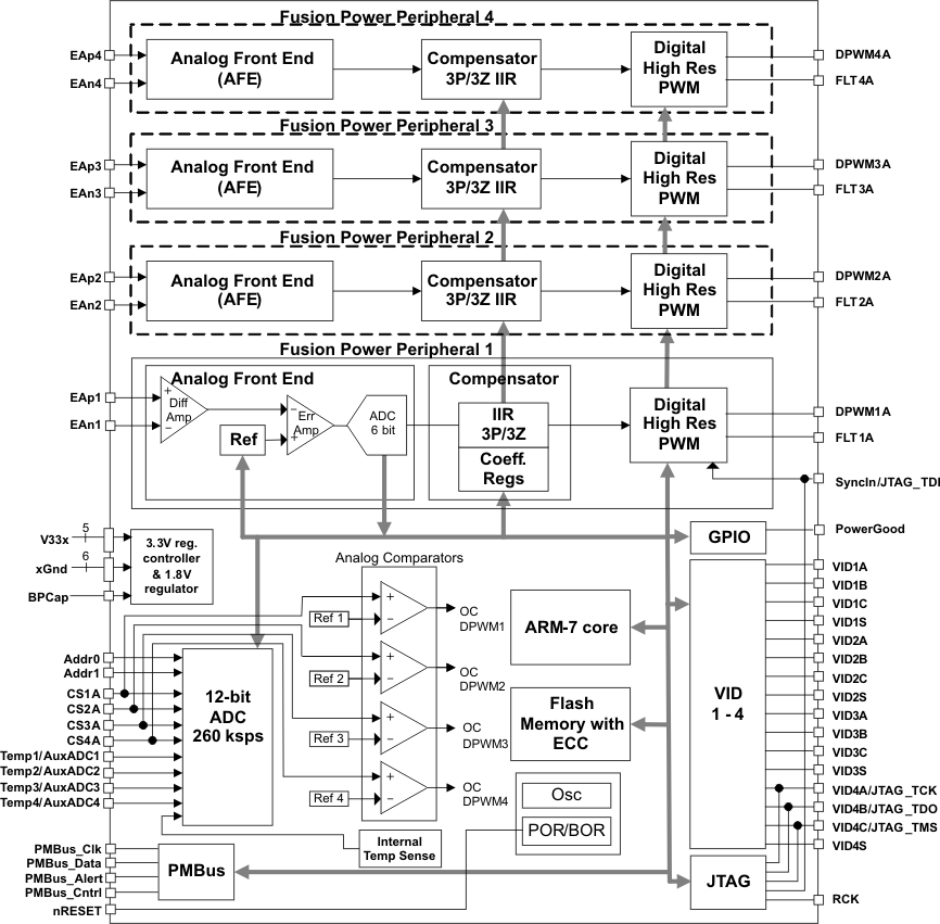
UCD9244 是一款设计用于非隔离式直流/直流电源应用的四轨同步降压数字 PWM 控制器。 这个器件集成了用于直流/直流环路管理的专用电路,支持多达四个 VID 接口。 此外,UCD9244 具有闪存存储器和一个串口以支持可配置性、监控和管理。
| 订货编号 | 封装 | 封装尺寸 |
|---|---|---|
| UCD9244MRGCTEP | 四方扁平无引线 (QFN) (64) | 9mm x 9mm |

Changes from * Revision (January 2014) to A Revision