ZHCS889Q June 2007 – August 2022 TMS320F28232 , TMS320F28232-Q1 , TMS320F28234 , TMS320F28234-Q1 , TMS320F28235 , TMS320F28235-Q1 , TMS320F28332 , TMS320F28333 , TMS320F28334 , TMS320F28335 , TMS320F28335-Q1
PRODUCTION DATA
请参考 PDF 数据表获取器件具体的封装图。
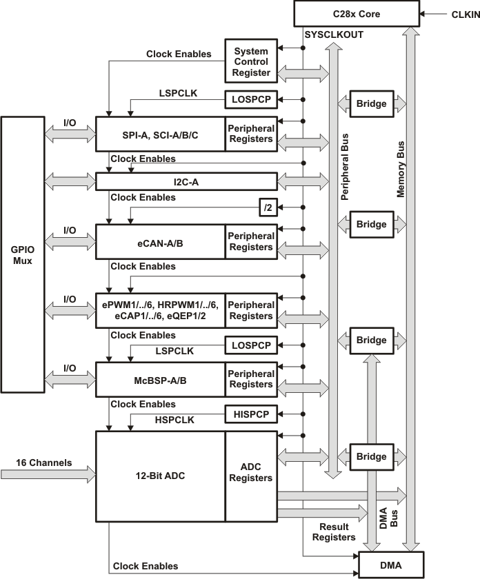
本部分介绍了振荡器、PLL 和时钟机制、看门狗功能以及低功耗模式。图 8-29 显示了所讨论的各种时钟域和复位阈。

从写入 PCLKCR0,PCLKCR1,和 PCLKCR2 寄存器(启用外设时钟)发生到操作有效,有两个 SYSCLKOUT 周期延迟。在尝试访问外设配置寄存器之前,必须将该延迟考虑在内。
PLL,计时,看门狗和低功率模式由表 8-35中列出的寄存器控制。
| 名称 | 地址 | 大小 (x16) | 说明 |
|---|---|---|---|
| PLLSTS | 0x00 7011 | 1 | PLL 状态寄存器 |
| 保留 | 0x00 7012-0x00 7018 | 7 | 保留 |
| 保留 | 0x00 7019 | 1 | 保留 |
| HISPCP | 0x00 701A | 1 | 高速外设时钟预分频器寄存器 |
| LOSPCP | 0x00 701B | 1 | 低速外设时钟预分频器寄存器 |
| PCLKCR0 | 0x00 701C | 1 | 外设时钟控制寄存器 0 |
| PCLKCR1 | 0x00 701D | 1 | 外设时钟控制寄存器 1 |
| LPMCR0 | 0x00 701E | 1 | 低功耗模式控制寄存器 0 |
| 保留 | 0x00 701F | 1 | 保留 |
| PCLKCR3 | 0x00 7020 | 1 | 外设时钟控制寄存器 3 |
| PLLCR | 0x00 7021 | 1 | PLL 控制寄存器 |
| SCSR | 0x00 7022 | 1 | 系统控制与状态寄存器 |
| WDCNTR | 0x00 7023 | 1 | 看门狗计数器寄存器 |
| 保留 | 0x00 7024 | 1 | 保留 |
| WDKEY | 0x00 7025 | 1 | 看门狗复位密钥寄存器 |
| 保留 | 0x00 7026-0x00 7028 | 3 | 保留 |
| WDCR | 0x00 7029 | 1 | 看门狗控制寄存器 |
| 保留 | 0x00 702A–0x00 702D | 4 | 保留 |
| MAPCNF | 0x00 702E | 1 | EPWM/HRPWM 重新映射寄存器 |