ZHCS889Q June   2007  – August 2022 TMS320F28232 , TMS320F28232-Q1 , TMS320F28234 , TMS320F28234-Q1 , TMS320F28235 , TMS320F28235-Q1 , TMS320F28332 , TMS320F28333 , TMS320F28334 , TMS320F28335 , TMS320F28335-Q1

PRODUCTION DATA  

  1. 特性
  2. 应用
  3. 说明
    1. 3.1 功能方框图
  4. 修订历史记录
  5. 器件比较
    1. 5.1 相关产品
  6. 终端配置和功能
    1. 6.1 引脚图
    2. 6.2 信号说明
  7. 规格
    1. 7.1  绝对最大额定值
    2. 7.2  ESD 等级 - 汽车
    3. 7.3  ESD 等级 - 商用
    4. 7.4  建议运行条件
    5. 7.5  功耗摘要
      1. 7.5.1 SYSCLKOUT 150MHz 时 TMS320F28335/F28235 电源引脚的流耗
      2. 7.5.2 SYSCLKOUT 为 150MHz 时TMS320F28334/F28234 电源引脚的流耗
      3. 7.5.3 减少电流消耗
      4. 7.5.4 电流消耗图
    6. 7.6  电气特性
    7. 7.7  热阻特征
      1. 7.7.1 PGF 封装
      2. 7.7.2 PTP 封装
      3. 7.7.3 ZHH 封装
      4. 7.7.4 ZAY 封装
      5. 7.7.5 ZJZ 封装
    8. 7.8  散热设计注意事项
    9. 7.9  时序和开关特性
      1. 7.9.1 时序参数符号
        1. 7.9.1.1 定时参数的通用注释
        2. 7.9.1.2 测试负载电路
        3. 7.9.1.3 器件时钟表
          1. 7.9.1.3.1 计时和命名规则(150MHz 器件)
          2. 7.9.1.3.2 计时和命名规则(100MHz 器件)
      2. 7.9.2 电源时序
        1. 7.9.2.1 电源管理和监控电路解决方案
        2. 7.9.2.2 复位 (XRS) 序要求
      3. 7.9.3 时钟要求和特性
        1. 7.9.3.1 输入时钟频率
        2. 7.9.3.2 XCLKIN时序要求- PLL 被启用
        3. 7.9.3.3 XCLKIN时序要求- PLL 被禁用
        4. 7.9.3.4 XCLKOUT 开关特征(旁路或启用 PLL)
        5. 7.9.3.5 时序图
      4. 7.9.4 外设
        1. 7.9.4.1 通用输入/输出(GPIO)
          1. 7.9.4.1.1 GPIO - 输出时序
            1. 7.9.4.1.1.1 通用输出开关特性
          2. 7.9.4.1.2 GPIO - 输入时序
            1. 7.9.4.1.2.1 通用输入时序要求
          3. 7.9.4.1.3 输入信号的采样窗口宽度
          4. 7.9.4.1.4 低功耗模式唤醒时序
            1. 7.9.4.1.4.1 空闲模式时序要求
            2. 7.9.4.1.4.2 空闲模式开关特性
            3. 7.9.4.1.4.3 空闲模式时序图
            4. 7.9.4.1.4.4 待机模式时序要求
            5. 7.9.4.1.4.5 待机模式开关特征
            6. 7.9.4.1.4.6 待机模式时序要求
            7. 7.9.4.1.4.7 停机模式时序要求
            8. 7.9.4.1.4.8 HALT 模式开关特性
            9. 7.9.4.1.4.9 停机模式时序图
        2. 7.9.4.2 增强型控制外设
          1. 7.9.4.2.1 增强型脉宽调制器 (ePWM) 时序
            1. 7.9.4.2.1.1 ePWM 时序要求
            2. 7.9.4.2.1.2 ePWM 开关特征
          2. 7.9.4.2.2 跳变区输入时序
            1. 7.9.4.2.2.1 跳闸区域输入时序要求
          3. 7.9.4.2.3 高分辨率 PWM 时序
            1. 7.9.4.2.3.1 在 SYSCLKOUT=(60150-150300MHz) 时,高分辨率 PWM 特性
          4. 7.9.4.2.4 增强型捕捉 (eCAP) 时序
            1. 7.9.4.2.4.1 增强型捕捉 (eCAP) 时序要求
            2. 7.9.4.2.4.2 eCAP 开关特征
          5. 7.9.4.2.5 增强型正交编码器脉冲 (eQEP) 时序
            1. 7.9.4.2.5.1 增强型正交编码器脉冲 (eQEP) 时序要求
            2. 7.9.4.2.5.2 eQEP 开关特性
          6. 7.9.4.2.6 ADC 转换开始时序
            1. 7.9.4.2.6.1 外部 ADC 转换开始开关特性
            2. 7.9.4.2.6.2 ADCSOCAO 或者 ADCSOCBO 时序
        3. 7.9.4.3 外部中断时序
          1. 7.9.4.3.1 外部中断时序要求
          2. 7.9.4.3.2 外部中断开关特征
          3. 7.9.4.3.3 外部中断时序要求
        4. 7.9.4.4 I2C 电气特性和时序
          1. 7.9.4.4.1 I2C 时序
        5. 7.9.4.5 串行外设接口 (SPI) 模块
          1. 7.9.4.5.1 主模式时序
            1. 7.9.4.5.1.1 SPI 主模式外部时序(时钟相位 = 0)
            2. 7.9.4.5.1.2 SPI 主模式外部时序(时钟相位 = 1)
          2. 7.9.4.5.2 从模式时序
            1. 7.9.4.5.2.1 SPI 从模式外部时序(时钟相位 = 0)
            2. 7.9.4.5.2.2 SPI 从模式外部时序(时钟相位 = 1)
        6. 7.9.4.6 多通道缓冲串行端口 (McBSP) 模块
          1. 7.9.4.6.1 McBSP 传输和接收时序
            1. 7.9.4.6.1.1 McBSP 时序要求
            2. 7.9.4.6.1.2 McBSP 开关特征
          2. 7.9.4.6.2 McBSP 作为 SPI 主器件或从器件时序
            1. 7.9.4.6.2.1 McBSP 作为 SPI 主器件或从器件时的时序要求(CLKSTP=10b,CLKXP=0)
            2. 7.9.4.6.2.2 McBSP 作为 SPI 主控或者受控开关特性 (CLKSTP=10b,CLKXP=0)
            3. 7.9.4.6.2.3 McBSP 作为 SPI 主器件或从器件时的时序要求(CLKSTP=11b,CLKXP=0)
            4. 7.9.4.6.2.4 McBSP 作为 SPI 主控或者受控开关特性 (CLKSTP= 11b,CLKXP= 0)
            5. 7.9.4.6.2.5 McBSP 作为 SPI 主器件或从器件时的时序要求(CLKSTP= 10b,CLKXP= 1)
            6. 7.9.4.6.2.6 McBSP 作为 SPI 主控或者受控开关特性 (CLKSTP= 10b,CLKXP= 1)
            7. 7.9.4.6.2.7 McBSP 作为 SPI 主器件或从器件时的时序要求(CLKSTP= 11b,CLKXP= 1)
            8. 7.9.4.6.2.8 McBSP 作为 SPI 主器件或从器件开关特性(CLKSTP= 11b,CLKXP= 1)
      5. 7.9.5 无信号缓冲情况下 MCU 与 JTAG 调试探针的连接
      6. 7.9.6 外部接口 (XINTF) 时序
        1. 7.9.6.1 USEREADY = 0
        2. 7.9.6.2 同步模式 (USEREADY=1,READYMODE=0)
        3. 7.9.6.3 异步模式 (USEREADY=1,READYMODE=1)
        4. 7.9.6.4 XINTF 信号与 XCLKOUT 一致
        5. 7.9.6.5 外部接口读取时序
          1. 7.9.6.5.1 外部存储器接口读取时序要求
          2. 7.9.6.5.2 外部内存接口读取开关特性
        6. 7.9.6.6 外部接口写入时序
          1. 7.9.6.6.1 外部存储器接口写入开关特性
        7. 7.9.6.7 带有一个外部等待状态的外部接口读取准备就绪时序
          1. 7.9.6.7.1 外部接口读取开关特性(读取准备就绪,1 个等待状态)
          2. 7.9.6.7.2 外部接口读取时序要求(读取准备就绪,1 个等待状态)
          3. 7.9.6.7.3 同步 XREADY 时序要求(读取准备就绪,1 个等待状态)
          4. 7.9.6.7.4 异步 XREADY 时序要求(读取准备就绪,1 个等待状态)
        8. 7.9.6.8 带有一个外部等待状态的外部接口写入准备就绪时序
          1. 7.9.6.8.1 外部接口写入开关特性(写入准备就绪,1 个等待状态)
          2. 7.9.6.8.2 同步 XREADY 时序要求(写入准备就绪,1 个等待状态)
          3. 7.9.6.8.3 异步 XREADY 时序要求(写入准备就绪,1 个等待状态)
        9. 7.9.6.9 XHOLD 和 XHOLDA 时序
          1. 7.9.6.9.1 XHOLD/ XHOLDA 时序要求 (XCLKOUT = XTIMCLK)
          2. 7.9.6.9.2 XHOLD/XHOLDA时序要求 (XCLKOUT = 1/2 XTIMCLK)
      7. 7.9.7 闪存定时
        1. 7.9.7.1 A 和 S 温度材料的闪存耐久性
        2. 7.9.7.2 Q 温度材料的闪存耐久性
        3. 7.9.7.3 150MHz SYSCLKOUT 上的闪存参数:
        4. 7.9.7.4 闪存 / OTP 访问时序
        5. 7.9.7.5 闪存数据保持持续时间
    10. 7.10 片载模数转换器
      1. 7.10.1 ADC 电气特性(在推荐的工作条件下测得)
      2. 7.10.2 ADC 加电控制位时序
        1. 7.10.2.1 ADC 加电延迟
        2. 7.10.2.2 不同 ADC 配置的典型电流消耗(在 25MHz ADCCLK 条件下)
      3. 7.10.3 定义
      4. 7.10.4 顺序采样模式(单通道) (SMODE = 0)
        1. 7.10.4.1 顺序采样模式时序
      5. 7.10.5 同步采样模式(双通道)(SMODE=1)
        1. 7.10.5.1 同步采样模式时序
      6. 7.10.6 详细说明
    11. 7.11 F2833x 器件和 F2823x 器件之间的迁移
  8. 详细说明
    1. 8.1 简要说明
      1. 8.1.1  C28x CPU
      2. 8.1.2  内存总线(哈弗总线架构)
      3. 8.1.3  外设总线
      4. 8.1.4  实时 JTAG 和分析
      5. 8.1.5  外部接口(XINTF)
      6. 8.1.6  闪存
      7. 8.1.7  M0,M1 SARAM
      8. 8.1.8  L0, L1, L2, L3, L4, L5, L6, L7, H0, H1, H2, H3, H4, H5SARAM
      9. 8.1.9  引导 ROM
        1. 8.1.9.1 引导加载器使用的外设引脚
      10. 8.1.10 安全性
      11. 8.1.11 外设中断扩展 (PIE) 块
      12. 8.1.12 外部中断 (XINT1-XINT7,XNMI)
      13. 8.1.13 振荡器和锁相环 (PLL)
      14. 8.1.14 看门狗
      15. 8.1.15 外设时钟
      16. 8.1.16 低功耗模式
      17. 8.1.17 外设帧 0,1,2,3 (PFn)
      18. 8.1.18 通用输入/输出 (GPIO) 复用器
      19. 8.1.19 32 位 CPU 计时器 (0,1,2)
      20. 8.1.20 控制外设
      21. 8.1.21 串行端口外设
    2. 8.2 外设
      1. 8.2.1  DMA 概述
      2. 8.2.2  32 位 CPU 计时器 0,CPU 计时器 1,CPU 计时器 2
      3. 8.2.3  增强型 PWM 模块
      4. 8.2.4  高分辨率 PWM (HRPWM)
      5. 8.2.5  增强型 CAP 模块
      6. 8.2.6  增强型 QEP 模块
      7. 8.2.7  模数转换器 (ADC) 模块
        1. 8.2.7.1 如果 ADC 未被使用,ADC 连接
        2. 8.2.7.2 ADC 寄存器
        3. 8.2.7.3 ADC 校准
      8. 8.2.8  多通道缓冲串行端口 (McBSP) 模块
      9. 8.2.9  增强型控制器局域网 (eCAN) 模块(eCAN-A 和 eCAN-B)
      10. 8.2.10 串行通信接口 (SCI) 模块 (SCI-A,SCI-B,SCI-C)
      11. 8.2.11 串行外设接口 (SPI) 模块(SPI-A)
      12. 8.2.12 内部集成电路 (I2C)
      13. 8.2.13 GPIO MUX
      14. 8.2.14 外部接口 (XINTF)
    3. 8.3 内存映射
    4. 8.4 寄存器映射
      1. 8.4.1 器件仿真寄存器
    5. 8.5 中断
      1. 8.5.1 外部中断
    6. 8.6 系统控制
      1. 8.6.1 OSC 和 PLL 块
        1. 8.6.1.1 外部基准振荡器时钟选项
        2. 8.6.1.2 基于 PLL 的时钟模块
        3. 8.6.1.3 输入时钟损失
      2. 8.6.2 看门狗块
    7. 8.7 低功率模式块
  9. 应用、实现和布局
    1. 9.1 TI 参考设计
  10. 10器件和文档支持
    1. 10.1 入门和后续步骤
    2. 10.2 器件和开发支持工具命名规则
    3. 10.3 工具与软件
    4. 10.4 文档支持
    5. 10.5 支持资源
    6. 10.6 商标
    7. 10.7 Electrostatic Discharge Caution
    8. 10.8 术语表
  11. 11机械、封装和可订购信息
    1. 11.1 封装重新设计详情
    2. 11.2 封装信息

封装选项

请参考 PDF 数据表获取器件具体的封装图。

机械数据 (封装 | 引脚)
  • PGF|176
  • PTP|176
散热焊盘机械数据 (封装 | 引脚)
订购信息

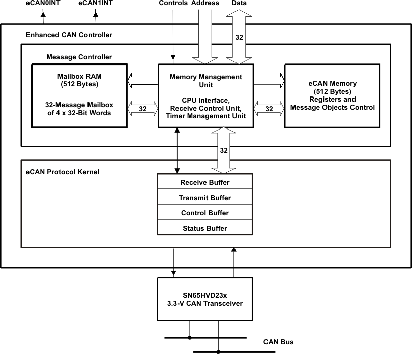
增强型控制器局域网 (eCAN) 模块(eCAN-A 和 eCAN-B)

CAN 模块有下列特性:

  • 完全符合 ISO 11898-1 (CAN 2.0B)
  • 支持高达 1Mbps 的数据速率
  • 32 个邮箱,每一个邮箱都具有下列属性:
    • 可配置为接收或者发送
    • 可使用标准或者扩展标识符进行配置
    • 具有一个可编程接收掩码
    • 支持数据和远程帧
    • 由 0 至 8 字节数据组成
    • 在接收和发送消息上使用一个 32 位时间戳
    • 防止接收新消息
    • 保持发送消息的动态可编程优先级
    • 采用具有两个中断级别的可编程中断机制
    • 采用针对发送或接收超时的可编程警报
  • 低功耗模式
  • 总线活动上的可编程唤醒
  • 针对远程请求消息的自动答复
  • 丢失仲裁或者错误情况下的帧自动重传
  • 通过一个特定消息实现同步的 32 位本地网络时间计数器(与邮箱 16 协同通信)
  • 自测模式
    • 在接收其自身消息的回路模式下运行。提供一个“假”应答,从而无需由另外节点提供应答位。

注:

对于 100MHz 的 SYSCLKOUT,最小可能的比特率为 7.812kbps。

对于 150MHz 的 SYSCLKOUT,最小可能的比特率为 11.719kbps。

F2833x/F2823xCAN 已经通过了 ISO/DIS 16845 的符合性测试。测试报告和例外情况请与 TI 联系。

GUID-F86AE1DA-F17B-43CF-90B2-38C19FD1CFAD-low.gif图 8-12 eCAN 方框图和接口电路
表 8-10 3.3V eCAN 收发器
器件型号 电源电压 低功耗
模式
斜率
控制
VREF 其它 TA
SN65HVD230 3.3V 待机 可调节 - -40°C 至 85°C
SN65HVD230Q 3.3V 待机 可调节 - -40°C 至 125°C
SN65HVD231 3.3V 睡眠 可调节 - -40°C 至 85°C
SN65HVD231Q 3.3V 睡眠 可调节 - -40°C 至 125°C
SN65HVD232 3.3V - -40°C 至 85°C
SN65HVD232Q 3.3V - -40°C 至 125°C
SN65HVD233 3.3V 待机 可调节 诊断回路 -40°C 至 125°C
SN65HVD234 3.3V 待机和睡眠 可调节 - -40°C 至 125°C
SN65HVD235 3.3V 待机 可调节 自动波特率回路 -40°C 至 125°C
GUID-EA6A1606-8B87-481A-BA46-D41BC45B8BAE-low.gif图 8-13 eCAN-A 内存映射
注:

如果 eCAN 模块未在应用中使用,提供的 RAM(LAM、MOTS、MOTO 和邮箱 RAM)可用作通用 RAM。为实现这一功能,CAN 模块时钟应被启用。

GUID-3735A02D-7F45-42FD-9F4E-46168E452538-low.gif图 8-14 eCAN-B 内存映射

CPU 使用表 8-11 中列出的 CAN 寄存器来配置和控制 CAN 控制器及消息对象。eCAN 控制寄存器仅支持 32 位读/写操作。可对邮箱 RAM 进行 16 位或 32 位访问。32 位访问与一个偶数边界对齐。

表 8-11 CAN 寄存器映射
寄存器
名称(1)
eCAN-A
地址
eCAN-B
地址
大小
(x32)
说明
CANME0x60000x62001邮箱启用
CANMD0x60020x62021邮箱方向
CANTRS0x60040x62041发送请求设定
CANTRR0x60060x62061发送请求复位
CANTA0x60080x62081传输应答
CANAA0x600A0x620A1中止应答
CANRMP0x600C0x620C1接收消息等待
CANRML0x600E0x620E1接收消息丢失
CANRFP0x60100x62101远程帧等待
CANGAM0x60120x62121全局接受屏蔽
CANMC0x60140x62141主器件控制
CANBTC0x60160x62161位时序配置
CANES0x60180x62181错误和状态
CANTEC0x601A0x621A1发送错误计数器
CANREC0x601C0x621C1接收错误计数器
CANGIF00x601E0x621E1全局中断标志 0
CANGIM0x60200x62201全局中断屏蔽
CANGIF10x60220x62221全局中断标志 1
CANMIM0x60240x62241邮箱中断屏蔽
CANMIL0x60260x62261邮箱中断级别
CANOPC0x60280x62281写覆盖保护控制
CANTIOC0x602A0x622A1TX I/O 控制
CANRIOC0x602C0x622C1RX I/O 控制
CANTSC0x602E0x622E1时间戳计数器(保留在 SCC 模式中)
CANTOC0x60300x62301超时控制(保留在 SCC 模式中)
CANTOS0x60320x62321超时状态(保留在 SCC 模式中)
这些寄存器被映射至外设帧 1。