ZHCS898O October   2003  – March 2019 TMS320F2801 , TMS320F28015 , TMS320F28016 , TMS320F2802 , TMS320F2806 , TMS320F2808 , TMS320F2809

PRODUCTION DATA.  

  1. 1器件概述
    1. 1.1 特性
    2. 1.2 应用
    3. 1.3 说明
    4. 1.4 功能方框图
  2. 2修订历史记录
  3. 3Device Comparison
    1. 3.1 Related Products
  4. 4Terminal Configuration and Functions
    1. 4.1 Pin Diagrams
    2. 4.2 Signal Descriptions
  5. 5Specifications
    1. 5.1  Absolute Maximum Ratings
    2. 5.2  ESD Ratings – Automotive
    3. 5.3  ESD Ratings – Commercial
    4. 5.4  Recommended Operating Conditions
    5. 5.5  Power Consumption Summary
      1. Table 5-1 TMS320F2809, TMS320F2808 Current Consumption by Power-Supply Pins at 100-MHz SYSCLKOUT
      2. Table 5-2 TMS320F2806 Current Consumption by Power-Supply Pins at 100-MHz SYSCLKOUT
      3. Table 5-3 TMS320F2802, TMS320F2801 Current Consumption by Power-Supply Pins at 100-MHz SYSCLKOUT
      4. Table 5-4 TMS320C2802, TMS320C2801 Current Consumption by Power-Supply Pins at 100-MHz SYSCLKOUT
      5. 5.5.1     Reducing Current Consumption
      6. 5.5.2     Current Consumption Graphs
    6. 5.6  Electrical Characteristics
    7. 5.7  Thermal Resistance Characteristics for F280x 100-Ball GGM Package
    8. 5.8  Thermal Resistance Characteristics for F280x 100-Pin PZ Package
    9. 5.9  Thermal Resistance Characteristics for C280x 100-Ball GGM Package
    10. 5.10 Thermal Resistance Characteristics for C280x 100-Pin PZ Package
    11. 5.11 Thermal Resistance Characteristics for F2809 100-Ball GGM Package
    12. 5.12 Thermal Resistance Characteristics for F2809 100-Pin PZ Package
    13. 5.13 Thermal Design Considerations
    14. 5.14 Timing and Switching Characteristics
      1. 5.14.1 Timing Parameter Symbology
        1. 5.14.1.1 General Notes on Timing Parameters
        2. 5.14.1.2 Test Load Circuit
        3. 5.14.1.3 Device Clock Table
          1. Table 5-6 TMS320x280x Clock Table and Nomenclature (100-MHz Devices)
          2. Table 5-7 TMS320x280x/2801x Clock Table and Nomenclature (60-MHz Devices)
      2. 5.14.2 Power Sequencing
        1. Table 5-8 Reset (XRS) Timing Requirements
      3. 5.14.3 Clock Requirements and Characteristics
        1. Table 5-9  Input Clock Frequency
        2. Table 5-10 XCLKIN Timing Requirements - PLL Enabled
        3. Table 5-11 XCLKIN Timing Requirements - PLL Disabled
        4. Table 5-12 XCLKOUT Switching Characteristics (PLL Bypassed or Enabled)
      4. 5.14.4 Peripherals
        1. 5.14.4.1 General-Purpose Input/Output (GPIO)
          1. 5.14.4.1.1 GPIO - Output Timing
            1. Table 5-13 General-Purpose Output Switching Characteristics
          2. 5.14.4.1.2 GPIO - Input Timing
            1. Table 5-14 General-Purpose Input Timing Requirements
          3. 5.14.4.1.3 Sampling Window Width for Input Signals
          4. 5.14.4.1.4 Low-Power Mode Wakeup Timing
            1. Table 5-15 IDLE Mode Timing Requirements
            2. Table 5-16 IDLE Mode Switching Characteristics
            3. Table 5-17 STANDBY Mode Timing Requirements
            4. Table 5-18 STANDBY Mode Switching Characteristics
            5. Table 5-19 HALT Mode Timing Requirements
            6. Table 5-20 HALT Mode Switching Characteristics
        2. 5.14.4.2 Enhanced Control Peripherals
          1. 5.14.4.2.1 Enhanced Pulse Width Modulator (ePWM) Timing
            1. Table 5-21 ePWM Timing Requirements
            2. Table 5-22 ePWM Switching Characteristics
          2. 5.14.4.2.2 Trip-Zone Input Timing
            1. Table 5-23 Trip-Zone input Timing Requirements
          3. 5.14.4.2.3 High-Resolution PWM Timing
            1. Table 5-24 High-Resolution PWM Characteristics at SYSCLKOUT = 60–100 MHz
          4. 5.14.4.2.4 Enhanced Capture (eCAP) Timing
            1. Table 5-25 Enhanced Capture (eCAP) Timing Requirement
            2. Table 5-26 eCAP Switching Characteristics
          5. 5.14.4.2.5 Enhanced Quadrature Encoder Pulse (eQEP) Timing
            1. Table 5-27 Enhanced Quadrature Encoder Pulse (eQEP) Timing Requirements
            2. Table 5-28 eQEP Switching Characteristics
          6. 5.14.4.2.6 ADC Start-of-Conversion Timing
            1. Table 5-29 External ADC Start-of-Conversion Switching Characteristics
        3. 5.14.4.3 External Interrupt Timing
          1. Table 5-30 External Interrupt Timing Requirements
          2. Table 5-31 External Interrupt Switching Characteristics
        4. 5.14.4.4 I2C Electrical Specification and Timing
          1. Table 5-32 I2C Timing
        5. 5.14.4.5 Serial Peripheral Interface (SPI) Timing
          1. 5.14.4.5.1 SPI Master Mode Timing
            1. Table 5-33 SPI Master Mode External Timing (Clock Phase = 0)
            2. Table 5-34 SPI Master Mode External Timing (Clock Phase = 1)
          2. 5.14.4.5.2 SPI Slave Mode Timing
            1. Table 5-35 SPI Slave Mode External Timing (Clock Phase = 0)
            2. Table 5-36 SPI Slave Mode External Timing (Clock Phase = 1)
      5. 5.14.5 Emulator Connection Without Signal Buffering for the DSP
      6. 5.14.6 Flash Timing
        1. Table 5-37 Flash Endurance for A and S Temperature Material
        2. Table 5-38 Flash Endurance for Q Temperature Material
        3. Table 5-39 Flash Parameters at 100-MHz SYSCLKOUT
        4. Table 5-40 Flash/OTP Access Timing
        5. Table 5-41 Flash Data Retention Duration
    15. 5.15 On-Chip Analog-to-Digital Converter
      1. Table 5-43 ADC Electrical Characteristics
      2. 5.15.1     ADC Power-Up Control Bit Timing
        1. Table 5-44 ADC Power-Up Delays
        2. Table 5-45 Current Consumption for Different ADC Configurations (at 12.5-MHz ADCCLK)
      3. 5.15.2     Definitions
      4. 5.15.3     Sequential Sampling Mode (Single-Channel) (SMODE = 0)
        1. Table 5-46 Sequential Sampling Mode Timing
      5. 5.15.4     Simultaneous Sampling Mode (Dual-Channel) (SMODE = 1)
        1. Table 5-47 Simultaneous Sampling Mode Timing
      6. 5.15.5     Detailed Descriptions
    16. 5.16 Migrating From F280x Devices to C280x Devices
      1. 5.16.1 Migration Issues
    17. 5.17 ROM Timing (C280x only)
      1. Table 5-48 ROM/OTP Access Timing
  6. 6Detailed Description
    1. 6.1 Brief Descriptions
      1. 6.1.1  C28x CPU
      2. 6.1.2  Memory Bus (Harvard Bus Architecture)
      3. 6.1.3  Peripheral Bus
      4. 6.1.4  Real-Time JTAG and Analysis
      5. 6.1.5  Flash
      6. 6.1.6  ROM
      7. 6.1.7  M0, M1 SARAMs
      8. 6.1.8  L0, L1, H0 SARAMs
      9. 6.1.9  Boot ROM
      10. 6.1.10 Security
      11. 6.1.11 Peripheral Interrupt Expansion (PIE) Block
      12. 6.1.12 External Interrupts (XINT1, XINT2, XNMI)
      13. 6.1.13 Oscillator and PLL
      14. 6.1.14 Watchdog
      15. 6.1.15 Peripheral Clocking
      16. 6.1.16 Low-Power Modes
      17. 6.1.17 Peripheral Frames 0, 1, 2 (PFn)
      18. 6.1.18 General-Purpose Input/Output (GPIO) Multiplexer
      19. 6.1.19 32-Bit CPU-Timers (0, 1, 2)
      20. 6.1.20 Control Peripherals
      21. 6.1.21 Serial Port Peripherals
    2. 6.2 Peripherals
      1. 6.2.1  32-Bit CPU-Timers 0/1/2
      2. 6.2.2  Enhanced PWM Modules (ePWM1/2/3/4/5/6)
      3. 6.2.3  Hi-Resolution PWM (HRPWM)
      4. 6.2.4  Enhanced CAP Modules (eCAP1/2/3/4)
      5. 6.2.5  Enhanced QEP Modules (eQEP1/2)
      6. 6.2.6  Enhanced Analog-to-Digital Converter (ADC) Module
        1. 6.2.6.1 ADC Connections if the ADC Is Not Used
        2. 6.2.6.2 ADC Registers
      7. 6.2.7  Enhanced Controller Area Network (eCAN) Modules (eCAN-A and eCAN-B)
      8. 6.2.8  Serial Communications Interface (SCI) Modules (SCI-A, SCI-B)
      9. 6.2.9  Serial Peripheral Interface (SPI) Modules (SPI-A, SPI-B, SPI-C, SPI-D)
      10. 6.2.10 Inter-Integrated Circuit (I2C)
      11. 6.2.11 GPIO MUX
    3. 6.3 Memory Maps
    4. 6.4 Register Map
      1. 6.4.1 Device Emulation Registers
    5. 6.5 Interrupts
      1. 6.5.1 External Interrupts
    6. 6.6 System Control
      1. 6.6.1 OSC and PLL Block
        1. 6.6.1.1 External Reference Oscillator Clock Option
        2. 6.6.1.2 PLL-Based Clock Module
        3. 6.6.1.3 Loss of Input Clock
      2. 6.6.2 Watchdog Block
    7. 6.7 Low-Power Modes Block
  7. 7Applications, Implementation, and Layout
    1. 7.1 TI Design or Reference Design
  8. 8器件和文档支持
    1. 8.1 开始使用
    2. 8.2 器件和开发支持工具命名规则
    3. 8.3 工具与软件
    4. 8.4 文档支持
    5. 8.5 相关链接
    6. 8.6 Community Resources
    7. 8.7 商标
    8. 8.8 静电放电警告
    9. 8.9 Glossary
  9. 9机械、封装和可订购信息
    1. 9.1 封装信息

封装选项

请参考 PDF 数据表获取器件具体的封装图。

机械数据 (封装 | 引脚)
  • PZ|100
散热焊盘机械数据 (封装 | 引脚)
订购信息

Serial Peripheral Interface (SPI) Modules (SPI-A, SPI-B, SPI-C, SPI-D)

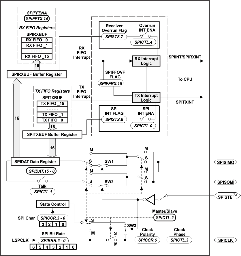
The 280x devices include the four-pin serial peripheral interface (SPI) module. Up to four SPI modules (SPI-A, SPI-B, SPI-C, and SPI-D) are available. The SPI is a high-speed, synchronous serial I/O port that allows a serial bit stream of programmed length (one to sixteen bits) to be shifted into and out of the device at a programmable bit-transfer rate. Normally, the SPI is used for communications between the DSP controller and external peripherals or another processor. Typical applications include external I/O or peripheral expansion through devices such as shift registers, display drivers, and ADCs. Multidevice communications are supported by the master/slave operation of the SPI.

The SPI module features include:

  • Four external pins:
    • SPISOMI: SPI slave-output/master-input pin
    • SPISIMO: SPI slave-input/master-output pin
    • SPISTE: SPI slave transmit-enable pin
    • SPICLK: SPI serial-clock pin

NOTE: All four pins can be used as GPIO, if the SPI module is not used.

  • Two operational modes: master and slave
  • Baud rate: 125 different programmable rates.

    TMS320F2809 TMS320F2808 TMS320F2806 TMS320F2802 TMS320F2801 TMS320C2802 TMS320C2801 TMS320F28016 TMS320F28015 q_spibrr_des_prs230.gif
  • Data word length: one to sixteen data bits
  • Four clocking schemes (controlled by clock polarity and clock phase bits) include:
    • Falling edge without phase delay: SPICLK active-high. SPI transmits data on the falling edge of the SPICLK signal and receives data on the rising edge of the SPICLK signal.
    • Falling edge with phase delay: SPICLK active-high. SPI transmits data one half-cycle ahead of the falling edge of the SPICLK signal and receives data on the falling edge of the SPICLK signal.
    • Rising edge without phase delay: SPICLK inactive-low. SPI transmits data on the rising edge of the SPICLK signal and receives data on the falling edge of the SPICLK signal.
    • Rising edge with phase delay: SPICLK inactive-low. SPI transmits data one half-cycle ahead of the rising edge of the SPICLK signal and receives data on the rising edge of the SPICLK signal.
  • Simultaneous receive and transmit operation (transmit function can be disabled in software)
  • Transmitter and receiver operations are accomplished through either interrupt-driven or polled algorithms.
  • Nine SPI module control registers: Located in control register frame beginning at address 7040h.
  • NOTE

    All registers in this module are 16-bit registers that are connected to Peripheral Frame 2. When a register is accessed, the register data is in the lower byte (7–0), and the upper byte (15–8) is read as zeros. Writing to the upper byte has no effect.

Enhanced feature:

  • 16-level transmit/receive FIFO
  • Delayed transmit control

The SPI port operation is configured and controlled by the registers listed in Table 6-11 through Table 6-14.

Table 6-11 SPI-A Registers

NAME ADDRESS SIZE (x16) DESCRIPTION(1)
SPICCR 0x7040 1 SPI-A Configuration Control Register
SPICTL 0x7041 1 SPI-A Operation Control Register
SPISTS 0x7042 1 SPI-A Status Register
SPIBRR 0x7044 1 SPI-A Baud Rate Register
SPIRXEMU 0x7046 1 SPI-A Receive Emulation Buffer Register
SPIRXBUF 0x7047 1 SPI-A Serial Input Buffer Register
SPITXBUF 0x7048 1 SPI-A Serial Output Buffer Register
SPIDAT 0x7049 1 SPI-A Serial Data Register
SPIFFTX 0x704A 1 SPI-A FIFO Transmit Register
SPIFFRX 0x704B 1 SPI-A FIFO Receive Register
SPIFFCT 0x704C 1 SPI-A FIFO Control Register
SPIPRI 0x704F 1 SPI-A Priority Control Register
Registers in this table are mapped to Peripheral Frame 2. This space only allows 16-bit accesses. 32-bit accesses produce undefined results.

Table 6-12 SPI-B Registers

NAME ADDRESS SIZE (x16) DESCRIPTION(1)
SPICCR 0x7740 1 SPI-B Configuration Control Register
SPICTL 0x7741 1 SPI-B Operation Control Register
SPISTS 0x7742 1 SPI-B Status Register
SPIBRR 0x7744 1 SPI-B Baud Rate Register
SPIRXEMU 0x7746 1 SPI-B Receive Emulation Buffer Register
SPIRXBUF 0x7747 1 SPI-B Serial Input Buffer Register
SPITXBUF 0x7748 1 SPI-B Serial Output Buffer Register
SPIDAT 0x7749 1 SPI-B Serial Data Register
SPIFFTX 0x774A 1 SPI-B FIFO Transmit Register
SPIFFRX 0x774B 1 SPI-B FIFO Receive Register
SPIFFCT 0x774C 1 SPI-B FIFO Control Register
SPIPRI 0x774F 1 SPI-B Priority Control Register
Registers in this table are mapped to Peripheral Frame 2. This space only allows 16-bit accesses. 32-bit accesses produce undefined results.

Table 6-13 SPI-C Registers

NAME ADDRESS SIZE (x16) DESCRIPTION(1)
SPICCR 0x7760 1 SPI-C Configuration Control Register
SPICTL 0x7761 1 SPI-C Operation Control Register
SPISTS 0x7762 1 SPI-C Status Register
SPIBRR 0x7764 1 SPI-C Baud Rate Register
SPIRXEMU 0x7766 1 SPI-C Receive Emulation Buffer Register
SPIRXBUF 0x7767 1 SPI-C Serial Input Buffer Register
SPITXBUF 0x7768 1 SPI-C Serial Output Buffer Register
SPIDAT 0x7769 1 SPI-C Serial Data Register
SPIFFTX 0x776A 1 SPI-C FIFO Transmit Register
SPIFFRX 0x776B 1 SPI-C FIFO Receive Register
SPIFFCT 0x776C 1 SPI-C FIFO Control Register
SPIPRI 0x776F 1 SPI-C Priority Control Register
Registers in this table are mapped to Peripheral Frame 2. This space only allows 16-bit accesses. 32-bit accesses produce undefined results.

Table 6-14 SPI-D Registers

NAME ADDRESS SIZE (x16) DESCRIPTION(1)
SPICCR 0x7780 1 SPI-D Configuration Control Register
SPICTL 0x7781 1 SPI-D Operation Control Register
SPISTS 0x7782 1 SPI-D Status Register
SPIBRR 0x7784 1 SPI-D Baud Rate Register
SPIRXEMU 0x7786 1 SPI-D Receive Emulation Buffer Register
SPIRXBUF 0x7787 1 SPI-D Serial Input Buffer Register
SPITXBUF 0x7788 1 SPI-D Serial Output Buffer Register
SPIDAT 0x7789 1 SPI-D Serial Data Register
SPIFFTX 0x778A 1 SPI-D FIFO Transmit Register
SPIFFRX 0x778B 1 SPI-D FIFO Receive Register
SPIFFCT 0x778C 1 SPI-D FIFO Control Register
SPIPRI 0x778F 1 SPI-D Priority Control Register
Registers in this table are mapped to Peripheral Frame 2. This space only allows 16-bit accesses. 32-bit accesses produce undefined results.

Figure 6-14 is a block diagram of the SPI in slave mode.

TMS320F2809 TMS320F2808 TMS320F2806 TMS320F2802 TMS320F2801 TMS320C2802 TMS320C2801 TMS320F28016 TMS320F28015 spi_prs230.gif
SPISTE is driven low by the master for a slave device.
Figure 6-14 SPI Module Block Diagram (Slave Mode)