ZHCSFE6A February   2013  – August 2016 TMS320DM369

PRODUCTION DATA.  

  1. 1TMS320DM369 数字媒体片上系统 (DMSoC)
    1. 1.1 特性
    2. 1.2 应用
    3. 1.3 说明
    4. 1.4 功能框图
  2. 2修订历史记录
  3. 3Device Overview
    1. 3.1 Device Comparison
    2. 3.2 Device Characteristics
    3. 3.3 Device Compatibility
    4. 3.4 ARM Subsystem Overview
      1. 3.4.1  Components of the ARM Subsystem
      2. 3.4.2  ARM926EJ-S RISC CPU
      3. 3.4.3  CP15
      4. 3.4.4  MMU
      5. 3.4.5  Caches and Write Buffer
      6. 3.4.6  Tightly Coupled Memory (TCM)
      7. 3.4.7  Advanced High-performance Bus (AHB)
      8. 3.4.8  Embedded Trace Macrocell (ETM) and Embedded Trace Buffer (ETB)
      9. 3.4.9  ARM Memory Mapping
        1. 3.4.9.1 ARM Internal Memories
        2. 3.4.9.2 External Memories
      10. 3.4.10 Peripherals
      11. 3.4.11 ARM Interrupt Controller (AINTC)
    5. 3.5 System Control Module
    6. 3.6 Power Management
    7. 3.7 Memory Map Summary
    8. 3.8 Pin Assignments
      1. 3.8.1 Pin Map (Bottom View)
    9. 3.9 Terminal Functions
  4. 4Device Configurations
    1. 4.1 System Module Registers
    2. 4.2 Boot Modes
      1. 4.2.1 Boot Modes Overview
    3. 4.3 Device Clocking
      1. 4.3.1 Overview
      2. 4.3.2 PLL Controller Module
      3. 4.3.3 PLLC1
      4. 4.3.4 PLLC2
      5. 4.3.5 Processing, Video, EDMA and DDR EMIF Subsystems Maximum Operating Frequencies
      6. 4.3.6 PLL Controller Clocking Configurations Examples
      7. 4.3.7 Peripheral Clocking Considerations
    4. 4.4 Power and Sleep Controller (PSC)
    5. 4.5 Pin Multiplexing
    6. 4.6 Device Reset
    7. 4.7 Default Device Configurations
      1. 4.7.1 Device Configuration Pins
      2. 4.7.2 PLL Configuration
      3. 4.7.3 Power Domain and Module State Configuration
      4. 4.7.4 ARM Boot Mode Configuration
      5. 4.7.5 AEMIF Configuration
        1. 4.7.5.1 AEMIF Pin Configuration
        2. 4.7.5.2 AEMIF Timing Configuration
      6. 4.7.6 Oscillator Frequency Configuration
    8. 4.8 Debugging Considerations
      1. 4.8.1 Pullup/Pulldown Resistors
  5. 5System Interconnect
  6. 6Device Operating Conditions
    1. 6.1 Electrical Characteristics Over Recommended Ranges of Supply Voltage and Operating Case Temperature (Unless Otherwise Noted)
  7. 7Peripheral Information and Electrical Specifications
    1. 7.1  Parameter Information Device-Specific Information
      1. 7.1.1 Signal Transition Levels
      2. 7.1.2 Timing Parameters and Board Routing Analysis
    2. 7.2  Recommended Clock and Control Signal Transition Behavior
    3. 7.3  Power Supplies
    4. 7.4  Power-Supply Sequencing
      1. 7.4.1 Simple Power-On and Power-Off Method
      2. 7.4.2 Restricted Power-On and Power-Off Method
      3. 7.4.3 Power-Supply Design Considerations
      4. 7.4.4 Power-Supply Decoupling
    5. 7.5  Reset
      1. 7.5.1 Reset Electrical Data/Timing
    6. 7.6  Oscillators and Clocks
      1. 7.6.1 MXI1 Oscillator
      2. 7.6.2 Clock PLL Electrical Data/Timing (Input and Output Clocks)
      3. 7.6.3 PRTCSS Oscillator
      4. 7.6.4 PRTCSS Electrical Data/Timing
    7. 7.7  Power Management and Real Time Clock Subsystem (PRTCSS)
      1. 7.7.1 PRTCSS Peripheral Register Description
    8. 7.8  General-Purpose Input/Output (GPIO)
      1. 7.8.1 GPIO Peripheral Register Description
      2. 7.8.2 GPIO Peripheral Input/Output Electrical Data/Timing
      3. 7.8.3 GPIO Peripheral External Interrupts Electrical Data/Timing
    9. 7.9  EDMA Controller
      1. 7.9.1 EDMA Channel Synchronization Events
      2. 7.9.2 EDMA Peripheral Register Description
    10. 7.10 External Memory Interface (EMIF)
      1. 7.10.1 Asynchronous EMIF (AEMIF)
        1. 7.10.1.1 NAND (NAND, SmartMedia, xD)
        2. 7.10.1.2 OneNAND
        3. 7.10.1.3 EMIF Peripheral Register Descriptions
        4. 7.10.1.4 AEMIF Electrical Data/Timing
      2. 7.10.2 DDR2/mDDR Memory Controller
      3. 7.10.3 DDR2/mDDR Memory Controller Electrical Data/Timing
        1. 7.10.3.1 DDR2/mDDR Routing Specifications
          1. 7.10.3.1.1  DDR2/mDDR Interface
          2. 7.10.3.1.2  DDR2/mDDR Interface Schematic
          3. 7.10.3.1.3  Compatible JEDEC DDR2/mDDR Devices
          4. 7.10.3.1.4  PCB Stack Up
          5. 7.10.3.1.5  Placement
          6. 7.10.3.1.6  DDR2/mDDR Keep Out Region
          7. 7.10.3.1.7  Bulk Bypass Capacitors
          8. 7.10.3.1.8  High-Speed Bypass Capacitors
          9. 7.10.3.1.9  Net Classes
          10. 7.10.3.1.10 DDR2/mDDR Signal Termination
          11. 7.10.3.1.11 VREF Routing
          12. 7.10.3.1.12 DDR2/mDDR CK and ADDR_CTRL Routing
    11. 7.11 MMC/SD
      1. 7.11.1 MMC/SD Peripheral Register Description
      2. 7.11.2 MMC/SD Electrical Data/Timing
    12. 7.12 Video Processing Subsystem (VPSS) Overview
      1. 7.12.1 Video Processing Front-End (VPFE)
        1. 7.12.1.1 Image Sensor Interface (ISIF)
        2. 7.12.1.2 The Image Pipe Interface (IPIPEIF)
        3. 7.12.1.3 Image Pipe - Hardware Image Signal Processor (IPIPE)
        4. 7.12.1.4 Hardware 3A (H3A)
        5. 7.12.1.5 Face Detection Module
        6. 7.12.1.6 VPFE Electrical Data/Timing
      2. 7.12.2 Video Processing Back-End (VPBE)
        1. 7.12.2.1 On-Screen Display (OSD)
        2. 7.12.2.2 Video Encoder / Digital LCD Controller (VENC/DLCD)
        3. 7.12.2.3 VPBE Electrical Data/Timing
        4. 7.12.2.4 High-Definition (HD) DACs and Video Buffer Electrical Data/Timing
          1. 7.12.2.4.1 HD DACs-Only Option
          2. 7.12.2.4.2 DAC With Video Buffer Option
    13. 7.13 USB2.0
      1. 7.13.1 USB Peripheral Register Description
      2. 7.13.2 USB2.0 Electrical Data/Timing
    14. 7.14 Universal Asynchronous Receiver/Transmitter (UART)
      1. 7.14.1 UART Peripheral Register Description
      2. 7.14.2 UART Electrical Data/Timing
    15. 7.15 Serial Port Interface (SPI)
      1. 7.15.1 SPI Peripheral Register Description
      2. 7.15.2 SPI Electrical Data/Timing
        1. 7.15.2.1 Master Mode — General
        2. 7.15.2.2 Slave Mode — General
        3. 7.15.2.3 Master Mode — Additional
        4. 7.15.2.4 Slave Mode — Additional
    16. 7.16 Inter-Integrated Circuit (I2C)
      1. 7.16.1 I2C Peripheral Register Description
      2. 7.16.2 I2C Electrical Data/Timing
        1. 7.16.2.1 Inter-Integrated Circuits (I2C) Timing
    17. 7.17 Multichannel Buffered Serial Port (McBSP)
      1. 7.17.1 McBSP Peripheral Register Description
      2. 7.17.2 McBSP Electrical Data/Timing
        1. 7.17.2.1 multichannel Buffered Serial Port (McBSP) Timing
    18. 7.18 Timer
      1. 7.18.1 Timer Peripheral Register Description
      2. 7.18.2 Timer Electrical Data/Timing
    19. 7.19 Pulse Width Modulator (PWM)
      1. 7.19.1 PWM Peripheral Register Description
      2. 7.19.2 PWM0/1/2/3 Electrical/Timing Data
    20. 7.20 Real Time Out (RTO)
      1. 7.20.1 Real Time Out (RTO) Peripheral Register Description
      2. 7.20.2 RTO Electrical/Timing Data
    21. 7.21 Ethernet Media Access Controller (EMAC)
      1. 7.21.1 EMAC Peripheral Register Description
      2. 7.21.2 Ethernet Media Access Controller (EMAC) Electrical Data/Timing
    22. 7.22 Management Data Input/Output (MDIO)
      1. 7.22.1 MDIO Peripheral Register Description
      2. 7.22.2 Management Data Input/Output (MDIO) Electrical Data/Timing
    23. 7.23 Host-Port Interface (HPI) Peripheral
      1. 7.23.1 HPI Device-Specific Information
      2. 7.23.2 HPI Bus Master
      3. 7.23.3 HPI Peripheral Register Description
      4. 7.23.4 HPI Electrical Data/Timing
    24. 7.24 Key Scan
      1. 7.24.1 Key Scan Peripheral Register Description
        1. 7.24.1.1 Key Scan Registers
      2. 7.24.2 Key Scan Electrical Data/Timing
    25. 7.25 Analog-to-Digital Converter (ADC)
      1. 7.25.1 Analog-to-Digital Converter (ADC) Peripheral Register Description
        1. 7.25.1.1 Analog-to-Digital Converter (ADC) Interface Registers
    26. 7.26 Voice Codec
      1. 7.26.1 Voice Codec Register Description
        1. 7.26.1.1 Voice Codec Registers
    27. 7.27 IEEE 1149.1 JTAG
      1. 7.27.1 JTAG Register Description
      2. 7.27.2 JTAG Test-Port Electrical Data/Timing
  8. 8器件和文档支持
    1. 8.1 开发工具
    2. 8.2 器件命名规则
    3. 8.3 文档支持
    4. 8.4 Community Resources
    5. 8.5 商标
    6. 8.6 静电放电警告
    7. 8.7 Glossary
  9. 9机械封装和可订购产品信息
    1. 9.1 封装信息
    2. 9.2 ZCE 的热性能数据

封装选项

请参考 PDF 数据表获取器件具体的封装图。

机械数据 (封装 | 引脚)
  • ZCE|338
散热焊盘机械数据 (封装 | 引脚)
订购信息

Device Overview

Device Comparison

Table 3-1 shows a comparison between devices, highlighting the differences.

Table 3-1 Device Comparison

Features Devices
TMS320DM365 TMS320DM368 TMS320DM369 DMVA1 DMVA2
ARM MHz 216 MHz (1.2 V)
or
270 MHz (1.2 V)
300 MHz (1.35 V)
432 MHz (1.35 V) 432 MHz (1.35 V) 300 MHz (1.35 V) 432 MHz
DDR2 / mDDR 540 MHz / 336 MHz 680 MHz / 336 MHz 680 MHz / 336 MHz 540 MHz / 336 MHz 680 MHz / 336 MHz
Noise Filtering Engine NONE NONE YES NONE NONE
Vision Coprocessor NONE NONE NONE YES YES

Device Characteristics

Table 3-2 provides an overview of the DMSoC. The table shows significant features of the device, including the peripherals, capacity of on-chip RAM, ARM operating frequency, the package type with pin count, and so forth.

Table 3-2 Characteristics of the Processor

HARDWARE FEATURES DEVICE
Peripherals


Not all peripherals pins are available at the same time (For more detail, see Section 4).
DDR2 / mDDR Memory Controller DDR2 / mDDR (16-bit bus width)
Asynchronous EMIF (AEMIF) Asynchronous (8/16-bit bus width) RAM, Flash (NOR, NAND, OneNAND)
Flash Card Interfaces Two MMC/SD
One SmartMedia/xD
EDMA 64 independent DMA channels
Eight QDMA channels
Timers Four 64-Bit General Purpose (each configurable as two separate 32-bit timers)
One 64-Bit Watch Dog
UART Two (one with RTS and CTS flow control)
SPI Five (each supports two slave devices)
I2C One (Master/Slave)
10/100 Ethernet MAC with Management Data I/O One
multichannel Buffered Serial Port [McBSP] One McBSP
Power Management and Real Time Clock Subsystem (PRTCSS) RTC (32.768kHz), GPIO
Key Scan 4 x 4 Matrix, 5 x 3 Matrix
Voice Codec One
Analog-to-Digital Converter (ADC) 6-channel, 10-bit Interface
General-Purpose Input/Output Port Up to 104
Pulse width modulator (PWM) Four outputs
Configurable Video Ports One Input (VPFE)
One Output (VPBE)
USB 2.0 High Speed Device
High Speed Host
On The Go (HS-USB-OTG)
Wireless Interfaces Through SDIO
RTO Four Channels
On-Chip CPU Memory Organization ARM
16-KB I-cache, 8-KB D-cache, 32-KB RAM, 16-KB ROM
JTAG BSDL_ID JTAGID register (address location: 0x01C4 0028) See Section 7.27.1, JTAG Register Description
CPU Frequency (Maximum) MHz ARM: 432-MHz
Voltage Core (V) 1.35 V
I/O (V) 3.3 V, 1.8 V
PLL Options Reference frequency options
Configurable PLL controller
19.2 MHz, 24 MHz, 27 MHz, 36 MHz
PLL bypass, programmable PLL
BGA Package 13 x 13 mm 338-Pin BGA (ZCE)
Process Technology 65 nm
Product Status(1) Product Preview (PP),
Advance Information (AI),
or Production Data (PD)
PD
PRODUCTION DATA information is current as of publication date. Products conform to specifications per the terms of Texas Instruments standard warranty. Production processing does not necessarily include testing of all parameters.

Device Compatibility

The ARM926EJ-S RISC CPU is compatible with other ARM9 CPUs from ARM Holdings plc.

ARM Subsystem Overview

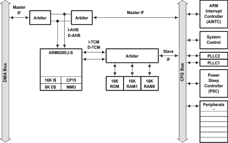
The ARM Subsystem contains components required to provide the ARM926EJ-S (ARM) master control of the overall device system, including the components of the ARM Subsystem, the peripherals, and the external memories.

The ARM is responsible for handling system functions such as system-level initialization, configuration, user interface, user command execution, connectivity functions, interface and control of the subsystem, etc. The ARM is master and performs these functions because it has a large program memory space and fast context switching capability, and is thus suitable for complex, multi-tasking, and general-purpose control tasks.

Components of the ARM Subsystem

The ARM Subsystem consists of the following components:

  • ARM926EJ-S RISC processor, including:
    • coprocessor 15 (CP15)
    • MMU
    • 16KB Instruction cache
    • 8KB Data cache
    • Write Buffer
    • Java accelerator
  • ARM Internal Memories
    • 32KB Internal RAM (32-bit-wide access)
    • 16KB Internal ROM (ARM bootloader for non-AEMIF boot modes)
  • Embedded Trace Module and Embedded Trace Buffer (ETM/ETB)
  • System Control Peripherals
    • ARM Interrupt Controller
    • PLL Controller
    • Power and Sleep Controller
    • System Control Module

The ARM also manages/controls all the device peripherals.

Figure 3-1 shows the functional block diagram of the ARM Subsystem.

TMS320DM369 armsubblk_prs463.gif Figure 3-1 ARM Subsystem Block Diagram

ARM926EJ-S RISC CPU

The ARM Subsystem integrates the ARM926EJ-S processor. The ARM926EJ-S processor is a member of ARM9 family of general-purpose microprocessors. This processor is targeted at multi-tasking applications where full memory management, high performance, low die size, and low power are all important. The ARM926EJ-S processor supports the 32-bit ARM and 16 bit THUMB instruction sets, enabling the user to trade off between high performance and high code density. Specifically, the ARM926EJ-S processor supports the ARMv5TEJ instruction set, which includes features for efficient execution of Java byte codes, providing Java performance similar to Just in Time (JIT) Java interpreter, but without associated code overhead.

The ARM926EJ-S processor supports the ARM debug architecture and includes logic to assist in both hardware and software debug. The ARM926EJ-S processor has a Harvard architecture and provides a complete high performance subsystem, including:

  • ARM926EJ -S integer core
  • CP15 system control coprocessor
  • Memory Management Unit (MMU)
  • Separate instruction and data Caches
  • Write buffer
  • Separate instruction and data Tightly-Coupled Memories (TCMs) [internal RAM] interfaces
  • Separate instruction and data AHB bus interfaces
  • Embedded Trace Module and Embedded Trace Buffer (ETM/ETB)

For more complete details on the ARM9, see the ARM926EJ-S Technical Reference Manual, available at www.arm.com.

CP15

The ARM926EJ-S system control coprocessor (CP15) is used to configure and control instruction and data caches, Tightly-Coupled Memories (TCMs), Memory Management Unit (MMU), and other ARM subsystem functions. The CP15 registers are programmed using the MRC and MCR ARM instructions, when the ARM in a privileged mode such as supervisor or system mode.

MMU

The ARM926EJ-S MMU provides virtual memory features required by operating systems such as Linux, WindowCE, ultron, ThreadX, etc. A single set of two level page tables stored in main memory is used to control the address translation, permission checks and memory region attributes for both data and instruction accesses. The MMU uses a single unified Translation Lookaside Buffer (TLB) to cache the information held in the page tables. The MMU features are:

  • Standard ARM architecture v4 and v5 MMU mapping sizes, domains and access protection scheme.
  • Mapping sizes are:
    • 1MB (sections)
    • 64KB (large pages)
    • 4KB (small pages)
    • 1KB (tiny pages)
  • Access permissions for large pages and small pages can be specified separately for each quarter of the page (subpage permissions)
  • Hardware page table walks
  • Invalidate entire TLB, using CP15 register 8
  • Invalidate TLB entry, selected by MVA, using CP15 register 8
  • Lockdown of TLB entries, using CP15 register 10

Caches and Write Buffer

The size of the Instruction Cache is 16KB, Data cache is 8KB. Additionally, the Caches have the following features:

  • Virtual index, virtual tag, and addressed using the Modified Virtual Address (MVA)
  • Four-way set associative, with a cache line length of eight words per line (32-bytes per line) and with two dirty bits in the Dcache
  • Dcache supports write-through and write-back (or copy back) cache operation, selected by memory region using the C and B bits in the MMU translation tables.
  • Critical-word first cache refilling
  • Cache lockdown registers enable control over which cache ways are used for allocation on a line fill, providing a mechanism for both lockdown, and controlling cache corruption
  • Dcache stores the Physical Address TAG (PA TAG) corresponding to each Dcache entry in the TAG RAM for use during the cache line write-backs, in addition to the Virtual Address TAG stored in the TAG RAM. This means that the MMU is not involved in Dcache write-back operations, removing the possibility of TLB misses related to the write-back address.
  • Cache maintenance operations provide efficient invalidation of, the entire Dcache or Icache, regions of the Dcache or Icache, and regions of virtual memory.

The write buffer is used for all writes to a noncachable bufferable region, write-through region and write misses to a write-back region. A separate buffer is incorporated in the Dcache for holding write-back for cache line evictions or cleaning of dirty cache lines. The main write buffer has 16-word data buffer and a four-address buffer. The Dcache write-back has eight data word entries and a single address entry.

Tightly Coupled Memory (TCM)

ARM internal RAM is provided for storing real-time and performance-critical code/data and the Interrupt Vector table. ARM internal ROM boot modes include NAND, MMC/SD, UART, USB, SPI, EMAC, and HPI. The RAM and ROM memories interfaced to the ARM926EJ-S via the tightly coupled memory interface that provides for separate instruction and data bus connections. Since the ARM TCM does not allow instructions on the D-TCM bus or data on the I-TCM bus, an arbiter is included so that both data and instructions can be stored in the internal RAM/ROM. The arbiter also allows accesses to the RAM/ROM from extra-ARM sources (e.g., EDMA or other masters). The ARM926EJ-S has built-in DMA support for direct accesses to the ARM internal memory from a non-ARM master. Because of the time-critical nature of the TCM link to the ARM internal memory, all accesses from non-ARM devices are treated as DMA transfers.

Instruction and Data accesses are differentiated via accessing different memory map regions, with the instruction region from 0x0000 through 0x7FFF and data from 0x10000 through 0x17FFF. Placing the instruction region at 0x0000 is necessary to allow the ARM Interrupt Vector table to be placed at 0x0000, as required by the ARM architecture. The internal 32-KB RAM is split into two physical banks of 16KB each, which allows simultaneous instruction and data accesses to be accomplished if the code and data are in separate banks.

Advanced High-performance Bus (AHB)

The ARM Subsystem uses the AHB port of the ARM926EJ-S to connect the ARM to the configuration bus and the external memories. Arbiters are employed to arbitrate access to the separate D-AHB and I-AHB by the configuration bus and the external memories bus.

Embedded Trace Macrocell (ETM) and Embedded Trace Buffer (ETB)

To support real-time trace, the ARM926EJ-S processor provides an interface to enable connection of an Embedded Trace Macrocell (ETM). The ARM926ES-J Subsystem also includes the Embedded Trace Buffer (ETB). The ETM consists of two parts:

  • Trace Port provides real-time trace capability for the ARM9.
  • Triggering facilities provide trigger resources, which include address and data comparators, counter, and sequencers.

The device trace port is not pinned out and is instead only connected to the Embedded Trace Buffer. The ETB has a 4KB buffer memory. ETB enabled debug tools are required to read/interpret the captured trace data.

ARM Memory Mapping

The ARM memory map is shown in Table 3-4 and Table 3-5. This section describes the memories and interfaces within the ARM's memory map.

ARM Internal Memories

The ARM has access to the following ARM internal memories:

  • 32KB ARM Internal RAM on TCM interface, logically separated into two 16KB pages to allow simultaneous access on any given cycle if there are separate accesses for code (I-TCM bus) and data (D-TCM) to the different memory regions.
  • 16KB ARM Internal ROM

External Memories

The ARM has access to the following External memories:

  • DDR2/mDDR Synchronous DRAM
  • Asynchronous EMIF / OneNAND / NOR
  • NAND Flash
  • Flash card devices:
    • MMC/SD
    • xD
    • SmartMedia

Peripherals

The ARM has access to all of the peripherals on the device.

ARM Interrupt Controller (AINTC)

The device ARM Interrupt Controller (AINTC) has the following features:

  • Supports up to 64 interrupt channels (16 external channels)
  • Interrupt mask for each channel
  • Each interrupt channel can be mapped to a Fast Interrupt Request (FIQ) or to an Interrupt Request (IRQ) type of interrupt.
  • Hardware prioritization of simultaneous interrupts
  • Configurable interrupt priority (2 levels of FIQ and 6 levels of IRQ)
  • Configurable interrupt entry table (FIQ and IRQ priority table entry) to reduce interrupt processing time

The ARM core supports two interrupt types: FIQ and IRQ. See the ARM926EJ-S Technical Reference Manual for detailed information about the ARM’s FIQ and IRQ interrupts. Each interrupt channel is mappable to an FIQ or to an IRQ type of interrupt, and each channel can be enabled or disabled. The INTC supports user-configurable interrupt-priority and interrupt entry addresses. Entry addresses minimize the time spent jumping to interrupt service routines (ISRs). When an interrupt occurs, the corresponding highest priority ISR’s address is stored in the INTC’s ENTRY register. The IRQ or FIQ interrupt routine can read the ENTRY register and jump to the corresponding ISR directly. Thus, the ARM does not require a software dispatcher to determine the asserted interrupt.

System Control Module

The system control module is a system-level module containing status and top-level control logic required by the device. The system control module consists of a miscellaneous set of status and control registers, accessible by the ARM and supporting all of the following system features and operations:

  • Device identification
  • Device configuration
    • Pin multiplexing control
    • Device boot configuration status
  • ARM interrupt and EDMA event multiplexing control
  • Special peripheral status and control
    • Timer64
    • USB PHY control
    • VPSS clock and video DAC control and status
    • DDR VTP control
    • Clockout circuitry
    • GIO de-bounce control
  • Power management
    • Deep sleep
  • Bandwidth Management
    • Bus master DMA priority control

For more information on the System Control Module, see Section 4, Device Configurations and the TMS320DM36x DMSoC ARM Subsystem User's Guide.

Power Management

The device is designed for minimal power consumption. There are two components to power consumption: active power and leakage power. Active power is the power consumed to perform work and scales with clock frequency and the amount of computations being performed. Active power can be reduced by controlling the clocks in such a way as to either operate at a clock setting just high enough to complete the required operation in the required time-line or to run at a clock setting until the work is complete and then drastically cut the clocks (e.g. to PLL Bypass mode) until additional work must be performed. Leakage power is due to static current leakage and occurs regardless of the clock rate. Leakage, or standby power, is unavoidable while power is applied and scales roughly with the operating junction temperatures. Leakage power can only be avoided by removing power completely from a device or subsystem. The device includes several power management modes which are briefly described in Table 3-3. See the TMS320DM36x DMSoC ARM Subsystem User's Guide (SPRUFG5) for more information on power management.

Table 3-3 Power Management Conditions

POWER MGMT.
APPLICATION
SCENARIO
PRTCSS CORE
POWER
OSC.
POWER
PLL
CNTRLR.
ARM926
CLOCK
GIO, UART,
I2C CLOCKS
SPI, PWM,
TIMER CLOCKS
OTHER PERIPH. CLOCKS DDR CLOCK/
MODE
DESCRIPTION
PRTCSS Active Off Off Off Off Off Off Off Off This condition consumes the lowest possible power, except for the PRTCSS.
Deep Sleep Mode(1) Active On Off Bypass Mode
(not Active)
Off Off Off Off Suspend /
"Self-Refresh"
This mode consumes the second lowest possible power, except for PRTCSS and core power, where only the deep sleep circuit is on in this mode.
Standby Active On On Bypass Mode Off On Off Off Suspend /
"Self-Refresh"
This condition keeps the minimum possible modules powered-on in order to wake up the device. Clocks are suspended except for GIO (interrupts), UART, and I2C (in slave mode).
Low-power
(PLL Bypass Mode)
Active On On Bypass Mode On On / Off On / Off On / Off Suspend /
"Self-Refresh"
Most clocks are suspended, except for ARM, GIO, UART, SPI, I2C, PWM, and timers. Since ARM will not have access to DDR, its internal Cache will be either frozen or not accessed.
System Running
(PLL Mode)
Active On On PLL Mode On On / Off On / Off On / Off Nominal Clock /
Operation
The device, including system PLLs, are on. This condition conserves the least amount of power.
For more details, see TMS320DM36x DMSoC ARM Subsystem User's Guide (SPRUFG5)

Memory Map Summary

Table 3-4 shows the memory map address ranges of the device. Table 3-5 depicts the expanded map of the Configuration Space (0x01C0 0000 through 0x01FF FFFF). The device has multiple on-chip memories associated with its processor and various subsystems. To help simplify software development a unified memory map is used where possible to maintain a consistent view of device resources across all bus masters. The bus masters are the ARM, EDMA, EMAC, USB, HPI, MJCP, HDVICP and VPSS. The Master Peripherals are EMAC, USB, and HPI. Please see Section 5, System Interconnect, for more details.

Table 3-4 Memory Map

Start Address End Address Size (Bytes) ARM
Mem Map
EDMA
Mem Map
Master Periph
Mem Map
VPSS
Mem Map
0x0000 0000 0x0000 3FFF 16K ARM RAM0
(Instruction)
0x0000 4000 0x0000 7FFF 16K ARM RAM1
(Instruction)
Reserved Reserved
0x0000 8000 0x0000 BFFF 16K ARM ROM (Instruction)
0x0000 C000 0x0000 FFFF 16K Reserved
0x0001 0000 0x0001 3FFF 16K ARM RAM0 (Data) ARM RAM0 ARM RAM0
0x0001 4000 0x0001 7FFF 16K ARM RAM1 (Data) ARM RAM1 ARM RAM1
0x0001 8000 0x0001 BFFF 16K ARM ROM ARM ROM ARM ROM
0x0001 C000 0x000F FFFF 912K Reserved
0x0010 0000 0x01BB FFFF 26M
0x01BC 0000 0x01BC 0FFF 4K ARM ETB Mem
0x01BC 1000 0x01BC 17FF 2K ARM ETB Reg Reserved
0x01BC 1800 0x01BC 18FF 256 ARM IceCrusher Reserved
0x01BC 1900 0x01BC FFFF 59136 Reserved
0x01BD 0000 0x01BF FFFF 192K
0x01C0 0000 0x01FF FFFF 4M CFG Bus Peripherals CFG Bus Peripherals CFG Bus Peripherals
0x0200 0000 0x09FF FFFF 128M ASYNC EMIF (Data) ASYNC EMIF (Data)
0x0A00 0000 0x11EF FFFF 127M - 16K Reserved Reserved
0x11F0 0000 0x11F1 FFFF 128K MJCP DMA Port MJCP DMA Port
0x11F2 0000 0x11FF FFFF 896K Reserved Reserved
0x1200 0000 0x1207 FFFF 512K HDVICP DMA Port1 HDVICP DMA Port1 HDVICP DMA Port1
0x1208 0000 0x120F FFFF 512K Reserved HDVICP DMA Port2 Reserved
0x1210 0000 0x1217 FFFF 512K HDVICP DMA Port3
0x1218 0000 0x1FFF FFFF 222.5M Reserved
0x2000 0000 0x2000 7FFF 32K DDR EMIF Control Regs DDR EMIF Control Regs
0x2000 8000 0x41FF FFFF 544M-32K
0x4200 0000 0x49FF FFFF 128M Reserved Reserved
0x4A00 0000 0x7FFF FFFF 864M
0x8000 0000 0x8FFF FFFF 256M DDR EMIF DDR EMIF DDR EMIF DDR EMIF
0x9000 0000 0xFFFF FFFF 1792M Reserved Reserved Reserved Reserved

Table 3-5 ARM Configuration Bus Access to Peripherals

Address
Region Start End Size
EDMA CC 0x01C0 0000 0x01C0 FFFF 64K
EDMA TC0 0x01C1 0000 0x01C1 03FF 1K
EDMA TC1 0x01C1 0400 0x01C1 07FF 1K
EDMA TC2 0x01C1 0800 0x01C1 0BFF 1K
EDMA TC3 0x01C1 0C00 0x01C1 0FFF 1K
Reserved 0x01C1 1000 0x01C1 FFFF 60 K
UART0 0x01C2 0000 0x01C2 03FF 1K
Reserved 0x01C2 0400 0x01 20 7FFF 1K
Timer 3 0x01C2 0800 0x01C2 0BFF 1K
Real-time out 0x01C2 0C00 0x01C2 0FFF 1K
I2C 0x01C2 1000 0x01C2 13FF 1K
Timer 0 0x01C2 1400 0x01C2 17FF 1K
Timer 1 0x01C2 1800 0x01C2 1BFF 1K
Timer 2 0x01C2 1C00 0x01C2 1FFF 1K
PWM0 0x01C2 2000 0x01C2 23FF 1K
PWM1 0x01C2 2400 0x01C2 27FF 1K
PWM2 0x01C2 2800 0x01C2 2BFF 1K
PWM3 0x01C2 2C00 0x01C2 2FFF 1K
SPI4 0x01C2 3000 0x01C2 37FF 2K
Timer 4 0x01C2 3800 0x01C2 3BFF 1K
ADCIF 0x01C2 3C00 0x01C2 3FFF 1K
Reserved 0x01C2 4000 0x01C3 4FFF 112K
System Module 0x01C4 0000 0x01C4 07FF 2K
PLL Controller 1 0x01C4 0800 0x01C4 0BFF 1K
PLL Controller 2 0x01C4 0C00 0x01C4 0FFF 1K
Power/Sleep Controller 0x01C4 1000 0x01C4 1FFF 4K
Reserved 0x01C4 2000 0x01C4 7FFF 24K
ARM Interrupt Controller 0x01C4 8000 0x01C4 83FF 1K
Reserved 0x01 C4 8400 0x01C63FFF 111K
USB OTG 2.0 Regs / RAM 0x01C6 4000 0x01C6 5FFF 8K
SPI0 0x01C6 6000 0x01C6 67FF 2K
SPI1 0x01C6 6800 0x01C6 6FFF 2K
GPIO 0x01C6 7000 0x01C6 77FF 2K
SPI2 0x01C6 7800 0x01C6 FFFF 2K
SPI3 0x01C6 8000 0x01C6 87FF 2K
Reserved 0x01C6 8800 0x01C6 87FF 2K
PRTCSS Interface Registers 0x01C6 9000 0x01C6 93FF 1K
KEYSCAN 0x01C6 9400 0x01C6 97FF 1K
HPI 0x01C6 9800 0x01C6 9FFF 2K
Reserved 0x01C6 A000 0x01C6 FFFF 24K
VPSS Subsystem
ISP System Configuration Registers 0x01C7 0000 0x01C7 00FF 256
VPBE Clock Control Register 0x01C7 0200 0x01C7 02FF 256
Resizer Registers 0x01C7 0400 0x01C7 07FF 1K
IPIPE Registers 0x01C7 0800 0x01C7 0FFF 2K
ISIF Registers 0x01C7 1000 0x01C7 11FF 512
IPIPEIF Registers 0x01C7 1200 0x01C7 12FF 768
H3A Registers 0x01C7 1400 0x01C7 14FF 256
FDIF Registers 0x01C7 1800 0x01C7 1BFF 1K
OSD Registers 0x01C7 1C00 0x01C7 1CFF 256
Reserved 0x01C7 1D00 0x01C7 1DFF 256
VENC Registers 0x01C7 1E00 0x01C7 1FFF 512
Reserved 0x01C7 2000 0x01CF FFFF 568K
Multimedia / SD 1 0x01D0 0000 0x01D0 1FFF 8K
McBSP 0x01D0 2000 0x01D0 3FFF 8K
Reserved 0x01D0 4000 0x01D0 5FFF 8K
UART1 0x01D0 6000 0x01D0 63FF 1K
Reserved 0x01D0 6400 0x01D0 7FFF 3K
EMAC Control Registers 0x01D0 7000 0x01D0 9FFF 0x01D0 7FFF 4K
EMAC Control Module RAM 0x01D0 8000 8K
EMAC Control Module Registers 0x01D0 A000 0x01D0 AFFF 4K
EMAC MDIO Control Registers 0x01D0 B000 0x01D0 B7FF 2K
Voice Codec 0x01D0 C000 0x01D0 C3FF 1K
Reserved 0x01D0 C400 0x01D0 FFFF 17K
ASYNC EMIF Control 0x01D1 0000 0x01D1 0FFF 4K
Multimedia / SD 0 0x01D1 1000 0x01D1 FFFF 60K
Reserved 0x01D2 0000 0x01D3 FFFF 128K
Reserved 0x01D4 0000 0x01DF FFFF 768K
Reserved 0x01E0 0000 0x01FF FFFF 2M
ASYNC EMIF Data (CE0) 0x0200 0000 0x03FF FFFF 32M
ASYNC EMIF Data (CE1) 0x0400 0000 0x05FF FFFF 32M
Reserved 0x0600 0000 0x09FF FFFF 64M
Reserved 0x0A00 0000 0x0FFF FFFF 96M

Pin Assignments

Extensive use of pin multiplexing is used to accommodate the largest number of peripheral functions in the smallest possible package. Pin multiplexing is controlled using a combination of hardware configuration at device reset and software programmable register settings.

Pin Map (Bottom View)

Figure 3-2 through Figure 3-5 show the pin assignments in four quadrants (A, B, C, and D).

TMS320DM369 quada_pinmap_prs457.gif
N.B stands for No-Ball.
Figure 3-2 ZCE Pin Map [Quadrant A]1
TMS320DM369 quadb_pinmap_prs457.gif
N.B stands for No-Ball.
Figure 3-3 ZCE Pin Map [Quadrant B]1
TMS320DM369 quadc_pinmap_prs457.gif
N.B stands for No-Ball.
Figure 3-4 ZCE Pin Map [Quadrant C]1
TMS320DM369 quadd_pinmap_prs457.gif
N.B stands for No-Ball.
Figure 3-5 ZCE Pin Map [Quadrant D]1

Terminal Functions

Table 3-6 provides a complete pin description list which shows external signal names, the associated pin (ball) numbers along with the mechanical package designator, the pin type, whether the pin has any internal pullup or pulldown resistors, and a functional pin description. For more detailed information on device configuration, peripheral selection, multiplexed/shared pins, and debugging considerations, see Section 4, Device Configurations.

Table 3-6 Pin Descriptions

Name BGA
ID
Type
(1)
Group Power
Supply(2)
IPU
IPD(3)
Reset
State
Description(4)
CIN7(5) A15 I/O ISIF VDD_ISIF18_33 IPD Input Standard ISIF Analog Front End (AFE): raw[7]
YCC 16-bit: time multiplexed between chroma: CB/CR[07]
YCC 08-bit (which allows for 2 simultaneous decoder inputs), it is time multiplexed between luma and chroma of the upper channel. Y/CB/CR[07]
CIN6(5) C15 I/O ISIF VDD_ISIF18_33 IPD Input Standard ISIF Analog Front End (AFE): raw[6]
YCC 16-bit: time multiplexed between chroma: CB/CR[06]
YCC 08-bit (which allows for 2 simultaneous decoder inputs), it is time multiplexed between luma and chroma of the upper channel. Y/CB/CR[06]
CIN5(5) B16 I/O ISIF VDD_ISIF18_33 IPD Input Standard ISIF Analog Front End (AFE): raw[5]
YCC 16-bit: time multiplexed between chroma: CB/CR[05]
YCC 08-bit (which allows for 2 simultaneous decoder inputs), it is time multiplexed between luma and chroma of the upper channel. Y/CB/CR[05]
CIN4(5) A16 I/O ISIF VDD_ISIF18_33 IPD Input Standard ISIF Analog Front End (AFE): raw[4]
YCC 16-bit: time multiplexed between chroma: CB/CR[04]
YCC 08-bit (which allows for 2 simultaneous decoder inputs), it is time multiplexed between luma and chroma of the upper channel. Y/CB/CR[04]
CIN3 (5) A17 I/O ISIF VDD_ISIF18_33 IPD Input Standard ISIF Analog Front End (AFE): raw[3]
YCC 16-bit: time multiplexed between chroma: CB/CR[03]
YCC 08-bit (which allows for 2 simultaneous decoder inputs), it is time multiplexed between luma and chroma of the upper channel. Y/CB/CR[03]
CIN2(5) C16 I/O ISIF VDD_ISIF18_33 IPD Input Standard ISIF Analog Front End (AFE): raw[2]
YCC 16-bit: time multiplexed between chroma: CB/CR[02]
YCC 08-bit (which allows for 2 simultaneous decoder inputs), it is time multiplexed between luma and chroma of the upper channel. Y/CB/CR[02]
CIN1(5) A18 I/O ISIF VDD_ISIF18_33 IPD Input Standard ISIF Analog Front End (AFE): raw[1]
YCC 16-bit: time multiplexed between chroma: CB/CR[01]
YCC 08-bit (which allows for 2 simultaneous decoder inputs), it is time multiplexed between luma and chroma of the upper channel. Y/CB/CR[01]
CIN0(5) B17 I/O ISIF VDD_ISIF18_33 IPD Input Standard ISIF Analog Front End (AFE): raw[0]
YCC 16-bit: time multiplexed between chroma: CB/CR[00]
YCC 08-bit (which allows for 2 simultaneous decoder inputs), it is time multiplexed between luma and chroma of the upper channel. Y/CB/CR[00]
YIN7(5) / GIO103 /SPI3_SCLK C12 I/O ISIF/ GIO / SPI3 VDD_ISIF18_33 IPD Input Standard ISIF Analog Front End (AFE): raw[15]
YCC 16-bit: time multiplexed between luma: Y[07]
YCC 08-bit (which allows for 2 simultaneous decoder inputs), it is time multiplexed between luma and chroma of the lower channel. Y/CB/CR[07]
GIO: GIO[103]
SPI3: Clock
YIN6(5) / GIO102 /SPI3_SIMO A13 I/O ISIF / GIO / SPI3 VDD_ISIF18_33 IPD Input Standard ISIF Analog Front End (AFE): raw[14]
YCC 16-bit: time multiplexed between luma: Y[06]
YCC 08-bit (which allows for 2 simultaneous decoder inputs), it is time multiplexed between luma and chroma of the lower channel. Y/CB/CR[06]
GIO: GIO[102]
SPI3: Slave Input Master Output Data Signal
YIN5(5) / GIO101 /SPI3_SCS[0] B13 I/O ISIF / GIO / SPI3 VDD_ISIF18_33 IPD Input Standard ISIF Analog Front End (AFE): raw[13]
YCC 16-bit: time multiplexed between luma: Y[05]
YCC 08-bit (which allows for 2 simultaneous decoder inputs), it is time multiplexed between luma and chroma of the lower channel. Y/CB/CR[05]
GIO: GIO[101]
SPI3: Chip Select 0
YIN4(5) / GIO100 / SPI3_SOMI / SPI3_SCS[1] D12 I/O ISIF / GIO / SPI3 VDD_ISIF18_33 IPD Input Standard ISIF Analog Front End (AFE): raw[12]
YCC 16-bit: time multiplexed between luma: Y[04]
YCC 08-bit (which allows for 2 simultaneous decoder inputs), it is time multiplexed between luma and chroma of the lower channel. Y/CB/CR[04]
GIO: GIO[100]
SPI3: Slave Output Master Input Data Signal
SPI3: Chip Select 1
YIN3(5) / GIO99 A14 I/O ISIF / GIO VDD_ISIF18_33 IPD Input Standard ISIF Analog Front End (AFE): raw[11]
YCC 16-bit: time multiplexed between luma: Y[03]
YCC 08-bit (which allows for 2 simultaneous decoder inputs), it is time multiplexed between luma and chroma of the lower channel. Y/CB/CR[03]
GIO: GIO[99]
YIN2(5) / GIO98 B15 I/O ISIF / GIO VDD_ISIF18_33 IPD Input Standard ISIF Analog Front End (AFE): raw[10]
YCC 16-bit: time multiplexed between luma: Y[02]
YCC 08-bit (which allows for 2 simultaneous decoder inputs), it is time multiplexed between luma and chroma of the lower channel. Y/CB/CR[02]
GIO: GIO[98]
YIN1(5) / GIO97 D14 I/O ISIF / GIO VDD_ISIF18_33 IPD Input Standard ISIF Analog Front End (AFE): raw[09]
YCC 16-bit: time multiplexed between luma: Y[01]
YCC 08-bit (which allows for 2 simultaneous decoder inputs), it is time multiplexed between luma and chroma of the lower channel. Y/CB/CR[01]
GIO: GIO[97]
YIN0(5) / GIO96 D15 I/O ISIF / GIO VDD_ISIF18_33 IPD Input Standard ISIF Analog Front End (AFE): raw[08]
YCC 16-bit: time multiplexed between luma: Y[00]
YCC 08-bit (which allows for 2 simultaneous decoder inputs), it is time multiplexed between luma and chroma of the lower channel. Y/CB/CR[00]
GIO: GIO[96]
HD / GIO95 C14 I/O ISIF / GIO VDD_ISIF18_33 IPD Input Horizontal synchronization signal that can be either an input (slave mode) or an output (master mode). Tells the ISIF when a new line starts.
GIO: GIO[95]
VD / GIO94 B14 I/O ISIF / GIO VDD_ISIF18_33 IPD Input Vertical synchronization signal that can be either an input (slave mode) or an output (master mode). Tells the ISIF when a new frame starts.
GIO: GIO[94]
C_WE_FIELD / GIO93 / CLKOUT0 / USBDRVVBUS E13 I/O ISIF / GIO / CLKOUT / USB VDD_ISIF18_33 IPD Input Write enable input signal is used by external device (AFE/TG) to gate the DDR output of the ISIF module.
Alternately, the field identification input signal is used by external device (AFE/TG) to indicate the which of two frames is input to the ISIF module for sensors with interlaced output. ISIF handles 1- or 2-field sensors in hardware.
GIO: GIO[93]
CLKOUT0: Clock Output
USB: Digital output to control external 5 V supply
PCLK D13 I/O/Z ISIF VDD_ISIF18_33 IPD Input Pixel clock input (strobe for lines CI7 through YI0)
YOUT7(R7)(6) G16 I/O VENC VDDS33 Input

Digital Video Out:

VENC settings determine function(4).


For more details, see the DM36x DMSoC Video Processor Back End User's Guide (SPRUFG9).
YOUT6(R6)(6) G19 I/O VENC VDDS33 Input

Digital Video Out:

VENC settings determine function(4).


For more details, see the DM36x DMSoC Video Processor Back End User's Guide (SPRUFG9).
YOUT5(R5)(6) F15 I/O VENC VDDS33 Input

Digital Video Out:

VENC settings determine function(4).


For more details, see the DM36x DMSoC Video Processor Back End User's Guide (SPRUFG9).
YOUT4(R4)(6) F18 I/O VENC VDDS33 Input

Digital Video Out:

VENC settings determine function(4).


For more details, see the DM36x DMSoC Video Processor Back End User's Guide (SPRUFG9).
YOUT3(R3)(6) F16 I/O VENC VDDS33 Input

Digital Video Out:

VENC settings determine function(4).


For more details, see the DM36x DMSoC Video Processor Back End User's Guide (SPRUFG9).
YOUT2(G7)(6) F19 I/O VENC VDDS33 Input

Digital Video Out:

VENC settings determine function(4).


For more details, see the DM36x DMSoC Video Processor Back End User's Guide (SPRUFG9).
YOUT1(G6)(6) F17 I/O VENC VDDS33 Input

Digital Video Out:

VENC settings determine function(4).


For more details, see the DM36x DMSoC Video Processor Back End User's Guide (SPRUFG9).
YOUT0(G5)(6) E16 I/O VENC VDDS33 Input

Digital Video Out:

VENC settings determine function(4).


For more details, see the DM36x DMSoC Video Processor Back End User's Guide (SPRUFG9).
HSYNC / GIO84 G15 I/O VENC / GIO VDDS33 Input Video Encoder: Horizontal Sync(4)
GIO: GIO[84]
VSYNC / GIO83 G18 I/O VENC / GIO VDDS33 Input Video Encoder: Vertical Sync(4)
GIO: GIO[83]
LCD_OE / GIO82 C19 I/O VENC / GIO VDDS33 Output Video Encoder: Data valid duration (4)
GIO: GIO[82]
GIO80 / EXTCLK / B2 / PWM3 B19 I/O GIO / VENC / PWM3 VDDS33 IPD Input GIO: GIO[80]
Video Encoder: External clock Input, used if clock rates > 27 MHz are needed, e.g. 74.25 MHz for HDTV digital output.
Digital Video Out: B2(4).
For more details, see the DM36x DMSoC Video Processor Back End User's Guide (SPRUFG9).
PWM3: PWM3 Output
VCLK / GIO79 B18 I/O VENC / GIO VDDS33 Input Video Encoder: Video Output Clock(4)
GIO: GIO[79]
GIO92 / COUT7(G4)(6) / PWM0 E18 I/O GIO / VENC / PWM0 VDDS33 Input GIO: GIO[92]
Digital Video Out: VENC settings determine function(4).
For more details, see the DM36x DMSoC Video Processor Back End User's Guide (SPRUFG9).
PWM0: PWM0 Output
GIO91 / COUT6(G3)(6) / PWM1 E19 I/O GIO / VENC / PWM1 VDDS33 Input GIO: GIO[91]
Digital Video Out: VENC settings determine function(4).
For more details, see the DM36x DMSoC Video Processor Back End User's Guide (SPRUFG9).
PWM1: PWM1 Output
GIO90 / COUT5(G2)(6) / PWM2 / RTO0 E15 I/O GIO / VENC /PWM2 / RTO0 VDDS33 Input GIO: GIO[90]
Digital Video Out: VENC settings determine function(4).
For more details, see the DM36x DMSoC Video Processor Back End User's Guide (SPRUFG9).
PWM2: PWM2 Output
RTO0: RTO0 Output
GIO89 / COUT4(B7) (6)/ PWM2 / RTO1 E17 I/O GIO / VENC / PWM2 / RTO1 VDDS33 Input GIO: GIO[89]
Digital Video Out: VENC settings determine function(4).
For more details, see the DM36x DMSoC Video Processor Back End User's Guide (SPRUFG9).
PWM2: PWM2 Output
RTO1: RTO1 Output
GIO88 / COUT3(B6) (6)/ PWM2 / RTO2 D16 I/O GIO / VENC / PWM2 / RTO2 VDDS33 Input GIO: GIO[88]
Digital Video Out: VENC settings determine function(4).
For more details, see the DM36x DMSoC Video Processor Back End User's Guide (SPRUFG9).
PWM2: PWM2 Output
RTO2: RTO2 Output
GIO87 / COUT2(B5)(6) / PWM2 / RTO3 D19 I/O GIO / VENC /PWM2 / RTO3 VDDS33 Input GIO: GIO[87]
Digital Video Out: VENC settings determine function(4).
For more details, see the DM36x DMSoC Video Processor Back End User's Guide (SPRUFG9).
PWM2: PWM2 Output
RTO3: RTO3 Output
GIO86 / COUT1(B4)(6) / PWM3 / STTRIG D18 I/O GIO / VENC / PWM3 VDDS33 Input GIO: GIO[86]
Digital Video Out: VENC settings determine function(4).
For more details, see the DM36x DMSoC Video Processor Back End User's Guide (SPRUFG9).
PWM3: PWM3 Output
STTRIG: Camera FLASH control trigger signal
GIO85 / COUT0(B3) (6)/ PWM3 D17 I/O GIO / VENC / PWM3 VDDS33 Input GIO: GIO[85]
Digital Video Out: VENC settings determine function(4).
For more details, see the DM36x DMSoC Video Processor Back End User's Guide (SPRUFG9).
PWM3: PWM3 Output
GIO81(OSCCFG) / LCD_FIELD / R2 / PWM3 C18 I/O GIO / VENC / PWM3 VDDS33 Input GIO: GIO[81]

Note: This pin will be used as oscillator configuration (OSCCFG). The GIO81(OSCCFG) state is latched during reset, and it specifies the oscillation frequency range mode of the pin. See Section 4.7.6 for more details.
Video Encoder: Field identifier for interlaced display formats(4).
For more details, see the DM36x DMSoC Video Processor Back End User's Guide (SPRUFG9).
Digital Video Out: R2(4)
PWM3: PWM3 Output
VREF D11 A I Video DAC VDDA18_DAC Video DAC: Reference voltage for DAC.
For more details, see Section 7.12.2.4, DAC and Video Buffer Electrical Data/Timing.

Note: If the DAC peripheral is not used, this pin must be tied directly to VSS for proper device operation.
IREF A11 A I/O Video DAC VDDA18_DAC Video DAC: Sets reference current for DAC. An external resistor with nominal value, 2400 ohms, is connected between IREF and VSS.
For more details, see Section 7.12.2.4, DAC and Video Buffer Electrical Data/Timing.

Note: If the DAC peripheral is not used, this pin must be tied directly to VSS for proper device operation.
IDACOUT B11 A I/O Video DAC VDDA18_DAC Video DAC: Current source input from DAC. An external resistor with nominal value, 2100 ohms, is connected between IDACOUT and VFB.
For more details, see Section 7.12.2.4, DAC and Video Buffer Electrical Data/Timing.

Note: If the DAC peripheral is not used at all in the application, this pin can either be connected to VSS or be left open.
VFB B10 A I/O Video DAC VDDA18_DAC Video DAC: Amplifier feedback node. An external resistor with nominal value, 2150 ohms, is connected between VFB and TVOUT.
For more details, see Section 7.12.2.4, DAC and Video Buffer Electrical Data/Timing.

Note: If the DAC peripheral is not used at all in the application, this pin can either be connected to VSS or be left open.

TVOUT A10 A I/O Video DAC VDDA18_DAC Video DAC: DAC1video output. An external resistor with nominal value, 2150 ohms, is connected between TVOUT and VFB. This is the output node that drives the load (75 ohms).
For more details, see Section 7.12.2.4, DAC and Video Buffer Electrical Data/Timing.

Note: If the DAC peripheral is not used at all in the application, this pin can either be connected to VSS or be left open.

COMPY B12 A O Video DAC VDDA18_DAC Video DAC: Analog video signal component output Y

Note: If the DAC peripheral is not used at all in the application, this pin can either be connected to VSS or be left open.

COMPPB A12 A O Video DAC VDDA18_DAC Video DAC: Analog video signal component output Pb

Note: If the DAC peripheral is not used at all in the application, this pin can either be connected to VSS or be left open.

COMPPR C11 A O Video DAC VDDA18_DAC Video DAC: Analog video signal component output Pr

Note: If the DAC peripheral is not used at all in the application, this pin can either be connected to VSS or be left open.

VDDA18_DAC D10 PWR Video DAC VDDA18_DAC Video DAC: Analog 1.8-V power

Note: If the DAC peripheral is not used, this pin must be tied directly to VSS for proper device operation.

VDDA12_DAC E12 PWR Video Dac VDDA12_DAC Video DAC: Analog 1.2-V power

Note: If the DAC peripheral is not used, this pin must be tied directly to VSS for proper device operation.

VSSA18_DAC E11 GND Video DAC Video DAC: Analog 1.8-V ground

Note: If the DAC peripheral is not used, this pin must be tied directly to VSS for proper device operation.

VSSA12_DAC F11 GND Video DAC Video DAC: Analog 1.2-V ground

Note: If the DAC peripheral is not used, this pin must be tied directly to VSS for proper device operation.

DDR_CLK W11 O DDR VDD18_DDR DDR Data Clock
DDR_CLK W12 O DDR VDD18_DDR DDR Complementary Data Clock
DDR_RAS U12 O DDR VDD18_DDR DDR Row Address Strobe
DDR_CAS V12 O DDR VDD18_DDR DDR Column Address Strobe
DDR_WE W13 O DDR VDD18_DDR DDR Write Enable
DDR_CS T12 O DDR VDD18_DDR DDR Chip Select
DDR_CKE R13 O DDR VDD18_DDR DDR Clock Enable
DDR_DQM[1] W6 O DDR VDD18_DDR Data mask input for DDR_DQ[15:8]
DDR_DQM[0] T11 O DDR VDD18_DDR Data mask input for DDR_DQ[7:0]
DDR_DQS[1] T7 I/O DDR VDD18_DDR Data strobe input/outputs for each byte of the 16-bit data bus used to synchronize the data transfers. Output to DDR2 when writing and inputs when reading. They are used to synchronize the data transfers.
DDR_DQS1: For DDR_DQ[15:8]
DDR_DQS[0] T10 I/O DDR VDD18_DDR Data strobe input/outputs for each byte of the 16-bit data bus used to synchronize the data transfers. Output to DDR2 when writing and inputs when reading. They are used to synchronize the data transfers.
DDR_DQS0: For DDR_DQ[7:0]
DDR_DQSN[1] U6 I/O DDR VDD18_DDR DDR: Complimentary data strobe input/outputs for each byte of the 16-bit data bus. They are outputs to the DDR2 when writing and inputs when reading. They are used to synchronize the data transfers.
Note: This signal is used in double ended differential memory interfaces supported by the device.
DDR_DQSN[0] U9 I/O DDR VDD18_DDR DDR: Complimentary data strobe input/outputs for each byte of the 16-bit data bus. They are outputs to the DDR2 when writing and inputs when reading. They are used to synchronize the data transfers.
Note: This signal is used in double ended differential memory interfaces supported by the device.
DDR_BA[2] V13 O DDR VDD18_DDR Bank select outputs. Two are required for 1Gb DDR2 memories.
DDR_BA[1] T13 O DDR VDD18_DDR Bank select outputs. Two are required for 1Gb DDR2 memories.
DDR_BA[0] W14 O DDR VDD18_DDR Bank select outputs. Two are required for 1Gb DDR2 memories.
DDR_A13 T16 O DDR VDD18_DDR DDR Address Bus bit 13
DDR_A12 V17 O DDR VDD18_DDR DDR Address Bus bit 12
DDR_A11 W18 O DDR VDD18_DDR DDR Address Bus bit 11
DDR_A10 V16 O DDR VDD18_DDR DDR Address Bus bit 10
DDR_A9 U16 O DDR VDD18_DDR DDR Address Bus bit 09
DDR_A8 W17 O DDR VDD18_DDR DDR Address Bus bit 08
DDR_A7 T15 O DDR VDD18_DDR DDR Address Bus bit 07
DDR_A6 W16 O DDR VDD18_DDR DDR Address Bus bit 06
DDR_A5 V15 O DDR VDD18_DDR DDR Address Bus bit 05
DDR_A4 U15 O DDR VDD18_DDR DDR Address Bus bit 04
DDR_A3 T14 O DDR VDD18_DDR DDR Address Bus bit 03
DDR_A2 W15 O DDR VDD18_DDR DDR Address Bus bit 02
DDR_A1 V14 O DDR VDD18_DDR DDR Address Bus bit 01
DDR_A0 U14 O DDR VDD18_DDR DDR Address Bus bit 00
DDR_DQ15 V6 I/O DDR VDD18_DDR DDR Data Bus bit 15
DDR_DQ14 V7 I/O DDR VDD18_DDR DDR Data Bus bit 14
DDR_DQ13 R7 I/O DDR VDD18_DDR DDR Data Bus bit 13
DDR_DQ12 W7 I/O DDR VDD18_DDR DDR Data Bus bit 12
DDR_DQ11 V8 I/O DDR VDD18_DDR DDR Data Bus bit 11
DDR_DQ10 R8 I/O DDR VDD18_DDR DDR Data Bus bit 10
DDR_DQ9 U8 I/O DDR VDD18_DDR DDR Data Bus bit 09
DDR_DQ8 W8 I/O DDR VDD18_DDR DDR Data Bus bit 08
DDR_DQ7 R9 I/O DDR VDD18_DDR DDR Data Bus bit 07
DDR_DQ6 W9 I/O DDR VDD18_DDR DDR Data Bus bit 06
DDR_DQ5 V9 I/O DDR VDD18_DDR DDR Data Bus bit 05
DDR_DQ4 W10 I/O DDR VDD18_DDR DDR Data Bus bit 04
DDR_DQ3 V10 I/O DDR VDD18_DDR DDR Data Bus bit 03
DDR_DQ2 R10 I/O DDR VDD18_DDR DDR Data Bus bit 02
DDR_DQ1 V11 I/O DDR VDD18_DDR DDR Data Bus bit 01
DDR_DQ0 U11 I/O DDR VDD18_DDR DDR Data Bus bit 00
DDR_
DQGATE0
T8 O DDR VDD18_DDR DDR: Loopback signal for external DQS gating. Route to DDR and back to DDR_DQGATE1 with same constraints as used for DDR clock and data.
DDR_
DQGATE1
T9 I DDR VDD18_DDR DDR: Loopback signal for external DQS gating. Route to DDR and back to DDR_DQGATE0 with same constraints as used for DDR clock and data.
DDR_VREF P11 PWR DDR VDD18_DDR DDR: DDR_VREF is .5* VDD18_DDR = 0.9V for SSTL2 specific reference voltage.
DDR_PADREFP R11 O DDR VDD18_DDR DDR: External resistor ( 50 ohm to ground)
EM_A13 / GIO78 / BTSEL[2] V18 I/O/Z AEMIF / GIO / BTSEL[2] VDD_AEMIF1_18_33 IPU/IPD disabled by default Input Async EMIF: Address Bus bit[13]
GIO: GIO[78]
BTSEL[2]: See Section 4.2, Device Boot Modes for system usage of these pins.
EM_A12 / GIO77 / BTSEL[1] U18 I/O/Z AEMIF / GIO / BTSEL[1] VDD_AEMIF1_18_33 IPU/IPD disabled by default Input Async EMIF: Address Bus bit[12]
GIO: GIO[77]
BTSEL[1]: See Section 4.2, Device Boot Modes for system usage of these pins.
EM_A11 / GIO76 / BTSEL[0] V19 I/O/Z AEMIF / GIO / BTSEL[0] VDD_AEMIF1_18_33 IPU/IPD disabled by default Input Async EMIF: Address Bus bit[11]
GIO: GIO[76]
BTSEL[0]: See Section 4.2, Device Boot Modes for system usage of these pins.
EM_A10 / GIO75 / AECFG[2] U19 I/O/Z AEMIF / GIO / AECFG[2] VDD_AEMIF1_18_33 IPU/IPD disabled by default Input Async EMIF: Address Bus bit[10]
GIO: GIO[75]
AECFG[2]: See Section 4.2, Device Boot Modes and Table 4-14, AECFG (Async EMIF Configuration) for system usage of these pins.
EM_A9 / GIO74 / AECFG[1] T18 I/O/Z AEMIF / GIO / AECFG[1] VDD_AEMIF1_18_33 IPU/IPD disabled by default Input Async EMIF: Address Bus bit[09]
GIO: GIO[74]
AECFG[1]: See Section 4.2, Device Boot Modes and Table 4-14, AECFG (Async EMIF Configuration) for system usage of these pins.
EM_A8 / GIO73 / AECFG[0] T19 I/O/Z AEMIF / GIO / AECFG[0] VDD_AEMIF1_18_33 IPU/IPD disabled by default Input Async EMIF: Address Bus bit[08]
GIO: GIO[73]
AECFG[0]: See Section 4.2, Device Boot Modes and Table 4-14, AECFG (Async EMIF Configuration) for system usage of these pins.
EM_A7 / GIO72 / KEYA3 T17 I/O/Z AEMIF / GIO / KEYSCAN VDD_AEMIF1_18_33 Input Async EMIF: Address Bus bit[07]
GIO: GIO[72]
Keyscan: A3
EM_A6 / GIO71 / KEYA2 R18 I/O/Z AEMIF / GIO / KEYSCAN VDD_AEMIF1_18_33 Input Async EMIF: Address Bus bit[06]
GIO: GIO[71]
Keyscan: A2
EM_A5 / GIO70 / KEYA1 R16 I/O/Z AEMIF / GIO / KEYSCAN VDD_AEMIF1_18_33 Input Async EMIF: Address Bus bit[05]
GIO: GIO[70]
Keyscan: A1
EM_A4 / GIO69 / KEYA0 R19 I/O/Z AEMIF / GIO/KEYSCAN VDD_AEMIF1_18_33 Input Async EMIF: Address Bus bit[04]
GIO: GIO[69]
Keyscan: A0
EM_A3 / GIO68 / KEYB3 R15 I/O/Z AEMIF / GIO/ KEYSCAN VDD_AEMIF1_18_33 Input Async EMIF: Address Bus bit[03]
GIO: GIO[68]
Keyscan: B3
EM_A2 / HCNTLA M18 I/O/Z AEMIF/HPI VDD_AEMIF2_18_33 Output Async EMIF: Address Bus bit[02]
HPI: The state of HCNTLA and HCNTLB determines if address, data, or control information is being transmitted between an external host and the device.
Note: HPI is pin multiplexed with Asynchronous EMIF at the output pin. HPI is available only when boot mode selected is HPI boot mode. In this configuration, the device will always act as a slave.
EM_A1 / HHWIL M19 I/O/Z AEMIF/HPI VDD_AEMIF2_18_33 Output Async EMIF: Address Bus bit[01]
HPI: This pin is half-word identification input HHWIL.
Note: HPI is pin multiplexed with Asynchronous EMIF at the output pin. HPI is available only when boot mode selected is HPI boot mode. In this configuration, the device will always act as a slave.
EM_A0 / GIO67 / KEYB2 / HCNTLB L17 I/O/Z AEMIF / GIO / KEYSCAN / HPI VDD_AEMIF2_18_33 Input Async EMIF: Address Bus bit[00] Note that the EM_A0 is always a 32-bit address
GIO: GIO[56]
Keyscan: B2
HPI: The state of HCNTLA and HCNTLB determines if address, data, or control information is being transmitted between an external host and the device.
Note: HPI is pin multiplexed with Asynchronous EMIF at the output pin. HPI is available only when boot mode selected is HPI boot mode. In this configuration, the device will always act as a slave.
EM_BA1 / GIO66 / KEYB1 / HINTN R17 I/O/Z AEMIF / GIO / KEYSCAN / HPI VDD_AEMIF1_18_33 Input Async EMIF: Bank Address 1 signal = 16-bit address.
In 16-bit mode, lowest address bit.
In 8-bit mode, second lowest address bit
GIO: GIO[66]
Keyscan: B1
HPI: This pin is host interrupt output HINT
Note: HPI is pin multiplexed with Asynchronous EMIF at the output pin. HPI is available only when boot mode selected is HPI boot mode. In this configuration, the device will always act as a slave.
EM_BA0 / EM_A14 / GIO65 / KEYB0 P17 I/O/Z AEMIF / GIO / KEYSCAN VDD_AEMIF1_18_33 Input Async EMIF: Bank Address 0 signal = 8-bit address.
In 8-bit mode, lowest address bit.
Async EMIF: Address line (bit[14] when using 16-bit memories.
GIO: GIO[65]
Keyscan: B0
EM_D15 / GIO64 / HD15 P18 I/O/Z AEMIF / GIO / HPI VDD_AEMIF1_18_33 Input Async EMIF: Data Bus bit[15]
GIO: GIO[64]
HPI: Data bus bit [15]
Note: HPI is pin multiplexed with Asynchronous EMIF at the output pin. HPI is available only when boot mode selected is HPI boot mode. In this configuration, the device will always act as a slave.
EM_D14 / GIO63 / HD14 P16 I/O/Z AEMIF / GIO / HPI VDD_AEMIF1_18_33 Input Async EMIF: Data Bus bit[14]
GIO: GIO[63]
HPI: Data bus bit [14]
Note: HPI is pin multiplexed with Asynchronous EMIF at the output pin. HPI is available only when boot mode selected is HPI boot mode. In this configuration, the device will always act as a slave.
EM_D13 / GIO62 / HD13 P19 I/O/Z AEMIF / GIO / HPI VDD_AEMIF1_18_33 Input Async EMIF: Data Bus bit[13]
GIO: GIO[62]
HPI: Data bus bit [13]
Note: HPI is pin multiplexed with Asynchronous EMIF at the output pin. HPI is available only when boot mode selected is HPI boot mode. In this configuration, the device will always act as a slave.
EM_D12 / GIO61 / HD12 P15 I/O/Z AEMIF / GIO / HPI VDD_AEMIF1_18_33 Input Async EMIF: Data Bus bit[12]
GIO: GIO[61]
HPI: Data bus bit [12]
Note: HPI is pin multiplexed with Asynchronous EMIF at the output pin. HPI is available only when boot mode selected is HPI boot mode. In this configuration, the device will always act as a slave.
EM_D11 / GIO60 / HD11 N16 I/O/Z AEMIF / GIO / HPI VDD_AEMIF1_18_33 Input Async EMIF: Data Bus bit[11]
GIO: GIO[60]
HPI: Data bus bit [11]
Note: HPI is pin multiplexed with Asynchronous EMIF at the output pin. HPI is available only when boot mode selected is HPI boot mode. In this configuration, the device will always act as a slave.
EM_D10 / GIO59 / HD10 N18 I/O/Z AEMIF / GIO / HPI VDD_AEMIF1_18_33 Input Async EMIF: Data Bus bit[10]
GIO: GIO[59]
HPI: Data bus bit [10]
Note: HPI is pin multiplexed with Asynchronous EMIF at the output pin. HPI is available only when boot mode selected is HPI boot mode. In this configuration, the device will always act as a slave.
EM_D9 / GIO58 / HD9 N19 I/O/Z AEMIF / GIO / HPI VDD_AEMIF1_18_33 Input Async EMIF: Data Bus bit[09]
GIO: GIO[58]
HPI: Data bus bit [9]
Note: HPI is pin multiplexed with Asynchronous EMIF at the output pin. HPI is available only when boot mode selected is HPI boot mode. In this configuration, the device will always act as a slave.
EM_D8 / GIO57 / HD8 N15 I/O/Z AEMIF / GIO / HPI VDD_AEMIF1_18_33 Input Async EMIF: Data Bus bit[08]
GIO: GIO[57]
HPI: Data bus bit [8]
Note: HPI is pin multiplexed with Asynchronous EMIF at the output pin. HPI is available only when boot mode selected is HPI boot mode. In this configuration, the device will always act as a slave.
EM_D7 / HD7 L16 I/O/Z AEMIF / HPI VDD_AEMIF2_18_33 Input Async EMIF: Data Bus bit[07]
HPI: Data bus bit [7]
Note: HPI is pin multiplexed with Asynchronous EMIF at the output pin. HPI is available only when boot mode selected is HPI boot mode. In this configuration, the device will always act as a slave.
EM_D6 / HD6 L18 I/O/Z AEMIF / HPI VDD_AEMIF2_18_33 Input Async EMIF: Data Bus bit[06]
HPI: Data bus bit [6]
Note: HPI is pin multiplexed with Asynchronous EMIF at the output pin. HPI is available only when boot mode selected is HPI boot mode. In this configuration, the device will always act as a slave.
EM_D5 / HD5 L19 I/O/Z AEMIF / HPI VDD_AEMIF2_18_33 Input Async EMIF: Data Bus bit[05]
HPI: Data bus bit [5]
Note: HPI is pin multiplexed with Asynchronous EMIF at the output pin. HPI is available only when boot mode selected is HPI boot mode. In this configuration, the device will always act as a slave.
EM_D4 / HD4 L15 I/O/Z AEMIF / HPI VDD_AEMIF2_18_33 Input Async EMIF: Data Bus bit[04]
HPI: Data bus bit [4]
Note: HPI is pin multiplexed with Asynchronous EMIF at the output pin. HPI is available only when boot mode selected is HPI boot mode. In this configuration, the device will always act as a slave.
EM_D3 / HD3 K15 I/O/Z AEMIF / HPI VDD_AEMIF2_18_33 Input Async EMIF: Data Bus bit[03]
HPI: Data bus bit [3]
Note: HPI is pin multiplexed with Asynchronous EMIF at the output pin. HPI is available only when boot mode selected is HPI boot mode. In this configuration, the device will always act as a slave.
EM_D2 / HD2 K19 I/O/Z AEMIF / HPI VDD_AEMIF2_18_33 Input Async EMIF: Data Bus bit[02]
HPI: Data bus bit [2]
Note: HPI is pin multiplexed with Asynchronous EMIF at the output pin. HPI is available only when boot mode selected is HPI boot mode. In this configuration, the device will always act as a slave.
EM_D1 / HD1 K16 I/O/Z AEMIF / HPI VDD_AEMIF2_18_33 Input Async EMIF: Data Bus bit[01]
HPI: Data bus bit [1]
Note: HPI is pin multiplexed with Asynchronous EMIF at the output pin. HPI is available only when boot mode selected is HPI boot mode. In this configuration, the device will always act as a slave.
EM_D0 / HD0 K18 I/O/Z AEMIF / HPI VDD_AEMIF2_18_33 Input Async EMIF: Data Bus bit[00]
HPI: Data bus bit [0]
Note: HPI is pin multiplexed with Asynchronous EMIF at the output pin. HPI is available only when boot mode selected is HPI boot mode. In this configuration, the device will always act as a slave.
EM_CE[0] / GIO56 / HCS M17 I/O/Z AEMIF / GIO / HPI VDD_AEMIF1_18_33 Output Async EMIF: Lowest numbered Chip Select. Can be programmed to be used for standard asynchronous memories (example:flash), OneNand or NAND memory. Used for the default boot and ROM boot modes.
GIO: GIO[56]
HPI: this pin is HPI chip select input.
Note: HPI is pin multiplexed with Asynchronous EMIF at the output pin. HPI is available only when boot mode selected is HPI boot mode. In this configuration, the device will always act as a slave.
EM_CE[1] / GIO55 / HAS J17 I/O/Z AEMIF / GIO / HPI VDD_AEMIF2_18_33 Output Async EMIF: Second Chip Select., Can be programmed to be used for standard asynchronous memories (example: flash), OneNand or NAND memory.
GIO: GIO[55]
HPI: This pin is host address strobe.
Note: HPI is pin multiplexed with Asynchronous EMIF at the output pin. HPI is available only when boot mode selected is HPI boot mode. In this configuration, the device will always act as a slave.
EM_WE / GIO54 / HDS2 J15 I/O/Z AEMIF / GIO / HPI VDD_AEMIF2_18_33 Output Async EMIF: Write Enable
GIO: GIO[54]
HPI: This pin is host data strobe input 2.
Note: HPI is pin multiplexed with Asynchronous EMIF at the output pin. HPI is available only when boot mode selected is HPI boot mode. In this configuration, the device will always act as a slave.
EM_OE / GIO53 / HDS1 J19 I/O/Z AEMIF / GIO / HPI VDD_AEMIF2_18_33 Output Async EMIF: Output Enable
GIO: GIO[53]
HPI: This pin is host data strobe input 1.
EM_WAIT / GIO52 / HRDY J18 I/O/Z AEMIF / GIO / HPI VDD_AEMIF2_18_33 IPU Input Async EMIF: Async WAIT
GIO: GIO[52]
HPI: This pin is host ready output from DSP to host.
EM_ADV / GIO51 / HR/W M16 I/O/Z AEMIF / GIO / HPI VDD_AEMIF1_18_33 Output Async EMIF: Address Valid Detect for OneNAND interface
GIO: GIO[51]
HPI: This pin is host read or write select input.
EM_CLK / GIO50 M15 I/O/Z AEMIF / GIO VDD_AEMIF1_18_33 Output Async EMIF: Clock signal for OneNAND flash interface
GIO: GIO[50]
GIO49 / McBSP_DX D5 I/O/Z GIO / McBSP VDDS33 IPD Input GIO: GIO[49]
McBSP: Transmit Data
GIO48 / McBSP_CLKX A5 I/O/Z GIO / McBSP VDDS33 IPD Input GIO: GIO[48]
McBSP: Transmit Clock
GIO47 / McBSP_FSX C6 I/O/Z GIO / McBSP VDDS33 IPD Input GIO: GIO[47]
McBSP: Transmit Frame Sync
GIO46 / McBSP_DR E6 I/O/Z GIO / McBSP VDDS33 IPD Input GIO: GIO[46]
McBSP: Receive Data
GIO45 / McBSP_CLKR B6 I/O/Z GIO / McBSP VDDS33 IPD Input GIO: GIO[45]
McBSP: Receive Clock
GIO44 / McBSP_FSR E7 I/O/Z GIO / McBSP VDDS33 IPD Input GIO: GIO[44]
McBSP: Receive Frame Sync
GIO43 / MMCSD1_CLK / EM_A20 T6 I/O/Z GIO / MMCSD1 / AEMIF VDDS33 IPD Input GIO: GIO[43]
MMCSD1: Clock
Async EMIF: Address bit[20]
GIO42 / MMCSD1_CMD / EM_A19 R6 I/O/Z GIO / MMCSD1 / AEMIF VDDS33 IPD Input GIO: GIO[42]
MMCSD1: Command
Async EMIF: Address bit[19]
GIO41 / MMCSD1_DATA3 / EM_A18 W5 I/O/Z GIO / MMCSD / AEMIF VDDS33 IPD Input GIO: GIO[41]
MMCSD1: DATA3
Async EMIF: Address bit[18]
GIO40 / MMCSD1_DATA2 / EM_A17 U5 I/O/Z GIO / MMCSD1 / AEMIF VDDS33 IPD Input GIO: GIO[40]
MMCSD1: DATA2
Async EMIF: Address bit[17]
GIO39 / MMCSD1_DATA1 / EM_A16 R5 I/O/Z GIO / MMCSD1 / AEMIF VDDS33 IPD Input GIO: GIO[39]
MMCSD1: DATA1
Async EMIF: Address bit[16]
GIO38 / MMCSD1_DATA0 / EM_A15 V5 I/O/Z GIO / MMCSD1 / AEMIF VDDS33 IPD Input GIO: GIO[38]
MMCSD1: DATA0
Async EMIF: Address bit[15]
GIO37 / SPI4_SCS[0]/ McBSP_CLKS / CLKOUT0 T5 I/O/Z GIO / SPI4 / McBSP / CLKOUT VDDS33 IPD Input GIO: GIO[37]
SPI4: SPI4 Chip Select 0
McBSP: CLKS pin to source an external clock
CLKOUT: Output Clock 0
GIO36 / SPI4_SCLK / EM_A21 / EM_A14 W4 I/O/Z GIO / SPI4 / AEMIF VDDS33 IPD Input GIO: GIO[36]
SPI4: Clock
Async EMIF: Address bit[21]
Async EMIF: Address bit[14]
GIO35 / SPI4_SOMI / SPI4_SCS[1] / CLKOUT1 W3 I/O/Z GIO / SPI4 /CLKOUT VDDS33 IPD Input GIO: GIO[35]
SPI4: Slave Out Master In data
SPI4: SPI4 Chip Select 1
CLKOUT: Output Clock 1
GIO34 / SPI4_SIMO / SPI4_SOMI / UART1_RXD V4 I/O/Z GIO / SPI4 / UART1 VDDS33 IPD Input GIO: GIO[34]
SPI4: Slave In Master Out data
SPI4: Slave Out Master In data.
UART1: RXD
GIO33 / SPI2_SCS[0] / USBDRVVBUS / R1 V3 I/O/Z GIO / SPI2 / USB /VENC VDDS33 IPD Input GIO: GIO[33]
SPI3: SPI3 Chip Select 0
USB: USB: Digital output to control external 5 V supply
VENC: Red output data bit 1
GIO32 / SPI2_SCLK / R0 W2 I/O/Z GIO / SPI2 / VENC VDDS33 IPD Input GIO: GIO[32]
SPI2: Clock
VENC: Red output data bit 0
GIO31 / SPI2_SOMI / SPI2_SCS[1] / CLKOUT2 U4 I/O/Z GIO / SPI2 / CLKOUT VDDS33 IPD Input GIO: GIO[31]
SPI2: Slave Out Master In data
SPI2: SPI2 Chip Select 1
CLKOUT: Output Clock 2
GIO30 / SPI2_SIMO / G1 T4 I/O/Z GIO / SPI2 / VENC VDDS33 IPD Input GIO: GIO[30]
SPI2: Slave In Master Out data
VENC: Green output data bit 1
GIO29 / SPI1_SCS[0] / G0 U2 I/O/Z GIO / SPI1 / VENC VDDS33 IPD Input GIO: GIO[29]
SPI1: SPI1 Chip Select 0
VENC: Green output data bit 0
GIO28 / SPI1_SCLK / B1 V1 I/O/Z GIO / SPI1 / VENC VDDS33 IPD Input GIO: GIO[28]
SPI1: Clock
VENC: Blue output data bit 1
GIO27 / SPI1_SOMI / SPI1_SCS[1] / B0 T2 I/O/Z GIO / SPI1 / VENC VDDS33 IPD Input GIO: GIO[27]
SPI1: Slave Out Master In data
SPI1: SPI1 Chip Select 1
VENC: Blue output data bit 1
GIO26 / SPI1_SIMO U1 I/O/Z GIO / SPI1 VDDS33 IPD Input GIO: GIO[26]
SPI1: Slave In Master Out data
GIO25 / SPI0_SCS[0] / PWM1 / UART1_TXD T1 I/O/Z GIO / SPI0 / PWM1 / UART1 VDDS33 IPD Input GIO: GIO[25]
SPI0: SPI0 Chip Select 0
PWM1: Output
UART1: Transmit data
GIO24 / SPI0_SCLK T3 I/O/Z GIO / SPI0 VDDS33 IPD Input GIO: GIO[24]
SPI0: Clock
GIO23 / SPI0_SOMI / SPI0_SCS[1] / PWM0 V2 I/O/Z GIO / SPI0 / PWM0 VDDS33 IPD Input GIO: GIO[23]
SPI0: Slave Out Master In data
SPI0: SPI0 Chip Select 1
PWM0: Output
GIO22 / SPI0_SIMO R2 I/O/Z GIO / SPI0 VDDS33 IPD Input GIO: GIO[22]
SPI0: Slave In Master Out data
GIO21 / UART1_RTS / I2C_SDA F3 I/O/Z GIO / UART1 / I2C VDDS33 IPD Input GIO: GIO[21]
UART1: RTS
I2C: Serial Data
GIO20 / UART1_CTS / I2C_SCL F1 I/O/Z GIO / UART1 / I2C VDDS33 IPD Input GIO: GIO[20]
UART1: CTS
I2C: Serial Clock
GIO19 / UART0_RXD E3 I/O/Z GIO / UART0 VDDS33 IPD Input GIO: GIO[19]
UART0: Receive data
GIO18 / UART0_TXD E2 I/O/Z GIO / UART0 VDDS33 IPD Input GIO: GIO[18]
UART0: Transmit data
GIO17 / EMAC_TX_EN / UART1_RXD E4 I/O/Z GIO / EMAC / UART1 VDDS33 IPD Input GIO: GIO[17]
EMAC: Transmit enable output
UART1: Receive Data
GIO16 / EMAC_TX_CLK / UART1_TXD E1 I/O/Z GIO / EMAC / UART1 VDDS33 IPD Input GIO: GIO[16]
EMAC: Transmit clock
UART1: Transmit Data
GIO15 / EMAC_COL D2 I/O/Z GIO / EMAC VDDS33 IPD Input GIO: GIO[15]
EMAC: Collision Detect input
GIO14 / EMAC_TXD3 D1 I/O/Z GIO / EMAC VDDS33 IPD Input GIO: GIO[14]
EMAC: Transmit Data 3 output
GIO13 / EMAC_TXD2 D3 I/O/Z GIO / EMAC VDDS33 IPD Input GIO: GIO[13]
EMAC: Transmit Data 2 output
GIO12 / EMAC_TXD1 C1 I/O/Z GIO / EMAC VDDS33 IPD Input GIO: GIO[12]
EMAC: Transmit Data 1 output
GIO11 / EMAC_TXD0 B1 I/O/Z GIO / EMAC VDDS33 IPD Input GIO: GIO[11]
EMAC: Transmit Data 0 output
GIO10 / EMAC_RXD3 B2 I/O/Z GIO / EMAC VDDS33 IPD Input GIO: GIO[10]
EMAC: Receive Data 3 output
GIO9 / EMAC_RXD2 C2 I/O/Z GIO / EMAC VDDS33 IPD Input GIO: GIO[09]
EMAC: Receive Data 2 output
GIO8 / EMAC_RXD1 A2 I/O/Z GIO / EMAC VDDS33 IPD Input GIO: GIO[08]
EMAC: Receive Data 1 output
GIO7 / EMAC_RXD0 A3 I/O/Z GIO / EMAC VDDS33 IPD Input GIO: GIO[07]
EMAC: Receive Data 0 output
GIO6 / EMAC_RX_CLK B3 I/O/Z GIO / EMAC VDDS33 IPD Input GIO: GIO[06]
EMAC: Receive clock
GIO5 / EMAC_RX_DV B4 I/O/Z GIO / EMAC VDDS33 IPD Input GIO: GIO[05]
EMAC: Receive data valid input
GIO4 / EMAC_RX_ER A4 I/O/Z GIO / EMAC VDDS33 IPD Input GIO: GIO[04]
EMAC: Receive error input
GIO3 / EMAC_CRS C5 I/O/Z GIO / EMAC VDDS33 IPD Input GIO: GIO[03]
EMAC: Carrier sense input
GIO2 / MDIO C4 I/O/Z GIO / EMAC VDDS33 IPD Input GIO: GIO[02]
EMAC: Management Data I/O
GIO1 / MDCLK D6 I/O/Z GIO / EMAC VDDS33 IPD Input GIO: GIO[01]
EMAC: Management Data clock output
GIO0 B5 I/O/Z GIO VDDS33 IPD Input GIO: GIO[00]
USB_DP N1 A I/O USBPHY VDDA33_USB USB D+ (differential signal pair)
Note: If the USB peripheral is not used at all in the application, this pin should be connected to 3.3V .
USB_DM P1 A I/O USBPHY VDDA33_USB USB D- (differential signal pair)
Note: If the USB peripheral is not used at all in the application, this pin should be connected to VSS.
VDDA33_USB P4 PWR 3.3-V USB analog power supply
Note: If the USB peripheral is not used at all in the application, this pin should be connected to 3.3V.
VSSA33_USB P3 GND 3.3-V USB ground
Note: If the USB peripheral is not used at all in the application, this pin should be connected to VSS.
VDDA12LDO_USB M5 PWR Output For proper device operation, even if the USB peripheral is not used, a 0.22µF capacitor must be connected as close as possible to the package, and the capacitor mst be connected to VSSA.
VDDA18_USB N5 PWR 1.8-V USB analog power supply
Note: If the USB peripheral is not used at all in the application, this pin should be connected to 1.8V.
VSSA18_USB P2 GND 1.8-V USB ground
Note: If the USB peripheral is not used at all in the application, this pin should be connected to VSS.
USB_ID M1 A I USBPHY VDDA33_USB USB operating mode identification pin.
For device mode operation only, pull up this pin to VDD with a 1.5K ohm resistor.
For host mode operation only, pull down this pin to ground (VSS) with a 1.5K ohm resistor.
If using an OTG or mini-USB connector, this pin will be set properly via the cable/connector configuration.
Note: If the USB peripheral is not used at all in the application, this pin should be connected to 3.3V.
USB_VBUS N2 A I/O USBPHY USB_VBUS This pin is used by the USB Controller to detect a presence of 5V power (4.4V is the threshold) on the USB_VBUS line for normal operation. This power is sourced by the USB Component that is assuming the role of a Host. In other words, the power on the USB_VBUS line is not sourced by the Device. From DM369 perspective, when operating as a Host, it ensures that the external power supply that the DM369 has sourced is within the required voltage level (>= 4.4V) and when DM369 is operating as a Device, the presence of a 5V power on the VBUS Line is used to signify the presence of an external Host.
Note 1: When the DM369 is operating as a Device, it uses the power on the USB_VBUS line to power up its internal pullup resistor on the D+ line.
Note2: If the USB peripheral is not used at all in the application, this pin should be connected to VSS.
MMCSD0_CLK J16 O MMCSD0 VDDS33 out MMCSD0: Clock
MMCSD0_CMD H15 I/O/Z MMCSD0 VDDS33 Input MMCSD0: Command
MMCSD0_DATA3 H16 I/O/Z MMCSD0 VDDS33 Input MMCSD0: DATA3
MMCSD0_DATA2 H17 I/O/Z MMCSD0 VDDS33 Input MMCSD0: DATA2
MMCSD0_DATA1 H19 I/O/Z MMCSD0 VDDS33 Input MMCSD0: DATA1
MMCSD0_DATA0 H18 I/O/Z MMCSD0 VDDS33 Input MMCSD0: DATA0
MICIP B8 AI VCODEC VDDA33_VC
or
VDDA18_VC
MIC positive input

Note: If the Voice Codec peripheral is not used, this pin must be tied directly to VSS for proper device operation.
MICIN C8 AI VCODEC VDDA33_VC
or
VDDA18_VC
MIC negative input

Note: If the Voice Codec peripheral is not used, this pin must be tied directly to VSS for proper device operation.
LINEO C9 AO VCODEC VDDA33_VC
or
VDDA18_VC
Line driver output

Note: If the Voice Codec peripheral is not used, this pin can be left open or can be connected directly to Vss for proper device operation.
SPP B9 AO VCODEC VDDA33_VC
or
VDDA18_VC
Speaker amplifier positive output

Note: If the Voice Codec peripheral is not used, this pin can be left open or can be connected directly to Vss for proper device operation.

SPN A9 AO VCODEC VDDA33_VC
or
VDDA18_VC
Speaker amplifier negative output

Note: If the Voice Codec peripheral is not used, this pin can be left open or can be connected directly to Vss for proper device operation.
VCOM A8 AO VCODEC VDDA33_VC
or
VDDA18_VC
Analog block common voltage.
It is recommended that a 10µF capacitor be connected between this pin and ground to provide clean voltage.

Note: If the Voice Codec peripheral is not used, this pin must be tied directly to VSS for proper device operation.
VDDA18_VC E9 PWR 1.8-V Voice Codec module analog power supply

Note: If the Voice Codec peripheral is not used, this pin must be tied directly to VSS for proper device operation.
VSSA18_VC F9 GND 1.8-V Voice Codec module ground

Note: If the Voice Codec peripheral is not used, this pin must be tied directly to VSS for proper device operation.
VDDA33_VC E10 PWR 3.3-V Voice Codec module power supply

Note: If the Voice Codec peripheral is not used, this pin must be tied directly to VSS for proper device operation.
VSSA33_VC D9 GND 3.3-V Voice Codec module ground

Note: If the Voice Codec peripheral is not used, this pin must be tied directly to VSS for proper device operation.
ADC_CH0 E8 AI ADC VDDA18_ADC Analog-to-Digital converter channel 0

Note: If the ADC is not used, it is recommended to either leave this pin open, as no connect, or tie this pin along with the other ADC_CHs together to a single resistor to ground.
ADC_CH1 B7 AI ADC VDDA18_ADC Analog-to-Digital converter channel 1

Note: If the ADC is not used, it is recommended to either leave this pin open, as no connect, or tie this pin along with the other ADC_CHs together to a single resistor to ground.
ADC_CH2 A7 AI ADC VDDA18_ADC Analog-to-Digital converter channel

Note: If the ADC is not used, it is recommended to either leave this pin open, as no connect, or tie this pin along with the other ADC_CHs together to a single resistor to ground.
ADC_CH3 D8 AI ADC VDDA18_ADC Analog-to-Digital converter channel 3

Note: If the ADC is not used, it is recommended to either leave this pin open, as no connect, or tie this pin along with the other ADC_CHs together to a single resistor to ground.
ADC_CH4 D7 AI ADC VDDA18_ADC Analog-to-Digital converter channel 4

Note: If the ADC is not used, it is recommended to either leave this pin open, as no connect, or tie this pin along with the other ADC_CHs together to a single resistor to ground.
ADC_CH5 A6 AI ADC VDDA18_ADC Analog-to-Digital converter channel 5

Note: If the ADC is not used, it is recommended to either leave this pin open, as no connect, or tie this pin along with the other ADC_CHs together to a single resistor to ground.
VDDA18_ADC G9 PWR 1.8- V Analog-to-Digital converter analog power supply

Note: If the ADC is not used at all in an application, this pin can be directly connected to the 1.8-V supply without any filtering or to ground.
VSSA_ADC F8 GND 1.8- V Analog-to-Digital converter ground
PWCTRIO0 J3 I/O/Z PRTCSS VDD18_PRTCSS Input PRTCSS: General Input / Output Signal 0
For more pin termination details, see Section 7.7, Power Management and Real Time Clock Subsystem (PRTCSS).
PWCTRIO1 J2 I/O/Z PRTCSS VDD18_PRTCSS Input PRTCSS: General Input / Output Signal 1
For more pin termination details, see Section 7.7, Power Management and Real Time Clock Subsystem (PRTCSS).
PWCTRIO2 J1 I/O/Z PRTCSS VDD18_PRTCSS Input PRTCSS: General Input / Output Signal 2
For more pin termination details, see Section 7.7, Power Management and Real Time Clock Subsystem (PRTCSS).
PWCTRIO3 J5 I/O/Z PRTCSS VDD18_PRTCSS Input PRTCSS: General Input / Output Signal 3
For more pin termination details, see Section 7.7, Power Management and Real Time Clock Subsystem (PRTCSS).
PWCTRIO4 J4 I/O/Z PRTCSS VDD18_PRTCSS Input PRTCSS: General Input / Output Signal 4
For more pin termination details, see Section 7.7, Power Management and Real Time Clock Subsystem (PRTCSS).
PWCTRIO5 K5 I/O/Z PRTCSS VDD18_PRTCSS Input PRTCSS: General Input / Output Signal 5
For more pin termination details, see Section 7.7, Power Management and Real Time Clock Subsystem (PRTCSS).
PWCTRIO6 K4 I/O/Z PRTCSS VDD18_PRTCSS Input PRTCSS: General Input / Output Signal 6
For more pin termination details, see Section 7.7, Power Management and Real Time Clock Subsystem (PRTCSS).
PWCTRO0 K2 O PRTCSS VDD18_PRTCSS Output PRTCSS: General Output Signal 0
For more pin termination details, see Section 7.7, Power Management and Real Time Clock Subsystem (PRTCSS).
PWCTRO1 L5 O PRTCSS VDD18_PRTCSS Output PRTCSS: General Output Signal 1
For more pin termination details, see Section 7.7, Power Management and Real Time Clock Subsystem (PRTCSS).
PWCTRO2 L4 I/O/Z PRTCSS VDD18_PRTCSS Output PRTCSS: General Output Signal 2
For more pin termination details, see Section 7.7, Power Management and Real Time Clock Subsystem (PRTCSS).
PWCTRO3 L3 O PRTCSS VDD18_PRTCSS Output PRTCSS: General Output Signal 3
For more pin termination details, see Section 7.7, Power Management and Real Time Clock Subsystem (PRTCSS).
RTCXI G1 I PRTCSS VDD12_PRTCSS Input PRTCSS: Crystal Input for PRTCSS oscillator
Note: If the RTC calendar is not used, this pin should be pulled down.
For more pin termination details, see Section 7.7, Power Management and Real Time Clock Subsystem (PRTCSS).
RTCXO H1 O PRTCSS VDD12_PRTCSS Output PRTCSS: Crystal Output for PRTCSS oscillator
Note: If the RTC calendar is not used, this pin should be left unconnected.
For more pin termination details, see Section 7.7, Power Management and Real Time Clock Subsystem (PRTCSS).
PWRST M3 I PRTCSS VDD12_PRTCSS Input PRTCSS: Reset signal for PRTCSS
For more pin termination details, see Section 7.7, Power Management and Real Time Clock Subsystem (PRTCSS).
PWRCNTON M2 I PRTCSS VDD12_PRTCSS Input PRTCSS: Reset pin for system power sequencing
For more pin details, see Section 7.7.
RESET H3 I VDDS33 Input Global chip reset
MXI1 L1 I CLOCKS VDDMXI Input Crystal input for system oscillator
Note: If an external oscillator is to be used, the external oscillator clock signal should be connected to the MXI1 pin with a 1.8V amplitude. The MXO1 should be left unconnected and the VSS_MX1 signal should be connected to board ground (Vss).
MXO1 K1 O CLOCKS VDDMXI Output Output for system oscillator
Note: If an external oscillator is to be used, the external oscillator clock signal should be connected to the MXI1 pin with a 1.8V amplitude. The MXO1 should be left unconnected and the VSS_MX1 signal should be connected to board ground (Vss).
TCK F4 I EMULATION VDDS33 IPU Input JTAG test clock input
TDI F5 I EMULATION VDDS33 IPU Input JTAG test data input
TDO G4 O EMULATION VDDS33 Output JTAG test data output
TMS G2 I EMULATION VDDS33 IPU Input JTAG test mode select
TRST H5 I EMULATION VDDS33 IPD Input JTAG test logic reset
RTCK F2 O EMULATION VDDS33 Output JTAG test clock output
EMU0 G5 I/O EMULATION VDDS33 IPU Input JTAG emulation 0 I/O
EMU1 H4 I/O EMULATION VDDS33 IPU Input JTAG emulation 1 I/O
EMU[1:0] = 00 - Force Debug Scan chain (ARM and ARM ETB TAPs connected)
EMU[1:0] = 11 - Normal Scan chain (ICEpick only)
RSV2 R4 I For proper device operation, this pin must be tied to ground.
RSV1 R1 O For proper device operation, this pin must be left unconnected.
RSV0 A1 O For proper device operation, this pin must be left unconnected.
CVDD G6 PWR Core power (1.35-V).
G8
H7
H8
H12
J8
J12
J14
K8
K12
L13
M6
M10
M12
M13
VDD12_PRTCSS J6 PWR Power supply for RTC oscillator, PRTCSS, and PRTCSS I/O (1.35-V).
K7
VDDA18_PLL N4 PWR Analog power for PLL (1.8 V).
VDDRAM D4 O Output For proper device operation, this pin must be connected to a 1.0uF (6.2V) capacitor, and the other end of the capacitor must be connected to Vss.
Note: this pin is an internal power supply pin and should not be connected to any external power supply.”
VDDS18 G14 PWR Power supply for 1.8-V I/O.
H11
H14
J7
M14
P7
VDD18_PRTCSS K6 PWR Power supply for PRTCSS (1.8 V).
VDDMXI L6 PWR Power supply for PLL oscillator (1.8 V).
VDD18_SLDO E5 PWR Power supply for internal RAM.
For proper device operation, this pin must always be connected to VDDS18.
VDD18_DDR N9 PWR Power supply for DDR (1.8 V).
N11
P9
P10
P12
R12
VDDS33 F10 PWR Power supply for 3.3-V I/O.
F6
F7
H6
H13
L12
N6
P5
P6
VDD_AEMIF1_18_33 P14 PWR Power supply for switchable AEMIF (3.3/1.8 V).
VDD_AEMIF1_18_33 : can be used as a power supply for EM_A[3:13], EM_BA0, EM_BA1, EM_CE[0], EM_ADV, EM_CLK, EM_D[8:15] or as GPIO pins. See AEMIF pin descriptions.

VDD_AEMIF2_18_33: can be used as a power supply for EM_A[0:2], EM_CE[1], EM_WE, EM_OE, EM_WAIT, EM_D[0:7] pins, HPI, or GPIO pins. See AEMIF pin descriptions.
Example 1: VDD_AEMIF2_18_33 at 1.8-V for 8-bit NAND VDD_AEMIF1_18_33 at 3.3-V for GPIO.

Example 2: VDD_AEMIF1_18_33 and VDD_AEMIF2_18_33 at 1.8-V for 16-bit NAND.
R14
VDD_AEMIF2_18_33 K14 PWR
L14
VDD_ISIF18_33 F12 PWR Power supply for switchable ISIF (3.3/1.8 V).

Example 1 VDD_ISIF_18_33 power supply can be at 1.8V for VPFE pin functionality or it can be at 3.3V if other peripherals pin functionality is to be used like SPI3 or GPIO or CLKOUT0, or USBDRVVBUS.
F13 PWR
VPP R3 PWR For proper device operation, this pin must always be connected to CVDD.
VSS A19 GND Digital ground
E14
F14
G11
G12
H9
H10
J9
J10
J11
J13
K9
K10
K11
L7
L8
L9
L10
L11
M7
M8
M9
M11
N8
N12
N14
P8
P13
W1
W19
VSS_MX1 L2 GND System oscillator - ground
Note: If an external oscillator is used, this pin must be connected to board ground (Vss).
VSS_32K H2 GND PRTCSS oscillator - ground
VSSA M4 GND Analog ground
I = Input, O = Output, Z = High impedance, S = Supply voltage, GND = Ground, A = Analog signal.
Specifies the operating I/O supply voltage for each signal. See Section 7.3 , Power Supplies for more detail.
PD = pulldown, PU = pullup. (To pull up a signal to the opposite supply rail, a 1 kΩ resistor should be used.)
To reduce EMI and reflections, depending on the trace length, approximately 22 Ω to 50 Ω damping resistors are recommend on the following outputs placed near the device: YOUT(0-7),COUT(0-7), HSYNC,VSYNC,LCD_OE,FIELD, and,VCLK. The trace lengths should be minimized.
The Y input (YIN[7:0]) and C input (CIN[7:0]) buses can be swapped by programming the field bit YCINSWP in the VPFE CCD Configuration (CCDCFG) register (0x01C7 0136h).
IF YCINSWP bit is 0 (default) YIN[7:0] = Y signal / CIN[7:0] = C signal .
IF YCINSWP bit is 1 YIN[7:0] = C signal / CIN[7:0] = Y signal
For more information, see the TMS320DM36x Video Processing Front End (VPFE) User's Guide (SPRUFG8).
The Y output (YOUT[7:0]) and C output (COUT[7:0]) buses can be swapped by programming the field bit YCOUTSWP in the VPFE CCD Configuration (CCDCFG) register (0x01C7 0136h). If the YCOUTSWP bit is 0 (default), YOUT[7:0] = Y signal / COUT[7:0] = C signal . If the YCOUTSWP bit is 1, YOUT[7:0] = C signal / COUT[7:0] = Y signal. For more information, see the TMS320DM36x Video Processing Front End (VPFE) User's Guide (SPRUFG8).