ZHCSFE6A February   2013  – August 2016 TMS320DM369

PRODUCTION DATA.  

  1. 1TMS320DM369 数字媒体片上系统 (DMSoC)
    1. 1.1 特性
    2. 1.2 应用
    3. 1.3 说明
    4. 1.4 功能框图
  2. 2修订历史记录
  3. 3Device Overview
    1. 3.1 Device Comparison
    2. 3.2 Device Characteristics
    3. 3.3 Device Compatibility
    4. 3.4 ARM Subsystem Overview
      1. 3.4.1  Components of the ARM Subsystem
      2. 3.4.2  ARM926EJ-S RISC CPU
      3. 3.4.3  CP15
      4. 3.4.4  MMU
      5. 3.4.5  Caches and Write Buffer
      6. 3.4.6  Tightly Coupled Memory (TCM)
      7. 3.4.7  Advanced High-performance Bus (AHB)
      8. 3.4.8  Embedded Trace Macrocell (ETM) and Embedded Trace Buffer (ETB)
      9. 3.4.9  ARM Memory Mapping
        1. 3.4.9.1 ARM Internal Memories
        2. 3.4.9.2 External Memories
      10. 3.4.10 Peripherals
      11. 3.4.11 ARM Interrupt Controller (AINTC)
    5. 3.5 System Control Module
    6. 3.6 Power Management
    7. 3.7 Memory Map Summary
    8. 3.8 Pin Assignments
      1. 3.8.1 Pin Map (Bottom View)
    9. 3.9 Terminal Functions
  4. 4Device Configurations
    1. 4.1 System Module Registers
    2. 4.2 Boot Modes
      1. 4.2.1 Boot Modes Overview
    3. 4.3 Device Clocking
      1. 4.3.1 Overview
      2. 4.3.2 PLL Controller Module
      3. 4.3.3 PLLC1
      4. 4.3.4 PLLC2
      5. 4.3.5 Processing, Video, EDMA and DDR EMIF Subsystems Maximum Operating Frequencies
      6. 4.3.6 PLL Controller Clocking Configurations Examples
      7. 4.3.7 Peripheral Clocking Considerations
    4. 4.4 Power and Sleep Controller (PSC)
    5. 4.5 Pin Multiplexing
    6. 4.6 Device Reset
    7. 4.7 Default Device Configurations
      1. 4.7.1 Device Configuration Pins
      2. 4.7.2 PLL Configuration
      3. 4.7.3 Power Domain and Module State Configuration
      4. 4.7.4 ARM Boot Mode Configuration
      5. 4.7.5 AEMIF Configuration
        1. 4.7.5.1 AEMIF Pin Configuration
        2. 4.7.5.2 AEMIF Timing Configuration
      6. 4.7.6 Oscillator Frequency Configuration
    8. 4.8 Debugging Considerations
      1. 4.8.1 Pullup/Pulldown Resistors
  5. 5System Interconnect
  6. 6Device Operating Conditions
    1. 6.1 Electrical Characteristics Over Recommended Ranges of Supply Voltage and Operating Case Temperature (Unless Otherwise Noted)
  7. 7Peripheral Information and Electrical Specifications
    1. 7.1  Parameter Information Device-Specific Information
      1. 7.1.1 Signal Transition Levels
      2. 7.1.2 Timing Parameters and Board Routing Analysis
    2. 7.2  Recommended Clock and Control Signal Transition Behavior
    3. 7.3  Power Supplies
    4. 7.4  Power-Supply Sequencing
      1. 7.4.1 Simple Power-On and Power-Off Method
      2. 7.4.2 Restricted Power-On and Power-Off Method
      3. 7.4.3 Power-Supply Design Considerations
      4. 7.4.4 Power-Supply Decoupling
    5. 7.5  Reset
      1. 7.5.1 Reset Electrical Data/Timing
    6. 7.6  Oscillators and Clocks
      1. 7.6.1 MXI1 Oscillator
      2. 7.6.2 Clock PLL Electrical Data/Timing (Input and Output Clocks)
      3. 7.6.3 PRTCSS Oscillator
      4. 7.6.4 PRTCSS Electrical Data/Timing
    7. 7.7  Power Management and Real Time Clock Subsystem (PRTCSS)
      1. 7.7.1 PRTCSS Peripheral Register Description
    8. 7.8  General-Purpose Input/Output (GPIO)
      1. 7.8.1 GPIO Peripheral Register Description
      2. 7.8.2 GPIO Peripheral Input/Output Electrical Data/Timing
      3. 7.8.3 GPIO Peripheral External Interrupts Electrical Data/Timing
    9. 7.9  EDMA Controller
      1. 7.9.1 EDMA Channel Synchronization Events
      2. 7.9.2 EDMA Peripheral Register Description
    10. 7.10 External Memory Interface (EMIF)
      1. 7.10.1 Asynchronous EMIF (AEMIF)
        1. 7.10.1.1 NAND (NAND, SmartMedia, xD)
        2. 7.10.1.2 OneNAND
        3. 7.10.1.3 EMIF Peripheral Register Descriptions
        4. 7.10.1.4 AEMIF Electrical Data/Timing
      2. 7.10.2 DDR2/mDDR Memory Controller
      3. 7.10.3 DDR2/mDDR Memory Controller Electrical Data/Timing
        1. 7.10.3.1 DDR2/mDDR Routing Specifications
          1. 7.10.3.1.1  DDR2/mDDR Interface
          2. 7.10.3.1.2  DDR2/mDDR Interface Schematic
          3. 7.10.3.1.3  Compatible JEDEC DDR2/mDDR Devices
          4. 7.10.3.1.4  PCB Stack Up
          5. 7.10.3.1.5  Placement
          6. 7.10.3.1.6  DDR2/mDDR Keep Out Region
          7. 7.10.3.1.7  Bulk Bypass Capacitors
          8. 7.10.3.1.8  High-Speed Bypass Capacitors
          9. 7.10.3.1.9  Net Classes
          10. 7.10.3.1.10 DDR2/mDDR Signal Termination
          11. 7.10.3.1.11 VREF Routing
          12. 7.10.3.1.12 DDR2/mDDR CK and ADDR_CTRL Routing
    11. 7.11 MMC/SD
      1. 7.11.1 MMC/SD Peripheral Register Description
      2. 7.11.2 MMC/SD Electrical Data/Timing
    12. 7.12 Video Processing Subsystem (VPSS) Overview
      1. 7.12.1 Video Processing Front-End (VPFE)
        1. 7.12.1.1 Image Sensor Interface (ISIF)
        2. 7.12.1.2 The Image Pipe Interface (IPIPEIF)
        3. 7.12.1.3 Image Pipe - Hardware Image Signal Processor (IPIPE)
        4. 7.12.1.4 Hardware 3A (H3A)
        5. 7.12.1.5 Face Detection Module
        6. 7.12.1.6 VPFE Electrical Data/Timing
      2. 7.12.2 Video Processing Back-End (VPBE)
        1. 7.12.2.1 On-Screen Display (OSD)
        2. 7.12.2.2 Video Encoder / Digital LCD Controller (VENC/DLCD)
        3. 7.12.2.3 VPBE Electrical Data/Timing
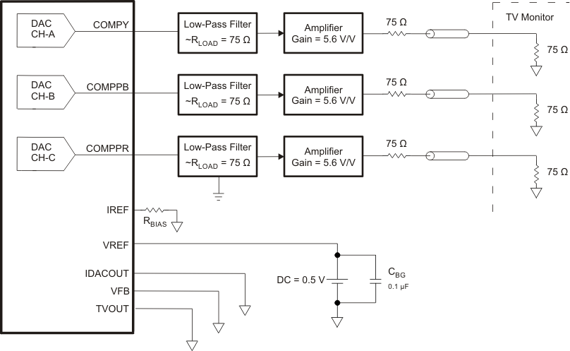
        4. 7.12.2.4 High-Definition (HD) DACs and Video Buffer Electrical Data/Timing
          1. 7.12.2.4.1 HD DACs-Only Option
          2. 7.12.2.4.2 DAC With Video Buffer Option
    13. 7.13 USB2.0
      1. 7.13.1 USB Peripheral Register Description
      2. 7.13.2 USB2.0 Electrical Data/Timing
    14. 7.14 Universal Asynchronous Receiver/Transmitter (UART)
      1. 7.14.1 UART Peripheral Register Description
      2. 7.14.2 UART Electrical Data/Timing
    15. 7.15 Serial Port Interface (SPI)
      1. 7.15.1 SPI Peripheral Register Description
      2. 7.15.2 SPI Electrical Data/Timing
        1. 7.15.2.1 Master Mode — General
        2. 7.15.2.2 Slave Mode — General
        3. 7.15.2.3 Master Mode — Additional
        4. 7.15.2.4 Slave Mode — Additional
    16. 7.16 Inter-Integrated Circuit (I2C)
      1. 7.16.1 I2C Peripheral Register Description
      2. 7.16.2 I2C Electrical Data/Timing
        1. 7.16.2.1 Inter-Integrated Circuits (I2C) Timing
    17. 7.17 Multichannel Buffered Serial Port (McBSP)
      1. 7.17.1 McBSP Peripheral Register Description
      2. 7.17.2 McBSP Electrical Data/Timing
        1. 7.17.2.1 multichannel Buffered Serial Port (McBSP) Timing
    18. 7.18 Timer
      1. 7.18.1 Timer Peripheral Register Description
      2. 7.18.2 Timer Electrical Data/Timing
    19. 7.19 Pulse Width Modulator (PWM)
      1. 7.19.1 PWM Peripheral Register Description
      2. 7.19.2 PWM0/1/2/3 Electrical/Timing Data
    20. 7.20 Real Time Out (RTO)
      1. 7.20.1 Real Time Out (RTO) Peripheral Register Description
      2. 7.20.2 RTO Electrical/Timing Data
    21. 7.21 Ethernet Media Access Controller (EMAC)
      1. 7.21.1 EMAC Peripheral Register Description
      2. 7.21.2 Ethernet Media Access Controller (EMAC) Electrical Data/Timing
    22. 7.22 Management Data Input/Output (MDIO)
      1. 7.22.1 MDIO Peripheral Register Description
      2. 7.22.2 Management Data Input/Output (MDIO) Electrical Data/Timing
    23. 7.23 Host-Port Interface (HPI) Peripheral
      1. 7.23.1 HPI Device-Specific Information
      2. 7.23.2 HPI Bus Master
      3. 7.23.3 HPI Peripheral Register Description
      4. 7.23.4 HPI Electrical Data/Timing
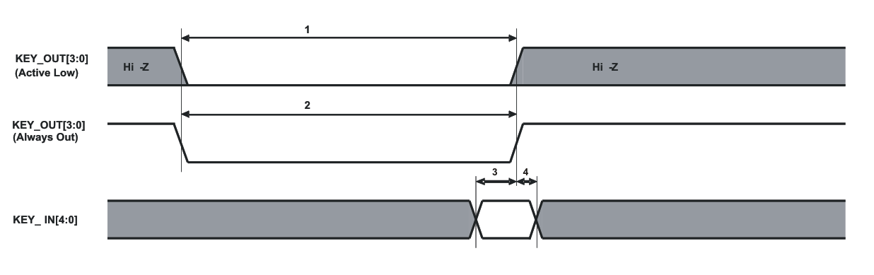
    24. 7.24 Key Scan
      1. 7.24.1 Key Scan Peripheral Register Description
        1. 7.24.1.1 Key Scan Registers
      2. 7.24.2 Key Scan Electrical Data/Timing
    25. 7.25 Analog-to-Digital Converter (ADC)
      1. 7.25.1 Analog-to-Digital Converter (ADC) Peripheral Register Description
        1. 7.25.1.1 Analog-to-Digital Converter (ADC) Interface Registers
    26. 7.26 Voice Codec
      1. 7.26.1 Voice Codec Register Description
        1. 7.26.1.1 Voice Codec Registers
    27. 7.27 IEEE 1149.1 JTAG
      1. 7.27.1 JTAG Register Description
      2. 7.27.2 JTAG Test-Port Electrical Data/Timing
  8. 8器件和文档支持
    1. 8.1 开发工具
    2. 8.2 器件命名规则
    3. 8.3 文档支持
    4. 8.4 Community Resources
    5. 8.5 商标
    6. 8.6 静电放电警告
    7. 8.7 Glossary
  9. 9机械封装和可订购产品信息
    1. 9.1 封装信息
    2. 9.2 ZCE 的热性能数据

封装选项

请参考 PDF 数据表获取器件具体的封装图。

机械数据 (封装 | 引脚)
  • ZCE|338
散热焊盘机械数据 (封装 | 引脚)
订购信息

Peripheral Information and Electrical Specifications

Parameter Information Device-Specific Information

TMS320DM369 pm_tstcirc_prs348.gif
The data sheet provides timing at the device pin. For output timing analysis, the tester pin electronics and its transmission line effects must be taken into account. A model of the tester pin electronics is shown in Figure 7-1. A transmission line with a delay of 2 ns or longer can be used to produce the desired transmission line effect. The transmission line is intended as a load only. It is not necessary to add or subtract the transmission line delay (2 ns or longer) from the data sheet timings.
Input requirements in this data sheet are tested with an input slew rate of < 4 Volts per nanosecond (4 V/ns) at the device pin and the input signals are driven between 0V and the appropriate I/O supply for the signal.
Figure 7-1 Test Load Circuit for AC Timing Measurements

The load capacitance value stated is only for characterization and measurement of AC timing signals. This load capacitance value does not indicate the maximum load the device is capable of driving.

Signal Transition Levels

All input and output timing parameters are referenced to Vref for both "0" and "1" logic levels. For 3.3 V I/O, Vref = 1.65 V. For 1.8 V I/O, Vref = 0.9 V.

TMS320DM369 pm_io_volt_prs348.gif Figure 7-2 Input and Output Voltage Reference Levels for AC Timing Measurements

All rise and fall transition timing parameters are referenced to VIL MAX and VIH MIN for input clocks, VOLMAX and VOH MIN for output clocks.

TMS320DM369 pm_transvolt_prs348.gif Figure 7-3 Rise and Fall Transition Time Voltage Reference Levels

Timing Parameters and Board Routing Analysis

The timing parameter values specified in this data sheet do not include delays by board routings. As a good board design practice, such delays must always be taken into account. Timing values may be adjusted by increasing/decreasing such delays. TI recommends utilizing the available I/O buffer information specification (IBIS) models to analyze the timing characteristics correctly. To properly use IBIS models to attain accurate timing analysis for a given system, see the Using IBIS Models for Timing Analysis Application Report (SPRA839). If needed, external logic hardware such as buffers may be used to compensate any timing differences.

Recommended Clock and Control Signal Transition Behavior

All clocks and control signals should transition between VIH and VIL (or between VIL and VIH) in a monotonic manner.

Power Supplies

The power supplies are summarized in Table 7-1.

Table 7-1 Power Supplies

CUSTOMER BOARD SUPPLY TOLERANCE PACKAGE PLANE DEVICE PLANE DESCRIPTION
1.35V ±5% 1.35V CVDD Core power supply
VDD12_PRTCSS RTC oscillator power supply
PWR CTRL power supply
PWR CTRL 1.35-V I/O power supply
VDDA12_DAC DAC 1.35-V analog power supply
VPP VPP power supply
1.8 V ±5% 1.8 V VDD18_PRTCSS PWR CTRL 1.8-V power supply
VDDMXI MXI1 (oscillator) 1.8-V power supply
VDD18_SLDO Power supply for internal RAM
For proper device operation, this pin must be connected to VDDS18.
VDD18_DDR 1.8-V DDR2 Supply Voltage
VDDA18_PLL 1.8-V PLL Analog Supply Voltage
VDDA18_USB 1.8-V USB Analog Supply Voltage
VDDA18_VC 1.8-V Voice Codec Module Analog Supply Voltage
VDDA18_DAC 1.8-V DAC Analog Supply Voltage
VDDS18 1.8-V Supply Voltage
VDDA18_ADC 1.8-V ADC Supply Voltage
3.3 V ±5% 3.3 V VDDS33 3.3-V I/O Supply Voltage
VDDA33_USB 3.3-V USB Analog Supply Voltage
VDDA33_VC 3.3-V Voice Codec Module Analog Supply Voltage
1.8/3.3 V ±5% 1.8/3.3 V VDD_AEMIF1_18_33 Switchable 3.3/1.8-V EMIF1 Supply Voltage (1)

Note: Power supply is switchable for AEMIF and its multiplexed peripherals (3.3/1.8 V) (3).
VDD_AEMIF2_18_33 Switchable 3.3/1.8-V EMIF2 Supply Voltage (2)

Note: Power supply is switchable for AEMIF and its multiplexed peripherals (3.3/1.8 V) (3).
VDD_ISIF18_33 Switchable 3.3/1.8-V ISIF Supply Voltage (4)
Note: Power supply is switchable for ISIF and its multiplexed peripherals (3.3V/1.8V)(5)
0 V 0 V VSS_MX1 Oscillator (MXI1) ground

Note: For proper device operation, connect to external crystal capacitor ground and must be kept separate from other grounds.
0 V 0 V VSS_32K Oscillator (32K) ground

Note: For proper device operation, connect to external crystal capacitor ground and must be kept separate from other grounds.
0 V 0 V VSS Ground
0 V 0 V VSSA PLL ground

Note: For proper device operation, keep separate from digital ground VSS.
0 V 0 V VSSA18_USB USB ground
0 V 0 V VSSA33_USB 3.3-V USB ground
0 V 0 V VSSA33_VC 3.3-V Voice Codec Module ground
0 V 0 V VSSA18_VC 1.8-V Voice Codec Module ground
0 V 0 V VSSA_ADC Analog-to-digital converter (ADC) ground
0 V 0 V VSSA18_DAC 1.8-V DAC ground
0 V 0 V VSSA12_DAC 1.2-V DAC ground
VDD18_DDR*0.5 VDD18_DDR*0.5 DDR_VREF DRR reference voltage
(VDDS divided by 2, through board resistors)
0.5V ±5% VREF DAC reference voltage
5.25V USB_VBUS VBUS
VDD_AEMIF1_18_33 : can be used as a power supply for EM_A[3:13], EM_BA0, EM_BA1, EM_CE[0], EM_ADV, EM_CLK, EM_D[8:15 ]pins, Keyscan, or GPIO pins.
VDD_AEMIF2_18_33: can be used as a power supply for EM_A[0:2], EM_CE[1], EM_WE, EM_OE, EM_WAIT, EM_D[0:7] pins, HPI, Keyscan, or GPIO pins.
Example 1: VDD_AEMIF2_18_33 at 1.8-V for 8-bit NAND VDD_AEMIF1_18_33 at 3.3-V for GPIO.
Example 2: VDD_AEMIF1_18_33 and VDD_AEMIF2_18_33 at 1.8-V for 16-bit NAND.
VDD_ISIF_18_33: can be used as a power supply for VPFE pins (CIN[7:0], YIN[7:0], C_WE_FIELD, PCLK), or SPI3 (SPI3_SCLK,SPI3_SIMO,SPI3_SCS[0], SPI3_SCS[1]) or USBDRVVBUS or GPIO pins.
Example 1 VDD_ISIF_18_33 power supply can be at 1.8V for VPFE pin functionality or it can be at 3.3V if other peripherals pin functionality is to be used like SPI3 or GPIO or CLKOUT0, or USBDRVVBUS.

Power-Supply Sequencing

In order to ensure device reliability, the device requires the following power supply power-on and power-off sequences. See Table 6-2, Recommended Operating Conditions, for a description of the power supplies.

  • The following power sequences are recommended to prevent damage to the device.
  • The PRTCSS core must always be powered-on and powered-off regardless of whether the PRTCSS feature is used.
  • If the PRTCSS sequencer is to be used in any PRTCSS modes, please see the TMS320DM36x PRTCSS User's Guide (SPRUFJ0) for more details on the differences to the power sequence.

Simple Power-On and Power-Off Method

The following steps must be followed in sequential order for the simple power-on method:

  1. Power on the PRTCSS/ Main core (1.35 V).
  2. Power on the PRTCSS/Main I/O (1.8 V).
  3. Power on the Main/Analog I/O (3.3 V).
  4. Note for simple power-on: RESET must be low until all supplies are ramped up.

The following steps should be followed for the simple power-off method:

  1. Power off the Main/Analog I/O (3.3 V).
  2. Power off the PRTCSS/Main I/O (1.8 V).
  3. Power off the PRTCSS/Main core (1.35 V).
  4. Notes for simple power-off:

    • If RESET is low, steps 2 and 3 may be performed simultaneously.
    • If RESET is not low, these steps must be followed sequentially.

Restricted Power-On and Power-Off Method

The following steps should be followed for the restricted power-on method:

  1. Power on the PRTCSS/ Main core (1.35 V).
  2. Power on the PRTCSS/Main I/O (1.8 V).
  3. Power on the Main/Analog I/O (3.3 V).
  4. Notes for restricted power-on:

    • RESET must be low until all supplies are ramped up.
    • Steps 1, 2, and 3 may be performed simultaneously if the Main core finishes ramping up before the I/Os and the maximum delta voltage difference between the 1.8- and 3.3-V I/Os is 2.0 V until the 1.8-V I/O reaches the full voltage.

The following steps should be followed for the restricted power-off method:

  1. Power off Main/Analog I/O (3.3 V).
  2. Power off PRTCSS/Main I/O (1.8 V).
  3. Power off PRTCSS/Main core (1.35 V).
  4. Notes for restricted power-off:

    • The 3.3- and1.8-V I/Os may be powered off simultaneously if the maximum delta voltage difference between them is 2.0 V until the 1.8-V I/O is completely powered off, and the PRTCSS/Main core must be powered down last.

When booting the DM369 from OneNAND, you must ensure that the OneNAND device is ready with valid program instructions before the DM369 attempts to read program instructions from it. In particular, before you release the device's reset, you must allow time for OneNAND device power to stabilize and for the OneNAND device to complete its internal copy routine. During the internal copy routine, the OneNAND device copies boot code from its internal non-volatile memory to its internal boot memory section. Board designers typically achieve this requirement by design of the system power and reset supervisor circuit. See your OneNAND device datasheet for OneNAND power ramp and stabilization times and for OneNAND boot copy times.

Power-Supply Design Considerations

Core and I/O supply voltage regulators should be located close to the device to minimize inductance and resistance in the power delivery path. Additionally, when designing for high-performance applications utilizing the device, the PC board should include separate power planes for core, I/O, and ground, all bypassed with high-quality low-ESL/ESR capacitors.

Power-Supply Decoupling

In order to properly decouple the supply planes from system noise, place as many capacitors (caps) as possible close to the device. These caps need to be close to the power pins, no more than 1.25 cm maximum distance to be effective. Physically smaller caps, such as 0402, are better because of their lower parasitic inductance. Proper capacitance values are also important. Small bypass caps (near 560 pF) should be closest to the power pins. Medium bypass caps (220 nF or as large as can be obtained in a small package) should be next closest. TI recommends no less than 8 small and 8 medium caps per supply be placed immediately next to the BGA vias, using the "interior" BGA space and at least the corners of the "exterior".

Larger caps for each supply can be placed further away for bulk decoupling. Large bulk caps (on the order of 100 uF) should be furthest away, but still as close as possible. Large caps for each supply should be placed outside of the BGA footprint.

Any cap selection needs to be evaluated from a yield/manufacturing point-of-view. As with the selection of any component, verification of capacitor availability over the product’s production lifetime should be considered. See also Section 7.6.1 for additional recommendations on power supplies for the oscillator/PLL supplies.

Reset

Reset Electrical Data/Timing

Table 7-2 Timing Requirements for Reset (1) (2) (3) (see Figure 7-4)

NO. DEVICE UNIT
MIN MAX
1 tw(RESET) Active low width of the RESET pulse 12C ns
2 tsu(BOOT) Setup time, boot configuration pins valid before RESET rising edge 2E ns
3 th(BOOT) Hold time, boot configuration pins valid after RESET rising edge 0 ns
BTSEL[2:0] and AECFG[2:0] are the boot configuration pins during device reset.
C = MXI1/CLKIN cycle time in ns. For example, when MXI1/CLKIN frequency is 24 MHz use C = 41.6 ns.
E = 1/PLLC1SYSCLK4 cycle time in ns.
TMS320DM369 td_rst_prs348.gif Figure 7-4 Reset Timing

Oscillators and Clocks

The device has one oscillator input/output pair (MXI1/MXO1) usable with external crystals or ceramic resonators to provide clock inputs. The optimal frequencies for the crystals are 19.2 MHz, 24 MHz, 27 MHz, and 36 MHz. Optionally, the oscillator inputs are configurable for use with external clock oscillators. If external clock oscillators are used, to minimize the clock jitter, a single clean power supply should power both the device and the external oscillator circuit and the minimum CLKIN rise and fall times must be observed. The electrical requirements and characteristics are described in this section.

The timing parameters for CLKOUT[2:0] are also described in this section. The device has three output clock pins (CLKOUT[2:0]). See Section 4.3 for more information on CLKOUT[2:0].

Note: Please ensure that the appropriate oscillator input pin (GIO81/OSCCFG) frequency range setting is set correctly. For more details on this pin setting, see Section 4.7.6.

MXI1 Oscillator

The MXI1 (typically 24 MHz, can also be 19.2 MHz, 27 MHz, or 36 MHz) oscillator provides the primary reference clock for the device. The on-chip oscillator requires an external crystal connected across the MXI1 and MXO1 pins, along with two load capacitors, as shown in Figure 7-5. The external crystal load capacitors must be connected only to the oscillator ground pin (VSS_MX1). Do not connect to board ground (VSS). Also, the PLL power pin (VDDA_PLL1) should be connected to the power supply through a ferrite bead, L1 in the example circuit shown in Figure 7-5.

Note: If an external oscillator is to be used, the external oscillator clock signal should be connected to the MXI1 pin with a 1.8V amplitude. The MXO1 should be left unconnected and the VSS_MX1 signal should be connected to board ground (Vss).

TMS320DM369 dg_oscusb24_prs348.gif Figure 7-5 MXI1 Oscillator

The load capacitors, C1 and C2, should be chosen such that the equation is satisfied (typical values are C1 = C2 = 10 pF to 20 pF). CL in the equation is the load specified by the crystal manufacturer. All discrete components used to implement the oscillator circuit should be placed as close as possible to the associated oscillator pins (MXI1 and MXO1) and to the VSS_MX1 pin.

TMS320DM369 osc_eqsysusb_prs348.gif

Table 7-3 Switching Characteristics Over Recommended Operating Conditions for System Oscillator

PARAMETER MIN TYP MAX UNIT
Start-up time (from power up until oscillating at stable frequency) 2 ms
Oscillation frequency 19.2/24/27/36 MHz
Crystal ESR 19 - 30 MHz 60 Ω
30 - 36 MHz 40 Ω
Frequency stability +/-50 ppm

Clock PLL Electrical Data/Timing (Input and Output Clocks)

Table 7-4 Timing Requirements for MXI1/CLKIN1(1)(2)(3) (see Figure 7-6)

NO. DEVICE UNIT
MIN TYP MAX
1 tc(MXI1) Cycle time, MXI1/CLKIN1 27.7 52.083 ns
2 tw(MXI1H) Pulse duration, MXI1/CLKIN1 high 0.45C 0.55C ns
3 tw(MXI1L) Pulse duration, MXI1/CLKIN1 low 0.45C 0.55C ns
4 tt(MXI1) Transition time, MXI1/CLKIN1 .05C ns
5 tJ(MXI1) Period jitter, MXI1/CLKIN1 .02C ns
The reference points for the rise and fall transitions are measured at VIL MAX and VIH MIN.
C = MXI1/CLKIN1 cycle time in ns. For example, when MXI1/CLKIN1 frequency is 24 MHz use C = 41.6 ns.
tc(MXI1) = 52.083 ns, tc(MXI1) = 41.6 ns, tc(MXI1) = 37.037 ns, and tc(MXI1) = 27.7 ns are the only supported cycle times for MXI1/CLKIN1.
TMS320DM369 td_clkin_prs348.gif Figure 7-6 MXI1/CLKIN1 Timing

Table 7-5 Switching Characteristics Over Recommended Operating Conditions for CLKOUT0/CLKOUT1(1) (2) (see Figure 7-7)

NO. PARAMETER DEVICE UNIT
MIN TYP MAX
1 tC(CLKOUT0/CLKOUT1) Cycle time, CLKOUT0/CLKOUT1 27.7 ns
2 tw(CLKOUT0H/CLKOUT1H) Pulse duration, CLKOUT0/CLKOUT1 high .45P .55P ns
3 tw(CLKOUT0L/CLKOUT1L) Pulse duration, CLKOUT0/CLKOUT1 low .45P .55P ns
4 tt(CLKOUT0/CLKOUT1) Transition time, CLKOUT0/CLKOUT1 3 ns
5 td(MXI1H-CLKOUT0H/CLKOUT1H) Delay time, MXI1/CLKIN1 high to CLKOUT0/CLKOUT1 high 1 8 ns
6 td(MXI1L-CLKOUT0L/CLKOUT1L) Delay time, MXI1/CLKIN1I low to CLKOUT0/CLKOUT1 low 1 8 ns
The reference points for the rise and fall transitions are measured at VOL MAX and VOHMIN.
P = 1/CLKOUT0/1 clock frequency in nanoseconds (ns). For example, when CLKOUT1 frequency is 24 MHz use P = 41.6 ns.
TMS320DM369 clkout1updated_prs348.gif Figure 7-7 CLKOUT0/1 Timing

Table 7-6 Switching Characteristics Over Recommended Operating Conditions for CLKOUT2(1) (2) (see Figure 7-8)

NO. PARAMETER DEVICE UNIT
MIN TYP MAX
1 tC(CLKOUT2) Cycle time, CLKOUT2 20 ns
2 tw(CLKOUT2H) Pulse duration, CLKOUT2 high .45P .55P ns
3 tw(CLKOUT2L) Pulse duration, CLKOUT2 low .45P .55P ns
4 tt(CLKOUT2) Transition time, CLKOUT2 3 ns
5 td(MXI1H-CLKOUT2H) Delay time, MXI1/CLKIN1 high to CLKOUT2 high 1 8 ns
6 td(MXI1L-CLKOUT2L) Delay time, MXI1/CLKIN1 low to CLKOUT2 low 1 8 ns
The reference points for the rise and fall transitions are measured at VOL MAX and VOH MIN.
P = 1/CLKOUT2 clock frequency in nanoseconds (ns). For example, when CLKOUT2 frequency is 8 MHz use P = 125 ns.
TMS320DM369 clkout2_prs348.gif Figure 7-8 CLKOUT2 Timing

PRTCSS Oscillator

The device has an PRTCSS oscillator input/output pair (RTCXI/RTCXO) usable with external crystals or ceramic resonators to provide clock inputs. The optimal frequency for the crystal is 32.768 kHz. The electrical requirements and characteristics are described in this section. Figure 7-9 shows an example circuit.

TMS320DM369 dg_rtcosc_prs457.gif Figure 7-9 RTCXI1 Oscillator

The load capacitors, C1 and C2, should be chosen such that the equation is satisfied (typical values are C1 = C2 = 10 pF to 20 pF). CL in the equation below is the load specified by the crystal manufacturer. All discrete components used to implement the oscillator circuit should be placed as close as possible to the associated oscillator pins (RTCXI and RTCXO) and to the VSS_32K pin.

Equation 1. TMS320DM369 osc_eqsysusb_prs348.gif

PRTCSS Electrical Data/Timing

Table 7-7 Timing Requirements for RTCXI(1) (2) (see Figure 7-6)

NO. DEVICE UNIT
MIN TYP MAX
1 tc(RTCXI) Cycle time, RTCXI 30.5175 µs
2 tw(RTCXIH) Pulse duration, RTCXI high .45C .55C ns
3 tw(RTCXIL) Pulse duration, RTCXI low .45C .55C ns
The reference points for the rise and fall transitions are measured at VIL MAX and VIH MIN.
C = MXI1/CLKIN1 cycle time in ns. For example, when MXI1/CLKIN1 frequency is 24 MHz use C = 41.6 ns.
TMS320DM369 td_rtcxi_updatedprs457.gif Figure 7-10 RTCXI Timing

Table 7-8 Switching Characteristics Over Recommended Operating Conditions for RTC Oscillator

PARAMETER MIN TYP MAX UNIT
Start-up time (from power up until oscillating at stable frequency) 0.85 2 s
Oscillation frequency 32.768 kHz
Crystal ESR 70
Frequency stability +/- 50 ppm

The load capacitors, C1 and C2, should be chosen such that the equation is satisfied (typical values are C1 = C2 = 10 pF to 20 pF). CL in the equation is the load specified by the crystal manufacturer. All discrete components used to implement the oscillator circuit should be placed as close as possible to the associated oscillator pins (RTCXI and RTCXO) and to the VSS_MX1 pin.

Power Management and Real Time Clock Subsystem (PRTCSS)

The Power Management and Real Time Clock Subsystem (PRTCSS) is used for calendar applications. The PRTCSS has an independent power supply and can remain ON while the rest of the power supply is turned OFF. The PRTCSS supports the following features:

  • Real Time Clock (RTC)
    • Simple day counter (Up to 89-years)
    • To generate the Alarm event to check the RTC count
    • 16-bit simple timer
    • Watch-dog timer to generate the event for RTC-Sequencer
  • General Purpose I/O with Anti-chattering
    • 3-output pins (PWRCTRO[2:0])
    • 7-In/Output pins (PWRCTRIO[6:0])
  • Interrupt
    • 2 RTCSS interrupts (ARMSS and Timer)
    • 7 GPIO interrupts (PWRCTRIO[6:0]

PRTCSS Peripheral Register Description

The following table lists the PRTCSS Interface registers (PRTCIF) and Table 7-10 lists the PRTCSS registers which can only be accessed via the PRTCIF registers, their corresponding acronyms, and device memory locations (offsets). For more details, see the TMS320DM36x PRTCSS User's Guide (SPRUFJ0).

Table 7-9 PRTC Interface (PRTCIF) Registers

Offset Acronym Register Description
0x0 PID PRTCIF peripheral ID register
0x4 PRTCIF_CTRL PRTCIF control register
0x8 PRTCIF_LDATA PRTCIF access lower data register
0xC PRTCIF_UDATA PRTCIF access upper data register
0x10 PRTCIF_INTEN PRTCIF interrupt enable register
0x14 PRTCIF_INTFLG PRTCIF interrupt flag register

Table 7-10 Power Management and Real Time Clock Subsystem (PRTCSS) Registers

Offset Acronym Register Description
0x0 GO_OUT Global output pin output data register
0x1 GIO_OUT Global input/output pin output data register
0x2 GIO_DIR Global input/output pin direction register
0x3 GIO_IN Global input/output pin input data register
0x4 GIO_FUNC Global input/output pin function register
0x5 GIO_RISE_INT_EN GIO rise interrupt enable register
0x6 GIO_FALL_INT_EN GIO fall interrupt enable register
0x7 GIO_RISE_INT_FLG GIO rise interrupt flag register
0x8 GIO_FALL_INT_FLG GIO fall interrupt flag register
0x9 - 0xA Reserved Reserved
0xB INTC_EXTENA0 EXT interrupt enable 0 register
0xC INTC_EXTENA1 EXT interrupt enable 1 register
0xD INTC_FLG0 Event interrupt flag 0 register
0xE INTC_FLG1 Event interrupt flag 1 register
0x10 RTC_CTRL RTC control register
0x11 RTC_WDT Watchdog timer counter register
0x12 RTC_TMR0 Timer counter 0 register
0x13 RTC_TMR1 Timer counter 1 register
0x14 RTC_CCTRL Calender control register
0x15 RTC_SEC Seconds register
0x16 RTC_MIN Minutes register
0x17 RTC_HOUR Hours register
0x18 RTC_DAY0 Days[[7:0] register
0x19 RTC_DAY1 Days[14:8] register
0x1A RTC_AMIN Minutes Alarm register
0x1B RTC_AHOUR Hour Alarm register
0x1C RTC_ADAY0 Days[7:0] Alarm register
0x1D RTC_ADAY1 Days[14:8] Alarm register
0x20 CLKC_CNT Clock control register

General-Purpose Input/Output (GPIO)

The GPIO peripheral provides general-purpose pins that can be configured as either inputs or outputs. When configured as an output, a write to an internal register can control the state driven on the output pin. When configured as an input, the state of the input is detectable by reading the state of an internal register. In addition, the GPIO peripheral can produce CPU interrupts and EDMA events in different interrupt/event generation modes. The GPIO peripheral provides generic connections to external devices. The GPIO pins are grouped into banks of 16 pins per bank (i.e., bank 0 consists of GPIO [0:15]). There are a total of 7 GPIO banks in the device, because the device has 104 GPIOs. For additional details on GPIO pins voltage level and the associated power supply please see Table 7-11.

Table 7-11 GPIO Pin Voltage Level and Power Supply Reference

Voltage Level 1.8 V or 3.3 V 3.3 V 1.8 V
Power Supply Name VDD_AEMIF1_18_33 VDD_AEMIF2_18_33 VDD_ISIF18_33 VDDS33 VDD18_PRTCSS
Pin Name GIO[78:68] GIO[67] GIO[103:93] GIO[92:79] GIO[110:104]
GIO[66:56] GIO[55:52] GIO[49:0]
GIO[51:50]

The GPIO peripheral supports the following:

  • Up to 104 GPIO pins, GPIO[103:0]
  • Up to 7 GPIO pins dedicated to the PRTC Subsystem. These pins are labeled as PWRCTRIO[6:0]. Only PWRCTRIO[2:0] are connected to the GPIO module, labeled as GPIO[106:104]. For the PRTCSS module the PWRCTRIO[6:0] pins support input and output functionality but for the GPIO module the GPIO[106:104] pins support input functionality only. For more details, see Section 7.7.
  • Interrupts:
    • Up to 15 unique GPIO[15:0] interrupts from Bank 0.
    • Up to 3 unique GPIO[106:104] interrupts from Bank 6, dedicated to the PRTC Subsystem. For more details, see Section 7.7.
    • Interrupts can be triggered by rising and/or falling edge, specified for each interrupt capable GPIO signal
  • DMA events:
    • Up to 15 unique GPIO DMA events from Bank 0
  • Set/clear functionality: Firmware writes 1 to corresponding bit position to set or to clear GPIO signal. This lets multiple firmware processes to toggle GPIO output signals without critical section protection (disable interrupts, program GPIO, re-enable interrupts, to prevent context switching to anther process during GPIO programming).
  • Separate Input/Output registers
  • Output register in addition to set/clear so that, if preferred by firmware, some GPIO output signals can be toggled by direct write to the output register.
  • Output register, when read, reflects output drive status. This, in addition to the input register reflecting pin status, allows wired logic be implemented.

For more detailed information on GPIOs, see the TMS320DM36x Digital Media System-on-Chip (DMSoC) General-Purpose Input/Output (GPIO) User's Guide.

GPIO Peripheral Register Description

Table 7-12 lists the GPIO registers, their corresponding acronyms, and device memory locations (offsets).

Table 7-12 General-Purpose Input/Output (GPIO) Registers

OFFSET ACRONYM REGISTER DESCRIPTION
0h PID Peripheral Identification Register
8h BINTEN GPIO Interrupt Per-Bank Enable Register
GPIO Banks 0 and 1
10h DIR01 GPIO Banks 0 and 1 Direction Register
14h OUT_DATA01 GPIO Banks 0 and 1 Output Data Register
18h SET_DATA01 GPIO Banks 0 and 1 Set Data Register
1Ch CLR_DATA01 GPIO Banks 0 and 1 Clear Data Register
20h IN_DATA01 GPIO Banks 0 and 1 Input Data Register
24h SET_RIS_TRIG GPIO Set Rising Edge Interrupt Register
28h CLR_RIS_TRIG GPIO Clear Rising Edge Interrupt Register
2Ch SET_FAL_TRIG GPIO Set Falling Edge Interrupt Register
30h CLR_FAL_TRIG GPIO Clear Falling Edge Interrupt Register
34h INTSTAT GPIO Interrupt Status Register
GPIO Banks 2 and 3
38h DIR23 GPIO Banks 2 and 3 Direction Register
3Ch OUT_DATA23 GPIO Banks 2 and 3 Output Data Register
40h SET_DATA23 GPIO Banks 2 and 3 Set Data Register
44h CLR_DATA23 GPIO Banks 2 and 3 Clear Data Register
48h IN_DATA23 GPIO Banks 2 and 3 Input Data Register
GPIO Bank 4 and 5
60h DIR45 GPIO Bank 4 and 5 Direction Register
64h OUT_DATA45 GPIO Bank 4 and 5 Output Data Register
68h SET_DATA45 GPIO Bank 4 and 5 Set Data Register
6Ch CLR_DATA45 GPIO Bank 4 and 5 Clear Data Register
70h IN_DATA45 GPIO Bank 4 and 5 Input Data Register
GPIO Bank 6
88h DIR6 GPIO Bank 6 Direction Register
8Ch OUT_DATA6 GPIO Bank 6 Output Data Register
90h SET_DATA6 GPIO Bank 6 Set Data Register
94h CLR_DATA6 GPIO Bank 6 Clear Data Register
98h IN_DATA6 GPIO Bank 6 Input Data Register

GPIO Peripheral Input/Output Electrical Data/Timing

Table 7-13 Timing Requirements for GPIO Inputs (see Figure 7-11)

NO. DEVICE UNIT
MIN MAX
1 tw(GPIH) Pulse duration, GPIx high 12P(1) ns
2 tw(GPIL) Pulse duration, GPIx low 12P(1) ns
P = PLLC1.SYSCLK4 period, where SYSCLK4 is an output clock of PLLC1. For more details, see Section 4.3, Device Clocking.

Table 7-14 Switching Characteristics Over Recommended Operating Conditions for GPIO Outputs
(see Figure 7-11)

NO. PARAMETER DEVICE UNIT
MIN MAX
3 tw(GPOH) Pulse duration, GPOx high 36P(1) - 8 ns
4 tw(GPOL) Pulse duration, GPOx low 36P(1) - 8 ns
P = PLLC1.SYSCLK4 period, where SYSCLK4 is an output clock of PLLC1. For more details, see Section 4.3, Device Clocking.
TMS320DM369 td_gpio_prs348.gif Figure 7-11 GPIO Port Timing

GPIO Peripheral External Interrupts Electrical Data/Timing

Table 7-15 Timing Requirements for External Interrupts/EDMA Events(1) (see Figure 7-12)

NO. DEVICE UNIT
MIN MAX
1 tw(ILOW) Width of the external interrupt pulse low 2P(2) ns
2 tw(IHIGH) Width of the external interrupt pulse high 2P(2) ns
The pulse width given is sufficient to generate an interrupt or an EDMA event. However, if a user wants the device to recognize the GPIO changes through software polling of the GPIO register, the GPIO duration must be extended to allow the device enough time to access the GPIO register through the internal bus.
P = PLLC1.SYSCLK4 period, where SYSCLK4 is an output clock of PLLC1. For more details, see Section 4.3, Device Clocking.
TMS320DM369 td_extint_prs348.gif Figure 7-12 GPIO External Interrupt Timing

EDMA Controller

The EDMA controller handles all data transfers between memories and the device slave peripherals on the device. These are summarized as follows:

  • Transfer to/from on-chip memories
    • ARM program/data RAM
    • HDVICP Coprocessor memory
    • MPEG/JPEG Coprocessor memory
  • Transfer to/from external storage
    • DDR2 / mDDR SDRAM
    • Asynchronous EMIF
    • OneNAND flash
    • NAND flash, NOR flash
    • Smart Media, SD, MMC, xD media storage
  • Transfer to/from peripherals
    • McBSP
    • SPI
    • I2C
    • PWM
    • RTO
    • GPIO
    • Timer/WDT
    • UART
    • MMC/SD

The EDMA Controller consists of two major blocks: the Transfer Controller (TC) and the Channel Controller (CC). The CC is a highly flexible Channel Controller that serves as the user interface and event interface for the EDMA system. The CC supports 64-event channels and 8 QDMA channels. The CC consists of a scalable Parameter RAM (PaRAM) that supports flexible ping-pong, circular buffering, channel-chaining, auto-reloading, and memory protection.

The EDMA Channel Controller has the following features:

  • Fully orthogonal transfer description
    • Three transfer dimensions
    • A-synchronized transfers: one dimension serviced per event
    • AB- synchronized transfers: two dimensions serviced per event
    • Independent indexes on source and destination
    • Chaining feature allows 3-D transfer based on single event
  • Flexible transfer definition
    • Increment and constant addressing modes
    • Linking mechanism allows automatic PaRAM set update
    • Chaining allows multiple transfers to execute with one event
  • Interrupt generation for:
    • DMA completion
    • Error conditions
  • Debug visibility
    • Queue watermarking/threshold
    • Error and status recording to facilitate debug
  • 64 DMA channels
    • Event synchronization
    • Manual synchronization (CPU write to event set register)
    • Chain synchronization (completion of one transfer chains to next)
  • 8 QDMA channels
    • QDMA channels are triggered automatically upon writing to a PaRAM set entry
    • Support for programmable QDMA channel to PaRAM mapping
  • 256 PaRAM sets
    • Each PaRAM set can be used for a DMA channel, QDMA channel, or link set (remaining)
  • Four transfer controllers/event queues. The system-level priority of these queues is user programmable
  • 16 event entries per event queue
  • External events (for example, McBSP TX Evt and RX Evt)
The EDMA Transfer Controller has the following features:

  • Four transfer controllers
  • 64-bit wide read and write ports per channel
  • Up to four in-flight transfer requests (TR)
  • Programmable priority level
  • Supports two dimensional transfers with independent indexes on source and destination (EDMA Channel Controller manages the Third dimension)
  • Support for increment and constant addressing modes
  • Interrupt and error support

Parameter RAM: Each EDMA is specified by an eight word (32-byte) parameter table contained in Parameter RAM (PaRAM) within the CC. The device provides 256 PaRAM entries, one for each of the 64 DMA channels and for 8 QDMA / Linked DMA entries.

DMA Channels: Can be triggered by: " External events (for example, McBSP TX Evt and RX Evt), " Software writing a '1' to the given bit location, or channel, of the Event Set register, or, " Chaining to other DMAs.

QDMA: The Quick DMA (QDMA) function is contained within the CC. The device implements 8 QDMA channels. Each QDMA channel has a selectable PaRAM entry used to specify the transfer. A QDMA transfer is submitted immediately upon writing of the "trigger" parameter (as opposed to the occurrence of an event as with EDMA). The QDMA parameter RAM may be written by any Config bus master through the Config Bus and by DMAs through the Config Bus bridge.

QDMA Channels: Triggered by a configuration bus write to a designated 'QDMA trigger word'. QDMAs allow a minimum number of linear writes (optimized for GEM IDMA feature) to be issued to the CC to force a series of transfers to take place.

EDMA Channel Synchronization Events

The EDMA supports up to 64 EDMA channels which service peripheral devices and external memory. Table 7-16 lists the source of EDMA synchronization events associated with each of the programmable EDMA channels. For the device, the association of an event to a channel is fixed; each of the EDMA channels has one specific event associated with it. These specific events are captured in the EDMA event registers (ER, ERH) even if the events are disabled by the EDMA event enable registers (EER, EERH). For more detailed information on the EDMA module and how EDMA events are enabled, captured, processed, linked, chained, and cleared, etc., see the TMS320DM36x Digital Media System-on-Chip (DMSoC) Enhanced Direct Memory Access (EDMA) Controller User's Guide.

Table 7-16 EDMA Channel Synchronization Events(1) (2)

EDMA
CHANNEL
EVENT NAME EVENT DESCRIPTION
0 TIMER3: TEVT6 Timer 3 Interrupt (TEVT6) Event
1 TIMER3 TEVT7 Timer 3 Interrupt (TEVT7) Event
2 McBSP: XEVT or VoiceCodec : VCREVT McBSP Transmit Event or Voice Codec Transmit Event
3 McBSP :REVT or VoiceCodec : VCREVT McBSP Receive Event or Voice Codec Receive Event
4 VPSS: EVT1 VPSS Event 1
5 VPSS: EVT2 VPSS Event 2
6 VPSS: EVT3 VPSS Event 3
7 VPSS: EVT4 VPSS Event 4
8 TIMER2: TEVT4 Timer 2 interrupt (TEVT4) Event
9 TIMER2: TEVT5 Timer 2 interrupt (TEVT5) Event
10 SPI2: SPI2XEVT SPI2 Transmit Event
11 SPI2: SPI2REVT SPI2 Receive Event
12 MJCP : IMX0INT or HDVICP : HDVICP_ARMINT MPEG/JPEG Coprocessor IMX0INT Event or High Definition Video Image Coprocessor HDVICP_ARMINT Event
13 MJCP : SEQINT MPEG/JPEG Coprocessor SEQINT Event
14 SPI1: SPI1XEVT SPI1 Transmit Event
15 SPI1: SPI1REVT SPI1 Receive Event
16 SPI0: SPI0XEVT SP0I Transmit Event
17 SPI0: SPI0REVT SPI0 Receive Event
18 UART0: URXEVT0 or SPI3: SPI3XEVT UART 0 Receive Event
19 UART0: UTXEVT0 or SPI3: SPI3REVT UART 0 Transmit Event
20 UART1: URXEVT1 UART 1 Receive Event
21 UART1: UTXEVT1 UART 1 Transmit Event
22 TIMER4 : TEVT8 Timer 4 (TEVT8) Event
23 TIMER4 : TEVT9 Timer 4 (TEVT9) Event
24 RTOEVT Real Time Out Module Event
25 GPIO: GPINT9 GPIO 9 Event
26 MMC0RXEVT MMC/SD0 Receive Event
27 MMC0TXEVT MMC/SD0 Transmit Event
28 I2C : ICREVT I2C Receive Event
29 I2C : ICXEVT I2C Transmit Event
30 MMC1RXEVT MMC/SD1 Receive Event
31 MMC1TXEVT MMC/SD1 Transmit Event
32 GPIO :GPINT0 GPIO 0 Event
33 GPIO: GPINT1 GPIO 1 Event
34 GPIO :GPINT2 GPIO 2 Event
35 GPIO :GPINT3 GPIO 3 Event
36 GPIO :GPINT4 GPIO 4 Event
37 GPIO :GPINT5 GPIO 5 Event
38 GPIO :GPINT6 GPIO 6 Event
39 GPIO :GPINT7 GPIO 7 Event
40 GPIO : GPINT10 or EMACRXTHREESH GPIO 10 Event or EMAC EMACRXTHREESH
41 GPIO : GPINT11 or EMACRXPULSE GPIO 11 Event or EMAC EMACRXPULSE
42 GPIO : GPINT12 or EMACTXPULSE GPIO 12 Event or EMAC EMACTXPULSE
43 GPIO : GPINT13 or EMACMISCPULSE GPIO 13 Event or EMAC EMACMISCPULSE
44 GPIO : GPINT14 GPIO 14 Event
45 GPIO : GPINT15 GPIO 15 Event
46 ADC : ADINT Analog to Digital Converter Interrupt Event
47 GPIO : GPINT8 GPIO 8 Event
48 TIMER0 : TEVT0 Timer 0 (TEVT0) Event
49 TIMER0: TEVT1 Timer 1 (TEVT1) Event
50 TIMER1: TEVT2 Timer 2(TEVT2) Event
51 TIMER1: TEVT3 Timer 3(TEVT3) Event
52 PWM0 PWM 0 Event
53 PWM1 or MJCP : IMX1INT PWM 1 Event or MJCP IMX1INT interrupt
54 PWM2 or MJCP : NSFINT PWM 2 Event or MJCP NSFINT interrupt
55 PWM3 or HDVICP(6) : CP_UNDEF MPEG/JPEG Coprocessor PWM 3 Event or High Definition Video Image Coprocessor CP_UNDEF Event
56 MJCP : VLCDINT or HDVICP(5) : CP_ECDCMP MPEG/JPEG Coprocessor VLCDINT Event or High Definition Video Image Coprocessor CP_ECDCMP Event
57 MJCP : BIMINT or HDVICP(8) : CP_ME MPEG/JPEG Coprocessor BIMINT Event or High Definition Video Image Coprocessor CP_ME Event
58 MJCP : DCTINT or HDVICP(1) : CP_CALC MPEG/JPEG Coprocessor DCTINT Event or High Definition Video Image Coprocessor CP_CALC Event
59 MJCP : QIQINT or HDVICP(7) : CP_IPE MPEG/JPEG Coprocessor QIQINT Event or High Definition Video Image Coprocessor CP_IPE Event
60 MJCP : BPSINT or HDVICP(2) : CP_BS MPEG/JPEG Coprocessor BPSINT Event or High Definition Video Image Coprocessor CP_BS Event
61 MJCP : VLCDERRINT or HDVICP(0) : CP_LPF MPEG/JPEG Coprocessor VLCDERRINT Event or High Definition Video Image Coprocessor CP_LPF Event
62 MJCP : RCNTINT or HDVICP(3) : CP_MC MPEG/JPEG Coprocessor RCNTINT Event or High Definition Video Image Coprocessor CP_MC Event
63 MJCP : COPCINT or HDVICP(4) : CP_ECDEND MPEG/JPEG Coprocessor COPCINT Event or High Definition Video Image Coprocessor CP_ECDEND Event
In addition to the events shown in this table, each of the 64 channels can also be synchronized with the transfer completion or intermediate transfer completion events. For more detailed information on EDMA event-transfer chaining, see the Document Support section for the Enhanced Direct Memory Access (EDMA) Controller User's Guide.
The total number of EDMA events exceeds 64, which is the maximum value of the EDMA module. Therefore, several events are multiplexed and you must use the register EDMA_EVTMUX in the System Control Module to select the event source for multiplexed events. See the TMS320DM36x DMSoC ARM Subsystem User's Guide (SPRUFG5) for more information on the System Control Module register EDMA_EVTMUX.

EDMA Peripheral Register Description

Table 7-17 lists the EDMA registers, their corresponding acronyms, and device memory locations (offsets).

Table 7-17 EDMA Registers

Offset Acronym Register Description
00h PID Peripheral Identification Register
04h CCCFG EDMA3CC Configuration Register
Global Registers
0200h QCHMAP0 QDMA Channel 0 Mapping Register
0204h QCHMAP1 QDMA Channel 1 Mapping Register
0208h QCHMAP2 QDMA Channel 2 Mapping Register
020Ch QCHMAP3 QDMA Channel 3 Mapping Register
0210h QCHMAP4 QDMA Channel 4 Mapping Register
0214h QCHMAP5 QDMA Channel 5 Mapping Register
0218h QCHMAP6 QDMA Channel 6 Mapping Register
021Ch QCHMAP7 QDMA Channel 7 Mapping Register
0240h DMAQNUM0 DMA Queue Number Register 0
0244h DMAQNUM1 DMA Queue Number Register 1
0248h DMAQNUM2 DMA Queue Number Register 2
024Ch DMAQNUM3 DMA Queue Number Register 3
0250h DMAQNUM4 DMA Queue Number Register 4
0254h DMAQNUM5 DMA Queue Number Register 5
0258h DMAQNUM6 DMA Queue Number Register 6
025Ch DMAQNUM7 DMA Queue Number Register 7
0260h QDMAQNUM QDMA Queue Number Register
0284h QUEPRI Queue Priority Register
0300h EMR Event Missed Register
0304h EMRH Event Missed Register High
0308h EMCR Event Missed Clear Register
030Ch EMCRH Event Missed Clear Register High
0310h QEMR QDMA Event Missed Register
0314h QEMCR QDMA Event Missed Clear Register
0318h CCERR EDMA3CC Error Register
031Ch CCERRCLR EDMA3CC Error Clear Register
0320h EEVAL Error Evaluate Register
0340h DRAE0 DMA Region Access Enable Register for Region 0
0344h DRAEH0 DMA Region Access Enable Register High for Region 0
...
0350h DRAE2 DMA Region Access Enable Register for Region 2
0354h DRAEH2 DMA Region Access Enable Register High for Region 2
0360h DRAE4 DMA Region Access Enable Register for Region 4
0364h DRAEH4 DMA Region Access Enable Register High for Region 4
0368h DRAE5 DMA Region Access Enable Register for Region 5
036Ch DRAEH5 DMA Region Access Enable Register High for Region 5
0380h QRAE0 QDMA Region Access Enable Register for Region 0
0388h QRAE2 QDMA Region Access Enable Register for Region 2
0390h QRAE4
0394h QRAE5
0400h-047Ch Q0E0-Q1E15 Event Queue Entry Registers Q0E0-Q1E15
0600h QSTAT0 Queue 0 Status Register
0604h QSTAT1 Queue 1 Status Register
0608h QSTAT2 Queue 2 Status Register
060Ch QSTAT3 Queue 3 Status Register
0620h QWMTHRA Queue Watermark Threshold A Register
0640h CCSTAT EDMA3CC Status Register
Global Channel Registers
1000h ER Event Register
1004h ERH Event Register High
1008h ECR Event Clear Register
100Ch ECRH Event Clear Register High
1010h ESR Event Set Register
1014h ESRH Event Set Register High
1018h CER Chained Event Register
101Ch CERH Chained Event Register High
1020h EER Event Enable Register
1024h EERH Event Enable Register High
1028h EECR Event Enable Clear Register
102Ch EECRH Event Enable Clear Register High
1030h EESR Event Enable Set Register
1034h EESRH Event Enable Set Register High
1038h SER Secondary Event Register
103Ch SERH Secondary Event Register High
1040h SECR Secondary Event Clear Register
1044h SECRH Secondary Event Clear Register High
1050h IER Interrupt Enable Register
1054h IERH Interrupt Enable Register High
1058h IECR Interrupt Enable Clear Register
105Ch IECRH Interrupt Enable Clear Register High
1060h IESR Interrupt Enable Set Register
1064h IESRH Interrupt Enable Set Register High
1068h IPR Interrupt Pending Register
106Ch IPRH Interrupt Pending Register High
1070h ICR Interrupt Clear Register
1074h ICRH Interrupt Clear Register High
1078h IEVAL Interrupt Evaluate Register
1080h QER QDMA Event Register
1084h QEER QDMA Event Enable Register
1088h QEECR QDMA Event Enable Clear Register
108Ch QEESR QDMA Event Enable Set Register
1090h QSER QDMA Secondary Event Register
1094h QSECR QDMA Secondary Event Clear Register
Shadow Region 0 Channel Registers
2000h ER Event Register
2004h ERH Event Register High
2008h ECR Event Clear Register
200Ch ECRH Event Clear Register High
2010h ESR Event Set Register
2014h ESRH Event Set Register High
2018h CER Chained Event Register
201Ch CERH Chained Event Register High
2020h EER Event Enable Register
2024h EERH Event Enable Register High
2028h EECR Event Enable Clear Register
202Ch EECRH Event Enable Clear Register High
2030h EESR Event Enable Set Register
2034h EESRH Event Enable Set Register High
2038h SER Secondary Event Register
203Ch SERH Secondary Event Register High
2040h SECR Secondary Event Clear Register
2044h SECRH Secondary Event Clear Register High
2050h IER Interrupt Enable Register
2054h IERH Interrupt Enable Register High
2058h IECR Interrupt Enable Clear Register
205Ch IECRH Interrupt Enable Clear Register High
2060h IESR Interrupt Enable Set Register
2064h IESRH Interrupt Enable Set Register High
2068h IPR Interrupt Pending Register
206Ch IPRH Interrupt Pending Register High
2070h ICR Interrupt Clear Register
2074h ICRH Interrupt Clear Register High
2078h IEVAL Interrupt Evaluate Register
2080h QER QDMA Event Register
2084h QEER QDMA Event Enable Register
2088h QEECR QDMA Event Enable Clear Register
208Ch QEESR QDMA Event Enable Set Register
2090h QSER QDMA Secondary Event Register
2094h QSECR QDMA Secondary Event Clear Register
Shadow Region 1 Channel Registers
2200h ER Event Register
2204h ERH Event Register High
2208h ECR Event Clear Register
220Ch ECRH Event Clear Register High
2210h ESR Event Set Register
2214h ESRH Event Set Register High
2218h CER Chained Event Register
221Ch CERH Chained Event Register High
2220h EER Event Enable Register
2224h EERH Event Enable Register High
2228h EECR Event Enable Clear Register
222Ch EECRH Event Enable Clear Register High
2230h EESR Event Enable Set Register
2234h EESRH Event Enable Set Register High
2238h SER Secondary Event Register
223Ch SERH Secondary Event Register High
2240h SECR Secondary Event Clear Register
2244h SECRH Secondary Event Clear Register High
2250h IER Interrupt Enable Register
2254h IERH Interrupt Enable Register High
2258h IECR Interrupt Enable Clear Register
225Ch IECRH Interrupt Enable Clear Register High
2260h IESR Interrupt Enable Set Register
2264h IESRH Interrupt Enable Set Register High
2268h IPR Interrupt Pending Register
226Ch IPRH Interrupt Pending Register High
2270h ICR Interrupt Clear Register
2274h ICRH Interrupt Clear Register High
2278h IEVAL Interrupt Evaluate Register
2280h QER QDMA Event Register
2284h QEER QDMA Event Enable Register
2288h QEECR QDMA Event Enable Clear Register
228Ch QEESR QDMA Event Enable Set Register
2290h QSER QDMA Secondary Event Register
2294h QSECR QDMA Secondary Event Clear Register
2400h-2494h Shadow Region 2 Channel Registers
2600h-2694h Shadow Region 3 Channel Registers
2800h-2894h Shadow Region 4 Channel Registers
2A00h-2A94h Shadow Region 5 Channel Registers
2C00h-2C94h Shadow Region 6 Channel Registers
2E00h-2E94h Shadow Region 7 Channel Registers
4000h-4FFFh Parameter RAM (PaRAM)

Table 7-18 shows an abbreviation of the set of registers which make up the parameter set for each of 512 EDMA events. Each of the parameter register sets consist of 8 32-bit word entries. Table 7-19 shows the parameter set entry registers with relative memory address locations within each of the parameter sets.

Table 7-18 EDMA Parameter Set RAM

HEX ADDRESS RANGE DESCRIPTION
0x01C0 4000 - 0x01C0 401F Parameters Set 0 (8 32-bit words)
0x01C0 4020 - 0x01C0 403F Parameters Set 1 (8 32-bit words)
0x01C0 4040 - 0x01C0 405F Parameters Set 2 (8 32-bit words)
0x01C0 4060 - 0x01C0 407F Parameters Set 3 (8 32-bit words)
0x01C0 4080 - 0x01C0 409F Parameters Set 4 (8 32-bit words)
0x01C0 40A0 - 0x01C0 40BF Parameters Set 5 (8 32-bit words)
... ...
0x01C0 7FC0 - 0x01C0 7FDF Parameters Set 510 (8 32-bit words)
0x01C0 7FE0 - 0x01C0 7FFF Parameters Set 511 (8 32-bit words)

Table 7-19 Parameter Set Entries

HEX OFFSET ADDRESS
WITHIN THE PARAMETER SET
ACRONYM PARAMETER ENTRY
0x0000 OPT Option
0x0004 SRC Source Address
0x0008 A_B_CNT A Count, B Count
0x000C DST Destination Address
0x0010 SRC_DST_BIDX Source B Index, Destination B Index
0x0014 LINK_BCNTRLD Link Address, B Count Reload
0x0018 SRC_DST_CIDX Source C Index, Destination C Index
0x001C CCNT C Count

External Memory Interface (EMIF)

The device supports several memory and external device interfaces, including:

  • Asynchronous EMIF (AEMIF) for interfacing to SRAM.
    • OneNAND flash memories
    • NAND flash memories
    • NOR flash memories
  • DDR2/mDDR Memory Controller for interfacing to SDRAM.

Asynchronous EMIF (AEMIF)

The EMIF supports the following features:

  • SRAM, NOR flash, etc. on up to 2 asynchronous chip selects addressable up to 16MB each
  • Supports 8-bit or 16-bit data bus widths
  • Programmable asynchronous cycle timings
  • Supports extended wait mode
  • Supports Select Strobe mode

NAND (NAND, SmartMedia, xD)

The NAND features of the EMIF are as follows:

  • NAND flash on up to 2 asynchronous chip selects
  • 8 and 16-bit data bus widths
  • Programmable cycle timings
  • Performs 1-bit and 4-bit ECC calculation
  • NAND Mode also supports SmartMedia/SSFDC (Solid State Floppy Disk Controller) and xD memory cards

OneNAND

The OneNAND features supported are as follows.

  • NAND flash on up to 2 asynchronous chip selects
  • Only 16-bit data bus widths
  • Supports asynchronous writes and reads
  • Supports synchronous reads with continuous linear burst mode (Does not support synchronous reads with wrap burst modes)
  • Programmable cycle timings for each chip select in asynchronous mode

EMIF Peripheral Register Descriptions

Table 7-20 lists the EDMA registers, their corresponding acronyms, and device memory locations (offsets).

Table 7-20 External Memory Interface (EMIF) Registers

OFFSET ACRONYM REGISTER DESCRIPTION
04h AWCCR Asynchronous Wait Cycle Configuration Register
10h A1CR Asynchronous 1 Configuration Register (CE0 space)
14h A2CR Asynchronous 2 Configuration Register (CE1 space)
40h EIRR EMIF Interrupt Raw Register
44h EIMR EMIF Interrupt Mask Register
48h EIMSR EMIF Interrupt Mask Set Register
4Ch EIMCR EMIF Interrupt Mask Clear Register
5Ch ONENANDCTL OneNAND Flash Control Register
60h NANDFCR NAND Flash Control Register
64h NANDFSR NAND Flash Status Register
70h NANDF1ECC NAND Flash 1-Bit ECC Register 1 (CE0 Space)
74h NANDF2ECC NAND Flash 1-Bit ECC Register 2 (CE1 Space)
BCh NAND4BITECCLOAD NANDFlash 4-Bit ECC Load Register
C0h NAND4BITECC1 NAND Flash 4-Bit ECC Register 1
C4h NAND4BITECC2 NAND Flash 4-Bit ECC Register 2
C8h NAND4BITECC3 NAND Flash 4-Bit ECC Register 3
CCh NAND3BITECC4 NAND Flash 4-Bit ECC Register 4
D0h NANDERRADD1 NAND Flash 4-Bit ECC Error Address Register 1
D4h NANDERRADD2 NAND Flash 4-Bit ECC Error Address Register 2
D8h NANDERRVAL1 NAND Flash 4-Bit ECC Error Value Register 1
DCh NANDERRVAL2 NAND Flash 4-Bit ECC Error Value Register 2

AEMIF Electrical Data/Timing

Table 7-21 Timing Requirements for Asynchronous Memory Cycles for AEMIF Module(1) (see Figure 7-13 and Figure 7-14)

NO. DEVICE UNIT
MIN NOM MAX
READS and WRITES
2 tw(EM_WAIT) Pulse duration, EM_WAIT assertion and deassertion 2E ns
READS
12 tsu(EMDV-EMOEH) Setup time, EM_D[15:0] valid before EM_OE high 4 ns
13 th(EMOEH-EMDIV) Hold time, EM_D[15:0] valid after EM_OE high 3 ns
14 tsu (EMOEL-EMWAIT) Setup time EM_WAIT asserted before EM_OE high(2) 4E + 3 ns
READS (OneNAND Synchronous Burst Read)
30 tsu(EMDV-EMCLKH) Setup time, EM_D[15:0] valid before EM_CLK high 4 ns
31 th(EMCLKH-EMDIV) Hold time, EM_D[15:0] valid after EM_CLK high 3 ns
WRITES
28 tsu (EMWEL-EMWAIT) Setup time EM_WAIT asserted before EM_WE high(2) 4E + 3 ns
E=2*PLL1C SYSCLK4 period in ns. See Section 4.3 for more information.
Setup before end of STROBE phase (if no extended wait states are inserted) by which EM_WAIT must be asserted to add extended wait states. Figure 7-15 and Figure 7-16 describe EMIF transactions that include extended wait states inserted during the STROBE phase. However, cycles inserted as part of this extended wait period should not be counted; the 4E requirement is to the start of where the HOLD phase would begin if there were no extended wait cycles.

Table 7-22 Switching Characteristics Over Recommended Operating Conditions for Asynchronous Memory Cycles for AEMIF Module(1) (2) (3) (see Figure 7-13 and Figure 7-14)

NO. PARAMETER DEVICE UNIT
MIN TYP MAX
READS and WRITES
1 td(TURNAROUND) Turn around time (TA)*E ns
READS
3 tc(EMRCYCLE) EMIF read cycle time (EW = 0) (RS+RST+RH + 3)*E ns
EMIF read cycle time (EW = 1) (RS+RST+RH+3)*E ns
4 tsu(EMCEL-EMOEL) Output setup time, EM_CE[1:0] low to EM_OE low (SS = 0) (RS + 1)*E + 3 ns
Output setup time, EM_CE[1:0] low to EM_OE low (SS = 1) (RS + 1)*E ns
5 th(EMOEH-EMCEH) Output hold time, EM_OE high to EM_CE[1:0] high (SS = 0) (RH + 1)*E ns
Output hold time, EM_OE high to EM_CE[1:0] high (SS = 1) (RH + 1)*E ns
6 tsu(EMBAV-EMOEL) Output setup time, EM_BA[1:0] valid to EM_OE low (RS + 1)*E ns
7 th(EMOEH-EMBAIV) Output hold time, EM_OE high to EM_BA[1:0] invalid (RH + 1)*E ns
8 tsu(EMBAV-EMOEL) Output setup time, EM_A[21:0] valid to EM_OE low (RS + 1)*E ns
9 th(EMOEH-EMAIV) Output hold time, EM_OE high to EM_A[21:0] invalid (RH + 1)*E ns
10 tw(EMOEL) EM_OE active low width (EW = 0) (RST)*E ns
EM_OE active low width (EW = 1) (RST+(EWC*16))*E ns
11 td(EMWAITH-EMOEH) Delay time from EM_WAIT deasserted to EM_OE high 4E ns
READS (OneNAND Synchronous Burst Read)
32 fc(EM_CLK) Frequency, EM_CLK 66 MHz
33 tc(EM_CLK) Cycle time, EM_CLK 15.15 ns
34 tsu(EM_ADVV-EM_CLKH) Output setup time, EM_ADV valid before EM_CLK high 2E - 2.5 ns
35 th(EM_CLKH-EM_ADVIV) Output hold time, EM_CLK high to EM_ADV invalid 2E + 3 ns
36 tsu(EM_AV-EM_CLKH) Output setup time, EM_A[21:0]/EM_BA[1] valid before EM_CLK high 2E - 2.5 ns
37 th(EM_CLKH-EM_AIV) Output hold time, EM_CLK high to EM_A[21:0]/EM_BA[1] invalid 2E + 3 ns
38 tw(EM_CLKH) Pulse duration, EM_CLK high 5.05 ns
39 tw(EM_CLKL) Pulse duration, EM_CLK low 5.05 ns
WRITES
15 tc(EMWCYCLE) EMIF write cycle time (EW = 0) (WS + WST + WH + TA + 4) * E - 3 (WS + WST + WH + TA + 4) * E + 3 ns
EMIF write cycle time (EW = 1) (WS + WST + WH + TA + 4) * E - 3 (WS + WST + WH + TA + 4) * E + 3 ns
16 tsu(EMCEL-EMWEL) Output setup time, EM_CE[1:0] low to EM_WE low (SS = 0) (WS+1) * E - 3 ns
Output setup time, EM_CE[1:0] low to EM_WE low (SS = 1) (WS+1) * E - 3 ns
17 th(EMWEH-EMCEH) Output hold time, EM_WE high to EM_CE[1:0] high (SS = 0) (WH+1) * E - 3 ns
Output hold time, EM_WE high to EM_CE[1:0] high (SS = 1) (WH+1) * E - 3 ns
20 tsu(EMBAV-EMWEL) Output setup time, EM_BA[1:0] valid to EM_WE low (WS+1) * E - 3 ns
21 th(EMWEH-EMBAIV) Output hold time, EM_WE high to EM_BA[1:0] invalid (WH+1) * E - 3 ns
22 tsu(EMAV-EMWEL) Output setup time, EM_A[21:0] valid to EM_WE low (WS+1) * E - 3 ns
23 th(EMWEH-EMAIV) Output hold time, EM_WE high to EM_A[21:0] invalid (WH+1) * E - 3 ns
24 tw(EMWEL) EM_WE active low width (EW = 0) (WST+1) * E - 3 ns
EM_WE active low width (EW = 1) (WST+1) * E - 3 ns
25 td(EMWAITH-EMWEH) Delay time from EM_WAIT deasserted to EM_WE high 4E + 3 ns
26 tsu(EMDV-EMWEL) Output setup time, EM_D[15:0] valid to EM_WE low (WS+1) * E - 3 ns
27 th(EMWEH-EMDIV) Output hold time, EM_WE high to EM_D[15:0] invalid (WH+1) * E - 3 ns
TA = Turn around, RS = Read setup, RST = Read strobe, RH = Read hold, WS = Write setup, WST = Write strobe, WH = Write hold, MEWC = Maximum external wait cycles. These parameters are programmed via the Asynchronous Bank and Asynchronous Wait Cycle Configuration Registers. These support the following range of values: TA[4-1], RS[16-1], RST[64-1], RH[8-1], WS[16-1], WST[64-1], WH[8-1], and MEW[1-256]. See the TMS320DM36x Digital Media System-on-Chip (DMSoC) Asynchronous External Memory Interface (EMIF) User's Guide (SPRUFI1) for more information.
E=2*PLL1C SYSCLK4 period in ns. See Section 4.3 for more information.
EWC = external wait cycles determined by EM_WAIT input signal. EWC supports the following range of values EWC[256-1]. Note that the maximum wait time before timeout is specified by bit field MEWC in the Asynchronous Wait Cycle Configuration Register. See the TMS320DM36x Digital Media System-on-Chip (DMSoC) Asynchronous External Memory Interface (EMIF) User's Guide (SPRUFI1) for more information.
TMS320DM369 td_async_rd_prs348.gif Figure 7-13 Asynchronous Memory Read Timing for EMIF
TMS320DM369 td_async_wrt_prs348.gif Figure 7-14 Asynchronous Memory Write Timing for EMIF
TMS320DM369 td_async_wrd1_prs348.gif Figure 7-15 EM_WAIT Read Timing Requirements
TMS320DM369 td_async_wwt_prs348.gif Figure 7-16 EM_WAIT Write Timing Requirements
TMS320DM369 clbm1_wa_prs348.gif Figure 7-17 Synchronous OneNAND Flash Read Timing

DDR2/mDDR Memory Controller

The DDR2/mDDR Memory Controller is a dedicated interface to DDR2 / mDDR SDRAM. It supports JESD79D-2A standard compliant DDR2 SDRAM devices and compliant Mobile DDR SDRAM devices. DDR2 / mDDR SDRAM plays a key role in a device-based system. Such a system is expected to require a significant amount of high-speed external memory for all of the following functions:

  • Buffering of input image data from sensors or video sources
  • Intermediate buffering for processing/resizing of image data in the VPFE
  • Numerous OSD display buffers
  • Intermediate buffering for large raw Bayer data image files while performing image processing functions
  • Buffering for intermediate data while performing video encode and decode functions
  • Storage of executable code for the ARM

The DDR2/mDDR Memory Controller supports the following features:

  • JESD79D-2A standard compliant DDR2 SDRAM
  • Mobile DDR SDRAM
  • 256 MByte memory space
  • Data bus width 16 bits
  • CAS latencies:
    • DDR2: 2, 3, 4, and 5
    • mDDR: 2 and 3
  • Internal banks:
    • DDR2: 1, 2, 4, and 8
    • mDDR: 1, 2, and 4
  • Burst length: 8

  • Burst type: sequential

  • 1 CS signal
  • Page sizes: 256, 512, 1024, and 2048
  • SDRAM autoinitialization
  • Self-refresh mode
  • Partial array self-refresh (for mDDR)
  • Power down mode
  • Prioritized refresh
  • Programmable refresh rate and backlog counter
  • Programmable timing parameters
  • Little endian

For details on the DDR2/mDDR Memory Controller, see the TMS320DM36x Digital Media System-on-Chip (DMSoC) DDR2/mDDR Memory Controller User's Guide (SPRUFI2).

DDR2/mDDR Memory Controller Electrical Data/Timing

Table 7-23 Switching Characteristics Over Recommended Operating Conditions for DDR2 Memory Controller(1) (2)(see Figure 7-18)

NO. PARAMETER MIN MAX UNIT
1 tf(DDR_CLK) Frequency, DDR_CLK 340-DDR2 (supported for 432-MHz device) 90 340 MHz
mDDR (supported for 432-MHz device) 90 168
DDR_CLK = PLLC1.SYSCLK7/2 or PLLC2.SYSCLK3/2.
The PLL2 Controller must be programmed such that the resulting DDR_CLK clock frequency is within the specified range.
TMS320DM369 td_ddr2clk_prs403.gif Figure 7-18 DDR2 Memory Controller Clock Timing

DDR2/mDDR Routing Specifications

DDR2/mDDR Interface

This section provides the timing specification for the DDR2/mDDR interface as a PCB design and manufacturing specification. The design rules constrain PCB trace length, PCB trace skew, signal integrity, cross-talk, and signal timing. These rules, when followed, result in a reliable DDR2/mDDR memory system without the need for a complex timing closure process. For more information regarding guidelines for using this DDR2 specification, see the Understanding TI's PCB Routing Rule-Based DDR2 Timing Specification (SPRAAV0).

DDR2/mDDR Interface Schematic

Figure 7-19 shows the DDR2/mDDR interface schematic for a single-memory DDR2/mDDR system. The dual-memory system shown in Figure 7-20. Pin numbers for the device can be obtained from the pin description section.

TMS320DM369 f_1_praarupdated4.gif
Vio 1.8 is the power supply for the DDR2/mDDR memories and the DM36x DDR2/mDDR interface.
One of these capacitors can be eliminated if the divider and its capacitors are placed near a device VREF pin. In the Case of mobile DDR, these capacitors can be eliminated completely.
When present, A13 signals should be connected.
VREF applies in the case of DDR2 memories. For mDDR the DMSoC DDR_VREF pin still needs to be connected to the divider circuit.
Figure 7-19 DDR2/mDDR Single-Memory High Level Schematic
TMS320DM369 f_2_updatedpraar3.gif
Vio 1.8 is the power supply for the DDR2/mDDR memories and the DM36x DDR2/mDDR interface.
One of these capacitors can be eliminated if the divider and its capacitors are placed near a device VREF pin. In the Case of mobile DDR, these capacitors can be eliminated completely.
When present, A13 signals should be connected.
VREF applies in the case of DDR2 memories. For mDDR the DMSoC DDR_VREF pin still needs to be connected to the divider circuit.
Figure 7-20 DDR2/mDDR Dual-Memory High Level Schematic

Compatible JEDEC DDR2/mDDR Devices

Table 7-24 shows the parameters of the JEDEC DDR2/mDDR devices that are compatible with this interface. Generally, the DDR2/mDDR interface is compatible with x16 DDR2/mDDR devices.

The device also supports JEDEC DDR2/mDDR x8 devices in the dual chip configuration. In this case, one chip supplies the upper byte and the second chip supplies the lower byte. Addresses and most control signals are shared just like regular dual chip memory configurations.

Table 7-24 Compatible JEDEC DDR2/mDDR Devices

No. Parameter Min Max Unit Notes
1 JEDEC DDR2/mDDR Device Speed Grade DDR2-800 (for 340MHz DDR2) See Notes (1), (3)
mDDR-400 (for 168MHz mDDR) See Notes (1), (4)
2 JEDEC DDR2/mDDR Device Bit Width x8 x16 Bits
3 JEDEC DDR2/mDDR Device Count 1 2 Devices See Note (2)
Higher DDR2/mDDR speed grades are supported due to inherent JEDEC DDR2/mDDR backwards compatibility.
Supported configurations are one 16-bit DDR2/mDDR memory or two 8-bit DDR2/mDDR memories.
Used for DDR2.
Used for mobile DDR.

PCB Stack Up

The minimum stack up required for routing the device is a six layer stack as shown in Table 7-25. Additional layers may be added to the PCB stack up to accommodate other circuitry or to reduce the size of the PCB footprint.

Table 7-25 Minimum PCB Stack Up

Layer Type Description
1 Signal Top Routing Mostly Horizontal
2 Plane Ground
3 Plane Power
4 Signal Internal Routing
5 Plane Ground
6 Signal Bottom Routing Mostly Vertical

Complete stack up specifications are provided below.

Table 7-26 PCB Stack Up Specifications(3)

No. Parameter Min Typ Max Unit Notes
1 PCB Routing/Plane Layers 6
2 Signal Routing Layers 3
3 Full ground layers under DDR2/mDDR routing region 2
4 Number of ground plane cuts allowed within DDR routing region 0
5 Number of ground reference planes required for each DDR2/mDDR routing layer 1
6 Number of layers between DDR2/mDDR routing layer and reference ground plane 0
7 PCB Routing Feature Size 4 Mils
8 PCB Trace Width w 4 Mils
9 PCB BGA escape via pad size 18 Mils
10 PCB BGA escape via hole size 8 Mils
11 DMSoC Device BGA pad size See Note (4)
12 DDR2/mDDR Device BGA pad size See Note (1)
13 Single Ended Impedance, Zo 50 75 Ω
14 Impedance Control Z-5 Z Z+5 Ω See Note (2)
Please see the DDR2/mDDR device manufacturer documentation for the DDR2/mDDR device BGA pad size.
Z is the nominal singled ended impedance selected for the PCB specified by item 13.
Consult the PCB fabricator to determine their preference for escape via size.
Please refer to the Flip Chip Ball Grid Array Package Reference Guide (SPRU811) for DMSoC device BGA pad size.

Placement

Figure 7-21 shows the required placement for the device and the DDR2/mDDR devices. The dimensions for Figure 7-21 are defined in Table 7-27. The placement does not restrict the side of the PCB that the devices are mounted on. The ultimate purpose of the placement is to limit the maximum trace lengths and allow for proper routing space. For single-memory DDR2/mDDR systems, the second DDR2/mDDR device is omitted from the placement.

TMS320DM369 f2_praar3_UPDATED.gif Figure 7-21 DM369 and DDR2/mDDR Device Placement

Table 7-27 Placement Specifications

No. Parameter Min Max Unit Notes
1 X 1750 Mils See Notes (1), (2)
2 Y 1280 Mils See Notes (1), (2)
3 Y Offset 650 Mils See Notes (1). (2), (3)
4 DDR2/mDDR Keepout Region See Note (4)
5 Clearance from non-DDR2/mDDR signal to DDR2/mDDR Keepout Region 4 w See Note (5)
See Figure 7-19 for dimension definitions.
Measurements from center of DMSoC device to center of DDR2/mDDR device.
For single memory systems it is recommended that Y Offset be as small as possible.
DDR2/mDDR Keepout region to encompass entire DDR2/mDDR routing area
Non-DDR2/mDDR signals allowed within DDR2/mDDR keepout region provided they are separated from DDR2/mDDR routing layers by a ground plane.

DDR2/mDDR Keep Out Region

The region of the PCB used for the DDR2/mDDR circuitry must be isolated from other signals. The DDR2/mDDR keep out region is defined for this purpose and is shown in Figure 7-22. The size of this region varies with the placement and DDR routing. Additional clearances required for the keep out region are shown in Table 7-27.

TMS320DM369 f3_praar3.gif Figure 7-22 DDR2/mDDR Keepout Region

Bulk Bypass Capacitors

Bulk bypass capacitors are required for moderate speed bypassing of the DDR2/mDDR and other circuitry. Table 7-28 contains the minimum numbers and capacitance required for the bulk bypass capacitors. Note that this table only covers the bypass needs of the DMSoC and DDR2/mDDR interfaces. Additional bulk bypass capacitance may be needed for other circuitry.

Table 7-28 Bulk Bypass Capacitors

No. Parameter Min Max Unit Notes
1 VDD18_DDR Bulk Bypass Capacitor Count 3 Devices See Note (1)
2 VDD18_DDR Bulk Bypass Total Capacitance 30 uF
3 DDR#1 Bulk Bypass Capacitor Count 1 Devices See Note (1)
4 DDR#1 Bulk Bypass Total Capacitance 22 uF
5 DDR#2 Bulk Bypass Capacitor Count 1 Devices See Notes (1), (2)
6 DDR#2 Bulk Bypass Total Capacitance 22 uF See Note (2)
These devices should be placed near the device they are bypassing, but preference should be given to the placement of the high-speed (HS) bypass caps.
Only used on dual-memory systems

High-Speed Bypass Capacitors

High-speed (HS) bypass capacitors are critical for proper DDR2/mDDR interface operation. It is particularly important to minimize the parasitic series inductance of the HS bypass cap, DMSoC/DDR2/mDDR power, and DMSoC/DDR2/mDDR ground connections. Table 7-29 contains the specification for the HS bypass capacitors and for the power connections on the PCB.

Table 7-29 High-Speed Bypass Capacitors

No. Parameter Min Max Unit Notes
1 HS Bypass Capacitor Package Size 0402 10 Mils See Note (1)
2 Distance from HS bypass capacitor to device being bypassed 250 Mils
3 Number of connection vias for each HS bypass capacitor 2 Vias See Note (4)
4 Trace length from bypass capacitor contact to connection via 1 30 Mils
5 Number of connection vias for each DDR2/mDDR device power or ground balls 1 Vias
6 Trace length from DDR2/mDDR device power ball to connection via 35 Mils
7 VDD18_DDR HS Bypass Capacitor Count 10 Devices See Note (2)
8 VDD18_DDR HS Bypass Capacitor Total Capacitance 1.2 uF
9 DDR#1 HS Bypass Capacitor Count 8 Devices See Note (2)
10 DDR#1 HS Bypass Capacitor Total Capacitance 0.4 uF
11 DDR#2 HS Bypass Capacitor Count 8 Devices See Notes (2), (3)
12 DDR#2 HS Bypass Capacitor Total Capacitance 0.4 uF See Note (3)
LxW, 10 mil units, i.e., a 0402 is a 40x20 mil surface mount capacitor
These devices should be placed as close as possible to the device being bypassed.
Only used on dual-memory systems
An additional HS bypass capacitor can share the connection vias only if it is mounted on the opposite side of the board.

Net Classes

Table 7-30 lists the clock net classes for the DDR2/mDDR interface. Table 7-31 lists the signal net classes, and associated clock net classes, for the signals in the DDR2/mDDR interface. These net classes are used for the termination and routing rules that follow.

Table 7-30 Clock Net Class Definitions

Clock Net Class DMSoC Pin Names
CK DDR_CLK/DDR_CLK
DQS0 DDR_DQS0/DDR_DQSN0
DQS1 DDR_DQS1/DDR_DQSN1

Table 7-31 Signal Net Class Definitions

Clock Net Class Associated Clock Net Class DMSoC Pin Names
ADDR_CTRL CK DDR_BA[2:0], DDR_A[13:0], DDR_CS, DDR_CAS, DDR_RAS, DDR_WE, DDR_CKE
DQ0 DQS0 DDR_DQ[7:0], DDR_DQM0
DQ1 DQS1 DDR_DQ[15:8], DDR_DQM1
DQGATE CK, DQS0, DQS1 DDR_DQGATE0, DDR_DQGATE1

DDR2/mDDR Signal Termination

No terminations of any kind are required in order to meet signal integrity and overshoot requirements. Serial terminators are permitted, if desired, to reduce EMI risk; however, serial terminations are the only type permitted. Table 7-32 shows the specifications for the series terminators.

Table 7-32 DDR2/mDDR Signal Terminations

No. Parameter Min Typ Max Unit Notes
1 CK Net Class 0 10 Ω See Note (1)
2 ADDR_CTRL Net Class 0 22 Zo Ω See Notes (1), (2), (3)
3 Data Byte Net Classes (DQS0-DQS1, DQ0-DQ1) 0 22 Zo Ω See Notes (1), (2), (3), (4)
4 DQGATE Net Class (DQGATE) 0 10 Zo Ω See Notes (1), (2), (3)
Only series termination is permitted, parallel or SST specifically disallowed.
Terminator values larger than typical only recommended to address EMI issues.
Termination value should be uniform across net class.
When no termination is used on data lines (0 Ωs), the DDR2/mDDR devices must be programmed to operate in 60% strength mode.

VREF Routing

VREF is used as a reference by the input buffers of the DDR2/mDDR memories and the device. VREF is intended to be the DDR2/mDDR power supply voltage and should be created using a resistive divider as shown in Figure 7-19. Other methods of creating VREF are not recommended. Figure 7-23 shows the layout guidelines for VREF.

TMS320DM369 figure_4_praar3_UPDATED.gif Figure 7-23 VREF Routing and Topology

DDR2/mDDR CK and ADDR_CTRL Routing

Figure 7-24 shows the topology of the routing for the CK and ADDR_CTRL net classes. The route is a balanced T as it is intended that the length of segments B and C be equal. In addition, the length of A should be maximized.

TMS320DM369 f5_praar3_updated.gif Figure 7-24 CK and ADDR_CTRL Routing and Topology

Table 7-33 CK and ADDR_CTRL Routing Specification (1)

No Parameter Min Typ Max Unit Notes
1 Center to center DQS-DQSN spacing 2w
2 CK A to B/A to C Skew Length Mismatch 25 Mils See Note (1)
3 CK B to C Skew Length Mismatch 25 Mils
4 Center to center CK to other DDR2/mDDR trace spacing 4w See Note (3)
5 CK/ADDR_CTRL nominal trace length CACLM-50 CACLM CACLM+50 Mils See Note (2)
6 ADDR_CTRL to CK Skew Length Mismatch 100 Mils
7 ADDR_CTRL to ADDR_CTRL Skew Length Mismatch 100 Mils
8 Center to center ADDR_CTRL to other DDR2/mDDR trace spacing 4w See Note (3)
9 Center to center ADDR_CTRL to other ADDR_CTRL trace spacing 3w See Note (3)
10 ADDR_CTRL A to B/A to C Skew Length Mismatch 100 Mils See Note (1)
11 ADDR_CTRL B to C Skew Length Mismatch 100 Mils
Series terminator, if used, should be located closest to DMSoC.
CACLM is the longest Manhattan distance of the CK and ADDR_CTRL net classes.
Center to center spacing is allowed to fall to minimum (w) for up to 500 mils of routed length to accommodate BGA escape and routing congestion.

Figure 7-25 shows the topology and routing for the DQS and DQ net classes; the routes are point to point. Skew matching across bytes is not needed nor recommended.

TMS320DM369 f6_praar3_updated.gif Figure 7-25 DQS and DQ Routing and Topology

Table 7-34 DQS and DQ Routing Specification

No. Parameter Min Typ Max Unit Notes
1 Center to center DQS-DQSN spacing 2w
2 DQS E Skew Length Mismatch 25 Mils
3 Center to center DQS to other DDR2/mDDR trace spacing 4w See Note (4)
4 DQS/DQ nominal trace length DQLM-50 DQLM DQLM+50 Mils See Notes (1), (3)
5 DQ to DQS Skew Length Mismatch 100 Mils See Note (3)
6 DQ to DQ Skew Length Mismatch 100 Mils See Note (3)
7 DQ to DQ/DQS via Count Mismatch 1 Vias (2)(3)
8 Center to center DQ to other DDR2/mDDR trace spacing 4w See Notes (4),(5)
9 Center to Center DQ to other DQ trace spacing 3w See Notes (2), (4)
10 DQ/DQS E Skew Length Mismatch 100 Mils See Note (3)
Series terminator, if used, should be located closest to DDR.
DQLM is the longest Manhattan distance of each of the DQS and DQ net classes.
There is no need and it is not recommended to skew match across data bytes, i.e., from DQS0 and data byte 0 to DQS1 and data byte 1.
Center to center spacing is allowed to fall to minimum (w) for up to 500 mils of routed length to accommodate BGA escape and routing congestion.
DQ's from other DQS domains are considered other DDR2/mDDR trace.

Figure 7-26 shows the routing for the DQGATE net classes. Table 7-35 contains the routing specification.

TMS320DM369 f12_praar3_UPDATED.gif Figure 7-26 DQGATE Routing

Table 7-35 DQGATE Routing Specification

No. Parameter Min Typ Max Unit Notes
1 DQGATE Length F CKB0B1 See Note (1)
3 Center to center DQGATE to any other trace spacing 4w
4 DQS/DQ nominal trace length DQLM-50 DQLM DQLM+50 Mils
5 DQGATE Skew 100 Mils See Note (2)
CKB0B1 is the sum of the length of the CK net plus the average length of the DQS0 and DQS1 nets.
Skew from CKB0B1

MMC/SD

The device includes MMC/SD Controllers which are compliant with MMC V3.31, Secure Digital Part 1 Physical Layer Specification V1.1 and Secure Digital Input Output (SDIO) V2.0 specifications.

The device MMC/SD Controller has following features:

  • MultiMediaCard (MMC)
  • Secure Digital (SD) Memory Card
  • MMC/SD protocol support
  • SDIO protocol support
  • Programmable clock frequency
  • 512 bit Read/Write FIFO to lower system overhead
  • Slave EDMA transfer capability
  • SD High Capacity support

The device MMC/SD Controller does not support SPI mode.

MMC/SD Peripheral Register Description

Table 7-36 lists the MMC/SD registers, their corresponding acronyms, and device memory locations (offsets).

Table 7-36 Multimedia Card/Secure Digital (MMC/SD) Card Controller Registers

OFFSET ACRONYM REGISTER DESCRIPTION
00h MMCCTL MMC Control Register
04h MMCCLK MMC Memory Clock Control Register
08h MMCST0 MMC Status Register 0
0Ch MMCST1 MMC Status Register 1
10h MMCIM MMC Interrupt Mask Register
14h MMCTOR MMC Response Time-Out Register
18h MMCTOD MMC Data Read Time-Out Register
1Ch MMCBLEN MMC Block Length Register
20h MMCNBLK MMC Number of Blocks Register
24h MMCNBLC MMC Number of Blocks Counter Register
28h MMCDRR MMC Data Receive Register
2Ch MMCDXR MMC Data Transmit Register
30h MMCCMD MMC Command Register
34h MMCARGHL MMC Argument Register
38h MMCRSP01 MMC Response Register 0 and 1
3Ch MMCRSP23 MMC Response Register 2 and 3
40h MMCRSP45 MMC Response Register 4 and 5
44h MMCRSP67 MMC Response Register 6 and 7
48h MMCDRSP MMC Data Response Register
50h MMCCIDX MMC Command Index Register
64h SDIOCTL SDIO Control Register
68h SDIOST0 SDIO Status Register 0
6Ch SDIOIEN SDIO Interrupt Enable Register
70h SDIOIST SDIO Interrupt Status Register
74h MMCFIFOCTL MMC FIFO Control Register

MMC/SD Electrical Data/Timing

Table 7-37 Timing Requirements for MMC/SD Module
(see Figure 7-28 and Figure 7-30)

NO. DEVICE UNIT
FAST MODE STANDARD MODE
MIN MAX MIN MAX
1 tsu(CMDV-CLKH) Setup time, SD_CMD valid before SD_CLK high 2.7 2.7 ns
2 th(CLKH-CMDV) Hold time, SD_CMD valid after SD_CLK high 2.5 2.5 ns
3 tsu(DATV-CLKH) Setup time, SD_DATx valid before SD_CLK high 2.7 2.7 ns
4 th(CLKH-DATV) Hold time, SD_DATx valid after SD_CLK high 2.5 2.5 ns

Table 7-38 Switching Characteristics Over Recommended Operating Conditions for MMC/SD Module (see Figure 7-27 through Figure 7-30)

NO. PARAMETER DEVICE UNIT
FAST MODE STANDARD MODE
MIN MAX MIN MAX
7 f(CLK) Operating frequency, SD_CLK 0 50 0 25 MHz
8 f(CLK_ID) Identification mode frequency, SD_CLK 0 400 0 400 KHz
9 tW(CLKL) Pulse width, SD_CLK low 6.5 6.5 ns
10 tW(CLKH) Pulse width, SD_CLK high 6.5 6.5 ns
11 tr(CLK) Rise time, SD_CLK 3 3 ns
12 tf(CLK) Fall time, SD_CLK 3 3 ns
13 td(CLKL-CMD) Delay time, SD_CLK low to SD_CMD transition -4.1 1.5 -4.1 1.5 ns
14 td(CLKL-DAT) Delay time, SD_CLK low to SD_DATx transition -4.1 1.5 -4.1 1.5 ns
TMS320DM369 td_mmcsdcmd_prs348.gif Figure 7-27 MMC/SD Host Command Timing
TMS320DM369 td_mmcsdrspn_prs271.gif Figure 7-28 MMC/SD Card Response Timing
TMS320DM369 td_mmcsdwrt_prs348.gif Figure 7-29 MMC/SD Host Write Timing
TMS320DM369 td_mmcsdrdst_prs348.gif Figure 7-30 MMC/SD Host Read and Card CRC Status Timing

Video Processing Subsystem (VPSS) Overview

The device contains a Video Processing Subsystem (VPSS) that provides an input interface (Video Processing Front End or VPFE) for external imaging peripherals such as image sensors, video decoders, etc.; and an output interface (Video Processing Back End or VPBE) for display devices, such as analog SDTV/HDTV displays, digital LCD panels, etc.

In addition to these peripherals, there is a set of common buffer memory and DMA control to ensure efficient use of the DDR2/mDDR burst bandwidth. The shared buffer logic/memory is a unique block that is tailored for seamlessly integrating the VPSS into an image/video processing system. It acts as the primary source or sink to all the VPFE and VPBE modules that are either requesting or transferring data from/to DDR2/mDDR . In order to efficiently use the external DDR2/mDDR bandwidth, the shared buffer logic/memory interfaces with the DMA system via a high bandwidth bus (64-bit wide). The shared buffer logic/memory also interfaces with all the VPFE and VPBE modules via a 128-bit wide bus. The shared buffer logic/memory (divided into the read & write buffers and arbitration logic) is capable of performing the following functions. It is imperative that the VPSS use DDR2/mDDR bandwidth efficiently due to both its large bandwidth requirements and the real-time requirements of the VPSS modules. Because it is possible to configure the VPSS modules in such a way that DDR2/mDDR bandwidth is exceeded, a set of user accessible registers is provided to monitor overflows or failures in data transfers.

Video Processing Front-End (VPFE)

The VPFE or Video Processing Front-End block is comprised of the Image Sensor Interface (ISIF), Image Pipe (IPIPE), Image Pipe Interface (IPIPEIF), Hardware 3A Statistic Generator (H3A), and a Hardware Face Detect Engine. These modules are described in the sections that follow.

The VPFE sub-module register memory mapping is shown in Table 7-39.

Table 7-39 Video Processing Front End Sub-Module Register Map

Address:Offset Acronym Register Description
0x01C7:0000 ISP ISP System Configuration
0x01C7:0200 VPBE_CLK_CTRL VPBE Clock Control
0x01C7:0400 RSZ Resizer
0x01C7:0800 IPIPE Image Pipe
0x01C7:1000 ISIF Image Sensor Interface
0x01C7:1200 IPIPEIF Image Pipe Interface
0x01C7:1400 H3A Hardware 3A
0x01C7:1600 - 0x01C7:17FF Reserved Reserved
0x01C7:1800 FDIF Face Detection Register Interface
0x01C7:1C00 OSD VPBE On-Screen Display
0x01C7:1D00 - 0x01C7:1DFF Reserved Reserved
0x01C7:1E00 VENC VPBE Video Encoder
0x01C7:2000 - 0x01CF:FFFF Reserved Reserved

Image Sensor Interface (ISIF)

The ISIF is responsible for accepting raw (unprocessed) image/video data from a sensor (CMOS or CCD). In addition, the ISIF can accept YUV video data in numerous formats, typically from so-called video decoder devices. In case of raw inputs, the ISIF output requires additional image processing to transform the raw input image to the final processed image. This processing can be done either on-the-fly in IPIPE or in software on the ARM and MPEG/JPEG and HD Video Image coprocessor subsystems. In parallel, raw data input to the ISIF can also used for computing various statistics (H3A, Histogram) to eventually control the image/video tuning parameters. The ISIF is programmed via control and parameter registers. The following features are supported by the ISIF module.

  • Support for conventional Bayer pattern, pixel summation mode, and RGB stripe sensor formats.
  • Support for the various pixel summation mode formats is provided via a data reformatter of ISIF, which transforms any specific sensor formats to the Bayer format. The maximum line width supported by the reformatter is 4736 pixels.
  • Image processing steps applicable to RGB stripe sensors are limited to color-dependent gain control and black level offset control."
  • Generates HD/VD timing signals and field ID to an external timing generator, or can synchronize to the external timing generator.
  • Support for progressive and interlaced sensors (hardware support for up to 2 fields and firmware support for higher number of fields, typically 3-, 4-, and 5-field sensors.
  • Support for up to 32K pixels (image size) in both the horizontal and vertical direction.
  • Support for up to 120 MHz sensor clock.
  • Support for ITU-R BT.656/1120 standard format.
  • Support for YCbCr 422 format, either 8- or 16-bit with discrete HSYNC and VSYNC signals.
  • Support for up to 16-bit input.
  • Support for color space conversion.
  • Digital clamp with Horizontal/Vertical offset drift compensation.
  • Vertical Line defect correction based on a lookup table that contains defect position.
  • Support for color-dependent gain control and black level offset control.
  • Ability to control output to the DDR2/mDDR via an external write enable signal.
  • Support for down sampling via programmable culling patterns.
  • Support for 12-bit to 8-bit DPCM compression.
  • Support for 10-bit to 8-bit A-law compression.
  • Support for generating output to range 16-bits, 12-bits, and 8-bits wide (8-bits wide allows for 50% saving in storage area).
  • OTF DPC
  • Noise Filter
  • 2D edge enhancement

The ISIF register memory mapping (offsets) is shown in Table 7-40.

Table 7-40 Image Sensor Interface (ISIF) Registers

Offset Acronym Register Description
0h SYNCEN Synchronization Enable
4h MODESET Mode Setup
8h HDW HD pulse width
Ch VDW VD pulse width
10h PPLN Pixels per line
14h LPFR Lines per frame
18h SPH Start pixel horizontal
1Ch LNH Number of pixels in line
20h SLV0 Start line vertical - field 0
24h SLV1 Start line vertical - field 1
28h LNV Number of lines vertical
2Ch CULH Culling - horizontal
30h CULV Culling - vertical
34h HSIZE Horizontal size
38h SDOFST SDRAM Line Offset
3Ch CADU SDRAM Address - high
40h CADL SDRAM Address - low
44h - 48h Reserved Reserved
4Ch CCOLP CCD Color Pattern
50h CRGAIN CCD Gain Adjustment - R/Ye
54h CGRGAIN CCD Gain Adjustment - Gr/Cy
58h CGBGAIN CCD Gain Adjustment - Gb/G
5Ch CBGAIN CCD Gain Adjustment - B/Mg
60h COFSTA CCD Offset Adjustment
64h FLSHCFG0 FLSHCFG0
68h FLSHCFG1 FLSHCFG1
6Ch FLSHCFG2 FLSHCFG2
70h VDINT0 VD Interrupt #0
74h VDINT1 VD Interrupt #1
78h VDINT2 VD Interrupt #2
7Ch Reserved Reserved
80h CGAMMAWD Gamma Correction settings
84h REC656IF CCIR 656 Control
88h CCDCFG CCD Configuration
8Ch DFCCTL Defect Correction - Control
90h VDFSATLV Defect Correction - Vertical Saturation Level
94h DFCMEMCTL Defect Correction - Memory Control
98h DFCMEM0 Defect Correction - Set V Position
9Ch DFCMEM1 Defect Correction - Set H Position
A0h DFCMEM2 Defect Correction - Set SUB1
A4h DFCMEM3 Defect Correction - Set SUB2
A8h DFCMEM4 Defect Correction - Set SUB3
ACh CLAMPCFG Black Clamp configuration
B0h CLDCOFST DC offset for Black Clamp
B4h CLSV Black Clamp Start position
B8h CLHWIN0 Horizontal Black Clamp configuration
BCh CLHWIN1 Horizontal Black Clamp configuration
C0h CLHWIN2 Horizontal Black Clamp configuration
C4h CLVRV Vertical Black Clamp configuration
C8h CLVWIN0 Vertical Black Clamp configuration
CCh CLVWIN1 Vertical Black Clamp configuration
D0h CLVWIN2 Vertical Black Clamp configuration
D4h CLVWIN3 Vertical Black Clamp configuration
D8h - 1A2h Reserved Reserved
1A4h CSCCTL Color Space Converter Enable
1A8h CSCM0 Color Space Converter - Coefficients #0
1ACh CSCM1 Color Space Converter - Coefficients #1
1B0h CSCM2 Color Space Converter - Coefficients #2
1B4h CSCM3 Color Space Converter - Coefficients #3
1B8h CSCM4 Color Space Converter - Coefficients #4
1BCh CSCM5 Color Space Converter - Coefficients #5
1C0h CSCM6 Color Space Converter - Coefficients #6
1C4h CSCM7 Color Space Converter - Coefficients #7

The Image Pipe Interface (IPIPEIF)

The IPIPEIF is data and sync signals interface module for ISIF and IPIPE. Data source of this module is sensor parallel port, ISIF or SDRAM and the selected data is output to ISIF and IPIPE. This module also outputs black frame subtraction (two-way) data which is generated by subtracting SDRAM data from sensor parallel port or ISIF data and vice versa. Depending on the functions performed, it may also readjust the HD, VD, and PCLK timing to the IPIPE and/or ISIF input.

The IPIPEIF module supports the following features:

  • Up to 16-bit sensor data input
  • Dark-frame subtract of raw image stored in SDRAM from image coming from sensor parallel port or ISIF
  • 8-10, 8-12 DPCM decompression of 10-8, 12-8 compressed data in SDRAM
  • Inverse ALAW decompression of RAW data from SDRAM
  • (1,2,1) average filtering before horizontal decimation
  • Horizontal decimation (downsizing) of input lines to <= 2160 maximum required by the IPIPE
  • Gain multiply for output data to IPIPE
  • Simple defect correction to prevent a subtraction of defect pixel
  • 8-bit, 12-bit unpacking of 8-bit, 12-bit packed SDRAM data

The IPIPE register memory mapping (offsets) is shown in Table 7-41.

Table 7-41 Image Pipe Input Interface (IPIPEIF) Registers

Address Acronym Register Description
0h ENABLE IPIPE I/F Enable
4h CFG1 IPIPE I/F Configuration
8h PPLN IPIPE I/F Interval of HD / Start pixel in HD
Ch LPFR IPIPE I/F Interval of VD / Start line in VD
10h HNUM IPIPE I/F Number of valid pixels per line
14h VNUM IPIPE I/F Number of valid lines per frame
18h ADDRU IPIPE I/F Memory Address (Upper)
1Ch ADDRL IPIPE I/F Memory Address (Lower)
20h ADOFS IPIPE I/F Address offset of each line
24h RSZ IPIPE I/F Horizontal Resizing Parameter
28h GAIN IPIPE I/F Gain Parameter
2Ch DPCM IPIPE I/F DPCM Configuration
30h CFG2 IPIPE I/F Configuration 2
34h INIRSZ IPIPE I/F Initial position of resize
38h OCLIP IPIPE I/F Output clipping value
3Ch DTUDF IPIPE I/F Data underflow error status
40h CLKDIV IPIPE I/F Clock rate configuration
44h DPC1 IPIPE I/F Defect pixel correction
48h DPC2 IPIPE I/F Defect pixel correction
54h RSZ3A IPIPE I/F Horizontal Resizing Parameter for H3A
58h INIRSZ3A IPIPE I/F Initial position of resize for H3A

Image Pipe – Hardware Image Signal Processor (IPIPE)

The Image Pipe (IPIPE) is a programmable hardware image processing module that generates image data in YCbCr-4:2:2 or YCbCr-4:2:0 formats from raw CCD/CMOS data. An image resizer is also fully integrated within this module. The IPIPE can also be configured to operate in a resize-only mode, which allows YCbCr-4:2:2 or YCbCr-4:2:0 to be resized without processing every module in the IPIPE.

The following features are supported by the IPIPE:

  • 12-bit RAW data image processing or 16-bit YCbCr resizing
  • RGB Bayer pattern for input color filter array; does not support complementary color pattern, stripe pattern, or Foveon™ sensors.
  • Requires at least eight pixels for horizontal blanking and four lines for vertical blanking. In one shot mode, 16 blanking lines after processing area are required.
  • Maximum horizontal and vertical offset of IPIPE processing area from synchronous signal is 65534
  • Maximum input and output widths up to 2176 pixels wide (1088 for RSZ[2]).
  • Raw pass-through mode for images wider than 2176 pixels (up to 8190 pixels)
  • Automatic mirroring of pixels/lines when edge processing is performed so that the width and height is consistent throughout.
  • Defect pixel correction using
    • Lookup table method that contains row and column position of the pixel to be corrected
    • On-the-fly adaptive method
  • Offset and gain control for white balancing at each color component (WB).
  • CFA interpolation for good quality CFA interpolation
  • Programmable RGB to RGB blending matrix (9 coefficients for the 3x3 matrix). (RGB2RGB module)
  • Separate lookup tables for gamma correction on each of R, G and B components for display through piece-wise linear interpolation approach
  • 4:4:4 data to 4:2:2 data conversion by chroma low-pass filtering and down sampling to Cb and Cr. (4:4:4 to 4:2:2 module)
  • Programmable look-up table for luminance edge enhancement. Adjustable brightness and contrast for Y component (Edge Enhancer module)
  • Programmable down or up-sampling filter for both horizontal and vertical directions with range from 1/16x to 16x, in which the filter outputs two images with different magnification simultaneously (Resizer module)
  • 4:2:2 to 4:2:0 conversion that can be done in the resizing block
  • Different data formats [YCbCr (4:2:2 or 4:2:0), RGB (32bit/16bit), Raw data] are available while storing data in the SDRAM from IPIPE
  • Flipping image horizontally and/or vertically
  • Programmable histogram engine (4 windows, 256 bins)
  • Boxcar calculation (1/8 or 1/16 size).

The IPIPE register memory mapping (offsets) is shown in Table 7-42.

Table 7-42 IPIPE Registers

Offset Acronym Register Description
0h SRC_EN IPIPE Enable
04h SRC_MODE One Shot Mode
08h SRC_FMT Input/Output Data Paths
Ch SRC_COL Color Pattern
10h SRC_VPS Vertical Start Position
14h SRC_VSZ Vertical Processing Size
18h SRC_HPS Horizontal Start Position
1Ch SRC_HSZ Horizontal Processing Size
24h DMA_STA Status Flags (Reserved)
48h GCK_MMR MMR Gated Clock Control
2Ch GCK_PIX PCLK Gated Clock Control
30h Reserved Reserved
34h DPC_LUT_EN LUTDPC (=LUT Defect Pixel Correction): Enable
38h DPC_LUT_SEL LUTDPC: Processing Mode Selection
3Ch DPC_LUT_ADR LUTDPC: Start Address in LUT
40h DPC_LUT_SIZ LUTDPC: Number of available entries in LUT
1D0h WB2_OFT_R WB2 (=White Balance): Offset
1D4h WB2_OFT_GR WB2: Offset
1D8h WB2_OFT_GB WB2: Offset
1DCh WB2_OFT_B WB2: Offset
1E0h WB2_WGN_R WB2: Gain
1E4h WB2_WGN_GR WB2: Gain
1E8h WB2_WGN_GB WB2: Gain
1ECh WB2_WGN_B WB2: Gain
1F0h-228h Reserved Reserved
22Ch RGB1_MUL_RR RGB1 (=1st RGB2RGB conv): Matrix Coefficient
230h RGB1_MUL_GR RGB1: Matrix Coefficient
234h RGB1_MUL_BR RGB1: Matrix Coefficient
238h RGB1_MUL_RG RGB1: Matrix Coefficient
23Ch RGB1_MUL_GG RGB1: Matrix Coefficient
240h RGB1_MUL_BG RGB1: Matrix Coefficient
244h RGB1_MUL_RB RGB1: Matrix Coefficient
248h RGB1_MUL_GB RGB1: Matrix Coefficient
24Ch RGB1_MUL_BB RGB1: Matrix Coefficient
250h RGB1_OFT_OR RGB1: Offset
254h RGB1_OFT_OG RGB1: Offset
258h RGB1_OFT_OB RGB1: Offset
25Ch GMM_CFG Gamma Correction Configuration
294h YUV_ADJ YUV (RGB2YCbCr conv): Luminance Adjustment (contrast & brightness)
298h YUV_MUL_RY YUV: Matrix Coefficient
29Ch YUV_MUL_GY YUV: Matrix Coefficient
2A0h YUV_MUL_BY YUV: Matrix Coefficient
2A4h YUV_MUL_RCB YUV: Matrix Coefficient
2A8h YUV_MUL_GCB YUV: Matrix Coefficient
2ACh YUV_MUL_BCB YUV: Matrix Coefficient
2B0h YUV_MUL_RCR YUV: Matrix Coefficient
2B4h YUV_MUL_GCR YUV: Matrix Coefficient
2B8h YUV_MUL_BCR YUV: Matrix Coefficient
2BCh YUV_OFT_Y YUV: Offset
2C0h YUV_OFT_CB YUV: Offset
2C4h YUV_OFT_CR YUV: Offset
2C8h YUV_PHS Chrominance Position (for 422 down sampler)
2D4h YEE_EN YEE (=Edge Enhancer): Enable
2D8h YEE_TYP YEE: Method Selection
2DCh YEE_SHF YEE: HPF Shift Length
2E0h YEE_MUL_00 YEE: HPF Coefficient
2E4h YEE_MUL_01 YEE: HPF Coefficient
2E8h YEE_MUL_02 YEE: HPF Coefficient
2ECh YEE_MUL_10 YEE: HPF Coefficient
2F0h YEE_MUL_11 YEE: HPF Coefficient
2F4h YEE_MUL_12 YEE: HPF Coefficient
2F8h YEE_MUL_20 YEE: HPF Coefficient
2FCh YEE_MUL_21 YEE: HPF Coefficient
300h YEE_MUL_22 YEE: HPF Coefficient
304h YEE_THR YEE: Lower Threshold before referring to LUT
308h YEE_E_GAN YEE: Edge Sharpener Gain
30Ch YEE_E_THR_1 YEE: Edge Sharpener HP Value Lower Threshold
310h YEE_E_THR_2 YEE: Edge Sharpener HP Value Upper Limit
314h YEE_G_GAN YEE: Edge Sharpener Gain on Gradient
318h YEE_G_OFT YEE: Edge Sharpener Offset on Gradient
380h BOX_EN BOX (=Boxcar) Enable
384h BOX_MODE BOX: One Shot Mode
388h BOX_TYP BOX: Block Size (16x16 or 8x8)
38Ch BOX_SHF BOX: Down shift value of input
390h BOX_SDR_SAD_H BOX: SDRAM Address MSB
394h BOX_SDR_SAD_L BOX: SDRAM Address LSB
398h Reserved Reserved
39Ch HST_EN HST (=Histogram): Enable
3A0h HST_MODE HST: One Shot Mode
3A4h HST_SEL HST: Source Select
3A8h HST_PARA HST: Parameters Select
3ACh HST_0_VPS HST: Vertical Start Position
3B0h HST_0_VSZ HST: Vertical Size
3B4h HST_0_HPS HST: Horizontal Start Position
3B8h HST_0_HSZ HST: Horizontal Size
3BCh HST_1_VPS HST: Vertical Start Position
3C0h HST_1_VSZ HST: Vertical Size
3C4h HST_1_HPS HST: Horizontal Start Position
3C8h HST_1_HSZ HST: Horizontal Size
3CCh HST_2_VPS HST: Vertical Start Position
3D0h HST_2_VSZ HST: Vertical Size
3D4h HST_2_HPS HST: Horizontal Start Position
3D8h HST_2_HSZ HST: Horizontal Size
3DCh HST_3_VPS HST: Vertical Start Position
3E0h HST_3_VSZ HST: Vertical Size
3E4h HST_3_HPS HST: Horizontal Start Position
3E8h HST_3_HSZ HST: Horizontal Size
3ECh HST_TBL HST: Table Select
3F0h HST_MUL_R HST: Matrix Coefficient
3F4h HST_MUL_GR HST: Matrix Coefficient
3F8h HST_MUL_GB HST: Matrix Coefficient
3FCh HST_MUL_B HST: Matrix Coefficient

Hardware 3A (H3A)

The H3A module is designed to support the control loops for Auto Focus, Auto White Balance and Auto Exposure by collecting metrics about the imaging/video data. The metrics are to adjust the various parameters for processing the imaging/video data. There are 2 main blocks in the H3A module:

  • Auto Focus (AF) engine
  • Auto Exposure (AE) Auto White Balance (AWB) engine

The AF engine extracts and filters the red, green, and blue data from the input image/video data and provides either the accumulation or peaks of the data in a specified region. The specified region is a two-dimensional block of data and is referred to as a "paxel" for the case of AF.

The AE/AWB Engine accumulates the values and checks for saturated values in a sub sampling of the video data. In the case of the AE/AWB, the two-dimensional block of data is referred to as a "window". Thus, other than referring them by different names, a paxel and a window are essentially the same thing. However, the number, dimensions, and starting position of the AF paxels and the AE/AWB windows are separately programmable.

The following features are supported by the AF engine:

  • Support for input from DDR2 / mDDR SDRAM (in addition to the ISIF port)
  • Support for a Peak Mode in a Paxel (a Paxel is defined as a two dimensional block of pixels).
  • Accumulate the maximum Focus Value of each line in a Paxel
  • Support for an Accumulation/Sum Mode (instead of Peak mode).
  • Accumulate Focus Value in a Paxel.
  • Support for up to 36 Paxels in the horizontal direction and up to 128 Paxels in the vertical direction. The number of horizontal paxels is limited by the memory size (and cost), while the vertical number of paxels is not. Therefore, the number of paxels in horizontal direction is smaller than the number of paxels in vertical direction.
  • Programmable width and height for the Paxel. All paxels in the frame will be of same size.
  • Programmable red, green, and blue position within a 2x2 matrix.
  • Separate horizontal start for paxel and filtering.
  • Programmable vertical line increments within a paxel.
  • Parallel IIR filters configured in a dual-biquad configuration with individual coefficients (2 filters with 11 coefficients each). The filters are intended to compute the sharpness/peaks in the frame to focus on.
The following features are supported by the AE/AWB engine:
  • Support for input from DDR2 / mDDR SDRAM (in addition to the ISIF port)
  • Accumulate clipped pixels along with all non-saturated pixels
  • Support for up to 36 horizontal windows.
  • Support for up to 128 vertical windows.
  • Programmable width and height for the windows. All windows in the frame will be of same size.
  • Separate vertical start co-ordinate and height for a black row of paxels that is different than the remaining color paxels.
  • Programmable Horizontal Sampling Points in a window
  • Programmable Vertical Sampling Points in a window

The Hardware 3A (H3A) register memory mapping (offsets) is shown in Table 7-43.

Table 7-43 Hardware 3A Statistics Generation (AE, AF, AWB) (H3A) Registers

Offset Acronym Register Description
0h PID Peripheral Revision and Class Information
4h PCR Peripheral Control Register
8h AFPAX1 Setup for the AF Engine Paxel Configuration
Ch AFPAX2 Setup for the AF Engine Paxel Configuration
10h AFPAXSTART Start Position for AF Engine Paxels
18h AFBUFST SDRAM/DDRAM Start address for AF Engine
4Ch AEWWIN1 Configuration for AE/AWB Windows
50h AEWINSTART Start position for AE/AWB Windows
54h AEWINBLK Start position and height for black line of AE/AWB Windows
58h AEWSUBWIN Configuration for subsample data in AE/AWB window
5Ch AEWBUFST SDRAM/DDRAM Start address for AE/AWB Engine Output Data
60h RSDR_ADDR AE/AWB Engine Configuration
64h LINE_START Line start position for ISIF interface
68h VFV_CFG1 AF Vertical Focus Configuration 1 Register
6Ch VFV_CFG2 AF Vertical Focus Configuration 2 Register
70h VFV_CFG3 AF Vertical Focus Configuration 3 Register
74h VFV_CFG4 AF Vertical Focus Configuration 4 Register
78h HFV_THR Configures the Horizontal Thresholds for the AF IIR filters

Face Detection Module

The following features are supported on the Face Detection module:

  • High detection rate of close to 100% under most conditions
  • Allows detection in different directions - up, left, and right
  • Allows detection with rotation in plane (RIP) - ±45°, @ 0°/+90°/-90°
  • Allows detection for rotation out of plane (ROP)
    • Horizontal (left/right) pan: ±60°
    • Vertical (up/down) tilt: ±30°
  • Configurable minimum face size of 20 - 40 pixels
  • Configurable region of interest in the input frame
  • Configurable start position in the input frame
  • Supports up to 35 face detections in a single frame
  • Interrupt generation to ARM using the Video Processing Subsystem (VPSS) multiplexed interrupt mechanism
  • Robust performance in low light conditions, night vision, monochromatic, and false color sensing as skin tone not used for face detection
  • Supported input size is (256X192)
  • Input format is 8-bit gray scale data

The Face Detection Module register memory mapping (offsets) is shown in Table 7-44.

Table 7-44 Face Detection Module Registers

Offset Acronym Register Description
0x000 FDIF_PID FDIF PID
0x008 FDIF_INTEN FDIF Interrupt enable
0x00C FDIF_PICADDR FDIF Picture Data address
0x010 FDIF_WKADDR FDIF Work Area address
0x020 FD_CTRL FD Core Control Register
0x024 FD_DNUM Detect number
0x028 FD_DCOND Detect Condition set register
0x02C FD_STARTX X Start address
0x030 FD_STARTY Y Start address
0x034 FD_SIZEX X Size for detection
0x038 FD_SIZEY Y Size for detection
0x03C FD_LHIT Detect process threshold
0x100 FD_CENTERX1 Detect Result Center X Address
0x104 FD_CENTERY1 Detect Result Center Y Address
0x108 FD_CONFSIZE1 Detect Result Confidence/Size
0x10C FD_ANGLE1 Detect Angle
0x110 FD_CENTERX2 Detect Result Center X Address
0x114 FD_CENTERY2 Detect Result Center Y Address
0x118 FD_CONFSIZE2 Detect Result Confidence/Size
0x11C FD_ANGLE2 Detect Angle
0x120 FD_CENTERX3 Detect Result Center X Address
0x124 FD_CENTERY3 Detect Result Center Y Address
0x128 FD_CONFSIZE3 Detect Result Confidence/Size
0x12C FD_ANGLE3 Detect Angle
0x130 FD_CENTERX4 Detect Result Center X Address
0x134 FD_CENTERY4 Detect Result Center Y Address
0x138 FD_CONFSIZE4 Detect Result Confidence/Size
0x13C FD_ANGLE4 Detect Angle
0x140 FD_CENTERX5 Detect Result Center X Address
0x144 FD_CENTERY5 Detect Result Center Y Address
0x148 FD_CONFSIZE5 Detect Result Confidence/Size
0x14C FD_ANGLE5 Detect Angle
0x150 FD_CENTERX6 Detect Result Center X Address
0x154 FD_CENTERY6 Detect Result Center Y Address
0x158 FD_CONFSIZE6 Detect Result Confidence/Size
0x15C FD_ANGLE6 Detect Angle
0x160 FD_CENTERX7 Detect Result Center X Address
0x164 FD_CENTERY7 Detect Result Center Y Address
0x168 FD_CONFSIZE7 Detect Result Confidence/Size
0x16C FD_ANGLE7 Detect Angle
0x170 FD_CENTERX8 Detect Result Center X Address
0x174 FD_CENTERY8 Detect Result Center Y Address
0x178 FD_CONFSIZE8 Detect Result Confidence/Size
0x17C FD_ANGLE8 Detect Angle
0x180 FD_CENTERX9 Detect Result Center X Address
0x184 FD_CENTERY9 Detect Result Center Y Address
0x188 FD_CONFSIZE9 Detect Result Confidence/Size
0x18C FD_ANGLE9 Detect Angle
0x190 FD_CENTERX10 Detect Result Center X Address
0x194 FD_CENTERY10 Detect Result Center Y Address
0x198 FD_CONFSIZE10 Detect Result Confidence/Size
0x19C FD_ANGLE10 Detect Angle
0x1A0 FD_CENTERX11 Detect Result Center X Address
0x1A4 FD_CENTERY11 Detect Result Center Y Address
0x1A8 FD_CONFSIZE11 Detect Result Confidence/Size
0x1AC FD_ANGLE11 Detect Angle
0x1B0 FD_CENTERX12 Detect Result Center X Address
0x1B4 FD_CENTERY12 Detect Result Center Y Address
0x1B8 FD_CONFSIZE12 Detect Result Confidence/Size
0x1BC FD_ANGLE12 Detect Angle
0x1C0 FD_CENTERX13 Detect Result Center X Address
0x1C4 FD_CENTERY13 Detect Result Center Y Address
0x1C8 FD_CONFSIZE13 Detect Result Confidence/Size
0x1CC FD_ANGLE13 Detect Angle
0x1D0 FD_CENTERX14 Detect Result Center X Address
0x1D4 FD_CENTERY14 Detect Result Center Y Address
0x1D8 FD_CONFSIZE14 Detect Result Confidence/Size
0x1DC FD_ANGLE14 Detect Angle
0x1E0 FD_CENTERX15 Detect Result Center X Address
0x1E4 FD_CENTERY15 Detect Result Center Y Address
0x1E8 FD_CONFSIZE15 Detect Result Confidence/Size
0x1EC FD_ANGLE15 Detect Angle
0x1F0 FD_CENTERX16 Detect Result Center X Address
0x1F4 FD_CENTERY16 Detect Result Center Y Address
0x1F8 FD_CONFSIZE16 Detect Result Confidence/Size
0x1FC FD_ANGLE16 Detect Angle
0x200 FD_CENTERX17 Detect Result Center X Address
0x204 FD_CENTERY17 Detect Result Center Y Address
0x208 FD_CONFSIZE17 Detect Result Confidence/Size
0x20C FD_ANGLE17 Detect Angle
0x210 FD_CENTERX18 Detect Result Center X Address
0x214 FD_CENTERY18 Detect Result Center Y Address
0x218 FD_CONFSIZE18 Detect Result Confidence/Size
0x21C FD_ANGLE18 Detect Angle
0x220 FD_CENTERX19 Detect Result Center X Address
0x224 FD_CENTERY19 Detect Result Center Y Address
0x228 FD_CONFSIZE19 Detect Result Confidence/Size
0x22C FD_ANGLE19 Detect Angle
0x230 FD_CENTERX20 Detect Result Center X Address
0x234 FD_CENTERY20 Detect Result Center Y Address
0x238 FD_CONFSIZE20 Detect Result Confidence/Size
0x23C FD_ANGLE20 Detect Angle
0x240 FD_CENTERX21 Detect Result Center X Address
0x244 FD_CENTERY21 Detect Result Center Y Address
0x248 FD_CONFSIZE21 Detect Result Confidence/Size
0x24C FD_ANGLE21 Detect Angle
0x250 FD_CENTERX22 Detect Result Center X Address
0x254 FD_CENTERY22 Detect Result Center Y Address
0x258 FD_CONFSIZE22 Detect Result Confidence/Size
0x25C FD_ANGLE22 Detect Angle
0x260 FD_CENTERX23 Detect Result Center X Address
0x264 FD_CENTERY23 Detect Result Center Y Address
0x268 FD_CONFSIZE23 Detect Result Confidence/Size
0x26C FD_ANGLE23 Detect Angle
0x270 FD_CENTERX24 Detect Result Center X Address
0x274 FD_CENTERY24 Detect Result Center Y Address
0x278 FD_CONFSIZE24 Detect Result Confidence/Size
0x27C FD_ANGLE24 Detect Angle
0x280 FD_CENTERX25 Detect Result Center X Address
0x284 FD_CENTERY25 Detect Result Center Y Address
0x288 FD_CONFSIZE25 Detect Result Confidence/Size
0x28C FD_ANGLE25 Detect Angle
0x290 FD_CENTERX26 Detect Result Center X Address
0x294 FD_CENTERY26 Detect Result Center Y Address
0x298 FD_CONFSIZE26 Detect Result Confidence/Size
0x29C FD_ANGLE26 Detect Angle
0x2A0 FD_CENTERX27 Detect Result Center X Address
0x2A4 FD_CENTERY27 Detect Result Center Y Address
0x2A8 FD_CONFSIZE27 Detect Result Confidence/Size
0x2AC FD_ANGLE27 Detect Angle
0x2B0 FD_CENTERX28 Detect Result Center X Address
0x2B4 FD_CENTERY28 Detect Result Center Y Address
0x2B8 FD_CONFSIZE28 Detect Result Confidence/Size
0x2BC FD_ANGLE28 Detect Angle
0x2C0 FD_CENTERX29 Detect Result Center X Address
0x2C4 FD_CENTERY29 Detect Result Center Y Address
0x2C8 FD_CONFSIZE29 Detect Result Confidence/Size
0x2CC FD_ANGLE29 Detect Angle
0x2D0 FD_CENTERX30 Detect Result Center X Address
0x2D4 FD_CENTERY30 Detect Result Center Y Address
0x2D8 FD_CONFSIZE30 Detect Result Confidence/Size
0x2DC FD_ANGLE30 Detect Angle
0x2E0 FD_CENTERX31 Detect Result Center X Address
0x2E4 FD_CENTERY31 Detect Result Center Y Address
0x2E8 FD_CONFSIZE31 Detect Result Confidence/Size
0x2EC FD_ANGLE31 Detect Angle
0x2F0 FD_CENTERX32 Detect Result Center X Address
0x2F4 FD_CENTERY32 Detect Result Center Y Address
0x2F8 FD_CONFSIZE32 Detect Result Confidence/Size
0x2FC FD_ANGLE32 Detect Angle
0x300 FD_CENTERX33 Detect Result Center X Address
0x304 FD_CENTERY33 Detect Result Center Y Address
0x308 FD_CONFSIZE33 Detect Result Confidence/Size
0x30C FD_ANGLE33 Detect Angle
0x310 FD_CENTERX34 Detect Result Center X Address
0x314 FD_CENTERY34 Detect Result Center Y Address
0x318 FD_CONFSIZE34 Detect Result Confidence/Size
0x31C FD_ANGLE34 Detect Angle
0x320 FD_CENTERX35 Detect Result Center X Address
0x324 FD_CENTERY35 Detect Result Center Y Address
0x328 FD_CONFSIZE35 Detect Result Confidence/Size
0x32C FD_ANGLE35 Detect Angle

VPFE Electrical Data/Timing

Table 7-45 Timing Requirements for VPFE PCLK Master/Slave Mode(1) (see Figure 7-31)

NO. MIN MAX UNIT
1 tc(PCLK) Cycle time, PCLK Slave Mode 8.33 120 ns
Master Mode 13.33 120 ns
2 tw(PCLKH) Pulse duration, PCLK high tc(PCLK)* 0.35 tc(PCLK)* 0.65 ns
3 tw(PCLKL) Pulse duration, PCLK low tc(PCLK)* 0.35 tc(PCLK)* 0.65 ns
4 tt(PCLK) Transition time, PCLK 2 ns
P = 1/SYSCLK4 in nanoseconds (ns). For example, if the SYSCLK4 frequency is 135 MHz, use P = 7.41 ns. See Section 4.3, Device Clocking, for more information on the supported clock configurations of the device.
TMS320DM369 td_vpfepclk_prs348.gif Figure 7-31 VPFE PCLK Timing

Table 7-46 Timing Requirements for VPFE (ISIF) Slave Mode (see Figure 7-32)

NO. DEVICE UNIT
MIN MAX
5 tsu(DATAV-PCLK) Setup time, ISIF DATA valid before PCLK edge Positive Edge 2.5 ns
Negative Edge 1.5
6 th(PCLK-DATAV) Hold time, ISIF DATA valid after PCLK edge Positive Edge 1.5 ns
Negative Edge 2.5
7 tsu(HDV-PCLK) Setup time, HD valid before PCLK edge Positive Edge 2.5 ns
Negative Edge 1.5
8 th(PCLK-HDV) Hold time, HD valid after PCLK edge Positive Edge 1.5 ns
Negative Edge 2.5
9 tsu(VDV-PCLK) Setup time, VD valid before PCLK edge Positive Edge 2.5 ns
Negative Edge 1.5
10 th(PCLK-VDV) Hold time, VD valid after PCLK edge Positive Edge 1.5 ns
Negative Edge 2.5
11 tsu(C_WEV-PCLK) Setup time, C_WE valid before PCLK edge Positive Edge 2.5 ns
Negative Edge 1.5
12 th(PCLK-C_WEV) Hold time, C_WE valid after PCLK edge Positive Edge 1.5 ns
Negative Edge 2.5
13 tsu(C_FIELDV-PCLK) Setup time, C_FIELD valid before PCLK edge Positive Edge 2.5 ns
Negative Edge 1.5
14 th(PCLK-C_FIELDV) Hold time, C_FIELD valid after PCLK edge Positive Edge 1.5 ns
Negative Edge 2.5
TMS320DM369 td_vpfeslaveupdated_prs348.gif Figure 7-32 VPFE (ISIF) Slave Mode Input Data Timing

Table 7-47 Timing Requirements for VPFE (ISIF) Master Mode(1) (see Figure 7-33)

NO. DEVICE UNIT
MIN MAX
15 tsu(DATAV-PCLK) Setup time, ISIF DATA valid before PCLK edge Positive Edge 2.5 ns
Negative Edge 1.5
16 th(PCLK-DATAV) Hold time, ISIF DATA valid after PCLK edge Positive Edge 1.5 ns
Negative Edge 2.5
23 tsu(CWEV-PCLK) Setup time, C_WE valid before PCLK edge Positive Edge 2.5 ns
Negative Edge 1.5
24 th(PCLK-CWEV) Hold time, C_WE valid after PCLK edge Positive Edge 1.5 ns
Negative Edge 2.5
The VPFE may be configured to operate in either positive or negative edge clocking mode. When in positive edge clocking mode the rising edge of PCLK is referenced. When in negative edge clocking mode the falling edge of PCLK is referenced.
TMS320DM369 td_vpfemstriupdated_prs348.gif Figure 7-33 VPFE (ISIF) Master Mode Input Data Timing

Table 7-48 Switching Characteristics Over Recommended Operating Conditions for VPFE (ISIF) Master Mode (see Figure 7-34)

NO. PARAMETER DEVICE UNIT
MIN MAX
18 td(PCLKL-HDIV) Delay time, PCLK edge to HD valid 1.5 11 ns
20 td(PCLKL-VDIV) Delay time, PCLK edge to VD valid 1.5 11 ns
TMS320DM369 td_vpfemstro_prs348.gif Figure 7-34 VPFE (ISIF) Master Mode Control Output Data Timing

Video Processing Back-End (VPBE)

The Video Processing Back-End of VPBE module is comprised of the On Screen Display (OSD) module and the Video Encoder / Digital LCD Controller (VENC/DLCD).

Table 7-49 lists the Video Processing Back-End (VPBE) module registers, their corresponding acronyms, and the device memory locations (offsets).

Table 7-49 VPBE Module Register Map

Address Peripheral Description
0x01C7:0200 VPBE_CLK_CTRL VPBE Clock Control
0x01C7:1C00 OSD VPBE On-Screen Display
0x01C7:1E00 VENC VPBE Video Encoder

On-Screen Display (OSD)

The primary function of the OSD module is to gather and blend video data and display/bitmap data and then pass it to the Video Encoder (VENC) in YCbCr format. The video and display data is read from external DDR2/mDDR memory. The OSD is programmed via control and parameter registers. The following are the primary features that are supported by the OSD.

  • Support for two video windows and two OSD bitmapped windows that can be displayed simultaneously (VIDWIN0/VIDWIN1 and OSDWIN0/OSDWIN1).
  • Video windows support YCbCr data in 422 and 420 formats from external memory, with the ability to interchange the order of the CbCr component in the 32-bit word
  • OSD bitmap windows support = 4/8 bit width index data of color palette
  • In addition one OSD bitmap window at a time can be configured to one of the following:
    • YUV422 (same as video data)
    • RGB format data in 16-bit mode (R=5bit, G=6bit, B=5bit)
    • 24-bit mode (each R/G/B=8bit) with pixel level blending with video windows
  • Programmable color palette with the ability to select between a RAM/ROM table with support for 256 colors.
  • Support for 2 ROM tables, one of which can be selected at a given time
  • Separate enable/disable control for each window
  • Programmable width, height, and base starting coordinates for each window
  • External memory address and offset registers for each window
  • Support for x2 and x4 zoom in both the horizontal and vertical direction
  • Pixel-level blending/transparency/blinking attributes can be defined for OSDWIN0 when OSDWIN1 is configured as an attribute window for OSDWIN0.
  • Support for blinking intervals to the attribute window
  • Ability to select either field/frame mode for the windows (interlaced/progressive)
  • An eight step blending process between the bitmap and video windows
  • Transparency support for the bitmap and video data (when a bitmap pixel is zero, there will be no blending for that corresponding video pixel)
  • Ability to resize from VGA to NTSC/PAL (640x480 to 720x576) for both the OSD and video windows
  • Horizontal rescaling x1.5 is supported
  • Support for a rectangular cursor window and a programmable background color selection.
  • The width, height, and color of the cursor is selectable
  • The display priority is: Rectangular-Cursor > OSDWIN1 > OSDWIN0 > VIDWIN1 > VIDWIN0 > background color
  • Support for attenuation of the YCbCr values for the REC601 standard.

The following restrictions exist in the OSD module.

  • If the vertical resize filter is enabled for either of the video windows, the maximum horizontal window dimension cannot be greater than 1024 currently. This is due to the limitation in the size of the line memory.
  • It is not possible to use both of the CLUT ROMs at the same time. However, a window can use RAM while another uses ROM.

Table 7-50 lists the On-Screen Display (OSD) registers, their corresponding acronyms, and the device memory locations (offsets).

Table 7-50 On-Screen Display (OSD) Registers

Offset Acronym Register Description
0h MODE OSD Mode Setup
4h VIDWINMD Video Window Mode Setup
8h OSDWIN0MD Bitmap Window 0 Mode Setup
Ch OSDWIN1MD OSD Window 1 Mode Setup
(when used as a second OSD window)
Ch OSDATRMD OSD Attribute Window Mode Setup
(when used as an attribute window)
10h RECTCUR Rectangular Cursor Setup
14h RSV0 Reserved
18h VIDWIN0OFST Video Window 0 Offset
1Ch VIDWIN1OFST Video Window 1 Offset
20h OSDWIN0OFST Bitmap Window 0 Offset
24h OSDWIN1OFST Bitmap Window 1/Attribute Window Offset
28h VIDWINADH Video Window 0/1 Address - High
2Ch VIDWIN0ADL Video Window 0 Address - Low
30h VIDWIN1ADL Video Window 1 Address - Low
34h OSDWINADH BMP Window 0/1 Address - High
38h OSDWIN0ADL BMP Window 0 Address - Low
3Ch OSDWIN1ADL Bitmap Window 1/Attribute Address - Low
40h BASEPX Base Pixel X
44h BASEPY Base Pixel Y
48h VIDWIN0XP Video Window 0 X-Position
4Ch VIDWIN0YP Video Window 0 Y-Position
50h VIDWIN0XL Video Window 0 X-Size
54h VIDWIN0YL Video Window 0 Y-Size
58h VIDWIN1XP Video Window 1 X-Position
5Ch VIDWIN1YP Video Window 1 Y-Position
60h VIDWIN1XL Video Window 1 X-Size
64h VIDWIN1YL Video Window 1 Y-Size
68h OSDWIN0XP Bitmap Window 0 X-Position
6Ch OSDWIN0YP Bitmap Window 0 Y-Position
70h OSDWIN0XL Bitmap Window 0 X-Size
74h OSDWIN0YL Bitmap Window 0 Y-Size
78h OSDWIN1XP Bitmap Window 1 X-Position
7Ch OSDWIN1YP Bitmap Window 1 Y-Position
80h OSDWIN1XL Bitmap Window 1 X-Size
84h OSDWIN1YL Bitmap Window 1 Y-Size
88h CURXP Rectangular Cursor Window X-Position
8Ch CURYP Rectangular Cursor Window Y-Position
90h CURXL Rectangular Cursor Window X-Size
94h CURYL Rectangular Cursor Window Y-Size
98h RSV1 Reserved
9Ch RSV2 Reserved
A0h W0BMP01 Window 0 Bitmap Value to Palette Map 0/1
A4h W0BMP23 Window 0 Bitmap Value to Palette Map 2/3
A8h W0BMP45 Window 0 Bitmap Value to Palette Map 4/5
ACh W0BMP67 Window 0 Bitmap Value to Palette Map 6/7
B0h W0BMP89 Window 0 Bitmap Value to Palette Map 8/9
B4h W0BMPAB Window 0 Bitmap Value to Palette Map A/B
B8h W0BMPCD Window 0 Bitmap Value to Palette Map C/D
BCh W0BMPEF Window 0 Bitmap Value to Palette Map E/F
C0h W1BMP01 Window 1 Bitmap Value to Palette Map 0/1
C4h W1BMP23 Window 1 Bitmap Value to Palette Map 2/3
C8h W1BMP45 Window 1 Bitmap Value to Palette Map 4/5
CCh W1BMP67 Window 1 Bitmap Value to Palette Map 6/7
D0h W1BMP89 Window 1 Bitmap Value to Palette Map 8/9
D4h W1BMPAB Window 1 Bitmap Value to Palette Map A/B
D8h W1BMPCD Window 1 Bitmap Value to Palette Map C/D
DCh W1BMPEF Window 1 Bitmap Value to Palette Map E/F
E0h VBNDRY Test Mode
E4h EXTMODE Extended Mode
E8h MISCCTL Miscellaneous Control
ECh CLUTRAMYCB CLUT RAM Y/Cb Setup
F0h CLUTRAMCR CLUT RAM Cr/Mapping Setup
F4h TRANSPVALL Transparent Color Code - Lower
F8h TRANSPVALU Transparent Color Code - Upper
FCh TRANSPBMPIDX Transparent Index Code for Bitmaps

Video Encoder / Digital LCD Controller (VENC/DLCD)

The VENC/DLCD consists of three major blocks:

  • Video encoder to generate analog video output
  • Digital LCD controller to generate digital RGB/YCbCr data output and timing signals
  • Timing generator

The video encoder for analog video supports the following features:

  • Master Clock Input - 27 MHz or 74.25 MHz
  • SDTV Support
    • Composite NTSC-M, PAL-B/D/G/H/I
    • S-Video (Y/C)
    • Component YPbPr
    • RGB
    • CGMS/WSS
    • Closed Caption
  • HDTV Support
    • 525p/625p/720p/1080i
    • Component YPbPr
    • RGB
    • CGMS/WSS
  • Master/Slave Operation
  • Three 10-bit D/A Converters

The digital LCD controller supports the following features:

  • Programmable Timing Generator
  • Various Output Formats
    • YCbCr 4:2:2 16-bit
    • YCbCr 4:2:2 8-bit
    • Parallel RGB 16/18/24-bit
    • Serial RGB 8-bit
  • EAV/SAV insertion
  • Master/Slave Operation

Table 7-51 lists the Video Encoder / Digital LCD Controller (VENC/DLCD) registers, their corresponding acronyms, and the device memory locations (offsets).

Table 7-51 Video Encoder (VENC) Registers

Offset Acronym Register Description
0h VMOD Video Mode
4h VIOCTL Video Interface I/O Control
8h VDPRO Video Data Processing
Ch SYNCCTL Sync Control
10h HSPLS Horizontal Sync Pulse Width
14h VSPLS Vertical Sync Pulse Width
18h HINTVL Horizontal Interval
1Ch HSTART Horizontal Valid Data Start Position
20h HVALID Horizontal Data Valid Range
24h VINTVL Vertical Interval
28h VSTART Vertical Valid Data Start Position
2Ch VVALID Vertical Data Valid Range
30h HSDLY Horizontal Sync Delay
34h VSDLY Vertical Sync Delay
38h YCCCTL YCbCr Control
3Ch RGBCTL RGB Control
40h RGBCLP RGB Level Clipping
44h LINECTL Line ID Control
48h CULLLINE Culling Line Control
4Ch LCDOUT LCD Output Signal Control
50h BRT0 Brightness Start Position Signal Control
54h BRT1 Brightness Width Signal Control
58h ACCTL LCD_AC Signal Control
5Ch PWM0 PWM Output Period
60h PWM1 PWM Output Pulse Width
64h DCLKCTL DCLK Control
68h DCLKPTN0 DCLK Pattern 0
6Ch DCLKPTN1 DCLK Pattern 1
70h DCLKPTN2 DCLK Pattern 2
74h DCLKPTN3 DCLK Pattern 3
78h DCLKPTN0A DCLK Auxiliary Pattern 0
7Ch DCLKPTN1A DCLK Auxiliary Pattern 1
80h DCLKPTN2A DCLK Auxiliary Pattern 2
84h DCLKPTN3A DCLK Auxiliary Pattern 3
88h DCLKHSTT Horizontal DCLK Mask Start Position
8Ch DCLKHSTTA Horizontal Auxiliary DCLK Mask Start Position
90h DCLKHVLD Horizontal DCLK Mask Range
94h DCLKVSTT Vertical DCLK Mask Start Position
98h DCLKVVLD Vertical DCLK Mask Range
9Ch CAPCTL Closed Caption Control
A0h CAPDO Closed Caption Odd Field Data
A4h CAPDE Closed Caption Even Field Data
A8h ATR0 Video Attribute Data 0
ACh ATR1 Video Attribute Data 1
B0h ATR2 Video Attribute Data 2
B4h RSV0 Reserved 0
B8h VSTAT Video Status
BCh RAMADR GCP/FRC Table RAM Address
C0h RAMPORT GCP/FRC Table RAM Data Port
C4h DACTST DAC Test
C8h YCOLVL YOUT and COUT Levels
CCh SCPROG Sub-Carrier Programming
D0h RSV1 Reserved 1
D4h RSV2 Reserved 2
D8h RSV3 Reserved 3
DCh CVBS Composite Mode
E0h CMPNT Component Mode
E4h ETMG0 CVBS Timing Control 0
E8h ETMG1 CVBS Timing Control 1
ECh ETMG2 CVBS Timing Control 2
F0h ETMG3 CVBS Timing Control 3
F4h DACSEL DAC Output Select
100h ARGBX0 Analog RGB Matrix 0
104h ARGBX1 Analog RGB Matrix 1
108h ARGBX2 Analog RGB Matrix 2
10Ch ARGBX3 Analog RGB Matrix 3
110h ARGBX4 Analog RGB Matrix 4
114h DRGBX0 Digital RGB Matrix 0
118h DRGBX1 Digital RGB Matrix 1
11Ch DRGBX2 Digital RGB Matrix 2
120h DRGBX3 Digital RGB Matrix 3
124h DRGBX4 Digital RGB Matrix 4
128h VSTARTA Vertical Data Valid Start Position For Even Field
12Ch OSDCLK0 OSD Clock Control 0
130h OSDCLK1 OSD Clock Control 1
134h HVLDCL0 Horizontal Valid Culling Control 0
138h HVLDCL1 Horizontal Valid Culling Control 1
13Ch OSDHADV OSD Horizontal Sync Advance
140h CLKCTL Clock Control
144h GAMCTL Enable Gamma Correction
148h VVALIDA Vertical Data Valid Area For Even Field
14Ch BATR0 Video Attribute 0 For Type B Packet
150h BATR1 Video Attribute 1 For Type B Packet
154h BATR2 Video Attribute 2 For Type B Packet
158h BATR3 Video Attribute 3 For Type B Packet
15Ch BATR4 Video Attribute 4 For Type B Packet
160h BATR5 Video Attribute 5 For Type B Packet
164h BATR6 Video Attribute 6 For Type B Packet
168h BATR7 Video Attribute 7 For Type B Packet
16Ch BATR8 Video Attribute 8 For Type B Packet
170h DACAMP Gain and Offset

VPBE Electrical Data/Timing

Table 7-52 Timing Requirements for VPBE CLK Inputs (see Figure 7-35)

NO. DEVICE UNIT
MIN MAX
1 tc(PCLK) Cycle time, PCLK(1) 13.33 160 ns
2 tw(PCLKH) Pulse duration, PCLK high 5.7 ns
3 tw(PCLKL) Pulse duration, PCLK low 5.7 ns
4 tt(PCLK) Transition time, PCLK 3 ns
5 tc(EXTCLK) Cycle time, EXTCLK 13.33 160 ns
6 tw(EXTCLKH) Pulse duration, EXTCLK high 5.7 ns
7 tw(EXTCLKL) Pulse duration, EXTCLK low 5.7 ns
8 tt(EXTCLK) Transition time, EXTCLK 3 ns
For timing specifications relating to PCLK see Table 7-45, Timing Requirements for VPFE PCLK Master/Slave Mode.
TMS320DM369 td_vpbeclks_prs348.gif Figure 7-35 VPBE PCLK and EXTCLK Timing

Table 7-53 Timing Requirements for VPBE Control Input With Respect to PCLK and EXTCLK(1) (3) (2) (see Figure 7-36)

NO. DEVICE UNIT
MIN MAX
9 tsu(VCTLV-VCLKIN) Setup time, VCTL valid before VCLKIN edge Positive Edge 4 ns
Negative Edge 3
10 th(VCLKIN-VCTLV) Hold time, VCTL valid after VCLKIN edge Positive Edge 1 ns
Negative Edge 2
The VPBE may be configured to operate in either positive or negative edge clocking mode. When in positive edge clocking mode, the rising edge of VCLKIN is referenced. When in negative edge clocking mode, the falling edge of VCLKIN is referenced.
VCLKIN = PCLK or EXTCLK. Positive and Negative Edge apply to PCLK only; EXTCLK does not support Negative Edge clocking.
VCTL = HSYNC, VSYNC, and FIELD
TMS320DM369 td_vpbeinck2_prs348_updated.gif Figure 7-36 VPBE Input Timing With Respect to PCLK and EXTCLK

Table 7-54 Switching Characteristics Over Recommended Operating Conditions for VPBE Control and Data Output With Respect to PCLK and EXTCLK(1) (2) (3) (see Figure 7-37)

NO. PARAMETER DEVICE UNIT
MIN MAX
11 td(VCLKIN-VCTLV) Delay time, VCLKIN edge to VCTL valid Positive Edge 15 ns
Negative Edge 16
12 td(VCLKIN-VCTLIV) Delay time, VCLKIN edge to VCTL invalid 2 ns
13 td(VCLKIN-VDATAV) Delay time, VCLKIN edge to VDATA valid VCLKIN = EXTCLK 15 ns
VCLKIN = PCLK 17.5
14 td(VCLKIN-VDATAIV) Delay time, VCLKIN edge to VDATA invalid 2 ns
The VPBE may be configured to operate in either positive or negative edge clocking mode. When in positive edge clocking mode, the rising edge of VCLKIN is referenced. When in negative edge clocking mode, the falling edge of VCLKIN is referenced.
VCLKIN = PCLK or EXTCLK. Positive and Negative Edge apply to PCLK only; EXTCLK does not support Negative Edge clocking.
VCTL = HSYNC, VSYNC, FIELD, and LCD_OE.
TMS320DM369 td_vpbeotcks_prs348_updated2.gif Figure 7-37 VPBE Control and Data Output With Respect to PCLK and EXTCLK

Table 7-55 Switching Characteristics Over Recommended Operating Conditions for VPBE Control and Data Output With Respect to VCLK(1) (2) (3)(see Figure 7-38)

NO. PARAMETER DEVICE UNIT
MIN MAX
17 tc(VCLK) Cycle time, VCLK 13.33 160 ns
18 tw(VCLKH) Pulse duration, VCLK high 5.7 ns
19 tw(VCLKL) Pulse duration, VCLK low 5.7 ns
20 tt(VCLK) Transition time, VCLK 3 ns
21 td(VCLKINH-VCLKH) Delay time, VCLKIN high to VCLK high 3 16 ns
22 td(VCLKINL-VCLKL) Delay time, VCLKIN low to VCLK low 3 16 ns
23 td(VCLK-VCTLV) Delay time, VCLK edge to VCTL valid 1.5 ns
24 td(VCLK-VCTLIV) Delay time, VCLK edge to VCTL invalid -1.5 ns
25 td(VCLK-VDATAV) Delay time, VCLK edge to VDATA valid 1.5 ns
26 td(VCLK-VDATAIV) Delay time, VCLK edge to VDATA invalid -1.5 ns
The VPBE may be configured to operate in either positive or negative edge clocking mode. When in positive edge clocking mode, the rising edge of VCLK is referenced. When in negative edge clocking mode, the falling edge of VCLK is referenced.
VCLKIN = PCLK or EXTCLK. Positive and Negative edge apply for PCLK only, EXTCLK does not support negative edge clocking. For timing specifications relating to PCLK, see Table 7-45, Timing Requirements for VPFE PCLK Master/Slave Mode.
VCTL= HSYNC, VSYNC, FIELD and LCD_OE.
TMS320DM369 td_vpbeovclk_prs348_updated2.gif Figure 7-38 VPBE Control and Data Output Timing With Respect to VCLK

High-Definition (HD) DACs and Video Buffer Electrical Data/Timing

Three DACs and a video buffer are available on the device.

HD DACs-Only Option

In the HD DACs-only configuration, the internal video buffer is not used and an external video buffer is attached to the DACs. Another solution is to use a Video Amplifier, such as the Texas Instruments' THS7303 which provides a complete solution to the typical output circuit shown in Figure 7-39.

TMS320DM369 daclowpassfilterupdated_prs457_525454.gif
RBIAS = 2400Ω.
VREF = 0.5V (from external supply).
IDACOUT must be connected to Vss or left open for proper device configuration.
VFB must be connected to Vss or left open for proper device configuration.
TVOUT must be connected to Vss or left open for proper device configuration.
Figure 7-39 HD Video DAC Application Example

DAC With Video Buffer Option

In a DAC plus video buffer configuration, one of the DACs may be used along with the video buffer for standard definition TVOUT mode. In the DAC plus video buffer configuration, the DAC and internal video buffer are both used, and a TV cable may be attached directly to the output of the video buffer. Figure 7-40 shows an example of the DAC Plus Video Buffer Option circuit configuration.

TMS320DM369 dacvideobuffer_prs457_updated.gif Figure 7-40 SD Video Buffer Application Example

USB2.0

The USB2.0 peripheral supports the following features:

  • USB 2.0 peripheral at speeds high speed (HS: 480 Mbps) and full speed (FS: 12 Mbps)
  • USB 2.0 host at speeds HS, FS, and low speed (LS: 1.5 Mbps)
  • All transfer modes (control, bulk, interrupt, and isochronous)
  • Four Transmit (TX) and four Receive (RX) endpoints in addition to endpoint 0
  • FIFO RAM
    • 4K bytes shared by all endpoints.
    • Programmable FIFO size
  • Includes a DMA sub-module that supports four TX and four RX channels of CPPI 3.0 DMAs
  • RNDIS mode for accelerating RNDIS type protocols using short packet termination over USB
  • USB OTG extensions, i.e. session request protocol (SRP) and host negotiation protocol (HNP)

The USB2.0 peripheral does not support the following features:

  • On-chip charge pump
  • High bandwidth ISO mode is not supported (triple buffering)
  • RNDIS mode acceleration for USB sizes that are not multiples of 64 bytes
  • Endpoint max USB packet sizes that do not conform to the USB 2.0 spec (for FS/LS: 8, 16, 32, 64, and 1023 are defined; for HS: 64, 128, 512, and 1024 are defined)

USB Peripheral Register Description

Table 7-56 lists the USB registers, their corresponding acronyms, and the device memory locations (offsets).

Table 7-56 Universal Serial Bus (USB) Registers

Offset Acronym Register Description
4h CTRLR Control Register
8h STATR Status Register
10h RNDISR RNDIS Register
14h AUTOREQ Autorequest Register
20h INTSRCR USB Interrupt Source Register
24h INTSETR USB Interrupt Source Set Register
28h INTCLRR USB Interrupt Source Clear Register
2Ch INTMSKR USB Interrupt Mask Register
30h INTMSKSETR USB Interrupt Mask Set Register
34h INTMSKCLRR USB Interrupt Mask Clear Register
38h INTMASKEDR USB Interrupt Source Masked Register
3Ch EOIR USB End of Interrupt Register
40h INTVECTR USB Interrupt Vector Register
80h TCPPICR Transmit CPPI Control Register
84h TCPPITDR Transmit CPPI Teardown Register
88h TCPPIEOIR Transmit CPPI DMA Controller End of Interrupt Register
8Ch Reserved -
90h TCPPIMSKSR Transmit CPPI Masked Status Register
94h TCPPIRAWSR Transmit CPPI Raw Status Register
98h TCPPIIENSETR Transmit CPPI Interrupt Enable Set Register
9Ch TCPPIIENCLRR Transmit CPPI Interrupt Enable Clear Register
C0h RCPPICR Receive CPPI Control Register
D0h RCPPIMSKSR Receive CPPI Masked Status Register
D4h RCPPIRAWSR Receive CPPI Raw Status Register
D8h RCPPIENSETR Receive CPPI Interrupt Enable Set Register
DCh RCPPIIENCLRR Receive CPPI Interrupt Enable Clear Register
E0h RBUFCNT0 Receive Buffer Count 0 Register
E4h RBUFCNT1 Receive Buffer Count 1 Register
E8h RBUFCNT2 Receive Buffer Count 2 Register
ECh RBUFCNT3 Receive Buffer Count 3 Register
Transmit/Receive CPPI Channel 0 State Block
100h TCPPIDMASTATEW0 Transmit CPPI DMA State Word 0
104h TCPPIDMASTATEW1 Transmit CPPI DMA State Word 1
108h TCPPIDMASTATEW2 Transmit CPPI DMA State Word 2
10Ch TCPPIDMASTATEW3 Transmit CPPI DMA State Word 3
110h TCPPIDMASTATEW4 Transmit CPPI DMA State Word 4
114h TCPPIDMASTATEW5 Transmit CPPI DMA State Word 5
11Ch TCPPICOMPPTR Transmit CPPI Completion Pointer
120h RCPPIDMASTATEW0 Receive CPPI DMA State Word 0
124h RCPPIDMASTATEW1 Receive CPPI DMA State Word 1
128h RCPPIDMASTATEW2 Receive CPPI DMA State Word 2
12Ch RCPPIDMASTATEW3 Receive CPPI DMA State Word 3
130h RCPPIDMASTATEW4 Receive CPPI DMA State Word 4
134h RCPPIDMASTATEW5 Receive CPPI DMA State Word 5
138h RCPPIDMASTATEW6 Receive CPPI DMA State Word 6
13Ch RCPPICOMPPTR Receive CPPI Completion Pointer
Transmit/Receive CPPI Channel 1 State Block
140h TCPPIDMASTATEW0 Transmit CPPI DMA State Word 0
144h TCPPIDMASTATEW1 Transmit CPPI DMA State Word 1
148h TCPPIDMASTATEW2 Transmit CPPI DMA State Word 2
14Ch TCPPIDMASTATEW3 Transmit CPPI DMA State Word 3
150h TCPPIDMASTATEW4 Transmit CPPI DMA State Word 4
154h TCPPIDMASTATEW5 Transmit CPPI DMA State Word 5
15Ch TCPPICOMPPTR Transmit CPPI Completion Pointer
160h RCPPIDMASTATEW0 Receive CPPI DMA State Word 0
164h RCPPIDMASTATEW1 Receive CPPI DMA State Word 1
168h RCPPIDMASTATEW2 Receive CPPI DMA State Word 2
16Ch RCPPIDMASTATEW3 Receive CPPI DMA State Word 3
170h RCPPIDMASTATEW4 Receive CPPI DMA State Word 4
174h RCPPIDMASTATEW5 Receive CPPI DMA State Word 5
178h RCPPIDMASTATEW6 Receive CPPI DMA State Word 6
17Ch RCPPICOMPPTR Receive CPPI Completion Pointer
Transmit/Receive CPPI Channel 2 State Block
180h TCPPIDMASTATEW0 Transmit CPPI DMA State Word 0
184h TCPPIDMASTATEW1 Transmit CPPI DMA State Word 1
188h TCPPIDMASTATEW2 Transmit CPPI DMA State Word 2
18Ch TCPPIDMASTATEW3 Transmit CPPI DMA State Word 3
190h TCPPIDMASTATEW4 Transmit CPPI DMA State Word 4
194h TCPPIDMASTATEW5 Transmit CPPI DMA State Word 5
19Ch TCPPICOMPPTR Transmit CPPI Completion Pointer
1A0h RCPPIDMASTATEW0 Receive CPPI DMA State Word 0
1A4h RCPPIDMASTATEW1 Receive CPPI DMA State Word 1
1A8h RCPPIDMASTATEW2 Receive CPPI DMA State Word 2
1ACh RCPPIDMASTATEW3 Receive CPPI DMA State Word 3
1B0h RCPPIDMASTATEW4 Receive CPPI DMA State Word 4
1B4h RCPPIDMASTATEW5 Receive CPPI DMA State Word 5
1B8h RCPPIDMASTATEW6 Receive CPPI DMA State Word 6
1BCh RCPPICOMPPTR Receive CPPI Completion Pointer
Transmit/Receive CPPI Channel 3 State Block
1C0h TCPPIDMASTATEW0 Transmit CPPI DMA State Word 0
1C4h TCPPIDMASTATEW1 Transmit CPPI DMA State Word 1
1C8h TCPPIDMASTATEW2 Transmit CPPI DMA State Word 2
1CCh TCPPIDMASTATEW3 Transmit CPPI DMA State Word 3
1D0h TCPPIDMASTATEW4 Transmit CPPI DMA State Word 4
1D4h TCPPIDMASTATEW5 Transmit CPPI DMA State Word 5
1DCh TCPPICOMPPTR Transmit CPPI Completion Pointer
1E0h RCPPIDMASTATEW0 Receive CPPI DMA State Word 0
1E4h RCPPIDMASTATEW1 Receive CPPI DMA State Word 1
1E8h RCPPIDMASTATEW2 Receive CPPI DMA State Word 2
1ECh RCPPIDMASTATEW3 Receive CPPI DMA State Word 3
1F0h RCPPIDMASTATEW4 Receive CPPI DMA State Word 4
1F4h RCPPIDMASTATEW5 Receive CPPI DMA State Word 5
1F8h RCPPIDMASTATEW6 Receive CPPI DMA State Word 6
1FCh RCPPICOMPPTR Receive CPPI Completion Pointer
Common USB Registers
400h FADDR Function Address Register
401h POWER Power Management Register
402h INTRTX Interrupt Register for Endpoint 0 plus Transmit Endpoints 1 to 4
404h INTRRX Interrupt Register for Receive Endpoints 1 to 4
406h INTRTXE Interrupt enable register for INTRTX
408h INTRRXE Interrupt Enable Register for INTRRX
40Ah INTRUSB Interrupt Register for Common USB Interrupts
40Bh INTRUSBE Interrupt Enable Register for INTRUSB
40Ch FRAME Frame Number Register
40Eh INDEX Index Register for Selecting the Endpoint Status and Control Registers
40Fh TESTMODE Register to Enable the USB 2.0 Test Modes
Indexed Registers
These registers operate on the endpoint selected by the INDEX register
410h TXMAXP Maximum Packet Size for Peripheral/Host Transmit Endpoint.
(Index register set to select Endpoints 1-4)
412h PERI_CSR0 Control Status Register for Endpoint 0 in Peripheral Mode.
(Index register set to select Endpoint 0)
HOST_CSR0 Control Status Register for Endpoint 0 in Host Mode.
(Index register set to select Endpoint 0)
PERI_TXCSR Control Status Register for Peripheral Transmit Endpoint.
(Index register set to select Endpoints 1-4)
HOST_TXCSR Control Status Register for Host Transmit Endpoint.
(Index register set to select Endpoints 1-4)
414h RXMAXP Maximum Packet Size for Peripheral/Host Receive Endpoint.
(Index register set to select Endpoints 1-4)
416h PERI_RXCSR Control Status Register for Peripheral Receive Endpoint.
(Index register set to select Endpoints 1-4)
HOST_RXCSR Control Status Register for Host Receive Endpoint.
(Index register set to select Endpoints 1-4)
418h COUNT0 Number of Received Bytes in Endpoint 0 FIFO.
(Index register set to select Endpoint 0)
RXCOUNT Number of Bytes in Host Receive Endpoint FIFO.
(Index register set to select Endpoints 1- 4)
41Ah HOST_TYPE0 Defines the speed of Endpoint 0
HOST_TXTYPE Sets the operating speed, transaction protocol and peripheral endpoint number for the host Transmit endpoint.
(Index register set to select Endpoints 1-4)
41Bh HOST_NAKLIMIT0 Sets the NAK response timeout on Endpoint 0.
(Index register set to select Endpoint 0)
HOST_TXINTERVAL Sets the polling interval for Interrupt/ISOC transactions or the NAK response timeout on Bulk transactions for host Transmit endpoint. (Index register set to select Endpoints 1-4)
41Ch HOST_RXTYPE Sets the operating speed, transaction protocol and peripheral endpoint number for the host Receive endpoint.
(Index register set to select Endpoints 1-4)
41Dh HOST_RXINTERVAL Sets the polling interval for Interrupt/ISOC transactions or the NAK response timeout on Bulk transactions for host Receive endpoint. (Index register set to select Endpoints 1-4)
41Fh CONFIGDATA Returns details of core configuration. (Index register set to select Endpoint 0)
FIFOn
420h FIFO0 Transmit and Receive FIFO Register for Endpoint 0
424h FIFO1 Transmit and Receive FIFO Register for Endpoint 1
428h FIFO2 Transmit and Receive FIFO Register for Endpoint 2
42Ch FIFO3 Transmit and Receive FIFO Register for Endpoint 3
430h FIFO4 Transmit and Receive FIFO Register for Endpoint 4
OTG Device Control
460h DEVCTL OTG Device Control Register
Dynamic FIFO Control
462h TXFIFOSZ Transmit Endpoint FIFO Size
(Index register set to select Endpoints 1-4)
463h RXFIFOSZ Receive Endpoint FIFO Size
(Index register set to select Endpoints 1-4)
464h TXFIFOADDR Transmit Endpoint FIFO Address
(Index register set to select Endpoints 1-4)
466h RXFIFOADDR Receive Endpoint FIFO Address
(Index register set to select Endpoints 1-4)
Target Endpoint 0 Control Registers, Valid Only in Host Mode
480h TXFUNCADDR Address of the target function that has to be accessed through the associated Transmit Endpoint.
482h TXHUBADDR Address of the hub that has to be accessed through the associated Transmit Endpoint. This is used only when full speed or low speed device is connected via a USB2.0 high-speed hub.
483h TXHUBPORT Port of the hub that has to be accessed through the associated Transmit Endpoint. This is used only when full speed or low speed device is connected via a USB2.0 high-speed hub.
484h RXFUNCADDR Address of the target function that has to be accessed through the associated Receive Endpoint.
486h RXHUBADDR Address of the hub that has to be accessed through the associated Receive Endpoint. This is used only when full speed or low speed device is connected via a USB2.0 high-speed hub.
487h RXHUBPORT Port of the hub that has to be accessed through the associated Receive Endpoint. This is used only when full speed or low speed device is connected via a USB2.0 high-speed hub.
Target Endpoint 1 Control Registers, Valid Only in Host Mode
488h TXFUNCADDR Address of the target function that has to be accessed through the associated Transmit Endpoint.
48Ah TXHUBADDR Address of the hub that has to be accessed through the associated Transmit Endpoint. This is used only when full speed or low speed device is connected via a USB2.0 high-speed hub.
48Bh TXHUBPORT Port of the hub that has to be accessed through the associated Transmit Endpoint. This is used only when full speed or low speed device is connected via a USB2.0 high-speed hub.
48Ch RXFUNCADDR Address of the target function that has to be accessed through the associated Receive Endpoint.
48Eh RXHUBADDR Address of the hub that has to be accessed through the associated Receive Endpoint. This is used only when full speed or low speed device is connected via a USB2.0 high-speed hub.
48Fh RXHUBPORT Port of the hub that has to be accessed through the associated Receive Endpoint. This is used only when full speed or low speed device is connected via a USB2.0 high-speed hub.
Target Endpoint 2 Control Registers, Valid Only in Host Mode
490h TXFUNCADDR Address of the target function that has to be accessed through the associated Transmit Endpoint.
492h TXHUBADDR Address of the hub that has to be accessed through the associated Transmit Endpoint. This is used only when full speed or low speed device is connected via a USB2.0 high-speed hub.
493h TXHUBPORT Port of the hub that has to be accessed through the associated Transmit Endpoint. This is used only when full speed or low speed device is connected via a USB2.0 high-speed hub.
494h RXFUNCADDR Address of the target function that has to be accessed through the associated Receive Endpoint.
496h RXHUBADDR Address of the hub that has to be accessed through the associated Receive Endpoint. This is used only when full speed or low speed device is connected via a USB2.0 high-speed hub.
497h RXHUBPORT Port of the hub that has to be accessed through the associated Receive Endpoint. This is used only when full speed or low speed device is connected via a USB2.0 high-speed hub.
Target Endpoint 3 Control Registers, Valid Only in Host Mode
498h TXFUNCADDR Address of the target function that has to be accessed through the associated Transmit Endpoint.
49Ah TXHUBADDR Address of the hub that has to be accessed through the associated Transmit Endpoint. This is used only when full speed or low speed device is connected via a USB2.0 high-speed hub.
49Bh TXHUBPORT Port of the hub that has to be accessed through the associated Transmit Endpoint. This is used only when full speed or low speed device is connected via a USB2.0 high-speed hub.
49Ch RXFUNCADDR Address of the target function that has to be accessed through the associated Receive Endpoint.
49Eh RXHUBADDR Address of the hub that has to be accessed through the associated Receive Endpoint. This is used only when full speed or low speed device is connected via a USB2.0 high-speed hub.
49Fh RXHUBPORT Port of the hub that has to be accessed through the associated Receive Endpoint. This is used only when full speed or low speed device is connected via a USB2.0 high-speed hub.
Target Endpoint 4 Control Registers, Valid Only in Host Mode
4A0h TXFUNCADDR Address of the target function that has to be accessed through the associated Transmit Endpoint.
4A2h TXHUBADDR Address of the hub that has to be accessed through the associated Transmit Endpoint. This is used only when full speed or low speed device is connected via a USB2.0 high-speed hub.
4A3h TXHUBPORT Port of the hub that has to be accessed through the associated Transmit Endpoint. This is used only when full speed or low speed device is connected via a USB2.0 high-speed hub.
4A4h RXFUNCADDR Address of the target function that has to be accessed through the associated Receive Endpoint.
4A6h RXHUBADDR Address of the hub that has to be accessed through the associated Receive Endpoint. This is used only when full speed or low speed device is connected via a USB2.0 high-speed hub.
4A7h RXHUBPORT Port of the hub that has to be accessed through the associated Receive Endpoint. This is used only when full speed or low speed device is connected via a USB2.0 high-speed hub.
Control and Status Register for Endpoint 0
502h PERI_CSR0 Control Status Register for Endpoint 0 in Peripheral Mode
HOST_CSR0 Control Status Register for Endpoint 0 in Host Mode
508h COUNT0 Number of Received Bytes in Endpoint 0 FIFO
50Ah HOST_TYPE0 Defines the Speed of Endpoint 0
50Bh HOST_NAKLIMIT0 Sets the NAK Response Timeout on Endpoint 0
50Fh CONFIGDATA Returns details of core configuration.
Control and Status Register for Endpoint 1
510h TXMAXP Maximum Packet Size for Peripheral/Host Transmit Endpoint
512h PERI_TXCSR Control Status Register for Peripheral Transmit Endpoint
(peripheral mode)
HOST_TXCSR Control Status Register for Host Transmit Endpoint
(host mode)
514h RXMAXP Maximum Packet Size for Peripheral/Host Receive Endpoint
516h PERI_RXCSR Control Status Register for Peripheral Receive Endpoint
(peripheral mode)
HOST_RXCSR Control Status Register for Host Receive Endpoint
(host mode)
518h RXCOUNT Number of Bytes in Host Receive endpoint FIFO
51Ah HOST_TXTYPE Sets the operating speed, transaction protocol and peripheral endpoint number for the host Transmit endpoint.
51Bh HOST_TXINTERVAL Sets the polling interval for Interrupt/ISOC transactions or the NAK response timeout on Bulk transactions for host Transmit endpoint.
51Ch HOST_RXTYPE Sets the operating speed, transaction protocol and peripheral endpoint number for the host Receive endpoint.
51Dh HOST_RXINTERVAL Sets the polling interval for Interrupt/ISOC transactions or the NAK response timeout on Bulk transactions for host Receive endpoint.
Control and Status Register for Endpoint 2
520h TXMAXP Maximum Packet Size for Peripheral/Host Transmit Endpoint
522h PERI_TXCSR Control Status Register for Peripheral Transmit Endpoint
(peripheral mode)
HOST_TXCSR Control Status Register for Host Transmit Endpoint
(host mode)
524h RXMAXP Maximum Packet Size for Peripheral/Host Receive Endpoint
526h PERI_RXCSR Control Status Register for Peripheral Receive Endpoint
(peripheral mode)
HOST_RXCSR Control Status Register for Host Receive Endpoint
(host mode)
528h RXCOUNT Number of Bytes in Host Receive endpoint FIFO
52Ah HOST_TXTYPE Sets the operating speed, transaction protocol and peripheral endpoint number for the host Transmit endpoint.
52Bh HOST_TXINTERVAL Sets the polling interval for Interrupt/ISOC transactions or the NAK response timeout on Bulk transactions for host Transmit endpoint.
52Ch HOST_RXTYPE Sets the operating speed, transaction protocol and peripheral endpoint number for the host Receive endpoint.
52Dh HOST_RXINTERVAL Sets the polling interval for Interrupt/ISOC transactions or the NAK response timeout on Bulk transactions for host Receive endpoint.
Control and Status Register for Endpoint 3
530h TXMAXP Maximum Packet Size for Peripheral/Host Transmit Endpoint
532h PERI_TXCSR Control Status Register for Peripheral Transmit Endpoint
(peripheral mode)
HOST_TXCSR Control Status Register for Host Transmit Endpoint
(host mode)
534h RXMAXP Maximum Packet Size for Peripheral/Host Receive Endpoint
536h PERI_RXCSR Control Status Register for Peripheral Receive Endpoint
(peripheral mode)
HOST_RXCSR Control Status Register for Host Receive Endpoint
(host mode)
538h RXCOUNT Number of Bytes in Host Receive endpoint FIFO
53Ah HOST_TXTYPE Sets the operating speed, transaction protocol and peripheral endpoint number for the host Transmit endpoint.
53Bh HOST_TXINTERVAL Sets the polling interval for Interrupt/ISOC transactions or the NAK response timeout on Bulk transactions for host Transmit endpoint.
53Ch HOST_RXTYPE Sets the operating speed, transaction protocol and peripheral endpoint number for the host Receive endpoint.
53Dh HOST_RXINTERVAL Sets the polling interval for Interrupt/ISOC transactions or the NAK response timeout on Bulk transactions for host Receive endpoint.
Control and Status Register for Endpoint 4
540h TXMAXP Maximum Packet Size for Peripheral/Host Transmit Endpoint
542h PERI_TXCSR Control Status Register for Peripheral Transmit Endpoint
(peripheral mode)
HOST_TXCSR Control Status Register for Host Transmit Endpoint
(host mode)
544h RXMAXP Maximum Packet Size for Peripheral/Host Receive Endpoint
546h PERI_RXCSR Control Status Register for Peripheral Receive Endpoint
(peripheral mode)
HOST_RXCSR Control Status Register for Host Receive Endpoint
(host mode)
548h RXCOUNT Number of Bytes in Host Receive endpoint FIFO
54Ah HOST_TXTYPE Sets the operating speed, transaction protocol and peripheral endpoint number for the host Transmit endpoint.
54Bh HOST_TXINTERVAL Sets the polling interval for Interrupt/ISOC transactions or the NAK response timeout on Bulk transactions for host Transmit endpoint.
54Ch HOST_RXTYPE Sets the operating speed, transaction protocol and peripheral endpoint number for the host Receive endpoint.
54Dh HOST_RXINTERVAL Sets the polling interval for Interrupt/ISOC transactions or the NAK response timeout on Bulk transactions for host Receive endpoint.

USB2.0 Electrical Data/Timing

Table 7-57 Switching Characteristics Over Recommended Operating Conditions for USB2.0 (see Figure 7-41)

NO. PARAMETER DEVICE UNIT
LOW SPEED
1.5 Mbps
FULL SPEED
12 Mbps
HIGH SPEED(4)
480 Mbps
MIN MAX MIN MAX MIN MAX
1 tr(D) Rise time, USB_DP and USB_DM signals(1) 75 300 4 20 0.5 20 ns
2 tf(D) Fall time, USB_DP and USB_DM signals(1) 75 300 4 20 0.5 20 ns
3 tfrfm Rise/Fall time, matching(2) 80 125 90 111.11 %
4 VCRS Output signal cross-over voltage(1) 1.3 2 1.3 2 V
5 tjr(source)NT Source (Host) Driver jitter, next transition 2 2 ns
tjr(FUNC)NT Function Driver jitter, next transition 25 2 ns
6 tjr(source)PT Source (Host) Driver jitter, paired transition(3) 1 1 ns
tjr(FUNC)PT Function Driver jitter, paired transition 10 1 ns
7 tw(EOPT) Pulse duration, EOP transmitter 1250 1500 160 175 ns
8 tw(EOPR) Pulse duration, EOP receiver 670 82 ns
9 t(DRATE) Data Rate 1.5 12 480 Mbps
10 ZDRV Driver Output Resistance 28 49.5 40.5 49.5 Ω
Low Speed: CL = 200 pF, Full Speed: CL = 50 pF, High Speed: CL = 50 pF
tfrfm = (tr/tf) x 100. [Excluding the first transaction from the Idle state.]
tjr = tpx(1) - tpx(0)
For more detailed specification information, see the Universal Serial Bus Specification Revision 2.0, Chapter 7.
TMS320DM369 td_usbxrcv_prs348.gif Figure 7-41 USB2.0 Integrated Transceiver Interface Timing

Universal Asynchronous Receiver/Transmitter (UART)

The UART module performs serial-to-parallel conversion on data received from a peripheral device or modem, and parallel-to-serial conversion on data received from the CPU. Each UART also includes a programmable baud rate generator capable of dividing the module's reference clock by divisors from 1 to 65,535 to produce a 16 x clock driving the internal logic. The UART modules support the following features:

  • Frequency pre-scale values from 1 to 65,535 to generate appropriate baud rates
  • 16-byte storage space for both the transmitter and receiver FIFOs
  • Unique interrupts, one for each UART
  • Unique EDMA events, both received and transmitted data for each UART
  • 1, 4, 8, or 14 byte selectable receiver FIFO trigger level for autoflow control and DMA
  • Programmable auto-rts and auto-cts for autoflow control (supported on UART1)
  • Programmable serial data formats
    • 5, 6, 7, or 8-bit characters
    • Even, odd, or no parity bit generation and detection
    • 1, 1.5, or 2 stop bit generation
  • False start bit detection
  • Line break generation and detection
  • Internal diagnostic capabilities
    • Loopback controls for communications link fault isolation
    • Break, parity, overrun, and framing error simulation
  • Modem control functions: CTS, RTS (supported on UART1)

UART Peripheral Register Description

Table 7-58 lists the UART registers, their corresponding acronyms, and the device memory locations (offsets).

Table 7-58 UART Registers

OFFSET ACRONYM REGISTER DESCRIPTION
0h RBR Receiver Buffer Register (read only)
0h THR Transmitter Holding Register (write only)
4h IER Interrupt Enable Register
8h IIR Interrupt Identification Register (read only)
8h FCR FIFO Control Register (write only)
Ch LCR Line Control Register
10h MCR Modem Control Register
14h LSR Line Status Register
20h DLL Divisor LSB Latch
24h DLH Divisor MSB Latch
28h PID Peripheral Identification Register
30h PWREMU_MGMT Power and Emulation Management Register
34h MDR Mode Definition Register

UART Electrical Data/Timing

Table 7-59 Timing Requirements for UARTx Receive (see Figure 7-42)(1)

NO. DEVICE UNIT
MIN MAX
4 tw(URXDB) Pulse duration, receive data bit (RXDn) .96U 1.05U ns
5 tw(URXSB) Pulse duration, receive start bit .96U 1.05U ns
U = UART baud time = 1/programmed baud rate.

Table 7-60 Switching Characteristics Over Recommended Operating Conditions for UARTx Transmit
(see Figure 7-42)(1)

NO. PARAMETER DEVICE UNIT
MIN MAX
1 f(baud) UART0 Maximum programmable baud rate 5 MHz
UART1 Maximum programmable baud rate 5
2 tw(UTXDB) Pulse duration, transmit data bit (TXDn) U - 2 U + 2 ns
3 tw(UTXSB) Pulse duration, transmit start bit U - 2 U + 2 ns
U = UART baud time = 1/programmed baud rate.
TMS320DM369 td_uart_prs348.gif Figure 7-42 UART Transmit/Receive Timing

Serial Port Interface (SPI)

The SPI module provides a programmable length shift register which allows serial communication with other SPI devices through a 3 or 4 wire interface (Clock, Data In, Data Out, and Chip-select). The SPI supports the following features:

  • Master and Slave mode operation is supported on all SPI ports (master mode means that the device provides the serial clock)
  • 2 chip selects for interfacing to multiple slave SPI devices.
  • 3 or 4 wire interface (Clock, Data In, Data Out, and Enable)
  • Unique interrupt for each SPI port (except SPI4)
  • Separate EDMA events for SPI Receive and Transmit for each SPI port (except SPI4)
  • 16-bit shift register
  • Receive buffer register
  • Programmable character length (2 to 16 bits)
  • Programmable SPI clock frequency range
  • 8-bit clock prescaler
  • Programmable clock phase (delay or no delay)
  • Programmable clock polarity

Note: SPI4 slave mode does not support Chip-select input, only supports 3-wire interface.

The SPI modules do not support the following features:

  • GPIO mode. GPIO functionality is supported by the GIO modules for those SPI pins that are multiplexed with GPIO signals.

SPI Peripheral Register Description

Table 7-61 lists the SPI registers, their corresponding acronyms, and the device memory locations (offsets). These offsets apply to all device SPI modules.

Table 7-61 SPI Registers

OFFSET ACRONYM REGISTER DESCRIPTION
00h SPIGCR0 SPI global control register 0
04h SPIGCR1 SPI global control register 1
08h SPIINT SPI interrupt register
0Ch SPILVL SPI interrupt level register
10h SPIFLG SPI flag register
14h SPIPC0 SPI pin control register
18h - Reserved
1Ch SPIPC2 SPI pin control register 2
20h - 38h - Reserved
3Ch SPIDAT1 SPI shift register
40h SPIBUF SPI buffer register
44h SPIEMU SPI emulation register
48h SPIDELAY SPI delay register
4Ch SPIDEF SPI default chip select register
50h-5Ch SPIFMT0 SPI data format register 0
60h INTVECT0 SPI interrupt vector register 0
64h INTVECT1 SPI interrupt vector register 1

SPI Electrical Data/Timing

Master Mode — General

Table 7-62 General Switching Characteristics in Master Mode(1)

NO. PARAMETER MIN MAX UNIT
1 tc(CLK) Cycle time, SPI_SCLK greater of 2P or 25 256P ns
2 tw(CLKH) Pulse width, SPI_SCLK high .5(tc(CLK)) - 1.25 ns
3 tw(CLKL) Pulse width, SPI_SCLK low .5(tc(CLK)) - 1.25 ns
4 tosu(SIMO-CLK) Output setup time, SPI_SIMO valid (1st bit) before initial SPI_SCLK rising edge, 3- and4-pin mode,
polarity = 0, phase = 0
6.5 ns
Output setup time, SPI_SIMO valid (1st bit) before initial SPI_SCLK rising edge, 3- and4-pin mode,
polarity = 0, phase = 1
.5tc(CLK) + 6.5
Output setup time, SPI_SIMO valid (1st bit) before initial SPI_SCLK falling edge, 3- and4-pin mode,
polarity = 1, phase = 0
6.5
Output setup time, SPI_SIMO valid (1st bit) before initial SPI_SCLK falling edge, 3- and4-pin mode,
polarity = 1, phase = 1
.5tc(CLK) + 6.5
5 td(CLK-SIMO) Delay time, SPI_SCLK transmit rising edge to SPI_SIMO output valid (subsequent bit driven), 3- and4-pin mode, polarity = 0, phase = 0 -3 6 ns
Delay time, SPI_SCLK transmit falling edge to SPI_SIMO output valid (subsequent bit driven), 3- and4-pin mode, polarity = 0, phase = 1 -3 6
Delay time, SPI_SCLK transmit falling edge to SPI_SIMO output valid (subsequent bit driven), 3- and4-pin mode, polarity = 1, phase = 0 -3 6
Delay time, SPI_SCLK transmit rising edge to SPI_SIMO output valid (subsequent bit driven), 3- and4-pin mode, polarity = 1, phase = 1 -3 6
6 toh(CLK-SIMO) Output hold time, SPI_SIMO valid (except final bit) after receive falling edge of SPI_SCLK,
3- and4-pin mode, polarity = 0, phase = 0
9.5 ns
Output hold time, SPI_SIMO valid (except final bit) after receive rising edge of SPI_SCLK,
3- and4-pin mode, polarity = 0, phase = 1
9.5
Output hold time, SPI_SIMO valid (except final bit) after receive rising edge of SPI_SCLK,
3- and4-pin mode, polarity = 1, phase = 0
9.5
Output hold time, SPI_SIMO valid (except final bit) after receive falling edge of SPI_SCLK,
3- and4-pin mode, polarity = 1, phase = 1
9.5
T = period of SPI_SCLK; For SPI0, SPI1, SPI2, and SPI3, P = period of SPI core clock (PLL1SYSCLK4). For SPI4, P = period of SPI core clock (OSCIN).

Table 7-63 General Input Timing Requirements in Master Mode

NO. MIN MAX UNIT
7 tsu(SOMI-CLK) Setup time, SPI_SOMI valid before receive falling edge of SPI_SCLK, 3- and4-pin mode,
polarity = 0, phase = 0
4 ns
Setup time, SPI_SOMI valid before receive rising edge of SPI_SCLK, 3- and4-pin mode,
polarity = 0, phase = 1
4
Setup time, SPI_SOMI valid before receive rising edge of SPI_SCLK, 3- and4-pin mode,
polarity = 1, phase = 0
4
Setup time, SPI_SOMI valid before receive falling edge of SPI_SCLK, 3- and4-pin mode,
polarity = 1, phase = 1
4
8 th(CLK-SOMI) Hold time, SPI_SOMI valid after receive falling edge of SPI_SCLK, 3- and4-pin mode, polarity = 0, phase = 0 4 ns
Hold time, SPI_SOMI valid after receive rising edge of SPI_SCLK, 3- and4-pin mode, polarity = 0, phase = 1 4
Hold time, SPI_SOMI valid after receive rising edge of SPI_SCLK, 3- and4-pin mode, polarity = 1, phase = 0 4
Hold time, SPI_SOMI valid after receive falling edge of SPI_SCLK, 3- and4-pin mode, polarity = 1, phase = 1 4

Slave Mode — General

Table 7-64 General Switching Characteristics in Slave Mode (For 3- and4-Pin Modes)(1)

NO. PARAMETER MIN MAX UNIT
13 td(CLK-SOMI) Delay time, transmit rising edge of SPI_SCLK to SPI_SOMI output valid, 3- and4-pin mode, polarity = 0, phase = 0 2 16.5 ns
Delay time, transmit falling edge of SPI_SCLK to SPI_SOMI output valid, 3- and4-pin mode, polarity = 0, phase = 1 2 16.5
Delay time, transmit falling edge of SPI_SCLK to SPI_SOMI output valid, 3- and4-pin mode, polarity = 1, phase = 0 2 16.5
Delay time, transmit rising edge of SPI_SCLK to SPI_SOMI output valid, 3- and4-pin mode, polarity = 1, phase = 1 2 16.5
14 toh(CLK-SOMI) Output hold time, SPI_SOMI valid (except final bit) after receive falling edge of SPI_SCLK, 3- and4-pin mode, polarity = 0, phase = 0 4 ns
Output hold time, SPI_SOMI valid (except final bit) after receive rising edge of SPI_SCLK, 3- and4-pin mode, polarity = 0, phase = 1 4
Output hold time, SPI_SOMI valid (except final bit) after receive rising edge of SPI_SCLK, 3- and4-pin mode, polarity = 1, phase = 0 4
Output hold time, SPI_SOMI valid (except final bit) after receive falling edge of SPI_SCLK, 3- and4-pin mode, polarity = 1, phase = 1 4
T = period of SPI_SCLK

Table 7-65 General Input Timing Requirements in Slave Mode(1)

NO. MIN MAX UNIT
9 tc(CLK) Cycle time, SPI_SCLK greater of 2P or 25 256P ns
10 tw(CLKH) Pulse width, SPI_SCLK high .5(tc(CLK)) - 1.25 ns
11 tw(CLKL) Pulse width, SPI_SCLK low .5(tc(CLK)) - 1.25 ns
15 tsu(SIMO-CLK) Setup time, SPI_SIMO data valid before receive falling edge of SPI_SCLK, 3- and4-pin mode,
polarity = 0, phase = 0
4 ns
Setup time, SPI_SIMO data valid before receive rising edge of SPI_SCLK, 3- and4-pin mode,
polarity = 0, phase = 1
4
Setup time, SPI_SIMO data valid before receive rising edge of SPI_SCLK, 3- and4-pin mode,
polarity = 1, phase = 0
4
Setup time, SPI_SIMO data valid before receive falling edge of SPI_SCLK, 3- and4-pin mode,
polarity = 1, phase = 1
4
16 th(CLK-SIMO) Hold time, SPI_SIMO data valid after receive falling edge of SPI_SCLK, 3- and4-pin mode,
polarity = 0, phase = 0
4 ns
Hold time, SPI_SIMO data valid after receive rising edge of SPI_SCLK, 3- and4-pin mode,
polarity = 0, phase = 1
4
Hold time, SPI_SIMO data valid after receive rising edge of SPI_SCLK, 3- and4-pin mode,
polarity = 1, phase = 0
4
Hold time, SPI_SIMO data valid after receive falling edge of SPI_SCLK, 3- and4-pin mode,
polarity = 1, phase = 1
4
T = period of SPI_SCLK; For SPI0, SPI1, SPI2, and SPI3, P = period of SPI core clock (PLL1SYSCLK4). For SPI4, P = period of SPI core clock (OSCIN).

Master Mode — Additional

Table 7-66 Additional Output Switching Characteristics of 4-Pin Chip-Select Option in Master Mode

NO. PARAMETER MIN MAX UNIT
19 tosu(CS-CLK) (1) Output setup time, SPI_SCS[n] active before first SPI_SCLK rising edge, polarity = 0, phase = 0, SPIDELAY.C2TDELAY = 0 (C2TDELAY+2)*P+6.5 ns
Output setup time, SPI_SCS[n] active before first SPI_SCLK rising edge, polarity = 0, phase = 1, SPIDELAY.C2TDELAY = 0 (C2TDELAY+2)*P + .5tc + 6.5
Output setup time, SPI_SCS[n] active before first SPI_SCLK falling edge, polarity = 1, phase = 0, SPIDELAY.C2TDELAY = 0 (C2TDELAY+2)*P + 6.5
Output setup time, SPI_SCS[n] active before first SPI_SCLK falling edge, polarity = 1, phase = 1, SPIDELAY.C2TDELAY = 0 (C2TDELAY+2)*P + .5tc + 6.5
20 td(CLK-CS) Delay time, final SPI_SCLK falling edge to master deasserting SPI_SCS[n], polarity = 0, phase = 0, SPIDELAY.T2CDELAY = 0, SPIDAT1.CSHOLD not enabled (T2CDELAY+1)*P - 3 ns
Delay time, final SPI_SCLK falling edge to master deasserting SPI_SCS[n], polarity = 0, phase = 1, SPIDELAY.T2CDELAY = 0, SPIDAT1.CSHOLD not enabled (T2CDELAY+1)*P - 3
Delay time, final SPI_SCLK rising edge to master deasserting SPI_SCS[n], polarity = 1, phase = 0, SPIDELAY.T2CDELAY = 0, SPIDAT1.CSHOLD not enabled (T2CDELAY+1)*P - 3
Delay time, final SPI_SCLK rising edge to master deasserting SPI_SCS[n], polarity = 1, phase = 1, SPIDELAY.T2CDELAY = 0, SPIDAT1.CSHOLD not enabled (T2CDELAY+1)*P - 3
The Master SPI is ready with new data before SPI_SCS[n] assertion.

Slave Mode — Additional

Table 7-67 Additional Output Switching Characteristics of 4-Pin Chip-Select Option in Slave Mode(1)

NO. PARAMETER MIN MAX UNIT
27 td(CSL-SOMI) Delay time, master asserting SPI_SCS[n] to slave driving SPI_SOMI data valid 2P + 16.5 ns
28 tdis(CSH-SOMI) Disable time, master deasserting SPI_SCS[n] to slave driving SPI_SOMI high impedance 2P + 16.5 ns
T = period of SPI_SCLK; For SPI0, SPI1, SPI2, and SPI3, P = period of SPI core clock (PLL1SYSCLK4). For SPI4, P = period of SPI core clock (OSCIN).

Table 7-68 Additional Input Timing Requirements of 4-Pin Chip-Select Option in Slave Mode(1)

NO. MIN MAX UNIT
25 tsu(CSL-CLK) Setup time, SPI_SCS[n] asserted at slave to first SPI_SCLK edge (rising or falling) at slave 2P + 25 ns
26 td(CLK-CSH) Delay time, final falling edge SPI_SCLK to SPI_SCS[n] deasserted, polarity = 0, phase = 0 .5(tc(CLK)) + 2P - 4 ns
Delay time, final falling edge SPI_SCLK to SPI_SCS[n] deasserted, polarity = 0, phase = 1 2P - 4
Delay time, final rising edge SPI_SCLK to SPI_SCS[n] deasserted, polarity = 1, phase = 0 .5(tc(CLK)) + 2P - 4
Delay time, final rising edge SPI_SCLK to SPI_SCS[n] deasserted, polarity = 1, phase = 1 2P - 4
T = period of SPI_SCLK; For SPI0, SPI1, SPI2, and SPI3, P = period of SPI core clock (PLL1SYSCLK4). For SPI4, P = period of SPI core clock (OSCIN).
TMS320DM369 td_spi_mast1_prs403.gif Figure 7-43 SPI Timings—Master Mode
TMS320DM369 td_spi_slv1_prs403.gif
The first bit of transmit data becomes valid on the SPI_SOMI pin when software writes to the SPIDAT1 register. For more details, see the TMS320DM36x DMSoC Serial Peripheral Interface User's Guide (SPRUFH1).
Figure 7-44 SPI Timings—Slave Mode
TMS320DM369 td_spi_mast2_prs457.gif Figure 7-45 SPI Timings—Master Mode (4-Pin)
TMS320DM369 td_spi_slv2_prs457.gif Figure 7-46 SPI Timings—Slave Mode (4-Pin)

Inter-Integrated Circuit (I2C)

The inter-integrated circuit (I2C) module provides an interface between the DM369 and other devices compliant with Philips Semiconductors Inter-IC bus (I2C-bus) specification version 2.1 and connected by way of an I2C-bus. External components attached to this 2-wire serial bus can transmit/receive up to 8-bit data to/from the device through the I2C module.

The I2C port supports:

  • Compatible with Philips I2C Specification Revision 2.1 (January 2000)
  • Fast Mode up to 400 Kbps (no fail-safe I/O buffers)
  • Noise Filter to Remove Noise 50 ns or less
  • Seven- and Ten-Bit Device Addressing Modes
  • Master (Transmit/Receive) and Slave (Transmit/Receive) Functionality
  • Events: DMA, Interrupt, or Polling

For more detailed information on the I2C peripheral, see the device TMS320DM36x Digital Media System-on-Chip (DMSoC) Inter-Integrated Circuit (I2C) Peripheral User's Guide.

I2C Peripheral Register Description

Table 7-69 lists the I2C registers, their corresponding acronyms, and the device memory locations (offsets).

Table 7-69 Inter-Integrated Circuit (I2C) Registers

Offset Acronym Register Description
0h ICOAR I2C Own Address Register
4h ICIMR I2C Interrupt Mask Register
8h ICSTR I2C Interrupt Status Register
Ch ICCLKL I2C Clock Low-Time Divider Register
10h ICCLKH I2C Clock High-Time Divider Register
14h ICCNT I2C Data Count Register
18h ICDRR I2C Data Receive Register
1Ch ICSAR I2C Slave Address Register
20h ICDXR I2C Data Transmit Register
24h ICMDR I2C Mode Register
28h ICIVR I2C Interrupt Vector Register
2Ch ICEMDR I2C Extended Mode Register
30h ICPSC I2C Prescaler Register
34h REVID1 I2C Revision ID Register 1
38h REVID2 I2C Revision ID Register 2
48h ICPFUNC I2C Pin Function Register
4ch ICPDIR I2C Pin Direction Register
50h ICPDIN I2C Pin Data In Register
54h ICPDOUT I2C Pin Data Out Register
58h ICPDSET I2C Pin Data Set Register
5ch ICPDCLR I2C Pin Data Clear register

I2C Electrical Data/Timing

Inter-Integrated Circuits (I2C) Timing

Table 7-70 Timing Requirements for I2C Timings(1) (see Figure 7-47)

NO. DEVICE UNIT
STANDARD MODE FAST MODE
MIN MAX MIN MAX
1 tc(SCL) Cycle time, SCL 10 2.5 μs
2 tsu(SCLH-SDAL) Setup time, SCL high before SDA low (for a repeated START condition) 4.7 0.6 μs
3 th(SCLL-SDAL) Hold time, SCL low after SDA low (for a START and a repeated START condition) 4 0.6 μs
4 tw(SCLL) Pulse duration, SCL low 4.7 1.3 μs
5 tw(SCLH) Pulse duration, SCL high 4 0.6 μs
6 tsu(SDAV-SCLH) Setup time, SDA valid before SCL high 250 100 ns
7 th(SDA-SCLL) Hold time, SDA valid after SCL low (For I2C bus™ devices) 0 3.45 0 0.9 μs
8 tw(SDAH) Pulse duration, SDA high between STOP and START conditions 4.7 1.3 μs
9 tr(SDA) Rise time, SDA 1000 20 + 0.1Cb (1) 300 ns
10 tr(SCL) Rise time, SCL 1000 20 + 0.1Cb (1) 300 ns
11 tf(SDA) Fall time, SDA 300 20 + 0.1Cb (1) 300 ns
12 tf(SCL) Fall time, SCL 300 20 + 0.1Cb (1) 300 ns
13 tsu(SCLH-SDAH) Setup time, SCL high before SDA high (for STOP condition) 4 0.6 μs
14 tw(SP) Pulse duration, spike (must be suppressed) 50 ns
15 Cb (2) Capacitive load for each bus line 400 400 pF
The I2C pins SDA and SCL do not feature fail-safe I/O buffers. These pins could potentially draw current when the device is powered down.
Cb = total capacitance of one bus line in pF. If mixed with HS-mode devices, faster fall-times are allowed.
TMS320DM369 td_i2c_rcv_prs348.gif Figure 7-47 I2C Receive Timings

Table 7-71 Switching Characteristics for I2C Timings(1) (see Figure 7-48)

NO. PARAMETER DEVICE UNIT
STANDARD MODE FAST MODE
MIN MAX MIN MAX
16 tc(SCL) Cycle time, SCL 10 2.5 μs
17 td(SCLH-SDAL) Delay time, SCL high to SDA low (for a repeated START condition) 4.7 0.6 μs
18 td(SDAL-SCLL) Delay time, SDA low to SCL low (for a START and a repeated START condition) 4 0.6 μs
19 tw(SCLL) Pulse duration, SCL low 4.7 1.3 μs
20 tw(SCLH) Pulse duration, SCL high 4 0.6 μs
21 td(SDAV-SCLH) Delay time, SDA valid to SCL high 250 100 ns
22 tv(SCLL-SDAV) Valid time, SDA valid after SCL low (For I2C devices) 0 0 0.9 μs
23 tw(SDAH) Pulse duration, SDA high between STOP and START conditions 4.7 1.3 μs
28 td(SCLH-SDAH) Delay time, SCL high to SDA high (for STOP condition) 4 0.6 μs
29 Cp Capacitance for each I2C pin 10 10 pF
Cb = total capacitance of one bus line in pF. If mixed with HS-mode devices, faster fall-times are allowed.

CAUTION

The I2C pins use a standard ±4-mA LVCMOS buffer, not the slow I/OP buffer defined in the I2C specification. Series resistors may be necessary to reduce noise at the system level.

TMS320DM369 td_i2c_xmit_prs348.gif Figure 7-48 I2C Transmit Timings

Multichannel Buffered Serial Port (McBSP)

The primary use for the multichannel Buffered Serial Port (McBSP) is for audio interface purposes. The primary audio modes that are supported by the McBSP are the AC97 and IIS modes. In addition to the primary audio modes, the McBSP supports general serial port receive and transmit operation, but is not intended to be used as a high-speed interface. The McBSP supports the following features:

  • Full-duplex communication
  • Double-buffered data registers, which allow a continuous data stream
  • Independent framing and clocking for receive and transmit
  • External shift clock generation or an internal programmable frequency shift clock
  • Double-buffered data registers, which allow a continuous data stream
  • Independent framing and clocking for receive and transmit
  • Direct interface to industry-standard codecs, analog interface chips (AICs), and other serially connected analog-to-digital (A/D) and digital-to-analog (D/A) devices
  • Direct interface to AC97 compliant devices (the necessary multiphase frame synchronization capability is provided)
  • Direct interface to IIS compliant devices
  • Direct interface to SPI protocol in master mode only
  • A wide selection of data sizes, including 8, 12, 16, 20, 24, and 32 bits
  • μ-Law and A-Law companding
  • 8-bit data transfers with the option of LSB or MSB first
  • Programmable polarity for both frame synchronization and data clocks
  • Highly programmable internal clock and frame generation
  • Direct interface to T1/E1 Framers
  • multichannel transmit and receive of up to 128 channels

For more detailed information on the McBSP peripheral, see the Multichannel Buffered Serial Port (McBSP) User's Guide (SPRUFI3).

McBSP Peripheral Register Description

Table 7-72 lists the McBSP registers, their corresponding acronyms, and the device memory locations (offsets).

Table 7-72 McBSP Registers

Offset Acronym Register Name
- RBR(1) Receive buffer register
- RSR(1) Receive shift register
- XSR(1) Transmit shift register
00h DRR(2) (3) Data receive register
04h DXR(3) Data transmit register
08h SPCR Serial port control register
0Ch RCR Receive control register
10h XCR Transmit control register
14h SRGR Sample rate generator register
18h MCR Multichannel Control Register
1Ch RCERE0 Enhanced Receive Channel Enable Register 0 Partition A/B
20h XCERE0 Enhanced Transmit Channel Enable Register 0 Partition A/B
24h PCR Pin control register
28h RCERE1 Enhanced Receive Channel Enable Register 1 Partition C/D
2Ch XCERE1 Enhanced Transmit Channel Enable Register 1 Partition C/D
30h RCERE2 Enhanced Receive Channel Enable Register 2 Partition E/F
34h XCERE2 Enhanced Transmit Channel Enable Register 2 Partition E/F
38h RCERE3 Enhanced Receive Channel Enable Register 3 Partition G/H
3Ch XCERE3 Enhanced Transmit Channel Enable Register 3 Partition G/H
The RBR, RSR, and XSR are not directly accessible via the CPUs or the EDMA controller.
The CPUs and EDMA controller can only read this register; they cannot write to it.
The DRR and DXR are accessible via the CPUs or the EDMA controller.

McBSP Electrical Data/Timing

multichannel Buffered Serial Port (McBSP) Timing

Table 7-73 Timing Requirements for McBSP(1) (2) (see Figure 7-49)

NO. DEVICE UNIT
MIN MAX
15(4) tc(CLKS) Cycle time, CLKS CLKS ext 38.5 or 2P ns
16(3) tw(CLKS) Pulse duration, CLKR/X high or CLKR/X low CLKS ext 19.25 or P ns
5 tsu(FRH-CKRL) Setup time, external FSR high before CLKR low CLKR int 21 ns
CLKR ext 6
6 th(CKRL-FRH) Hold time, external FSR high after CLKR low CLKR int 0 ns
CLKR ext 6
7 tsu(DRV-CKRL) Setup time, DR valid before CLKR low CLKR int 21 ns
CLKR ext 6
8 th(CKRL-DRV) Hold time, DR valid after CLKR low CLKR int 0 ns
CLKR ext 6
10 tsu(FXH-CKXL) Setup time, external FSX high before CLKX low CLKX int 21 ns
CLKX ext 6
11 th(CKXL-FXH) Hold time, external FSX high after CLKX low CLKX int 0 ns
CLKX ext 10
CLKRP = CLKXP = FSRP = FSXP = 0. If polarity of any of the signals is inverted, then the timing references of that signal are also inverted.
P = (1/SYSCLK4), where SYSCLK4 is an output clock of PLLC1 (see Section 4.3) .
This parameter applies to the maximum McBSP frequency. Operate serial clocks (CLKR/X) in the reasonable range of 40/60 duty cycle.
Use whichever value is greater. Minimum CLKR/X cycle times must be met, even when CLKR/X is generated by an internal clock source. The minimum CLKR/X cycle times are based on internal logic speed; the maximum usable speed may be lower due to EDMA limitations and AC timing requirements.

Table 7-74 Switching Characteristics Over Recommended Operating Conditions for McBSP(1) (2) (3)
(see Figure 7-49)

NO. PARAMETER DEVICE UNIT
MIN MAX
2(4) (5) tc(CKRX) Cycle time, CLKR/X CLKR/X int 38.5 or 2P ns
CLKR/X ext
17 td(CLKS-CLKRX) Delay time, CLKS high to internal CLKR/X CLKR/X int 1 24
3(6) tw(CKRX) Pulse duration, CLKR/X high or CLKR/X low CLKR/X int 19.25 - 1 or P - 1 ns
CLKR/X ext 19.25 or P
4 td(CKRH-FRV) Delay time, CLKR high to internal FSR valid CLKR int -4 8 ns
CLKR ext 3 25
9 td(CKXH-FXV) Delay time, CLKX high to internal FSX valid CLKX int -4 8 ns
CLKX ext 3 25
12 tdis(CKXH-DXHZ) Disable time, DX high impedance following last data bit from CLKX high CLKX int 12 ns
CLKX ext 25 ns
13 td(CKXH-DXV) Delay time, CLKX high to DX valid CLKX int -5 + D1(7) 12 + D2(7) ns
CLKX ext 3 + D1(7) 25 + D2(7) ns
14 td(FXH-DXV) Delay time, FSX high to DX valid
ONLY applies when in data
delay 0 (XDATDLY = 00b) mode
FSX int 0 + D1(8) 14 + D2(8) ns
FSX ext 0 + D1(8) 25 + D2(8)
CLKRP = CLKXP = FSRP = FSXP = 0. If polarity of any of the signals is inverted, then the timing references of that signal are also inverted.
Minimum delay times also represent minimum output hold times.
P = (1/SYSCLK4), where SYSCLK4 is an output clock of PLLC1 (see Section 4.3) .
Use whichever value is greater. Minimum CLKR/X cycle times must be met, even when CLKR/X is generated by an internal clock source.
The minimum CLKR/X cycle times are based on internal logic speed; the maximum usable speed may be lower due to EDMA limitations and AC timing requirements. Use whichever value is greater.
C = H or L
S = sample rate generator input clock = P if CLKSM = 1 (P = SYSCLK3 period)
S = sample rate generator input clock = P_clks if CLKSM = 0 (P_clks = CLKS period)
H = CLKX high pulse width = (CLKGDV/2 + 1) * S if CLKGDV is even
H = (CLKGDV + 1)/2 * S if CLKGDV is odd
L = CLKX low pulse width = (CLKGDV/2) * S if CLKGDV is even
L = (CLKGDV + 1)/2 * S if CLKGDV is odd
CLKGDV should be set appropriately to ensure the McBSP bit rate does not exceed the maximum limit.
Extra delay from CLKX high to DX valid applies only to the first data bit of a device, if and only if DXENA = 1 in SPCR.
If DXENA = 0, then D1 = D2 = 0
If DXENA = 1, then D1 = 6P, D2 = 12P
Extra delay from FSX high to DX valid applies only to the first data bit of a device, if and only if DXENA = 1 in SPCR.
If DXENA = 0, then D1 = D2 = 0
If DXENA = 1, then D1 = 6P, D2 = 12P
TMS320DM369 td_mcbsp_prs348.gif Figure 7-49 McBSP Timing

Table 7-75 McBSP as SPI Timing Requirements

CLKSTP = 10b, CLKXP = 0 (see Figure 7-50)
NO. MASTER UNIT
MIN MAX
M30 tsu(DRV-CKXL) Setup time, DR valid before CLKX low 16 ns
M31 th(CKXL-DRV) Hold time, DR valid after CLKX low 0 ns

Table 7-76 McBSP as SPI Switching Characteristics(1) (2)

CLKSTP = 10b, CLKXP = 0 (see Figure 7-50)
NO. PARAMETER MASTER UNIT
MIN MAX
M33 tc(CKX) Cycle time, CLKX 38.5 or 2P ns
M24 td(CKXL-FXH) Delay time, CLKX low to FSX high(2) CLKXP - 2 CLKXP + 4 ns
M25 td(FXL-CKXH) Delay time, FSX low to CLKX high(3) CLKXL - 2 CLKXL + 2 ns
M26 td(CKXH-DXV) Delay time, CLKX high to DX valid -2 6 ns
M27 tdis(CKXL-DXHZ) Disable time, DX high impedance following last data bit from CLKX low CLKXL - 3 CLKXL + 8 ns
P = (1/SYSCLK4), where SYSCLK4 is an output clock of PLLC1 (see Section 4.3) .
T = CLKX period = (1 + CLKGDV) × 2P
L1 = CLKX low pulse width = T/2 when CLKGDV is odd or zero and = (CLKGDV/2) × 2P when CLKGDV is even.
FSX should be low before the rising edge of clock to enable slave devices and then begin a SPI transfer at the rising edge of the master clock (CLKX).
TMS320DM369 td1_mcbsp10b_prs347.gif Figure 7-50 McBSP as SPI: CLKSTP = 10b, CLKXP = 0

Table 7-77 McBSP as SPI Timing Requirements

CLKSTP = 11b, CLKXP = 0
NO. MASTER UNIT
MIN MAX
M39 tsu(DRV-CKXH) Setup time, DR valid before CLKX high 16 ns
M40 th(CKXH-DRV) Hold time, DR valid after CLKX high 1 ns

Table 7-78 McBSP as SPI Switching Characteristics(1) (2)

CLKSTP = 11b, CLKXP = 0 (see Figure 7-51)
NO. PARAMETER MASTER UNIT
MIN MAX
M42 tc(CKX) Cycle time, CLKX 38.5 or 2P ns
M34 td(CKXL-FXH) Delay time, CLKX low to FSX high(3) CLKXP - 2 CLKXP + 4 ns
M35 td(FXL-CKXH) Delay time, FSX low to CLKX high(4) CLKXP - 2 CLKXP + 2 ns
M36 td(CKXL-DXV) Delay time, CLKX low to DX valid -2 6 ns
M37 tdis(CKXL-DXHZ) Disable time, DX high impedance following last data bit from CLKX low -3 8 ns
M38 td(FXL-DXV) Delay time, FSX low to DX valid CLKXH - 2 CLKXH + 10 ns
P = (1/SYSCLK4), where SYSCLK4 is an output clock of PLLC1 (see Section 4.3).
T = CLKX period = (1 + CLKGDV) × 2P
L1 = CLKX low pulse width = T/2 when CLKGDV is odd or zero and = (CLKGDV/2) × 2P when CLKGDV is even
H1 = CLKX high pulse width = T/2 when CLKGDV is odd or zero and = (CLKGDV/2 + 1) × 2P when CLKGDV is even
FSRP = FSXP = 1. As a SPI master, FSX is inverted to provide active-low slave-enable output.
CLKXM = FSXM = 1, CLKRM = FSRM = 0 for master McBSP
FSX should be low before the rising edge of clock to enable slave devices and then begin a SPI transfer at the rising edge of the master clock (CLKX).
TMS320DM369 td1_mcbsp11b_prs347.gif Figure 7-51 McBSP as SPI: CLKSTP = 11b, CLKXP = 0

Table 7-79 McBSP as SPI Timing Requirements

CLKSTP = 10b, CLKXP = 1 (see Figure 7-52)
NO. MASTER UNIT
MIN MAX
M49 tsu(DRV-CKXH) Setup time, DR valid before CLKX high 16 ns
M50 th(CKXH-DRV) Hold time, DR valid after CLKX high 0 ns

Table 7-80 McBSP as SPI Switching Characteristics(1) (2)

CLKSTP = 10b, CLKXP = 1 (see Figure 7-52)
NO. PARAMETER MASTER UNIT
MIN MAX
M52 tc(CKX) Cycle time, CLKX 38.5 or 2P ns
M43 td(CKXH-FXH) Delay time, CLKX high to FSX high(3) CLKXP - 2 CLKXP + 4 ns
M44 td(FXL-CKXL) Delay time, FSX low to CLKX low(4) CLKXH - 2 CLKXH + 2 ns
M45 td(CKXL-DXV) Delay time, CLKX low to DX valid -2 6 ns
M46 tdis(CKXH-DXHZ) Disable time, DX high impedance following last data bit from CLKX high CLKXH - 3 CLKXL + 8 ns
P = (1/SYSCLK4), where SYSCLK4 is an output clock of PLLC1 (see Section 4.3).
T = CLKX period = (1 + CLKGDV) × 2P
H1 = CLKX high pulse width = T/2 when CLKGDV is odd or zero and = (CLKGDV/2 + 1) × 2P when CLKGDV is even
FSRP = FSXP = 1. As a SPI master, FSX is inverted to provide active-low slave-enable output.
CLKXM = FSXM = 1, CLKRM = FSRM = 0 for master McBSP
FSX should be low before the rising edge of clock to enable slave devices and then begin a SPI transfer at the rising edge of the master clock (CLKX).
TMS320DM369 td2_mcbsp10b_prs347.gif Figure 7-52 McBSP as SPI: CLKSTP = 10b, CLKXP = 1

Table 7-81 McBSP as SPI Timing Requirements

CLKSTP = 11b, CLKXP = 1 (see Figure 7-53)
NO. MASTER UNIT
MIN MAX
M58 tsu(DRV-CKXL) Setup time, DR valid before CLKX low 16 ns
M59 th(CKXL-DRV) Hold time, DR valid after CLKX low 0 ns

Table 7-82 McBSP as SPI Switching Characteristics(1) (2)

CLKSTP = 11b, CLKXP = 1 (see Figure 7-53)
NO. PARAMETER MASTER UNIT
MIN MAX
M62 tc(CKX) Cycle time, CLKX 38.5 or 2P ns
M53 td(CKXH-FXH) Delay time, CLKX high to FSX high(3) CLKXP - 2 CLKXP + 4 ns
M54 td(FXL-CKXL) Delay time, FSX low to CLKX low(4) CLKXP - 2 CLKXP + 2 ns
M55 td(CKXL-DXV) Delay time, CLKX high to DX valid -2 6 ns
M56 tdis(CKXH-DXHZ) Disable time, DX high impedance following last data bit from CLKX high -3 8 ns
M57 td(FXL-DXV) Delay time, FSX low to DX valid CLKXL - 1 CLKXL + 10 ns
P = (1/SYSCLK4), where SYSCLK4 is an output clock of PLLC1 (see Section 4.3).
T = CLKX period = (1 + CLKGDV) × 2P
L1 = CLKX low pulse width = T/2 when CLKGDV is odd or zero and = (CLKGDV/2) × 2P when CLKGDV is even
H1 = CLKX high pulse width = T/2 when CLKGDV is odd or zero and = (CLKGDV/2 + 1) × 2P when CLKGDV is even
TMS320DM369 td2_mcbsp11b_prs347.gif Figure 7-53 McBSP as SPI: CLKSTP = 11b, CLKXP = 1

Timer

The device contains four software-programmable timers. Timer 0, Timer 1, Timer 3, and Timer 4 (general-purpose timers) can be programmed in 64-bit mode, dual 32-bit unchained mode, or dual 32-bit chained mode. Timer 3 supports additional features over the other timers: external clock/event input, period reload, output event tied to Real Time Out (RTO) module, external event capture, and timer counter register read reset. Timer 2 is used only as a watchdog timer. Timer 2 is tied to device reset.

  • 64-bit count-up counter
  • Timer modes:
    • 64-bit general-purpose timer mode (Timer 0, 1, 3, 4)
    • Dual 32-bit general-purpose timer mode (Timer 0, 1, 3, 4)
    • Watchdog timer mode (Timer 2)
  • Two possible clock sources:
    • Internal clock
    • External clock/event input via timer input pins (Timer 3)
  • Three possible operation modes:
    • One-time operation (timer runs for one period then stops)
    • Continuous operation (timer automatically resets after each period)
    • Continuous operation with period reload (Timer 3)
  • Generates interrupts to the ARM CPU
  • Generates sync event to EDMA
  • Generates output event to device reset (Timer 2)
  • Generates output event to Real Timer Out (RTO) module (Timer 3)
  • External event capture via timer input pins (Timer 3)

For more detailed information, see the TMS320DM36x Digital Media System-on-Chip (DMSoC) Timer/Watchdog Timer User's Guide (SPRUFH0).

Timer Peripheral Register Description

Table 7-83 lists the Timer registers, their corresponding acronyms, and the device memory locations (offsets).

Table 7-83 Timer Global Registers

Offset Acronym Register Description
00h PID12 Peripheral Identification Register 12
04h EMUMGT Emulation Management Register
10h TIM12 Timer Counter Register 12
14h TIM34 Timer Counter Register 34
18h PRD12 Timer Period Register 12
1Ch PRD34 Timer Period Register 34
20h TCR Timer Control Register
24h TGCR Timer Global Control Register
28h WDTCR Watchdog Timer Control Register
34h REL12 Timer Reload Register 12
38h REL34 Timer Reload Register 34
3Ch CAP12 Timer Capture Register 12
40h CAP34 Timer Capture Register 34
44h INTCTL_STAT Timer Interrupt Control and Status Register

Timer Electrical Data/Timing

Table 7-84 Timing Requirements for Timer Input(1) (2) (see Figure 7-54)

NO. DEVICE UNIT
MIN MAX
1 tc(TIN) Cycle time, TIM_IN 4P ns
2 tw(TINPH) Pulse duration, TIM_IN high 0.45C 0.55C ns
3 tw(TINPL) Pulse duration, TIM_IN low 0.45C 0.55C ns
4 tt(TIN) Transition time, TIM_IN 5 ns
GPIO001, GPIO002, GPIO003, and GPIO004 can be used as external clock inputs for Timer 3. See the TMS320DM36x Digital Media System-on-Chip (DMSoC) Timer/Watchdog Timer User's Guide (SPRUFH0).
P = MXI1/CLKIN cycle time in ns. For example, when MXI1/CLKIN frequency is 24 MHz use P = 41.6 ns.
TMS320DM369 td_timer_prs347.gif Figure 7-54 Timer Input Timing

Pulse Width Modulator (PWM)

The pulse width modulator (PWM) feature is very common in embedded systems. It provides a way to generate a pulse periodic waveform for motor control or can act as a digital-to-analog converter with some external components. This PWM peripheral is basically a timer with a period counter and a first-phase duration comparator, where bit width of the period and first-phase duration are both programmable. The Pulse Width Modulator (PWM) modules support the following features:

  • 32-bit period counter
  • 32-bit first-phase duration counter
  • 8-bit repeat count for one-shot operation. One-shot operation will produce N + 1 periods of the waveform, where N is the repeat counter value.
  • Configurable to operate in either one-shot or continuous mode
  • Buffered period and first-phase duration registers
  • One-shot operation triggerable by hardware events with programmable edge transitions. (low-to-high or high-to-low).
  • One-shot operation triggerable by the ISIF VSYNC output of the video processing subsystem (VPSS), which allows any of the PWM instantiations to be used as a ISIF timer. This lets the device module to support the functions provided by the ISIF timer feature (generating strobe and shutter signals).
  • One-shot operation generates N+1 periods of waveform, N being the repeat count register value
  • Configurable PWM output pin inactive state
  • Interrupt and EDMA synchronization events

PWM Peripheral Register Description

Table 7-85 lists the PWM registers, their corresponding acronyms, and the device memory locations (offsets).

Table 7-85 Pulse Width Modulator (PWM) Registers

Offset Acronym Register Description
00h PID PWM Peripheral Identification Register
04h PCR PWM Peripheral Control Register
08h CFG PWM Configuration Register
0Ch START PWM Start Register
10h RPT PWM Repeat Count Register
14h PER PWM Period Register
18h PH1D PWM First-Phase Duration Register

PWM0/1/2/3 Electrical/Timing Data

Table 7-86 Switching Characteristics Over Recommended Operating Conditions for PWM0/1/2/3 Outputs(1) (see Figure 7-55 and Figure 7-56)

NO. PARAMETER DEVICE UNIT
MIN MAX
1 tw(PWMH) Pulse duration, PWMx high 37 ns
2 tw(PWML) Pulse duration, PWMx low 37 ns
3 tt(PWM) Transition time, PWMx 5 ns
4 td(ISIF-PWMV) Delay time, ISIF(VD) trigger event to PWMx valid 0 10 ns
P = MXI1/CLKIN cycle time in ns. For example, when MXI1/CLKIN frequency is 24 MHz use P = 41.6 ns.
TMS320DM369 td_pwmout_prs348.gif Figure 7-55 PWM Output Timing
TMS320DM369 td_pwmdelay_prs348.gif Figure 7-56 PWM Output Delay Timing

Real Time Out (RTO)

The device uses the Real Time Out (RTO) peripheral to provide appropriate input control signals to external devices such as motor controllers. This peripheral supports the following features:

  • Four separate outputs
  • Trigger on Timer3 event

Real Time Out (RTO) Peripheral Register Description

Table 7-87 lists the RTO registers, their corresponding acronyms, and the device memory locations (offsets).

Table 7-87 Real Time Out (RTO) Registers

Offset Acronym Register Description
0h REVID RTO Controller Revision ID Register
04h CTRL_STATUS RTO Controller Control and Status Register

RTO Electrical/Timing Data

Table 7-88 Switching Characteristics Over Recommended Operating Conditions for RTO Outputs (see Figure 7-57 and Figure 7-58)(1)

NO. PARAMETER DEVICE UNIT
MIN MAX
1 tw(RTOH) Pulse duration, RTOx high 27.7 52.083 ns
2 tw(RTOL) Pulse duration, RTOx low .45C .55C ns
3 tt(RTO) Transition time, RTOx .45C .55C ns
4 td(TIMER3-RTOV) Delay time, Timer 3 (TINT12 or TINT34) trigger event to RTOx valid 10 ns
C = MXI1/CLKIN1 cycle time in ns. For example, when MXI1/CLKIN1 frequency is 24 MHz use C = 41.6 ns.
TMS320DM369 td_pwmout2_prs348.gif Figure 7-57 RTO Output Timing
TMS320DM369 td_pwmdelay2_prs348.gif Figure 7-58 RTO Output Delay Timing

Ethernet Media Access Controller (EMAC)

The Ethernet Media Access Controller (EMAC) provides an efficient interface between the device and the network. The EMAC supports both 10Base-T (10 Mbits/second [Mbps]) and 100Base-TX (100 Mbps) in either half- or full-duplex mode. The EMAC module also supports hardware flow control and quality of service (QOS) support.

The frequencies supported for transmit and receive clocks are fixed by the IEEE 802.3 standard as:

  • 2.5 MHz for 10Mbps
  • 25 MHz for 100Mbps

The EMAC controls the flow of packet data from the device to the PHY. The MDIO module controls PHY configuration and status monitoring.

The EMAC module conforms to the IEEE 802.3-2002 standard, describing the “Carrier Sense Multiple Access with Collision Detection (CSMA/CD) Access Method and Physical Layer” specifications. The IEEE 802.3 standard has also been adopted by ISO/IEC and re-designated as ISO/IEC 8802-3:2000(E).

Deviation from this standard, the EMAC module does not use the Transmit Coding Error signal MTXER. Instead of driving the error pin when an underflow condition occurs on a transmitted frame, the EMAC will intentionally generate an incorrect checksum by inverting the frame CRC, so that the transmitted frame will be detected as an error by the network

Both the EMAC and the MDIO modules interface to the device through a custom interface that allows efficient data transmission and reception. This custom interface is referred to as the EMAC control module, and is considered integral to the EMAC/MDIO peripheral. The control module is also used to multiplex and control interrupts.

For more information, see the TMS320DM36x Digital Media System-on-Chip (DMSoC) Ethernet Media Access Controller (EMAC) User's Guide. (SPRUFI5).

EMAC Peripheral Register Description

Table 7-89 lists the EMAC registers, their corresponding acronyms, and the device memory locations (offsets).

Table 7-89 Ethernet Media Access Controller (EMAC) Control Module Registers

Slave VBUS Address Offset Acronym Register Description
0h CMIDVER Identification and Version Register
04h CMSOFTRESET Software Reset Register
08h CMEMCONTROL Emulation Control Register
Ch CMINTCTRL Interrupt Control Register
10h CMRXTHRESHINTEN Receive Threshold Interrupt Enable Register
14h CMRXINTEN Receive Interrupt Enable Register
18h CMTXINTEN Transmit Interrupt Enable Register
1Ch CMMISCINTEN Miscellaneous Interrupt Enable Register
40h CMRXTHRESHINTSTAT Receive Threshold Interrupt Status Register
44h CMRXINTSTAT Receive Interrupt Status Register
48h CMTXINTSTAT Transmit Interrupt Status Register
4Ch CMMISCINTSTAT Miscellaneous Interrupt Status Register
70Ch CMRXINTMAX Receive Interrupts Per Millisecond Register
74h CMTXINTMAX Transmit Interrupts Per Millisecond Register

Table 7-90 Ethernet Media Access Controller (EMAC) Registers

Offset Acronym Register Description
0h TXIDVER Transmit Identification and Version Register
4h TXCONTROL Transmit Control Register
8h TXTEARDOWN Transmit Teardown Register
10h RXIDVER Receive Identification and Version Register
14h RXCONTROL Receive Control Register
18h RXTEARDOWN Receive Teardown Register
80h TXINTSTATRAW Transmit Interrupt Status (Unmasked) Register
84h TXINTSTATMASKED Transmit Interrupt Status (Masked) Register
88h TXINTMASKSET Transmit Interrupt Mask Set Register
8Ch TXINTMASKCLEAR Transmit Interrupt Clear Register
90h MACINVECTOR MAC Input Vector Register
94h MACEOIVECTOR MAC End of Interrupt Vector Register
A0h RXINTSTATRAW Receive Interrupt Status (Unmasked) Register
A4h RXINTSTATMASKED Receive Interrupt Status (Masked) Register
A8h RXINTMASKSET Receive Interrupt Mask Set Register
ACh RXINTMASKCLEAR Receive Interrupt Mask Clear Register
B0h MACINTSTATRAW MAC Interrupt Status (Unmasked) Register
B4h MACINTSTATMASKED MAC Interrupt Status (Masked) Register
B8h MACINTMASKSET MAC Interrupt Mask Set Register
BCh MACINTMASKCLEAR MAC Interrupt Mask Clear Register
100h RXMBPENABLE Receive Multicast/Broadcast/Promiscuous Channel Enable Register
104h RXUNICASTSET Receive Unicast Enable Set Register
108h RXUNICASTCLEAR Receive Unicast Clear Register
10Ch RXMAXLEN Receive Maximum Length Register
110h RXBUFFEROFFSET Receive Buffer Offset Register
114h RXFILTERLOWTHRESH Receive Filter Low Priority Frame Threshold Register
120h RX0FLOWTHRESH Receive Channel 0 Flow Control Threshold Register
124h RX1FLOWTHRESH Receive Channel 1 Flow Control Threshold Register
128h RX2FLOWTHRESH Receive Channel 2 Flow Control Threshold Register
12Ch RX3FLOWTHRESH Receive Channel 3 Flow Control Threshold Register
130h RX4FLOWTHRESH Receive Channel 4 Flow Control Threshold Register
134h RX5FLOWTHRESH Receive Channel 5 Flow Control Threshold Register
138h RX6FLOWTHRESH Receive Channel 6 Flow Control Threshold Register
13Ch RX7FLOWTHRESH Receive Channel 7 Flow Control Threshold Register
140h RX0FREEBUFFER Receive Channel 0 Free Buffer Count Register
144h RX1FREEBUFFER Receive Channel 1 Free Buffer Count Register
148h RX2FREEBUFFER Receive Channel 2 Free Buffer Count Register
14Ch RX3FREEBUFFER Receive Channel 3 Free Buffer Count Register
150h RX4FREEBUFFER Receive Channel 4 Free Buffer Count Register
154h RX5FREEBUFFER Receive Channel 5 Free Buffer Count Register
158h RX6FREEBUFFER Receive Channel 6 Free Buffer Count Register
15Ch RX7FREEBUFFER Receive Channel 7 Free Buffer Count Register
160h MACCONTROL MAC Control Register
164h MACSTATUS MAC Status Register
168h EMCONTROL Emulation Control Register
16Ch FIFOCONTROL FIFO Control Register
170h MACCONFIG MAC Configuration Register
174h SOFTRESET Soft Reset Register
1D0h MACSRCADDRLO MAC Source Address Low Bytes Register
1D4h MACSRCADDRHI MAC Source Address High Bytes Register
1D8h MACHASH1 MAC Hash Address Register 1
1DCh MACHASH2 MAC Hash Address Register 2
1E0h BOFFTEST Back Off Test Register
1E4h TPACETEST Transmit Pacing Algorithm Test Register
1E8h RXPAUSE Receive Pause Timer Register
1ECh TXPAUSE Transmit Pause Timer Register
500h MACADDRLO MAC Address Low Bytes Register, Used in Receive Address Matching
504h MACADDRHI MAC Address High Bytes Register, Used in Receive Address Matching
508h MACINDEX MAC Index Register
600h TX0HDP Transmit Channel 0 DMA Head Descriptor Pointer Register
604h TX1HDP Transmit Channel 1 DMA Head Descriptor Pointer Register
608h TX2HDP Transmit Channel 2 DMA Head Descriptor Pointer Register
60Ch TX3HDP Transmit Channel 3 DMA Head Descriptor Pointer Register
610h TX4HDP Transmit Channel 4 DMA Head Descriptor Pointer Register
614h TX5HDP Transmit Channel 5 DMA Head Descriptor Pointer Register
618h TX6HDP Transmit Channel 6 DMA Head Descriptor Pointer Register
61Ch TX7HDP Transmit Channel 7 DMA Head Descriptor Pointer Register
620h RX0HDP Receive Channel 0 DMA Head Descriptor Pointer Register
624h RX1HDP Receive Channel 1 DMA Head Descriptor Pointer Register
628h RX2HDP Receive Channel 2 DMA Head Descriptor Pointer Register
62Ch RX3HDP Receive Channel 3 DMA Head Descriptor Pointer Register
630h RX4HDP Receive Channel 4 DMA Head Descriptor Pointer Register
634h RX5HDP Receive Channel 5 DMA Head Descriptor Pointer Register
638h RX6HDP Receive Channel 6 DMA Head Descriptor Pointer Register
63Ch RX7HDP Receive Channel 7 DMA Head Descriptor Pointer Register
640h TX0CP Transmit Channel 0 Completion Pointer Register
644h TX1CP Transmit Channel 1 Completion Pointer Register
648h TX2CP Transmit Channel 2 Completion Pointer Register
64Ch TX3CP Transmit Channel 3 Completion Pointer Register
650h TX4CP Transmit Channel 4 Completion Pointer Register
654h TX5CP Transmit Channel 5 Completion Pointer Register
658h TX6CP Transmit Channel 6 Completion Pointer Register
65Ch TX7CP Transmit Channel 7 Completion Pointer Register
660h RX0CP Receive Channel 0 Completion Pointer Register
664h RX1CP Receive Channel 1 Completion Pointer Register
668h RX2CP Receive Channel 2 Completion Pointer Register
66Ch RX3CP Receive Channel 3 Completion Pointer Register
670h RX4CP Receive Channel 4 Completion Pointer Register
674h RX5CP Receive Channel 5 Completion Pointer Register
678h RX6CP Receive Channel 6 Completion Pointer Register
67Ch RX7CP Receive Channel 7 Completion Pointer Register
Network Statistics Registers
200h RXGOODFRAMES Good Receive Frames Register
204h RXBCASTFRAMES Broadcast Receive Frames Register
208h RXMCASTFRAMES Multicast Receive Frames Register
20Ch RXPAUSEFRAMES Pause Receive Frames Register
210h RXCRCERRORS Receive CRC Errors Register
214h RXALIGNCODEERRORS Receive Alignment/Code Errors Register
218h RXOVERSIZED Receive Oversized Frames Register
21Ch RXJABBER Receive Jabber Frames Register
220h RXUNDERSIZED Receive Undersized Frames Register
224h RXFRAGMENTS Receive Frame Fragments Register
228h RXFILTERED Filtered Receive Frames Register
22Ch RXQOSFILTERED Receive QOS Filtered Frames Register
230h RXOCTETS Receive Octet Frames Register
234h TXGOODFRAMES Good Transmit Frames Register
238h TXBCASTFRAMES Broadcast Transmit Frames Register
23Ch TXMCASTFRAMES Multicast Transmit Frames Register
240h TXPAUSEFRAMES Pause Transmit Frames Register
244h TXDEFERRED Deferred Transmit Frames Register
248h TXCOLLISION Transmit Collision Frames Register
24Ch TXSINGLECOLL Transmit Single Collision Frames Register
250h TXMULTICOLL Transmit Multiple Collision Frames Register
254h TXEXCESSIVECOLL Transmit Excessive Collision Frames Register
258h TXLATECOLL Transmit Late Collision Frames Register
25Ch TXUNDERRUN Transmit Underrun Error Register
260h TXCARRIERSENSE Transmit Carrier Sense Errors Register
264h TXOCTETS Transmit Octet Frames Register
268h FRAME64 Transmit and Receive 64 Octet Frames Register
26Ch FRAME65T127 Transmit and Receive 65 to 127 Octet Frames Register
270h FRAME128T255 Transmit and Receive 128 to 255 Octet Frames Register
274h FRAME256T511 Transmit and Receive 256 to 511 Octet Frames Register
278h FRAME512T1023 Transmit and Receive 512 to 1023 Octet Frames Register
27Ch FRAME1024TUP Transmit and Receive 1024 to RXMAXLEN Octet Frames Register
280h NETOCTETS Network Octet Frames Register
284h RXSOFOVERRUNS Receive FIFO or DMA Start of Frame Overruns Register
288h RXMOFOVERRUNS Receive FIFO or DMA Middle of Frame Overruns Register
28Ch RXDMAOVERRUNS Receive DMA Overruns Register

Table 7-91 EMAC Descriptor Memory

HEX ADDRESS RANGE ACRONYM DESCRIPTION
0x01D0 8000 - 0x01D0 9FFF EMAC Control Module Descriptor Memory

Ethernet Media Access Controller (EMAC) Electrical Data/Timing

Table 7-92 Timing Requirements for MRCLK (see Figure 7-59)

NO. UNIT
10 Mbps 100 Mbps
MIN MAX MIN MAX
1 tc(MRCLK) Cycle time, MRCLK 400 40 ns
2 tw(MRCLKH) Pulse duration, MRCLK high 140 14 ns
3 tw(MRCLKL) Pulse duration, MRCLK low 140 14 ns
TMS320DM369 td_mrclk_prs345.gif Figure 7-59 MRCLK Timing (EMAC - Receive)

Table 7-93 Timing Requirements for MTCLK (see Figure 7-59)

NO. UNIT
10 Mbps 100 Mbps
MIN MAX MIN MAX
1 tc(MTCLK) Cycle time, MTCLK 400 40 ns
2 tw(MTCLKH) Pulse duration, MTCLK high 140 14 ns
3 tw(MTCLKL) Pulse duration, MTCLK low 140 14 ns
TMS320DM369 td_mtclk_prs345.gif Figure 7-60 MTCLK Timing (EMAC - Transmit)

Table 7-94 Timing Requirements for EMAC MII Receive 10/100 Mbit/s(1) (see Figure 7-61)

NO. UNIT
MIN MAX
1 tsu(MRXD-MRCLKH) Setup time, receive selected signals valid before MRCLK high 8 ns
2 th(MRCLKH-MRXD) Hold time, receive selected signals valid after MRCLK high 8 ns
Receive selected signals include: MRXD3-MRXD0, MRXDV, and MRXER.
TMS320DM369 td_emac_rcv_prs345.gif Figure 7-61 EMAC Receive Interface Timing

Table 7-95 Switching Characteristics Over Recommended Operating Conditions for EMAC MII Transmit 10/100 Mbit/s(1) (see Figure 7-62)

NO. UNIT
MIN MAX
1 td(MTCLKH-MTXD) Delay time, MTCLK high to transmit selected signals valid 5 25 ns
Transmit selected signals include: MTXD3-MTXD0, and MTXEN.
TMS320DM369 td_emac_xmit_prs345.gif Figure 7-62 EMAC Transmit Interface Timing

Management Data Input/Output (MDIO)

The Management Data Input/Output (MDIO) module continuously polls all 32 MDIO addresses in order to enumerate all PHY devices in the system.

The Management Data Input/Output (MDIO) module implements the 802.3 serial management interface to interrogate and control Ethernet PHY using a shared two-wire bus. Host software uses the MDIO module to configure the auto-negotiation parameters of each PHY attached to the EMAC, retrieve the negotiation results, and configure required parameters in the EMAC module for correct operation. The module is designed to allow almost transparent operation of the MDIO interface, with very little maintenance from the core processor. Only one PHY may be connected at any given time.

For more detailed information on the MDIO peripheral, see the TMS320DM36x Digital Media System-on-Chip (DMSoC) Ethernet Media Access Controller User's Guide (SPRUFI5).

MDIO Peripheral Register Description

Table 7-96 lists the MDIO registers, their corresponding acronyms, and the device memory locations (offsets).

Table 7-96 Management Data Input/Output (MDIO) Registers

Offset Acronym Register Description
0h VERSION Identification and Version Register
04h CONTROL MDIO Control Register
08h ALIVE PHY Alive Status register
Ch LINK PHY Link Status Register
10h LINKINTRAW MDIO Link Status Change Interrupt (Unmasked) Register
14h LINKINTMASKED MDIO Link Status Change Interrupt (Masked) Register
20h USERINTRAW MDIO User Command Complete Interrupt (Unmasked) Register
24h USERINTMASKED MDIO User Command Complete Interrupt (Masked) Register
28h USERINTMASKSET MDIO User Command Complete Interrupt Mask Set Register
2Ch USERINTMASKCLEAR MDIO User Command Complete Interrupt Mask Clear Register
80h USERACCESS0 MDIO User Access Register 0
84h USERPHYSEL0 MDIO User PHY Select Register 0
88h USERACCESS1 MDIO User Access Register 1
8Ch USERPHYSEL1 MDIO User PHY Select Register 1

Management Data Input/Output (MDIO) Electrical Data/Timing

Table 7-97 Timing Requirements for MDIO Input (see Figure 7-63 and Figure 7-64)

NO. DEVICE UNIT
MIN MAX
1 tc(MDCLK) Cycle time, MDCLK 400 ns
2 tw(MDCLK) Pulse duration, MDCLK high/low 180 ns
3 tt(MDCLK) Transition time, MDCLK 5 ns
4 tsu(MDIO-MDCLKH) Setup time, MDIO data input valid before MDCLK high 10 ns
5 th(MDCLKH-MDIO) Hold time, MDIO data input valid after MDCLK high 0 ns
TMS320DM369 td_mdio_in_prs271.gif Figure 7-63 MDIO Input Timing

Table 7-98 Switching Characteristics Over Recommended Operating Conditions for MDIO Output
(see Figure 7-64)

NO. DEVICE UNIT
MIN MAX
7 td(MDCLKL-MDIO) Delay time, MDCLK low to MDIO data output valid 100 ns
TMS320DM369 td_mdio_out_prs271.gif Figure 7-64 MDIO Output Timing

Host-Port Interface (HPI) Peripheral

Note: HPI is pin multiplexed with Asynchronous EMIF at the output pin. HPI is available only when boot mode selected is HPI boot mode. In this configuration, the device will always act as a slave.

HPI Device-Specific Information

The device includes a user-configurable 16-bit Host-port interface (HPI16).

  • Multiplexed (address/data) operation
  • Configurable single full-word cycle and dual half-word cycle access modes
  • Bursting available utilizing 8-word read and write FIFOs
  • HPIA register supports auto-incrementing
  • HPID register/FIFOs providing data-path between external host interface and system bus
  • Multiple strobes and control signals to allow flexible host connection
  • Software control of data prefetching to the HPID/FIFOs
  • DMSoC-to-Host interrupt output signal controlled by HPIC accesses
  • Host-to-DMSoC interrupt controlled by HPIC accesses

NOTE: The device HPI does not support the HAS feature. For proper HPI operation if the HAS pin is routed out, the HAS pin must be pulled up via an external resistor.

The device HPICTL register (0x01C4 0024) is part of the System Module Registers. The HPICTL register controls write access to the HPI peripheral control and address registers and determines the host time-out value.

HPI Bus Master

The HPI peripheral includes a bus master interface that allows external device initiated transfers to access the DM369 system bus. See the Master Peripheral Mem Map column in Table 3-4, the device Memory Map.

HPI Peripheral Register Description

Table 7-99 lists the HPI registers, their corresponding acronyms, and the device memory locations (offsets).

Table 7-99 HPI Registers

Offset Acronym Register Description
0h PID Peripheral Identification Register
4h PWREMU_MGMT Power and Emulation Management Register
30h HPIC Host Port Interface Control Register
34h HPIAW Host Port Interface Write Address Register
38h HPIAR Host Port Interface Read Address Register

HPI Electrical Data/Timing

Table 7-100 Timing Requirements for Host-Port Interface Cycles(1) (2) (see Figure 7-65 and Figure 7-66)

NO. DEVICE UNIT
MIN MAX
1 tsu(SELV-HSTBL) Setup time, select signals(3) valid before HSTROBE low 6 ns
2 th(HSTBL-SELV) Hold time, select signals(3) valid after HSTROBE low 2 ns
3 tw(HSTBL) Pulse duration, HSTROBE active low 15 ns
4 tw(HSTBH) Pulse duration, HSTROBE inactive high between consecutive accesses 2P ns
11 tsu(HDV-HSTBH) Setup time, host data valid before HSTROBE high 5 ns
12 th(HSTBH-HDV) Hold time, host data valid after HSTROBE high 2 ns
13 th(HRDYL-HSTBL) Hold time, HSTROBE high after HRDY low. HSTROBE should not be inactivated until HRDY is active (low); otherwise, HPI writes will not complete properly. 2 ns
HSTROBE refers to the following logical operation on HCS, HDS1, and HDS2: [NOT(HDS1 XOR HDS2)] OR HCS.
P = PLLC1.SYSCLK4 period, where SYSCLK4 is an output clock of PLLC1. For more details, see Section 4.3, Device Clocking
Select signals include: HCNTLA, HCNTLB, HR/W and HHWIL.

Table 7-101 Switching Characteristics for Host-Port Interface Cycles(1) (2) (3)
(see Figure 7-65 and Figure 7-66)

NO. PARAMETER DEVICE UNIT
MIN MAX
5 td(HSTBL-HRDYV) Delay time, HSTROBE low to HRDY valid For HPI Write, HRDY can go high (not ready) for these HPI Write conditions; otherwise, HRDY stays low (ready):
Case 1: Back-to-back HPIA writes (can be either first or second half-word)
Case 2: HPIA write following a PREFETCH command (can be either first or second half-word)
Case 3: HPID write when FIFO is full or flushing (can be either first or second half-word)
Case 4: HPIA write and Write FIFO not empty

For HPI Read, HRDY can go high (not ready) for these HPI Read conditions:
Case 1: HPID read (with auto-increment) and data not in Read FIFO (can only happen to first half-word of HPID access)
Case 2: First half-word access of HPID Read without auto-increment
For HPI Read, HRDY stays low (ready) for these HPI Read conditions:
Case 1: HPID read with auto-increment and data is already in Read FIFO (applies to either half-word of HPID access)
Case 2: HPID read without auto-increment and data is already in Read FIFO (always applies to second half-word of HPID access)
Case 3: HPIC or HPIA read (applies to either half-word access)
17 ns
6 ten(HSTBL-HDLZ) Enable time, HD driven from HSTROBE low 2 ns
7 td(HRDYL-HDV) Delay time, HRDY low to HD valid 0 ns
8 toh(HSTBH-HDV) Output hold time, HD valid after HSTROBE high 1.5 ns
14 tdis(HSTBH-HDV) Disable time, HD high-impedance from HSTROBE high 15 ns
15 td(HSTBL-HDV) Delay time, HSTROBE low to HD valid For HPI Read. Applies to conditions where data is already residing in HPID/FIFO:
Case 1: HPIC or HPIA read
Case 2: First half-word of HPID read with auto-increment and data is already in Read FIFO
Case 3: Second half-word of HPID read with or without auto-increment
18 ns
P = PLLC1.SYSCLK4 period, where SYSCLK4 is an output clock of PLLC1. For more details, see Section 3.3, Device Clocking.
HSTROBE refers to the following logical operation on HCS, HDS1, and HDS2: [NOT(HDS1 XOR HDS2)] OR HCS.
By design, whenever HCS is driven inactive (high), HPI will drive HRDY active (low).
TMS320DM369 hpi16_read_timing_prs457UPDATED2.gif Figure 7-65 HPI16 Read Timing (HAS Not Used, Tied High)
TMS320DM369 hpi16_write_timing_prs457updated2.gif Figure 7-66 HPI16 Write Timing (HAS Not Used, Tied High)

Key Scan

The device contains Key Scan module that supports two types of Key Matrices - 4x4 and 5x3. It also supports the following features :

  • Supports the following two scan modes
    • Channel Interval mode
    • Scan Interval mode
  • Programmable key scan time
    • Strobe time
    • Interval time
  • Two input detection modes
    • Direct mode
    • 3-Data check mode
  • Supports one interrupt to detect the following:
    • Key input changes
    • Periodic time intervals after a key is pressed

Key Scan Peripheral Register Description

Section 7.24.1.1 lists the Key Scan registers, their corresponding acronyms, and the device memory locations (offsets).

Key Scan Registers

Offset Register Description
0x0 KEYCTRL Module Control register
0x4 INTCENA Interrupt Enable control
0x8 INTFLG Interrupt Flag control
0xC INTCLR Interrupt Clear control
0x10 STRBWIDTH Strobe width
0x14 INTERVALTIME Interval Time
0x18 CONTITIME Continuous timer
0x1C CURRENTST Keyscan current status
0x20 PREVIOUSST Keyscan previous status
0x24 EMUCTRL Emulation control

Key Scan Electrical Data/Timing

Table 7-102 Timing Requirements for Keyscan (see Figure 7-63 and Figure 7-64)

NO. DEVICE UNIT
MIN MAX
1 tw(KEYOUTV) Pulse duration, Keyscan out (active low mode) (STWIDTH + 1)*CLK_P-1(1) (2) ns
2 tw(KEYOUTL) Pulse duration, Keyscan out (always out mode) (STWIDTH + 1)*CLK_P-1(1) (2) ns
3 tsu(KEYOUT-KEYIN) Setup time, Keyscan input (always out mode) 20 ns
Setup time, Keyscan input (active low mode)
4 th(KEYOUT-KEYIN) Hold time, Keyscan input (always out mode) 0 ns
Hold time, Keyscan input (active low mode)
STWIDTH = the value programmed into the STRBWIDTH register.
CLK_P = 1/(PLLC1.AUXCLK/(DIV3+1)) or 1/(RTCXI), where RTCXI is the PRTCSS oscillator input pin frequency of 32.768kHz.
TMS320DM369 td_keyscan_prs457.gif Figure 7-67 Key Scan Timing

Analog-to-Digital Converter (ADC)

The device has a 6-channel 10-bit Analog-to-Digital Converter (ADC) interface. The analog-to-digital converter (ADC) feature is very common in embedded systems. The following features are supported on the Analog-to-Digital Converter (ADC):

  • Six configurable analog input selects
  • Successive Approximation type 10 bit A-D converter
  • Programmable Sampling / Conversion Time (base clock is AUXCLK)
  • Channel select by Auto Scan conversion
  • Mode select by One-shot mode or Free-run mode
  • Programmable setup (idle) period to secure A/D sampling start time
  • Supports the clock stop signals to connect the PSC

For Analog-to-Digital Converter characteristics, see Table 6-2 and Section 6.1.

Analog-to-Digital Converter (ADC) Peripheral Register Description

Section 7.25.1.1 lists the ADC registers, their corresponding acronyms, and the device memory locations (offsets).

Analog-to-Digital Converter (ADC) Interface Registers

Offset Register Description
0x0 ADCTL Control register
0x4 CMPTGT Comparator target channel
0x8 CMPLDAT Comparison A/D Lower data
0xC CMPUDAT Comparison A/D Upper data
0x10 SETDIV SETUP divide value for start A/D conversion
0x14 CHSEL Analog Input channel select
0x18 AD0DAT A/D conversion data 0
0x1C AD1DAT A/D conversion data 1
0x20 AD2DAT A/D conversion data 2
0x24 AD3DAT A/D conversion data 3
0x28 AD4DAT A/D conversion data 4
0x2C AD5DAT A/D conversion data 5
0x30 EMUCTRL Emulation Control

Voice Codec

The device has Voice Codec with FIFO (Read FIFO/Write FIFO). The following features are supported on the Voice Codec module.

  • 16bit x 16 word FIFO for Recording/Playback data transfer
  • Full differential Microphone Amplifier
  • Monaural single ended Line output
  • Monaural Speaker Amplifier (BTL)
  • Dynamic Range: 70dB(DAC)
  • Dynamic Range: 70dB(ADC)
  • 200-300mW Speaker output at RL = 8Ω
  • Sampling frequency: 8 KHz or 16 KHz
  • Automatic Level Control for Recording
  • Programmable Function by Register Control
    • Digital Attenuator of DAC: 0 dB to -62 dB
    • Digital gain control for Recording (0/ +6/ +12/ +18dB)
    • Power Up/Down Control for each module
    • 20 dB/26 dB Boost Selectable for Microphone Input
    • Two Stage Notch filter

For Voice Codec characteristics, see Table 6-2 and Section 6.1.

Voice Codec Register Description

Section 7.26.1.1 lists the Voice Codec registers, their corresponding acronyms, and the device memory locations (offsets).

Voice Codec Registers

Offset Register Description
0x00 VC_PID VCIF PID
0x04 VC_CTRL VCIF Control Register
0x08 VC_INTEN VCIF Interrupt enable
0x0C VC_INTSTATUS VCIF Interrupt status
0x10 VC_INTCLR VCIF Interrupt status clear
0x14 VC_EMUL_CTRL VCIF emulator Control
0x20 RFIFO VCIF Read FIFO access register
0x24 WFIFO VCIF Write FIFO access register
0x28 FIFOSTAT FIFO Status
0x80 VC_REG00 Notch filter parameter 1
0x84 VC_REG01 Notch filter parameter 1
0x88 VC_REG02 Notch filter parameter 2
0x8C VC_REG03 Notch filter parameter 2
0x90 VC_REG04 Recording side mode control
0x94 VC_REG05 PGM & MIC gain
0x98 VC_REG06 ALC
0xA4 VC_REG09 Digital soft mute/attention
0xA8 VC_REG10 Digital soft mute/attention
0xB0 VC_REG12 Power up/down control

IEEE 1149.1 JTAG

The JTAG IEEE Standard 1149.1-1990 Standard-Test-Access Port and Boundary Scan Architecture. interface is used for BSDL testing and emulation of the device.

IEEE Standard 1149.1-1990 Standard-Test-Access Port and Boundary Scan Architecture.

The device requires that both TRST and RESET be asserted upon power up to be properly initialized. While RESET initializes the device, TRST initializes the device's emulation logic. Both resets are required for proper operation.

While both TRST and RESET need to be asserted upon power up, only RESET needs to be released for the device to boot properly. TRST may be asserted indefinitely for normal operation, keeping the JTAG port interface and device's emulation logic in the reset state.

TRST only needs to be released when it is necessary to use a JTAG controller to debug the device or exercise the device's boundary scan functionality. Note: TRST is synchronous and must be clocked by TCK; otherwise, the boundary scan logic may not respond as expected after TRST is asserted.

RESET must be released only in order for boundary-scan JTAG to read the variant field of IDCODE correctly. Other boundary-scan instructions work correctly independent of current state of RESET.

For maximum reliability, the device includes an internal pulldown (PD) on the TRST pin to ensure that TRST will always be asserted upon power up and the device's internal emulation logic will always be properly initialized.

JTAG controllers from Texas Instruments actively drive TRST high. However, some third-party JTAG controllers may not drive TRST high but expect the use of a pullup resistor on TRST.

When using this type of JTAG controller, assert TRST to initialize the device after power up and externally drive TRST high before attempting any emulation or boundary scan operations. Following the release of RESET, the low-to-high transition of TRST must be "seen" to latch the state of EMU1 and EMU0. The EMU[1:0] pins configure the device for either Boundary Scan mode or Emulation mode. For more detailed information, see the terminal functions section of this data sheet.

JTAG Register Description

Section 7.26.1.1 shows the DEVICE ID register (which includes the JTAG ID related information), its corresponding acronym, and the device memory location. For more details on the DEVICE ID register bit fields, see the TMS320DM36x Digital Media System-on-Chip (DMSoC) ARM Subsystem User's Guide (SPRUFG5).

Table 7-103 DEVICE ID Register

HEX ADDRESS RANGE ACRONYM REGISTER NAME COMMENTS
0x01C4 0028 DEVICEID JTAG Identification Register Read-only. Provides 32-bit
JTAG ID of the device.

The DEVICE ID register is a read-only register that identifies to the customer the JTAG/Device ID. For the device, the DEVICE ID register resides at address location 0x01C4 0028. The register hex value for the device is: 0xXB70 002F where 'X' denotes the silicon revision of the device. For more details on the silicon revision, see theTMS320DM369 Digital Media System-on-Chip (DMSoC), Silicon Revision 1.2, Silicon Errata (SPRZ441).

JTAG Test-Port Electrical Data/Timing

Table 7-104 Timing Requirements for JTAG Test Port (see Figure 7-68)

NO. DEVICE UNIT
MIN MAX
1 tc(TCK) Cycle time, TCK 50 ns
2 tw(TCKH) Pulse duration, TCK high 20 ns
3 tw(TCKL) Pulse duration, TCK low 20 ns
4 tsu(TDIV-RTCKH) Setup time, TDI valid before RTCK high 5 ns
5 th(RTCKH-TDIIV) Hold time, TDI valid after RTCK high 10 ns
6 tsu(TMSV-RTCKH) Setup time, TMS valid before RTCK high 5 ns
7 th(RTCKH-TMSV) Hold time, TMS valid after RTCK high 10 ns
TMS320DM369 td_jtag_prs348.gif Figure 7-68 JTAG Input Timing

Table 7-105 Switching Characteristics Over Recommended Operating Conditions for JTAG Test Port
(see Figure 7-68)

NO. PARAMETER DEVICE UNIT
MIN MAX
8 tc(RTCK) Cycle time, RTCK 50 ns
9 tw(RTCKH) Pulse duration, RTCK high 20 ns
10 tw(RTCKL) Pulse duration, RTCK low 20 ns
11 tr(all JTAG outputs) Rise time, all JTAG outputs 5 ns
12 tf(all JTAG outputs) Fall time, all JTAG outputs 5 ns
13 td(RTCKL-TDOV) Delay time, TCK low to TDO valid 0 23 ns
TMS320DM369 td_jtag1_prs348.gif Figure 7-69 JTAG Output Timing