SLAS355B December   2001  – December 2015 TLV2556

PRODUCTION DATA.  

  1. Features
  2. Applications
  3. Description
  4. Revision History
  5. Pin Configuration and Functions
  6. Specifications
    1. 6.1  Absolute Maximum Ratings
    2. 6.2  ESD Ratings
    3. 6.3  Recommended Operating Conditions
    4. 6.4  Thermal Information
    5. 6.5  Electrical Characteristics
    6. 6.6  External Reference Specifications
    7. 6.7  Internal Reference Specifications
    8. 6.8  Operating Characteristics
    9. 6.9  Timing Requirements, VREF+ = 5 V
    10. 6.10 Timing Requirements, VREF+ = 2.5 V
    11. 6.11 Typical Characteristics
  7. Parameter Measurement Information
  8. Detailed Description
    1. 8.1 Overview
    2. 8.2 Functional Block Diagram
    3. 8.3 Feature Description
      1. 8.3.1  Converter Operation
        1. 8.3.1.1 Data I/O Cycle
        2. 8.3.1.2 Sampling Period
        3. 8.3.1.3 Conversion Cycle
      2. 8.3.2  Power Up and Initialization
      3. 8.3.3  Default Mode
      4. 8.3.4  Data Input
      5. 8.3.5  Data Input - Address/Command Bits
      6. 8.3.6  Data Output Length
      7. 8.3.7  LSB Out First
      8. 8.3.8  Bipolar Output Format
      9. 8.3.9  Reference
      10. 8.3.10 INT/EOC Output
      11. 8.3.11 Chip-Select Input (CS)
      12. 8.3.12 Power-Down Features
      13. 8.3.13 Analog MUX
    4. 8.4 Device Functional Modes
  9. Application and Implementation
    1. 9.1 Application Information
    2. 9.2 Typical Application
      1. 9.2.1 Design Requirements
      2. 9.2.2 Detailed Design Procedure
      3. 9.2.3 Application Curve
  10. 10Power Supply Recommendations
  11. 11Layout
    1. 11.1 Layout Guidelines
    2. 11.2 Layout Example
  12. 12Device and Documentation Support
    1. 12.1 Community Resources
    2. 12.2 Trademarks
    3. 12.3 Electrostatic Discharge Caution
    4. 12.4 Glossary
  13. 13Mechanical, Packaging, and Orderable Information

封装选项

请参考 PDF 数据表获取器件具体的封装图。

机械数据 (封装 | 引脚)
  • DW|20
  • PW|20
散热焊盘机械数据 (封装 | 引脚)
订购信息

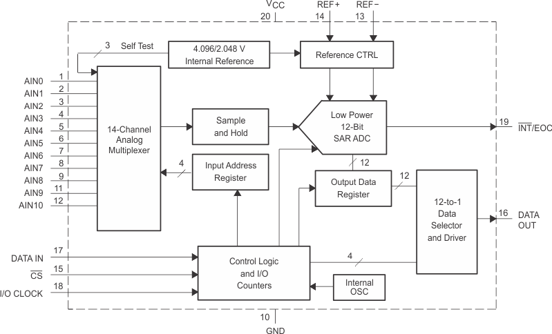
8 Detailed Description

8.1 Overview

Initially, with chip select (CS) high, I/O CLOCK and DATA IN are disabled and DATA OUT is in the high-impedance state. CS going low begins the conversion sequence by enabling I/O CLOCK and DATA IN and removes DATA OUT from the high-impedance state. The input data is an 8-bit data stream consisting of a 4-bit address or command (D7–D4) and a 4-bit configuration data (D3–D0). There are two sets of configuration registers, configuration register 1 – CFGR1 and configuration register 2 – CFGR2. CFGR1, which controls output data format configuration, consists of a 2-bit data length select (D3–D2), an output MSB or LSB first bit (D1), and a unipolar or bipolar output select bit (D0) that are applied to any command (from DATA IN) except for command 1111b. CFGR2, which provides configuration information other than data format, consists of a 2-bit reference select (D3–D2), an EOC/INT program bit (D1), and a default mode select bit (D0) that are applied to command 1111b. The I/O CLOCK sequence applied to the I/O CLOCK terminal transfers this data to the input data register. During this transfer, the I/O CLOCK sequence also shifts the previous conversion result from the output data register to DATA OUT. I/O CLOCK receives the input sequence of 8, 12, or 16 clock cycles long depending on the data-length selection in the input data register. Sampling of the analog input begins on the fourth falling edge of the input I/O CLOCK sequence and is held after the last falling edge of the I/O CLOCK sequence. The last falling edge of the I/O CLOCK sequence also takes EOC low (if pin 19 = EOC) and begins the conversion.

8.2 Functional Block Diagram

TLV2556 FBD_SBAS739.gif

8.3 Feature Description

8.3.1 Converter Operation

The operation of the converter is organized as a succession of three distinct cycles: 1) the data I/O cycle, 2) the sampling cycle, and 3) the conversion cycle. The first two are partially overlapped.

8.3.1.1 Data I/O Cycle

The data I/O cycle is defined by the externally provided I/O CLOCK and lasts 8, 12, or 16 clock periods, depending on the selected output data length. During the I/O cycle, the following two operations take place simultaneously. An 8-bit data stream consisting of address/command and configuration information is provided to DATA IN. This data is shifted into the device on the rising edge of the first eight I/O CLOCK clocks. Data input is ignored after the first eight clocks during 12- or 16-clock I/O transfers. The data output, with a length of 8, 12, or 16 bits, is provided serially on DATA OUT. When CS is held low, the first output data bit occurs on the rising edge of EOC. When CS is toggled between conversions, the first output data bit occurs on the falling edge of CS. This data is the result of the previous conversion period, and after the first output data bit, each succeeding bit is clocked out on the falling edge of each succeeding I/O CLOCK.

8.3.1.2 Sampling Period

During the sampling period, one of the analog inputs is internally connected to the capacitor array of the converter to store the analog input signal. The converter starts sampling the selected input immediately after the four address/command bits have been clocked into the input data register. Sampling starts on the fourth falling edge of I/O CLOCK. The converter remains in the sampling mode until the eighth, twelfth, or sixteenth falling edge of I/O CLOCK depending on the data-length selection.

After the 8-bit data stream has been clocked in, DATA IN must be held at a fixed digital level until EOC goes high or INT goes low (indicating that the conversion is complete) to maximize the sampling accuracy and minimize the influence of external digital noise.

8.3.1.3 Conversion Cycle

A conversion cycle is started only after the I/O cycle is completed, which minimizes the influence of external digital noise on the accuracy of the conversion. This cycle is transparent to the user because it is controlled by an internal clock (oscillator). The total conversion time is equal to 13.5 OSC clocks plus a small delay (~25 ns) to start the OSC. During the conversion period, the device performs a successive-approximation conversion on the analog input voltage.

When programmed as EOC, pin 19 goes low at the start of the conversion cycle and goes high when the conversion is complete and the output data register is latched. After EOC goes low, the analog input can be changed without affecting the conversion result. Because the delay from the falling edge of the last I/O CLOCK to the falling edge of EOC is fixed, any time-varying analog input signals can be digitized at a fixed rate without introducing systematic harmonic distortion or noise due to timing uncertainty.

When programmed as INT, pin 19 goes low when the conversion is complete and the output data register is latched. The next I/O CLOCK rising edge clears the INT output. The time from the last I/O CLOCK falling edge to the falling INT edge is equivalent to the EOC delay mentioned above plus the maximum conversion time. INT is cancelled by (or brought to high) by either the next CS falling edge or the next SCLK rising edge (when CS is held low all of the time for multiple cycles). When CS is held low continuously (for multiple cycles) MSB output occurs after the first rising edge of I/O CLOCK after EOC is inactive or the falling edge of INT.

8.3.2 Power Up and Initialization

After power up, CS must be taken from high to low to begin an I/O cycle. The INT/EOC pin is initially high, and both configuration registers are set to all zeroes. The contents of the output data register are random, and the first conversion result should be ignored. To initialize during operation, CS is taken high and is then returned low to begin the next I/O cycle, as shown in Table 1. The first conversion after the device has returned from the power-down state may not read accurately due to internal device settling.

Table 1. Operational Terminology

CYCLE DESCRIPTION
Current (N) I/O cycle The entire I/O CLOCK sequence that transfers address and control data into the data register and clocks the digital result from the previous conversion from DATA OUT.
Current (N) conversion cycle The conversion cycle starts immediately after the current I/O cycle. The end of the current I/O cycle is the last clock falling edge in the I/O CLOCK sequence. The current conversion result is loaded into the output register when conversion is complete.
Current (N) conversion result The current conversion result is serially shifted out on the next I/O cycle.
Previous (N – 1) conversion cycle The conversion cycle just prior to the current I/O cycle
Next (N + 1) I/O cycle The I/O period that follows the current conversion cycle

Example: In 12-bit mode, the result of the current conversion cycle is a 12-bit serial-data stream clocked out during the next I/O cycle. The current I/O cycle must be exactly 12 bits long to maintain synchronization, even when this corrupts the output data from the previous conversion. The current conversion is begun immediately after the twelfth falling edge of the current I/O cycle.

8.3.3 Default Mode

When the DATA IN pin is held high, the ADC goes into hardware default mode because the CFGR2 bits are all programmed to the default values after 8 I/O CLOCKs. This means the ADC is programmed for an external reference and pin 19 as EOC. In addition, channel AIN0 is selected. The first conversion is invalid therefore the conversion result should be ignored. On the next cycle, AIN0 is sampled and converted. This mode of operation is valid when CS is toggled or held low after the first cycle.

To remove the device from hardware default mode, CFGR2 bit D0 must be reset to 0. When this is done, the host must program CFGR1 on the next cycle and disregard the result from the conversion of the current cycle.

8.3.4 Data Input

The data input is internally connected to an 8-bit serial-input address and control register. The register defines the operation of the converter and the output data length. The host provides the input data byte with the MSB first. Each data bit is clocked in on the rising edge of the I/O CLOCK sequence (see Table 2 for the data input-register format).

Table 2. Command Set (CMR) and Configuration

SDI D[7:4] COMMAND CFGR1 CONFIGURATION
BINARY HEX SDI D[3:0]
0000b 0h SELECT analog input channel 0 D[3:2] 01: 8-bit output length
0001b 1h SELECT analog input channel 1 X0: 12-bit output length(1)
0010b 2h SELECT analog input channel 2 11: 16-bit output length
0011b 3h SELECT analog input channel 3 D1 0: MSB out first
0100b 4h SELECT analog input channel 4 1: LSB out first
0101b 5h SELECT analog input channel 5 D0 0: Unipolar binary
0110b 6h SELECT analog input channel 6 1: Bipolar 2s complement
0111b 7h SELECT analog input channel 7
1000b 8h SELECT analog input channel 8
1001b 9h SELECT analog input channel 9 CFGR2 CONFIGURATION
1010b Ah SELECT analog input channel 10 SDI D[3:0]
1011b Bh SELECT TEST,
Voltage = (VREF+ + VREF–)/2
D[3:2] 00: Internal 4.096 reference
01: Internal 2.048 reference
11: External reference (default)
1100b Ch SELECT TEST, Voltage = REFM D1 0: Pin 19 output EOC (default)
1: Pin 19 output INT
1101b Dh SELECT TEST, Voltage = REFP D0 0: Normal mode
(CFGR1 needs to be programmed)
1: Default mode enabled
(D[3:0] of CFGR1 and D[3:1] of
CFGR2 set to default)
1110b Eh SW POWERDOWN (analog + reference)
1111b Fh ACCESS CFGR2
(1) Select 12-bit output mode to achieve 200-kSPS sampling rate.

8.3.5 Data Input – Address/Command Bits

The four MSBs (D7–D4) of the input data register are the address or command. These bits can be used to address one of the 11 input channels, select one of three reference-test voltages, activate the software power-down mode, or access the second configuration register, CFGR2. All address/command bits affect the current conversion, which is the conversion that immediately follows the current I/O cycle. They also allow access to CFGR1 except for command 1111b, which allows access to CFGR2.

8.3.6 Data Output Length

CFGR1 bits (D3 and D2) of the data register select the output data length. The data-length selection is valid for the current I/O cycle (the cycle in which the data is read). The data-length selection, being valid for the current I/O cycle, allows device start-up without losing I/O synchronization. A data length of 8, 12, or 16 bits can be selected. Because the converter has 12-bit resolution, a data length of 12 bits is suggested.

With D3 and D2 set to 00 or 10, the device is in the 12-bit data-length mode and the result of the current conversion is output as a 12-bit serial data stream during the next I/O cycle. The current I/O cycle must be exactly 12 bits long for proper synchronization, even when this means corrupting the output data from a previous conversion. The current conversion is started immediately after the twelfth falling edge of the current I/O cycle.

With bits D3 and D2 set to 11, the 16-bit data-length mode is selected, which allows convenient communication with 16-bit serial interfaces. In the 16-bit mode, the result of the current conversion is output as a 16-bit serial data stream during the next I/O cycle with the four LSBs always reset to 0 (pad bits). The current I/O cycle must be exactly 16 bits long to maintain synchronization even when this means corrupting the output data from the previous conversion. The current conversion is started immediately after the sixteenth falling edge of the current I/O cycle.

With bits D3 and D2 set to 01, the 8-bit data-length mode is selected, which allows fast communication with 8-bit serial interfaces. In the 8-bit mode, the result of the current conversion is output as an 8-bit serial data stream during the next I/O cycle. The current I/O cycle must be exactly eight bits long to maintain synchronization, even when this means corrupting the output data from the previous conversion. The four LSBs of the conversion result are truncated and discarded. The current conversion is started immediately after the eighth falling edge of the current I/O cycle.

Because the D3 and D2 register settings take effect on the I/O cycle when the data length is programmed, there can be a conflict with the previous cycle if the data-word length was changed. This may occur when the data format is selected to be least significant bit first, because at the time the data length change becomes effective (six rising edges of I/O CLOCK), the previous conversion result has already started shifting out. In actual operation, when different data lengths are required within an application and the data length is changed between two conversions, no more than one conversion result can be corrupted and only when it is shifted out in LSB-first format.

8.3.7 LSB Out First

D1 in the CFGR1 controls the direction of the output (binary) data transfer. When D1 is reset to 0, the conversion result is shifted out MSB first. When set to 1, the data is shifted out LSB first. Selection of MSB first or LSB first always affects the next I/O cycle and not the current I/O cycle. When changing from one data direction to another, the current I/O cycle is never disrupted.

8.3.8 Bipolar Output Format

D0 in the CFGR1 controls the binary data format used to represent the conversion result. When D0 is cleared to 0, the conversion result is represented as unipolar (unsigned binary) data. Nominally, the conversion result of an input voltage equal to or less than VREF– is a code with all zeros (000...0) and the conversion result of an input voltage equal to or greater than VREF+ is a code of all ones (111...1). The conversion result of (VREF+ + VREF–)/2 is a code of a one followed by zeros (100...0).

When D0 is set to 1, the conversion result is represented as bipolar (signed binary) data. Nominally, conversion of an input voltage equal to or less than VREF– is a code of a one followed by zeros (100...0), and the conversion of an input voltage equal to or greater than VREF+ is a code of a zero followed by all ones (011...1). The conversion result of (VREF+ + VREF–)/2 is a code of all zeros (000...0). The MSB is interpreted as the sign bit. The bipolar data format is related to the unipolar format in that the MSBs are always each other's complement.

Selection of the unipolar or bipolar format always affects the current conversion cycle, and the result is output during the next I/O cycle. When changing between unipolar and bipolar formats, the data output during the current I/O cycle is not affected.

8.3.9 Reference

The device has a built-in reference with a programmable level of 2.048 V or 4.096 V. If the internal reference is used, REF+ is set to 2.048 V or 4.096 V and REF– is set to analog GND. An external reference can also be used through two reference input pins, REF+ and REF–, if the reference source is programmed as external, as shown in Figure 54. The voltage levels applied to these pins establish the upper and lower limits of the analog inputs to produce a full-scale and zero-scale reading respectively. The values of REF+, REF–, and the analog input must not exceed the positive supply or be lower than GND consistent with the specified absolute maximum ratings. The digital output is at full scale when the input signal is equal to or higher than REF+ and at zero when the input signal is equal to or lower than REF–.

TLV2556 Ref_Block_SBAS739.gif Figure 54. Reference Block

8.3.10 INT/EOC Output

Pin 19 outputs the status of the ADC conversion. When programmed as EOC, the output indicates the beginning and the end of conversion. In the reset state, EOC is always high. During the sampling period (beginning after the fourth falling edge of the I/O CLOCK sequence), EOC remains high until the internal sampling switch of the converter is safely opened. The opening of the sampling switch occurs after the eighth, twelfth, or sixteenth I/O CLOCK falling edge, depending on the data-length selection in the input data register. After the EOC signal goes low, the analog input signal can be changed without affecting the conversion result.

The EOC signal goes high again after the conversion is completed and the conversion result is latched into the output data register. The rising edge of EOC returns the converter to a reset state and a new I/O cycle begins. On the rising edge of EOC, the first bit of the current conversion result is on DATA OUT when CS is low. When CS is toggled between conversions, the first bit of the current conversion result occurs on DATA OUT at the falling edge of CS.

When programmed as INT, the output indicates that the conversion is completed and the output data is ready to be read. In the reset state, INT is always high. INT is high during the sampling period and until the conversion is complete. After the conversion is finished and the output data is latched, INT goes low and remains low until it is cleared by the host. When CS is held low, the MSB (or LSB) of the conversion result is presented on DATA OUT on the falling edge of INT. A rising I/O CLOCK edge clears the interrupt.

8.3.11 Chip-Select Input (CS)

CS enables and disables the device. During normal operation, CS should be low. Although the use of CS is not necessary to synchronize a data transfer, it can be brought high between conversions to coordinate the data transfer of several devices sharing the same bus.

When CS is brought high, the serial-data output is immediately brought to the high-impedance state, releasing its output data line to other devices that may share it. After an internally generated debounce time, I/O CLOCK is inhibited, thus preventing any further change in the internal state.

When CS is subsequently brought low again, the device is reset. CS must be held low for an internal debounce time before the reset operation takes effect. After CS is debounced low, I/O CLOCK must remain inactive (low) for a minimum time before a new I/O cycle can start.

CS can interrupt any ongoing data transfer or any ongoing conversion. When CS is debounced low long enough before the end of the current conversion cycle, the previous conversion result is saved in the internal output buffer and shifted out during the next I/O cycle.

When CS is held low continuously for multiple cycles, the first data bit of the newly completed conversion occurs on DATA OUT on the rising edge of EOC or falling edge of INT. Note that the first cycle in the series still requires a transition CS from high to low. When a new conversion is started after the last falling edge of I/O CLOCK, EOC goes low and the serial output is forced low until EOC goes high again.

When CS is toggled between conversions, the first data bit occurs on DATA OUT on the falling edge of CS. On each subsequent falling edge of I/O CLOCK after the first data bit appears, the data is changed to the next bit in the serial conversion result until the required number of bits has been output.

8.3.12 Power-Down Features

When command (D7–D4) 1110b is clocked into the input data register during the first four I/O CLOCK cycles, the software power-down mode is selected. Software power down is activated on the falling edge of the fourth I/O CLOCK pulse.

During software power down, all internal circuitry is put in a low-current standby mode. The internal reference (if being used) is powered down. No conversion is performed. The internal output buffer keeps the previous conversion cycle data results provided that all digital inputs are held above VCC – 0.5 V or below 0.5 V. The I/O logic remains active so the current I/O cycle must be completed even when the power-down mode is selected. Upon power-on reset and before the first I/O cycle, the converter normally begins in the power-down mode. The device remains in the software power-down mode until a valid input address (other than command 1110b) is clocked in. Upon completion of that I/O cycle, a normal conversion is performed with the results being shifted out during the next I/O cycle. If using the internal reference, care must be taken to allow the reference to power on completely before a valid conversion can be performed. It requires 1 ms to resume from a software power down.

The ADC also has an auto power-down mode. This is transparent to users. The ADC goes into auto power down within 1 I/O CLOCK cycle after the conversion is complete and resumes, with a small delay after an active CS is sent to the ADC. This mode keeps built-in reference so resumption is fast enough to be used between cycles.

8.3.13 Analog MUX

The 11 analog inputs, 3 internal voltages, and power-down mode are selected by the input multiplexer according to the input addresses shown in Table 2 . The input multiplexer is a break-before-make type to reduce input-to-input noise rejection resulting from channel switching. Sampling of the analog input starts on the falling edge of the fourth I/O CLOCK and continues for the remaining I/O CLOCK pulses. The sample is held on the falling edge of the last I/O CLOCK pulse. The three internal test inputs are applied to the multiplexer, then sampled and converted in the same manner as the external analog inputs. The first conversion after the device has returned from the power-down state may not read accurately due to internal device settling.

8.4 Device Functional Modes

The ADC has an auto power-down mode. This is transparent to users. The ADC gets into auto power-down within one I/O CLOCK cycle after the conversion is complete and resumes, with a small delay, after an active CS is sent to the ADC. The resumption is fast enough to be used between cycles.