ZHCSFA5 July   2016 SM320C6457-HIREL

PRODUCTION DATA.  

  1. 1器件概述
    1. 1.1 特性
    2. 1.2 应用
    3. 1.3 说明
    4. 1.4 说明 (续)
    5. 1.5 功能方框图
  2. 2修订历史记录
  3. 3Terminal Configuration and Functions
    1. 3.1 Pin Diagram
    2. 3.2 Pin Attributes
      1. 3.2.1 Pin Map
    3. 3.3 Signal Descriptions
  4. 4Specifications
    1. 4.1 Absolute Maximum Ratings
    2. 4.2 ESD Ratings
    3. 4.3 Recommended Operating Conditions
    4. 4.4 Electrical Characteristics
    5. 4.5 Thermal Resistance Characteristics
    6. 4.6 Timing and Switching Characteristics
      1. 4.6.1 Timing Parameters and Information
        1. 4.6.1.1 1.8-V Signal Transition Levels
        2. 4.6.1.2 3.3-V Signal Transition Levels
        3. 4.6.1.3 3.3-V Signal Transition Rates
        4. 4.6.1.4 Timing Parameters and Board Routing Analysis
      2. 4.6.2 Power Supply Sequencing
        1. 4.6.2.1 Power-Supply Decoupling
        2. 4.6.2.2 Power-Down Operation
        3. 4.6.2.3 Power Supply to Peripheral I/O Mapping
      3. 4.6.3 Reset Timing
      4. 4.6.4 Clock and Control Signal Transition Behavior
    7. 4.7 Peripherals
      1. 4.7.1  Enhanced Direct Memory Access (EDMA3) Controller
        1. 4.7.1.1 EDMA3 Device-Specific Information
        2. 4.7.1.2 EDMA3 Channel Synchronization Events
        3. 4.7.1.3 EDMA3 Peripheral Register Description(s)
      2. 4.7.2  Interrupts
        1. 4.7.2.1 Interrupt Sources and Interrupt Controller
        2. 4.7.2.2 External Interrupts Electrical Data/Timing
      3. 4.7.3  Reset Controller
        1. 4.7.3.1 Power-on Reset (POR Pin)
        2. 4.7.3.2 Warm Reset (RESET Pin)
        3. 4.7.3.3 System Reset
        4. 4.7.3.4 CPU Reset
        5. 4.7.3.5 Reset Priority
        6. 4.7.3.6 Reset Controller Register
          1. 4.7.3.6.1 Reset Type Status Register
          2. 4.7.3.6.2 Software Reset Control Register
          3. 4.7.3.6.3 Reset Configuration Register
      4. 4.7.4  PLL1 and PLL1 Controller
        1. 4.7.4.1 PLL1 Controller Device-Specific Information
          1. 4.7.4.1.1 Internal Clocks and Maximum Operating Frequencies
          2. 4.7.4.1.2 PLL1 Controller Operating Modes
          3. 4.7.4.1.3 PLL1 Stabilization, Lock, and Reset Times
        2. 4.7.4.2 PLL1 Controller Memory Map
        3. 4.7.4.3 PLL1 Controller Registers
          1. 4.7.4.3.1  PLL1 Control Register
          2. 4.7.4.3.2  PLL Multiplier Control Register
          3. 4.7.4.3.3  PLL Post-Divider Control Register
          4. 4.7.4.3.4  PLL Controller Divider 3 Register
          5. 4.7.4.3.5  PLL Controller Divider 6 Register
          6. 4.7.4.3.6  PLL Controller Divider 7 Register
          7. 4.7.4.3.7  PLL Controller Divider 8 Register
          8. 4.7.4.3.8  PLL Controller Command Register
          9. 4.7.4.3.9  PLL Controller Status Register
          10. 4.7.4.3.10 PLL Controller Clock Align Control Register
          11. 4.7.4.3.11 PLLDIV Ratio Change Status Register
          12. 4.7.4.3.12 SYSCLK Status Register
        4. 4.7.4.4 PLL1 Controller Input and Output Electrical Data/Timing
      5. 4.7.5  PLL2
        1. 4.7.5.1 PLL2 Device-Specific Information
          1. 4.7.5.1.1 Internal Clocks and Maximum Operating Frequencies
          2. 4.7.5.1.2 PLL2 Operating Modes
        2. 4.7.5.2 PLL2 Input Clock Electrical Data/Timing
      6. 4.7.6  DDR2 Memory Controller
        1. 4.7.6.1 DDR2 Memory Controller Device-Specific Information
        2. 4.7.6.2 DDR2 Memory Controller Peripheral Register Description(s)
        3. 4.7.6.3 DDR2 Memory Controller Electrical Data/Timing
      7. 4.7.7  External Memory Interface A (EMIFA)
        1. 4.7.7.1 EMIFA Device-Specific Information
        2. 4.7.7.2 EMIFA Peripheral Register Description(s)
        3. 4.7.7.3 EMIFA Electrical Data/Timing
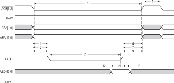
          1. 4.7.7.3.1 AECLKIN and AECLKOUT Timing
          2. 4.7.7.3.2 Asynchronous Memory Timing
          3. 4.7.7.3.3 Programmable Synchronous Interface Timing
      8. 4.7.8  I2C Peripheral
        1. 4.7.8.1 I2C Device-Specific Information
        2. 4.7.8.2 I2C Peripheral Register Description(s)
        3. 4.7.8.3 I2C Electrical Data/Timing
          1. 4.7.8.3.1 Inter-Integrated Circuits (I2C) Timing
      9. 4.7.9  Host-Port Interface (HPI) Peripheral
        1. 4.7.9.1 HPI Device-Specific Information
        2. 4.7.9.2 HPI Peripheral Register Description(s)
        3. 4.7.9.3 HPI Electrical Data/Timing
      10. 4.7.10 Multichannel Buffered Serial Port (McBSP)
        1. 4.7.10.1 McBSP Device-Specific Information
          1. 4.7.10.1.1 McBSP Peripheral Register Description(s)
        2. 4.7.10.2 McBSP Electrical Data/Timing
      11. 4.7.11 Ethernet MAC (EMAC)
        1. 4.7.11.1 EMAC Device-Specific Information
        2. 4.7.11.2 EMAC Peripheral Register Description(s)
        3. 4.7.11.3 EMAC Electrical Data/Timing (SGMII)
      12. 4.7.12 Management Data Input/Output (MDIO)
        1. 4.7.12.1 MDIO Peripheral Register Description(s)
        2. 4.7.12.2 MDIO Electrical Data/Timing
      13. 4.7.13 Timers
        1. 4.7.13.1 Timers Device-Specific Information
          1. 4.7.13.1.1 Timer Watchdog Select
        2. 4.7.13.2 Timers Peripheral Register Description(s)
        3. 4.7.13.3 Timers Electrical Data/Timing
      14. 4.7.14 Enhanced Viterbi-Decoder Coprocessor (VCP2)
        1. 4.7.14.1 VCP2 Device-Specific Information
        2. 4.7.14.2 VCP2 Peripheral Register Description
      15. 4.7.15 Enhanced Turbo Decoder Coprocessor (TCP2)
        1. 4.7.15.1 TCP2 Device-Specific Information
      16. 4.7.16 UTOPIA
        1. 4.7.16.1 UTOPIA Device-Specific Information
        2. 4.7.16.2 UTOPIA Peripheral Register Description(s)
        3. 4.7.16.3 UTOPIA Electrical Data/Timing
      17. 4.7.17 Serial RapidIO (SRIO) Port
        1. 4.7.17.1 Serial RapidIO Device-Specific Information
        2. 4.7.17.2 Serial RapidIO Peripheral Register Description(s)
        3. 4.7.17.3 Serial RapidIO Electrical Data/Timing
      18. 4.7.18 General-Purpose Input/Output (GPIO)
        1. 4.7.18.1 GPIO Device-Specific Information
        2. 4.7.18.2 GPIO Peripheral Register Description(s)
        3. 4.7.18.3 GPIO Electrical Data/Timing
      19. 4.7.19 Emulation Features and Capability
        1. 4.7.19.1 Advanced Event Triggering (AET)
        2. 4.7.19.2 Trace
          1. 4.7.19.2.1 Trace Electrical Data/Timing
        3. 4.7.19.3 IEEE 1149.1 JTAG
          1. 4.7.19.3.1 IEEE 1149.1 JTAG Compatibility Statement
          2. 4.7.19.3.2 JTAG Electrical Data/Timing
          3. 4.7.19.3.3 HS-RTDX Electrical Data/Timing
  5. 5Detailed Description
    1. 5.1 Device Overview
    2. 5.2 CPU (DSP Core) Description
    3. 5.3 C64x+ Megamodule
      1. 5.3.1 Memory Architecture
        1. 5.3.1.1 L1P Memory
        2. 5.3.1.2 L1D Memory
        3. 5.3.1.3 L2 Memory
        4. 5.3.1.4 L3 Memory
      2. 5.3.2 Memory Protection
      3. 5.3.3 Bandwidth Management
      4. 5.3.4 Power-Down Control
      5. 5.3.5 Megamodule Resets
      6. 5.3.6 Megamodule Revision
      7. 5.3.7 C64x+ Megamodule Register Descriptions
    4. 5.4 Memory Map Summary
    5. 5.5 Device Configuration
      1. 5.5.1 Device Configuration at Device Reset
      2. 5.5.2 Peripheral Selection After Device Reset
      3. 5.5.3 Device State Control Registers
      4. 5.5.4 Device Status Register Description
      5. 5.5.5 JTAG ID (JTAGID) Register Description
      6. 5.5.6 Pullup/Pulldown Resistors
    6. 5.6 System Interconnect
      1. 5.6.1 Internal Buses, Bridges, and Switch Fabrics
      2. 5.6.2 Data Switch Fabric Connections
      3. 5.6.3 Configuration Switch Fabric
      4. 5.6.4 Bus Priorities
    7. 5.7 Boot Modes
      1. 5.7.1 Second-Level Bootloaders
      2. 5.7.2 Boot Sequence
    8. 5.8 Rake Search Accelerator (RSA)
  6. 6器件和文档支持
    1. 6.1 器件命名规则
    2. 6.2 工具与软件
    3. 6.3 文档支持
      1. 6.3.1 接收文档更新通知
    4. 6.4 社区资源
    5. 6.5 商标
    6. 6.6 静电放电警告
    7. 6.7 Glossary
  7. 7机械、封装和可订购信息

封装选项

机械数据 (封装 | 引脚)
  • GMH|688
散热焊盘机械数据 (封装 | 引脚)
订购信息

4 Specifications

4.1 Absolute Maximum Ratings

Over operating junction temperature range (unless otherwise noted)(1)
MIN MAX UNIT
Supply voltage(2) CVDD –0.3 1.35 V
DVDD18 –0.3 2.45
DVDD33 –0.3 3.6
VREFSSTL 0.49 × DVDD18 0.51 × DVDD18
VDD11, VDDD11, VDDT11 –0.3 1.35
VDDR18 –0.3 2.45
AVDD118, AVDD218 –0.3 2.45
VSS ground 0
Input voltage, VI LVCMOS (1.8 V) –0.3 DVDD18 + 0.3 V
LVCMOS (3.3 V) –0.3 DVDD33 + 0.3
DDR2 –0.3 2.45
I2C –0.3 2.45
LVDS –0.3 DVDD18 + 0.3
LJCB –0.3 1.35
SerDes –0.3 DVDD11 + 0.3
Output voltage, VO LVCMOS (1.8 V) –0.3 DVDD18 + 0.3 V
LVCMOS (3.3 V) –0.3 DVDD33 + 0.3
DDR2 –0.3 2.45
I2C –0.3 2.45
SerDes –0.3 DVDD11 + 0.3
Operating case temperature, TC Extended 1-GHz CPU –55 100 °C
Overshoot/undershoot(3) LVCMOS (1.8 V) 20% overshoot/undershoot for 20% of signal duty cycle V
LVCMOS (3.3 V)
DDR2
I2C
Storage temperature, Tstg –65 150 °C
(1) Stresses beyond those listed under absolute maximum ratings may cause permanent damage to the device. These are stress ratings only, and functional operation of the device at these or any other conditions beyond those indicated under recommended operating conditions is not implied. Exposure to absolute-maximum-rated conditions for extended periods may affect device reliability.
(2) All voltage values are with respect to VSS.
(3) Overshoot/undershoot percentage relative to I/O operating values - for example the maximum overshoot value for 1.8-V LVCMOS signals is DVDD18 + 0.2 × DVDD18 and maximum undershoot value would be VSS - 0.2 × DVDD18

4.2 ESD Ratings

VALUE UNIT
VESD ESD stress voltage(1) Human-body model (HBM)(2) ±1000 V
Charged-device model (CDM)(3)(4) ±500
(1) Electrostatic discharge (ESD) to measure device sensitivity/immunity to damage caused by electrostatic discharges into the device.
(2) Level listed above is the passing level per ANSI/ESDA/JEDEC JS-001-2010. JEDEC document JEP 155 states that 500V HBM allows safe manufacturing with a standard ESD control process, and manufacturing with less than 500V HBM is possible if necessary precautions are taken. Pins listed as 1000V may actually have higher performance.
(3) Level listed above is the passing level per EIA-JEDEC JESD22-C101E. JEDEC document JEP 157 states that 250V CDM allows safe manufacturing with a standard ESD control process. Pins listed as 250V may actually have higher performance.
(4) Based on JESD22-C101C (Field-Induced Charged-Device Model Test Method for Electrostatic-Discharge-Withstand Thresholds of Microelectronic Components), the C6457 device’s charged-device model (CDM) sensitivity classification is Class II (200 V to < 500 V). Specifically, DDR memory interface and SerDes pins conform to ±200-V level. All other pins conform to ±500 V.

4.3 Recommended Operating Conditions

MIN NOM MAX UNIT
CVDD Supply core voltage 850-MHz CPU 1.067 1.1 1.133 V
1-GHz CPU 1.067 1.1 1.133
DVDD18 1.8-V supply I/O voltage 1.71 1.8 1.89 V
DVDD33 3.3-V supply I/O voltage 3.135 3.3 3.465 V
VREFSSTL DDR2 reference voltage 0.49 × DVDD18 0.5 × DVDD18 0.51 × DVDD18 V
VDDR18 SRIO/SGMII SerDes regulator supply 1.71 1.8 1.89 V
VDDA11 SRIO/SGMII SerDes analog supply 1.045 1.1 1.155 V
VDDD11 SRIO/SGMII SerDes digital supply 1.045 1.1 1.155 V
VDDT11 SRIO/SGMII SerDes termination supply 1.045 1.1 1.155 V
PLLV1 PLL1 analog supply 1.71 1.8 1.89 V
PLLV2 PLL2 analog supply 1.71 1.8 1.89 V
VSS Ground 0 0 0 V
VIH High-level input voltage LVCMOS (1.8 V) 0.65 × DVDD18 V
LVCMOS (3.3 V) 2 V
I2C 0.7 × DVDD18 V
DDR2 EMIF VREFSSTL + 0.125 DVDD18 + 0.3 V
VIL Low-level input voltage LVCMOS (1.8 V) 0.35 × DVDD18 V
LVCMOS (3.3 V) 0.8 V
DDR2 EMIF -0.3 VREFSSTL – 0.1 V
I2C 0.3 × DVDD18 V
TC Operating case temperature Extended 1-GHz CPU –55 100 °C
(1) All SerDes I/Os comply with the XAUI Electrical Specification, IEEE 802.3ae-2002.

4.4 Electrical Characteristics

over recommended ranges of supply voltage and operating case temperature (unless otherwise noted)
PARAMETER TEST CONDITIONS(1) MIN TYP MAX UNIT
VOH High-level output voltage LVCMOS (1.8 V) IO = IOH DVDD18 – 0.45 V
LVCMOS (3.3 V) IO = -2 mA 2.4
DDR2 1.4
I2C 0.1 × DVDD18
VOL Low-level output voltage LVCMOS (1.8 V) IO = IOL 0.45 V
LVCMOS (3.3 V) IO = 2 mA 0.4
DDR2 0.4
I2C IO = 3 mA, pulled up to 1.8 V 0.4
II(2) Input current [DC] LVCMOS (1.8 V) No IPD/IPU –5 5 µA
Internal pullup 50 100 170
Internal pulldown –170 -100 -50
LVCMOS (3.3 V) No IPD/IPU –1 1
Internal pullup 70 150 270
Internal pulldown –270 –150 –70
I2C 0.1 × DVDD18 V < VI < 0.9 × DVDD18 V –20 20
IOH High-level output current [DC] EMU[18:00], GPIO[15:0], TIMO[1:0] –8 mA
SYSCLKOUT, TDO, CLKR0, CLKX0, DX0, FSR0, FSX0, CLKR1, CLKX1, DX1, FSR1, FSX1, AECLKOUT –6
RESETSTAT, MDIO, MDCLK –4
DDR2 4
LVCMOS (3.3 V), except AECLKOUT –4
IOL Low-level output current [DC] EMU[18:00], GPIO[15:0], TIM[1:0] 8 mA
SYSCLKOUT, TDO, CLKR0, CLKX0, DX0, FSR0, FSX0, CLKR1, CLKX1, DX1, FSR1, FSX1, AECLKOUT 6
RESETSTAT, MDIO, MDCLK 4
DDR2 –4
LVCMOS (3.3 V), except AECLKOUT 4
IOZ(3) Off-state output current [DC] LVCMOS (1.8 V) –20 20 µA
LVCMOS (3.3 V) –20 20
(1) For test conditions shown as MIN, MAX, or TYP, use the appropriate value specified in the recommended operating conditions table.
(2) II applies to input-only pins and bi-directional pins. For input-only pins, II indicates the input leakage current. For bi-directional pins, II includes input leakage current and off-state (Hi-Z) output leakage current.
(3) IOZ applies to output-only pins, indicating off-state (Hi-Z) output leakage current.

4.5 Thermal Resistance Characteristics

Table 4-1 shows the thermal resistance characteristics for the PBGA - GMH mechanical package.

Table 4-1 Thermal Resistance Characteristics GMH Package

NO. °C/W
1 JC Junction-to-case 1.53
2 JB Junction-to-board 8.1

4.6 Timing and Switching Characteristics

4.6.1 Timing Parameters and Information

This section describes the conditions used to capture the electrical data seen in this chapter.

SM320C6457-HIREL Test_Load_Circuit_for_AC_Timing_Measurements_6484.gif Figure 4-1 Test Load Circuit for AC Timing Measurements
(A) The data manual provides timing at the device terminal. For output timing analysis, the tester terminal electronics and its transmission line effects must be taken into account. A transmission line with a delay of 2 ns can be used to produce the desired transmission line effect. The transmission line is intended as a load only. It is not necessary to add or subtract the transmission line delay (2 ns) from the data sheet timings.

(B) Input requirements in this data sheet are tested with an input slew rate of < 4 Volts per nanosecond (4 V/ns) at the device terminal.

The load capacitance value stated is only for characterization and measurement of AC timing signals. This load capacitance value does not indicate the maximum load the device is capable of driving.

4.6.1.1 1.8-V Signal Transition Levels

All input and output timing parameters are referenced to 0.9 V for both 0 and 1 logic levels.

SM320C6457-HIREL Input_and_Output_Voltage_Ref_Levels_for_1.8-V_AC_Timing_6484.gif Figure 4-2 Input and Output Voltage Reference Levels for 1.8-V AC Timing Measurements

All rise and fall transition timing parameters are reference to VIL MAX and VIH MIN for input clocks.

SM320C6457-HIREL rise_fall_transition_time.gif Figure 4-3 Rise and Fall Transition Time Voltage Reference Levels

4.6.1.2 3.3-V Signal Transition Levels

All input and output timing parameters are referenced to 1.5 V for both 0 and 1 logic levels.

SM320C6457-HIREL Input_and_Output_Voltage_Ref_Levels_for_3.3-V_AC_Timing_6484.gif Figure 4-4 Input and Output Voltage Reference Levels for 3.3-V AC Timing Measurements

All rise and fall transition timing parameters are referenced to VIL MAX and VIH MIN for input clocks, VOL MAX and VOH MIN for output clocks.

SM320C6457-HIREL rise_fall_transition_time.gif Figure 4-5 Rise and Fall Transition Time Voltage Reference Levels

4.6.1.3 3.3-V Signal Transition Rates

All timings are tested with an input edge rate of 4 volts per nanosecond (4 V/ns).

4.6.1.4 Timing Parameters and Board Routing Analysis

The timing parameter values specified in this data sheet do not include delays by board routings. As a good board design practice, such delays must always be taken into account. Timing values may be adjusted by increasing/decreasing such delays. TI recommends using the available I/O buffer information specification (IBIS) models to analyze the timing characteristics correctly. To properly use IBIS models to attain accurate timing analysis for a given system, see the Using IBIS Models for Timing Analysis application report (SPRA839). If needed, external logic hardware such as buffers may be used to compensate any timing differences.

For inputs, timing is most impacted by the round-trip propagation delay from the DSP to the external device and from the external device to the DSP. This round-trip delay tends to negatively impact the input setup time margin, but also tends to improve the input hold time margins (see Table 4-2 and Figure 4-6).

Table 4-2 Board-Level Timing Example

(see Figure 4-6)
NO. DESCRIPTION
1 Clock route delay
2 Minimum DSP hold time
3 Minimum DSP setup time
4 External device hold time requirement
5 External device setup time requirement
6 Control signal route delay
7 External device hold time
8 External device access time
9 DSP hold time requirement
10 DSP setup time requirement
11 Data route delay

Figure 4-6 shows a general transfer between the DSP and an external device. The figure also shows board route delays and how they are perceived by the DSP and the external device

SM320C6457-HIREL Board_Level_Input_Output_Timings_6484.gif Figure 4-6 Board-Level Input/Output Timings
(A) Control signals include data for writes.

(B) Data signals are generated during reads from an external device.

4.6.2 Power Supply Sequencing

The following sections describe the proper power-supply sequencing and timing needed to properly power on the C6457 DSP. This section also describes proper power-supply decoupling methods.

TI recommends the power-supply sequence shown in Figure 4-7 and described in Table 4-3. The figure shows that the 1.8-V I/O supply should be ramped first. This is followed by the scaled core supply and the fixed 1.1-V supplies which must ramp within 5 ms of each other. The 3.3-V I/O supply should ramp up last. Some TI power supply devices include features that facilitate power sequencing; for example, Auto-Track or Slow-Start/Enable features. For more information, visit www.ti.com/dsppower. See the TMS320TCI6468 and TMS329C6457 DSPs Hardware Design Guide (SPRAAV7) for further details on proper power-supply sequencing.

SM320C6457-HIREL Power_Supply_Sequence_6484.gif Figure 4-7 Power Supply Sequence

Table 4-3 Timing Requirements for Power Supply Sequence

NO. MIN MAX UNIT
1 tsu(DVDD18-DVDD11) Setup Time, DVDD18 and VREFSSTL supplies stable before DVDD11 and CVDD11 supplies stable 0.5 200 ms
2 tsu(DVDD11-DVDD33) Setup Time, DVDD11 and CVDD11 supplies stable before DVDD33 supply stable 0.5 200 ms
3 th(DVDD33-POR) Hold time, POR low after DVDD33 supplies stable 100 µs

4.6.2.1 Power-Supply Decoupling

In order to properly decouple the supply planes from system noise, place as many capacitors (caps) as possible close to the DSP. These caps need to be close to the DSP, no more than 1.25 cm maximum distance to be effective. Physically smaller caps are better, such as 0402, but need to be evaluated from a yield/manufacturing point-of-view. Parasitic inductance limits the effectiveness of the decoupling capacitors, therefore physically smaller capacitors should be used while maintaining the largest available capacitance value. As with the selection of any component, verification of capacitor availability over the product's production lifetime should be considered.

4.6.2.2 Power-Down Operation

One of the power goals for the C6457 is to reduce power dissipation due to unused peripherals. There are different ways to power down peripherals on the device.

After device reset, all peripherals on the C6457 device are in a disabled state and must be enabled by software before being used. It is possible to enable only the peripherals needed by the application while keeping the rest disabled. Note that peripherals in a disabled state are held in reset with their clocks gated. For more information on how to enable peripherals, see Section 5.5.2

Peripherals used for booting, like I2C and HPI, are automatically enabled after device reset. It is possible to disable peripherals used for booting after the boot process is complete. This, too, results in gating of the clock(s) to the powered-down peripheral. Once a peripheral is powered-down, it must remain powered down until the next device reset.

The C64x+ Megamodule also allows for software-driven power-down management for all of the C64x+ megamodule components through its Power-Down Controller (PDC). The CPU can power-down part or the entire C64x+ megamodule through the power-down controller based on its own execution thread or in response to an external stimulus from a host or global controller. More information on the power-down features of the C64x+ Megamodule can be found in the TMS320C64x+ Megamodule Reference Guide (SPRU871).

4.6.2.3 Power Supply to Peripheral I/O Mapping

over recommended ranges of supply voltage and operating case temperature (unless otherwise noted)
POWER SUPPLY I/O BUFFER TYPE ASSOCIATED PERIPHERAL
CVDD Supply core voltage LJCB CORECLK(P|N) PLL input buffers
DDRREFCLK(N|P) PLL input buffers
RIOSGMIICLK(N|P) SERDES PLL input buffers
DVDD18 1.8-V supply I/O voltage LVCMOS (1.8 V) ALTCORECLK PLL input buffer
ALTDDRCLK PLL input buffer
POR/RESET input buffers
All GPIO peripheral I/O buffer
All McBSP0/McBSP1 peripheral I/O buffer
All MDIO peripheral I/O buffer
All Timer0/Timer1 peripheral I/O buffer
NMI input buffers
DDR2 (1.8V) All DDR2 memory controller peripheral I/O buffer
Open-drain (1.8 V) All I2C peripheral I/O buffer
DVDD33 3.3-V supply I/O voltage LVCMOS (3.3 V) All EMIFA peripheral I/O buffer
ALL HPI peripheral I/O buffer
ALL UTOPIA peripheral I/O buffer
VDDA11 SRIO/SGMII SerDes analog supply CML SRIO/SGMII SerDes CML I/O buffer
(1) Please see the TMS320TCI6484 and TMS320C6457 DSPs Hardware Design Guide (SPRAAV7) for more information about individual peripheral I/O.

4.6.3 Reset Timing

Table 4-4 Reset Timing Requirements(1)(2)

(see Figure 4-8 and Figure 4-9)
NO. MIN MAX UNIT
1 th(SUPPLY-POR) Hold Time, POR low after supplies stable and input clocks valid 1000 ns
2 tsu(RESETH-PORH) Setup Time, RESET high to POR high 1000 ns
4 tw(RESET) Pulse Duration, RESET low 24C ns
7 ts(BOOT) Setup time, boot mode and configuration pins valid before POR or RESET high 12C ns
8 th(BOOT) Hold time, bootmode and configuration pins valid after POR or RESET high 12C ns
(1) If CORECLKSEL = 0, C = 1 ÷ CORECLK(N|P) frequency in ns.
(2) If CORECLKSEL = 1, C = 1 ÷ ALTCORECLK frequency in ns.

Table 4-5 Reset Switching Characteristics Over Recommended Operating Conditions

(see Figure 4-8 and Figure 4-9)
NO. PARAMETER MIN MAX UNIT
3 td(PORH-RSTATH) Delay Time, POR high to RESETSTAT high 200 µs
5 td(RESETH-RSTATH) Delay Time, RESET high to RESETSTAT high 5 µs

Table 4-6 Warm Reset Switching Characteristics Over Recommended Operating Conditions

(see Figure 4-9 and Figure 4-10)
NO. PARAMETER MIN MAX UNIT
9 tsu(PORH-RESETL) Setup time, POR high to RESET low 1.34 ns
SM320C6457-HIREL Power_On_Reset_Timing_6484.gif Figure 4-8 Power-On Reset Timing
SM320C6457-HIREL warm_reset_resetstat.gif Figure 4-9 Warm Reset Timing — RESETSTAT Relative to RESET
SM320C6457-HIREL warm_reset_setup_time.gif Figure 4-10 Warm Reset Timing — Setup Time Between POR De-Asserted and RESET Asserted

4.6.4 Clock and Control Signal Transition Behavior

All clocks and control signals must transition between VIH and VIL (or between VIL and VIH) in a monotonic manner.

4.7 Peripherals

This section describes the various peripherals on the C6457 DSP. Peripheral specific information, timing diagrams, electrical specifications and register memory maps are described in this chapter.

4.7.1 Enhanced Direct Memory Access (EDMA3) Controller

The primary purpose of the EDMA3 is to service user-programmed data transfers between two memory-mapped slave endpoints on the device. The EDMA3 services software-driven paging transfers (e.g., data movement between external memory and internal memory), performs sorting or subframe extraction of various data structures, services event-driven peripherals such as a McBSP or the UTOPIA port, and offloads data transfers from the device CPU.

The EDMA3 includes the following features:

  • Fully orthogonal transfer description
    • 3 transfer dimensions:
      • Array (multiple bytes)
      • Frame (multiple arrays)
      • Block (multiple frames)
    • Single event can trigger transfer of array, frame, or entire block
    • Independent indexes on source and destination
  • Flexible transfer definition:
    • Increment or FIFO transfer addressing modes
    • Linking mechanism allows for ping-pong buffering, circular buffering, and repetitive/continuous transfers, all with no CPU intervention
    • Chaining allows multiple transfers to execute with one event
  • 256 PaRAM entries
    • Used to define transfer context for channels
    • Each PaRAM entry can be used as a DMA entry, QDMA entry, or link entry
  • 64 DMA channels
    • Manually triggered (CPU writes to channel controller register), external event triggered, and chain triggered (completion of one transfer triggers another)
  • 8 Quick DMA (QDMA) channels
    • Used for software-driven transfers
    • Triggered upon writing to a single PaRAM set entry
  • 6 transfer controllers and 6 event queues with programmable system-level priority
  • Interrupt generation for transfer completion and error conditions
  • Debug visibility
    • Queue watermarking/threshold allows detection of maximum usage of event queues
    • Error and status recording to facilitate debug

Each of the transfer controllers has a direct connection to the switched central resource (SCR). Table 5-20 lists the peripherals that can be accessed by the transfer controllers.

4.7.1.1 EDMA3 Device-Specific Information

The EDMA supports two addressing modes: constant addressing and increment addressing mode. Constant addressing mode is applicable to a very limited set of use cases; for most applications increment mode can be used. On the C6457 DSP, the EDMA can use constant addressing mode only with the Enhanced Viterbi-Decoder Coprocessor (VCP2) and the Enhanced Turbo Decoder Coprocessor (TCP2). Constant addressing mode is not supported by any other peripheral or internal memory in the C6457 DSP. Note that increment mode is supported by all C6457 peripherals, including VCP2 and TCP2. For more information on these two addressing modes, see the TMS320C6457 DSP Enhanced DMA (EDMA3) Controller User's Guide (SPRUGK6).

A DSP interrupt must be generated at the end of an HPI boot operation to begin execution of the loaded application. Because the DSP interrupt generated by the HPI is mapped to the EDMA event DSP_EVT (DMA channel 0), it will get recorded in bit 0 of the EDMA Event Register (ER). This event must be cleared by software before triggering transfers on DMA channel 0. The EDMA3 on the C6457 DSP supports active memory protection, but it does not support proxied memory protection.

4.7.1.2 EDMA3 Channel Synchronization Events

The EDMA3 supports up to 64 DMA channels that can be used to service system peripherals and to move data between system memories. DMA channels can be triggered by synchronization events generated by system peripherals. Table 4-7 lists the source of the synchronization event associated with each of the DMA channels. On the C6457, the association of each synchronization event and DMA channel is fixed and cannot be reprogrammed.

For more detailed information on the EDMA3 module and how EDMA3 events are enabled, captured, processed, prioritized, linked, chained, and cleared, etc., see theTMS320C6457 DSP Enhanced DMA (EDMA3) Controller User's Guide (SPRUGK6).

Table 4-7 C6457 EDMA3 Channel Synchronization Events(1)

EDMA CHANNEL EVENT NAME EVENT DESCRIPTION
0(2) DSP_EVT HPI-to-DSP event
1 TEVTLO0 Timer 0 Lower Counter Event
2 TEVTHI0 Timer 0 High Counter Event
3 - 8 - None
9 ETBHFULLINT Embedded Trace Buffer (ETB) is half full
10 ETBFULLINT Embedded Trace Buffer (ETB) is full
11 ETBACQINT Embedded Trace Buffer (ETB) acquisition is complete
12 XEVT0 McBSP0 Transmit Event
13 REVT0 McBSP0 Receive Event
14 XEVT1 McBSP1 Transmit Event
15 REVT1 McBSP1 Receive Event
16 TEVTLO1 Timer 1 Lower Counter Event
17 TEVTHI1 Timer 1 High Counter Event
18 - None
19 INTDST0 RapidIO Interrupt 0
20 INTDST1 RapidIO Interrupt 1
21 INTDST2 RapidIO Interrupt 2
22 INTDST3 RapidIO Interrupt 3
23 INTDST4 RapidIO Interrupt 4
24 INTDST5 RapidIO Interrupt 5
25 INTDST6 RapidIO Interrupt 6
26 - 27 - None
28 VCP2REVT VCP2 Receive Event
29 VCP2XEVT VCP2 Transmit Event
30 TCP2AREVT TCP2_A Receive Event
31 TCP2AXEVT TCP2_A Transmit Event
32 UREVT UTOPIA Receive Event
33 TCP2BREVT TCP2_B Receive Event
34 TCP2BXEVT TCP2_B Transmit Event
35 - 39 - None
40 UXEVT UTOPIA Transmit Event
41 - 43 - None
44 ICREVT I2C Receive Event
45 ICXEVT I2C Transmit Event
46 - 47 - None
48 GPINT0 GPIO event 0
49 GPINT1 GPIO event 1
50 GPINT2 GPIO event 2
51 GPINT3 GPIO event 3
52 GPINT4 GPIO event 4
53 GPINT5 GPIO event 5
54 GPINT6 GPIO event 6
55 GPINT7 GPIO event 7
56 GPINT8 GPIO event 8
57 GPINT9 GPIO event 9
58 GPINT10 GPIO event 10
59 GPINT11 GPIO event 11
60 GPINT12 GPIO event 12
61 GPINT13 GPIO event 13
62 GPINT14 GPIO event 14
63 GPINT15 GPIO event 15
(1) In addition to the events shown in this table, each of the 64 channels can also be synchronized with the transfer completion or alternate transfer completion events. For more detailed information on EDMA event-transfer chaining, see theTMS320C6457 DSP Enhanced DMA (EDMA3) Controller User's Guide (SPRUGK6).
(2) HPI boot is terminated using a DSP interrupt. The DSP interrupt is registered in bit 0 (channel 0) of the EDMA Event Register (ER). This event must be cleared by software before triggering transfers on DMA channel 0.

4.7.1.3 EDMA3 Peripheral Register Description(s)

Table 4-8 EDMA3 Registers

HEX ADDRESS ACRONYM REGISTER NAME
02A0 0000 PID Peripheral ID Register
02A0 0004 CCCFG EDMA3CC Configuration Register
02A0 0008 - 02A0 00FC - Reserved
02A0 0100 DCHMAP0 DMA Channel 0 Mapping Register
02A0 0104 DCHMAP1 DMA Channel 1 Mapping Register
02A0 0108 DCHMAP2 DMA Channel 2 Mapping Register
02A0 010C DCHMAP3 DMA Channel 3 Mapping Register
02A0 0110 DCHMAP4 DMA Channel 4 Mapping Register
02A0 0114 DCHMAP5 DMA Channel 5 Mapping Register
02A0 0118 DCHMAP6 DMA Channel 6 Mapping Register
02A0 011C DCHMAP7 DMA Channel 7 Mapping Register
02A0 0120 DCHMAP8 DMA Channel 8 Mapping Register
02A0 0124 DCHMAP9 DMA Channel 9 Mapping Register
02A0 0128 DCHMAP10 DMA Channel 10 Mapping Register
02A0 012C DCHMAP11 DMA Channel 11 Mapping Register
02A0 0130 DCHMAP12 DMA Channel 12 Mapping Register
02A0 0134 DCHMAP13 DMA Channel 13 Mapping Register
02A0 0138 DCHMAP14 DMA Channel 14 Mapping Register
02A0 013C DCHMAP15 DMA Channel 15 Mapping Register
02A0 0140 DCHMAP16 DMA Channel 16 Mapping Register
02A0 0144 DCHMAP17 DMA Channel 17 Mapping Register
02A0 0148 DCHMAP18 DMA Channel 18 Mapping Register
02A0 014C DCHMAP19 DMA Channel 19 Mapping Register
02A0 0150 DCHMAP20 DMA Channel 20 Mapping Register
02A0 0154 DCHMAP21 DMA Channel 21 Mapping Register
02A0 0158 DCHMAP22 DMA Channel 22 Mapping Register
02A0 015C DCHMAP23 DMA Channel 23 Mapping Register
02A0 0160 DCHMAP24 DMA Channel 24 Mapping Register
02A0 0164 DCHMAP25 DMA Channel 25 Mapping Register
02A0 0168 DCHMAP26 DMA Channel 26 Mapping Register
02A0 016C DCHMAP27 DMA Channel 27 Mapping Register
02A0 0170 DCHMAP28 DMA Channel 28 Mapping Register
02A0 0174 DCHMAP29 DMA Channel 29 Mapping Register
02A0 0178 DCHMAP30 DMA Channel 30 Mapping Register
02A0 017C DCHMAP31 DMA Channel 31 Mapping Register
02A0 0180 DCHMAP32 DMA Channel 32 Mapping Register
02A0 0184 DCHMAP33 DMA Channel 33 Mapping Register
02A0 0188 DCHMAP34 DMA Channel 34 Mapping Register
02A0 018C DCHMAP35 DMA Channel 35 Mapping Register
02A0 0190 DCHMAP36 DMA Channel 36 Mapping Register
02A0 0194 DCHMAP37 DMA Channel 37 Mapping Register
02A0 0198 DCHMAP38 DMA Channel 38 Mapping Register
02A0 019C DCHMAP39 DMA Channel 39 Mapping Register
02A0 01A0 DCHMAP40 DMA Channel 40 Mapping Register
02A0 01A4 DCHMAP41 DMA Channel 41 Mapping Register
02A0 01A8 DCHMAP42 DMA Channel 42 Mapping Register
02A0 01AC DCHMAP43 DMA Channel 43 Mapping Register
02A0 01B0 DCHMAP44 DMA Channel 44 Mapping Register
02A0 01B4 DCHMAP45 DMA Channel 45 Mapping Register
02A0 01B8 DCHMAP46 DMA Channel 46 Mapping Register
02A0 01BC DCHMAP47 DMA Channel 47 Mapping Register
02A0 01C0 DCHMAP48 DMA Channel 48 Mapping Register
02A0 01C4 DCHMAP49 DMA Channel 49 Mapping Register
02A0 01C8 DCHMAP50 DMA Channel 50 Mapping Register
02A0 01CC DCHMAP51 DMA Channel 51 Mapping Register
02A0 01D0 DCHMAP52 DMA Channel 52 Mapping Register
02A0 01D4 DCHMAP53 DMA Channel 53 Mapping Register
02A0 01D8 DCHMAP54 DMA Channel 54 Mapping Register
02A0 01DC DCHMAP55 DMA Channel 55 Mapping Register
02A0 01E0 DCHMAP56 DMA Channel 56 Mapping Register
02A0 01E4 DCHMAP57 DMA Channel 57 Mapping Register
02A0 01E8 DCHMAP58 DMA Channel 58 Mapping Register
02A0 01EC DCHMAP59 DMA Channel 59 Mapping Register
02A0 01F0 DCHMAP60 DMA Channel 60 Mapping Register
02A0 01F4 DCHMAP61 DMA Channel 61 Mapping Register
02A0 01F8 DCHMAP62 DMA Channel 62 Mapping Register
02A0 01FC DCHMAP63 DMA Channel 63 Mapping Register
02A0 0200 QCHMAP0 QDMA Channel 0 Mapping Register
02A0 0204 QCHMAP1 QDMA Channel 1 Mapping Register
02A0 0208 QCHMAP2 QDMA Channel 2 Mapping Register
02A0 020C QCHMAP3 QDMA Channel 3 Mapping Register
02A0 0210 QCHMAP4 QDMA Channel 4 Mapping Register
02A0 0214 QCHMAP5 QDMA Channel 5 Mapping Register
02A0 0218 QCHMAP6 QDMA Channel 6 Mapping Register
02A0 021C QCHMAP7 QDMA Channel 7 Mapping Register
02A0 0220 - 02A0 023C - Reserved
02A0 0240 DMAQNUM0 DMA Queue Number Register 0
02A0 0244 DMAQNUM1 DMA Queue Number Register 1
02A0 0248 DMAQNUM2 DMA Queue Number Register 2
02A0 024C DMAQNUM3 DMA Queue Number Register 3
02A0 0250 DMAQNUM4 DMA Queue Number Register 4
02A0 0254 DMAQNUM5 DMA Queue Number Register 5
02A0 0258 DMAQNUM6 DMA Queue Number Register 6
02A0 025C DMAQNUM7 DMA Queue Number Register 7
02A0 0260 QDMAQNUM QDMA Queue Number Register
02A0 0264 - 02A0 027C - Reserved
02A0 0280 QUETCMAP Queue to TC Mapping Register
02A0 0284 QUEPRI Queue Priority Register
02A0 0288 - 02A0 02FC - Reserved
02A0 0300 EMR Event Missed Register
02A0 0304 EMRH Event Missed Register High
02A0 0308 EMCR Event Missed Clear Register
02A0 030C EMCRH Event Missed Clear Register High
02A0 0310 QEMR QDMA Event Missed Register
02A0 0314 QEMCR QDMA Event Missed Clear Register
02A0 0318 CCERR EDMA3CC Error Register
02A0 031C CCERRCLR EDMA3CC Error Clear Register
02A0 0320 EEVAL Error Evaluate Register
02A0 0324 - 02A0 033C - Reserved
02A0 0340 DRAE0 DMA Region Access Enable Register for Region 0
02A0 0344 DRAEH0 DMA Region Access Enable Register High for Region 0
02A0 0348 DRAE1 DMA Region Access Enable Register for Region 1
02A0 034C DRAEH1 DMA Region Access Enable Register High for Region 1
02A0 0350 DRAE2 DMA Region Access Enable Register for Region 2
02A0 0354 DRAEH2 DMA Region Access Enable Register High for Region 2
02A0 0358 DRAE3 DMA Region Access Enable Register for Region 3
02A0 035C DRAEH3 DMA Region Access Enable Register High for Region 3
02A0 0360 DRAE4 DMA Region Access Enable Register for Region 4
02A0 0364 DRAEH4 DMA Region Access Enable Register High for Region 4
02A0 0368 DRAE5 DMA Region Access Enable Register for Region 5
02A0 036C DRAEH5 DMA Region Access Enable Register High for Region 5
02A0 0370 DRAE6 DMA Region Access Enable Register for Region 6
02A0 0374 DRAEH6 DMA Region Access Enable Register High for Region 6
02A0 0378 DRAE7 DMA Region Access Enable Register for Region 7
02A0 037C DRAEH7 DMA Region Access Enable Register High for Region 7
02A0 0380 QRAE0 QDMA Region Access Enable Register for Region 0
02A0 0384 QRAE1 QDMA Region Access Enable Register for Region 1
02A0 0388 QRAE2 QDMA Region Access Enable Register for Region 2
02A0 038C QRAE3 QDMA Region Access Enable Register for Region 3
02A0 0390 QRAE4 QDMA Region Access Enable Register for Region 4
02A0 0394 QRAE5 QDMA Region Access Enable Register for Region 5
02A0 0398 QRAE6 QDMA Region Access Enable Register for Region 6
02A0 039C QRAE7 QDMA Region Access Enable Register for Region 7
02A0 0400 Q0E0 Event Queue 0 Entry Register 0
02A0 0404 Q0E1 Event Queue 0 Entry Register 1
02A0 0408 Q0E2 Event Queue 0 Entry Register 2
02A0 040C Q0E3 Event Queue 0 Entry Register 3
02A0 0410 Q0E4 Event Queue 0 Entry Register 4
02A0 0414 Q0E5 Event Queue 0 Entry Register 5
02A0 0418 Q0E6 Event Queue 0 Entry Register 6
02A0 041C Q0E7 Event Queue 0 Entry Register 7
02A0 0420 Q0E8 Event Queue 0 Entry Register 8
02A0 0424 Q0E9 Event Queue 0 Entry Register 9
02A0 0428 Q0E10 Event Queue 0 Entry Register 10
02A0 042C Q0E11 Event Queue 0 Entry Register 11
02A0 0430 Q0E12 Event Queue 0 Entry Register 12
02A0 0434 Q0E13 Event Queue 0 Entry Register 13
02A0 0438 Q0E14 Event Queue 0 Entry Register 14
02A0 043C Q0E15 Event Queue 0 Entry Register 15
02A0 0440 Q1E0 Event Queue 1 Entry Register 0
02A0 0444 Q1E1 Event Queue 1 Entry Register 1
02A0 0448 Q1E2 Event Queue 1 Entry Register 2
02A0 044C Q1E3 Event Queue 1 Entry Register 3
02A0 0450 Q1E4 Event Queue 1 Entry Register 4
02A0 0454 Q1E5 Event Queue 1 Entry Register 5
02A0 0458 Q1E6 Event Queue 1 Entry Register 6
02A0 045C Q1E7 Event Queue 1 Entry Register 7
02A0 0460 Q1E8 Event Queue 1 Entry Register 8
02A0 0464 Q1E9 Event Queue 1 Entry Register 9
02A0 0468 Q1E10 Event Queue 1 Entry Register 10
02A0 046C Q1E11 Event Queue 1 Entry Register 11
02A0 0470 Q1E12 Event Queue 1 Entry Register 12
02A0 0474 Q1E13 Event Queue 1 Entry Register 13
02A0 0478 Q1E14 Event Queue 1 Entry Register 14
02A0 047C Q1E15 Event Queue 1 Entry Register 15
02A0 0480 Q2E0 Event Queue 2 Entry Register 0
02A0 0484 Q2E1 Event Queue 2 Entry Register 1
02A0 0488 Q2E2 Event Queue 2 Entry Register 2
02A0 048C Q2E3 Event Queue 2 Entry Register 3
02A0 0490 Q2E4 Event Queue 2 Entry Register 4
02A0 0494 Q2E5 Event Queue 2 Entry Register 5
02A0 0498 Q2E6 Event Queue 2 Entry Register 6
02A0 049C Q2E7 Event Queue 2 Entry Register 7
02A0 04A0 Q2E8 Event Queue 2 Entry Register 8
02A0 04A4 Q2E9 Event Queue 2 Entry Register 9
02A0 04A8 Q2E10 Event Queue 2 Entry Register 10
02A0 04AC Q2E11 Event Queue 2 Entry Register 11
02A0 04B0 Q2E12 Event Queue 2 Entry Register 12
02A0 04B4 Q2E13 Event Queue 2 Entry Register 13
02A0 04B8 Q2E14 Event Queue 2 Entry Register 14
02A0 04BC Q2E15 Event Queue 2 Entry Register 15
02A0 04C0 Q3E0 Event Queue 3 Entry Register 0
02A0 04C4 Q3E1 Event Queue 3 Entry Register 1
02A0 04C8 Q3E2 Event Queue 3 Entry Register 2
02A0 04CC Q3E3 Event Queue 3 Entry Register 3
02A0 04D0 Q3E4 Event Queue 3 Entry Register 4
02A0 04D4 Q3E5 Event Queue 3 Entry Register 5
02A0 04D8 Q3E6 Event Queue 3 Entry Register 6
02A0 04DC Q3E7 Event Queue 3 Entry Register 7
02A0 04E0 Q3E8 Event Queue 3 Entry Register 8
02A0 04E4 Q3E9 Event Queue 3 Entry Register 9
02A0 04E8 Q3E10 Event Queue 3 Entry Register 10
02A0 04EC Q3E11 Event Queue 3 Entry Register 11
02A0 04F0 Q3E12 Event Queue 3 Entry Register 12
02A0 04F4 Q3E13 Event Queue 3 Entry Register 13
02A0 04F8 Q3E14 Event Queue 3 Entry Register 14
02A0 04FC Q3E15 Event Queue 3 Entry Register 15
02A0 0500 Q4E0 Event Queue 4 Entry Register 0
02A0 0504 Q4E1 Event Queue 4 Entry Register 1
02A0 0508 Q4E2 Event Queue 4 Entry Register 2
02A0 050C Q4E3 Event Queue 4 Entry Register 3
02A0 0510 Q4E4 Event Queue 4 Entry Register 4
02A0 0514 Q4E5 Event Queue 4 Entry Register 5
02A0 0518 Q4E6 Event Queue 4 Entry Register 6
02A0 051C Q4E7 Event Queue 4 Entry Register 7
02A0 0520 Q4E8 Event Queue 4 Entry Register 8
02A0 0524 Q4E9 Event Queue 4 Entry Register 9
02A0 0528 Q4E10 Event Queue 4 Entry Register 10
02A0 052C Q4E11 Event Queue 4 Entry Register 11
02A0 0530 Q4E12 Event Queue 4 Entry Register 12
02A0 0534 Q4E13 Event Queue 4 Entry Register 13
02A0 0538 Q4E14 Event Queue 4 Entry Register 14
02A0 053C Q4E15 Event Queue 4 Entry Register 15
02A0 0540 - 02A0 05FC - Reserved
02A0 0600 QSTAT0 Queue Status Register 0
02A0 0604 QSTAT1 Queue Status Register 1
02A0 0608 QSTAT2 Queue Status Register 2
02A0 060C QSTAT3 Queue Status Register 3
02A0 0610 QSTAT4 Queue Status Register 4
02A0 0614 QSTAT5 Queue Status Register 5
02A0 0618 - 02A0 061C - Reserved
02A0 0620 QWMTHRA Queue Watermark Threshold A Register
02A0 0624 QWMTHRB Queue Watermark Threshold B Register
02A0 0628 - 02A0 063C - Reserved
02A0 0640 CCSTAT EDMA3CC Status Register
02A0 0644 - 02A0 06FC - Reserved
02A0 0700 - 02A0 07FC - Reserved
02A0 0800 MPFAR Memory Protection Fault Address Register
02A0 0804 MPFSR Memory Protection Fault Status Register
02A0 0808 MPFCR Memory Protection Fault Command Register
02A0 080C MPPAG Memory Protection Page Attribute Register G
02A0 0810 MPPA0 Memory Protection Page Attribute Register 0
02A0 0814 MPPA1 Memory Protection Page Attribute Register 1
02A0 0818 MPPA2 Memory Protection Page Attribute Register 2
02A0 081C MPPA3 Memory Protection Page Attribute Register 3
02A0 0820 MPPA4 Memory Protection Page Attribute Register 4
02A0 0824 MPPA5 Memory Protection Page Attribute Register 5
02A0 0828 MPPA6 Memory Protection Page Attribute Register 6
02A0 082C MPPA7 Memory Protection Page Attribute Register 7
02A0 082C - 02A0 0FFC - Reserved
02A0 1000 ER Event Register
02A0 1004 ERH Event Register High
02A0 1008 ECR Event Clear Register
02A0 100C ECRH Event Clear Register High
02A0 1010 ESR Event Set Register
02A0 1014 ESRH Event Set Register High
02A0 1018 CER Chained Event Register
02A0 101C CERH Chained Event Register High
02A0 1020 EER Event Enable Register
02A0 1024 EERH Event Enable Register High
02A0 1028 EECR Event Enable Clear Register
02A0 102C EECRH Event Enable Clear Register High
02A0 1030 EESR Event Enable Set Register
02A0 1034 EESRH Event Enable Set Register High
02A0 1038 SER Secondary Event Register
02A0 103C SERH Secondary Event Register High
02A0 1040 SECR Secondary Event Clear Register
02A0 1044 SECRH Secondary Event Clear Register High
02A0 1048 - 02A0 104C - Reserved
02A0 1050 IER Interrupt Enable Register
02A0 1054 IERH Interrupt Enable High Register
02A0 1058 IECR Interrupt Enable Clear Register
02A0 105C IECRH Interrupt Enable Clear High Register
02A0 1060 IESR Interrupt Enable Set Register
02A0 1064 IESRH Interrupt Enable Set High Register
02A0 1068 IPR Interrupt Pending Register
02A0 106C IPRH Interrupt Pending High Register
02A0 1070 ICR Interrupt Clear Register
02A0 1074 ICRH Interrupt Clear High Register
02A0 1078 IEVAL Interrupt Evaluate Register
02A0 107C - Reserved
02A0 1080 QER QDMA Event Register
02A0 1084 QEER QDMA Event Enable Register
02A0 1088 QEECR QDMA Event Enable Clear Register
02A0 108C QEESR QDMA Event Enable Set Register
02A0 1090 QSER QDMA Secondary Event Register
02A0 1094 QSECR QDMA Secondary Event Clear Register
02A0 1098 - 02A0 1FFF - Reserved
Shadow Region 0 Channel Registers
02A0 2000 ER Event Register
02A0 2004 ERH Event Register High
02A0 2008 ECR Event Clear Register
02A0 200C ECRH Event Clear Register High
02A0 2010 ESR Event Set Register
02A0 2014 ESRH Event Set Register High
02A0 2018 CER Chained Event Register
02A0 201C CERH Chained Event Register High
02A0 2020 EER Event Enable Register
02A0 2024 EERH Event Enable Register High
02A0 2028 EECR Event Enable Clear Register
02A0 202C EECRH Event Enable Clear Register High
02A0 2030 EESR Event Enable Set Register
02A0 2034 EESRH Event Enable Set Register High
02A0 2038 SER Secondary Event Register
02A0 203C SERH Secondary Event Register High
02A0 2040 SECR Secondary Event Clear Register
02A0 2044 SECRH Secondary Event Clear Register High
02A0 2048 - 02A0 204C - Reserved
02A0 2050 IER Interrupt Enable Register
02A0 2054 IERH Interrupt Enable Register High
02A0 2058 IECR Interrupt Enable Clear Register
02A0 205C IECRH Interrupt Enable Clear Register High
02A0 2060 IESR Interrupt Enable Set Register
02A0 2064 IESRH Interrupt Enable Set Register High
02A0 2068 IPR Interrupt Pending Register
02A0 206C IPRH Interrupt Pending Register High
02A0 2070 ICR Interrupt Clear Register
02A0 2074 ICRH Interrupt Clear Register High
02A0 2078 IEVAL Interrupt Evaluate Register
02A0 207C - Reserved
02A0 2080 QER QDMA Event Register
02A0 2084 QEER QDMA Event Enable Register
02A0 2088 QEECR QDMA Event Enable Clear Register
02A0 208C QEESR QDMA Event Enable Set Register
02A0 2090 QSER QDMA Secondary Event Register
02A0 2094 QSECR QDMA Secondary Event Clear Register
02A0 2098 - 02A0 21FF - Reserved
Shadow Region 1 Channel Registers
02A0 2200 ER Event Register
02A0 2204 ERH Event Register High
02A0 2208 ECR Event Clear Register
02A0 220C ECRH Event Clear Register High
02A0 2210 ESR Event Set Register
02A0 2214 ESRH Event Set Register High
02A0 2218 CER Chained Event Register
02A0 221C CERH Event Enable Register
02A0 2220 EER Event Enable Register High
02A0 2224 EERH Event Enable Clear Register
02A0 2228 EECR Event Enable Clear Register High
02A0 222C EECRH Event Enable Set Register
02A0 2230 EESR Event Enable Set Register High
02A0 2234 EESRH Secondary Event Register
02A0 2238 SER Secondary Event Register High
02A0 223C SERH Secondary Event Clear Register
02A0 2240 SECR Secondary Event Clear Register High
02A0 2244 SECRH Reserved
02A0 2248 - 02A0 224C - Interrupt Enable Register
02A0 2250 IER Interrupt Enable Register High
02A0 2254 IERH Interrupt Enable Clear Register
02A0 2258 IECR Interrupt Enable Clear Register High
02A0 225C IECRH Interrupt Enable Set Register
02A0 2260 IESR Interrupt Enable Set Register High
02A0 2264 IESRH Interrupt Pending Register
02A0 2268 IPR Interrupt Pending Register High
02A0 226C IPRH Interrupt Clear Register
02A0 2270 ICR Interrupt Clear Register High
02A0 2274 ICRH Interrupt Evaluate Register
02A0 2278 IEVAL Reserved
02A0 227C - QDMA Event Register
02A0 2280 QER
02A0 2284 QEER QDMA Event Enable Register
02A0 2288 QEECR QDMA Event Enable Clear Register
02A0 228C QEESR QDMA Event Enable Set Register
02A0 2290 QSER QDMA Secondary Event Register
02A0 2294 QSECR QDMA Secondary Event Clear Register
02A0 2298 - 02A0 23FF - Reserved
Shadow Region 2 Channel Registers
02A0 2400 ER Event Register
02A0 2404 ERH Event Register High
02A0 2408 ECR Event Clear Register
02A0 240C ECRH Event Clear Register High
02A0 2410 ESR Event Set Register
02A0 2414 ESRH Event Set Register High
02A0 2418 CER Chained Event Register
02A0 241C CERH Chained Event Register High
02A0 2420 EER Event Enable Register
02A0 2424 EERH Event Enable Register High
02A0 2428 EECR Event Enable Clear Register
02A0 242C EECRH Event Enable Clear Register High
02A0 2430 EESR Event Enable Set Register
02A0 2434 EESRH Event Enable Set Register High
02A0 2438 SER Secondary Event Register
02A0 243C SERH Secondary Event Register High
02A0 2440 SECR Secondary Event Clear Register
02A0 2444 SECRH Secondary Event Clear Register High
02A0 2448 - 02A0 244C - Reserved
02A0 2450 IER Interrupt Enable Register
02A0 2454 IERH Interrupt Enable Register High
02A0 2458 IECR Interrupt Enable Clear Register
02A0 245C IECRH Interrupt Enable Clear Register High
02A0 2460 IESR Interrupt Enable Set Register
02A0 2464 IESRH Interrupt Enable Set Register High
02A0 2468 IPR Interrupt Pending Register
02A0 246C IPRH Interrupt Pending Register High
02A0 2470 ICR Interrupt Clear Register
02A0 2474 ICRH Interrupt Clear Register High
02A0 2478 IEVAL Interrupt Evaluate Register
02A0 247C - Reserved
02A0 2480 QER QDMA Event Register
02A0 2484 QEER QDMA Event Enable Register
02A0 2488 QEECR QDMA Event Enable Clear Register
02A0 248C QEESR QDMA Event Enable Set Register
02A0 2490 QSER QDMA Secondary Event Register
02A0 2494 QSECR QDMA Secondary Event Clear Register
02A0 2498 - 02A0 25FF - Reserved
Shadow Region 3 Channel Registers
02A0 2600 ER Event Register
02A0 2604 ERH Event Register High
02A0 2608 ECR Event Clear Register
02A0 260C ECRH Event Clear Register High
02A0 2610 ESR Event Set Register
02A0 2614 ESRH Event Set Register High
02A0 2618 CER Chained Event Register
02A0 261C CERH Chained Event Register High
02A0 2620 EER Event Enable Register
02A0 2624 EERH Event Enable Register High
02A0 2628 EECR Event Enable Clear Register
02A0 262C EECRH Event Enable Clear Register High
02A0 2630 EESR Event Enable Set Register
02A0 2634 EESRH Event Enable Set Register High
02A0 2638 SER Secondary Event Register
02A0 263C SERH Secondary Event Register High
02A0 2640 SECR Secondary Event Clear Register
02A0 2644 SECRH Secondary Event Clear Register High
02A0 2648 - 02A0 264C - Reserved
02A0 2650 IER Interrupt Enable Register
02A0 2654 IERH Interrupt Enable Register High
02A0 2658 IECR Interrupt Enable Clear Register
02A0 265C IECRH Interrupt Enable Clear Register High
02A0 2660 IESR Interrupt Enable Set Register
02A0 2664 IESRH Interrupt Enable Set Register High
02A0 2668 IPR Interrupt Pending Register
02A0 266C IPRH Interrupt Pending Register High
02A0 2670 ICR Interrupt Clear Register
02A0 2674 ICRH Interrupt Clear Register High
02A0 2678 IEVAL Interrupt Evaluate Register
02A0 267C - Reserved
02A0 2680 QER QDMA Event Register
02A0 2684 QEER QDMA Event Enable Register
02A0 2688 QEECR QDMA Event Enable Clear Register
02A0 268C QEESR QDMA Event Enable Set Register
02A0 2690 QSER QDMA Secondary Event Register
02A0 2694 QSECR QDMA Secondary Event Clear Register
02A0 2698 - 02A0 27FF - Reserved
Shadow Region 4 Channel Registers
02A0 2800 ER Event Register
02A0 2804 ERH Event Register High
02A0 2808 ECR Event Clear Register
02A0 280C ECRH Event Clear Register High
02A0 2810 ESR Event Set Register
02A0 2814 ESRH Event Set Register High
02A0 2818 CER Chained Event Register
02A0 281C CERH Chained Event Register High
02A0 2820 EER Event Enable Register
02A0 2824 EERH Event Enable Register High
02A0 2828 EECR Event Enable Clear Register
02A0 282C EECRH Event Enable Clear Register High
02A0 2830 EESR Event Enable Set Register
02A0 2834 EESRH Event Enable Set Register High
02A0 2838 SER Secondary Event Register
02A0 283C SERH Secondary Event Register High
02A0 2840 SECR Secondary Event Clear Register
02A0 2844 SECRH Secondary Event Clear Register High
02A0 2848 - 02A0 284C - Reserved
02A0 2850 IER Interrupt Enable Register
02A0 2854 IERH Interrupt Enable Register High
02A0 2858 IECR Interrupt Enable Clear Register
02A0 285C IECRH Interrupt Enable Clear Register High
02A0 2860 IESR Interrupt Enable Set Register
02A0 2864 IESRH Interrupt Enable Set Register High
02A0 2868 IPR Interrupt Pending Register
02A0 286C IPRH Interrupt Pending Register High
02A0 2870 ICR Interrupt Clear Register
02A0 2874 ICRH Interrupt Clear Register High
02A0 2878 IEVAL Interrupt Evaluate Register
02A0 287C - Reserved
02A0 2880 QER QDMA Event Register
02A0 2884 QEER QDMA Event Enable Register
02A0 2888 QEECR QDMA Event Enable Clear Register
02A0 288C QEESR QDMA Event Enable Set Register
02A0 2890 QSER QDMA Secondary Event Register
02A0 2894 QSECR QDMA Secondary Event Clear Register
02A0 2898 - 02A0 29FF - Reserved
Shadow Region 5 Channel Registers
02A0 2A00 ER Event Register
02A0 2A04 ERH Event Register High
02A0 2A08 ECR Event Clear Register
02A0 2A0C ECRH Event Clear Register High
02A0 2A10 ESR Event Set Register
02A0 2A14 ESRH Event Set Register High
02A0 2A18 CER Chained Event Register
02A0 2A1C CERH Chained Event Register High
02A0 2A20 EER Event Enable Register
02A0 2A24 EERH Event Enable Register High
02A0 2A28 EECR Event Enable Clear Register
02A0 2A2C EECRH Event Enable Clear Register High
02A0 2A30 EESR Event Enable Set Register
02A0 2A34 EESRH Event Enable Set Register High
02A0 2A38 SER Secondary Event Register
02A0 2A3C SERH Secondary Event Register High
02A0 2A40 SECR Secondary Event Clear Register
02A0 2A44 SECRH Secondary Event Clear Register High
02A0 2A48 - 02A0 2A4C - Reserved
02A0 2A50 IER Interrupt Enable Register
02A0 2A54 IERH Interrupt Enable Register High
02A0 2A58 IECR Interrupt Enable Clear Register
02A0 2A5C IECRH Interrupt Enable Clear Register High
02A0 2A60 IESR Interrupt Enable Set Register
02A0 2A64 IESRH Interrupt Enable Set Register High
02A0 2A68 IPR Interrupt Pending Register
02A0 2A6C IPRH Interrupt Pending Register High
02A0 2A70 ICR Interrupt Clear Register
02A0 2A74 ICRH Interrupt Clear Register High
02A0 2A78 IEVAL Interrupt Evaluate Register
02A0 2A7C - Reserved
02A0 2A80 QER QDMA Event Register
02A0 2A84 QEER QDMA Event Enable Register
02A0 2A88 QEECR QDMA Event Enable Clear Register
02A0 2A8C QEESR QDMA Event Enable Set Register
02A0 2A90 QSER QDMA Secondary Event Register
02A0 2A94 QSECR QDMA Secondary Event Clear Register
02A0 2A98 - 02A0 2BFF - Reserved
Shadow Region 6 Channel Registers
02A0 2C00 ER Event Register
02A0 2C04 ERH Event Register High
02A0 2C08 ECR Event Clear Register
02A0 2C0C ECRH Event Clear Register High
02A0 2C10 ESR Event Set Register
02A0 2C14 ESRH Event Set Register High
02A0 2C18 CER Chained Event Register
02A0 2C1C CERH Chained Event Register High
02A0 2C20 EER Event Enable Register
02A0 2C24 EERH Event Enable Register High
02A0 2C28 EECR Event Enable Clear Register
02A0 2C2C EECRH Event Enable Clear Register High
02A0 2C30 EESR Event Enable Set Register
02A0 2C34 EESRH Event Enable Set Register High
02A0 2C38 SER Secondary Event Register
02A0 2C3C SERH Secondary Event Register High
02A0 2C40 SECR Secondary Event Clear Register
02A0 2C44 SECRH Secondary Event Clear Register High
02A0 2C48 - 02A0 2C4C - Reserved
02A0 2C50 IER Interrupt Enable Register
02A0 2C54 IERH Interrupt Enable Register High
02A0 2C58 IECR Interrupt Enable Clear Register
02A0 2C5C IECRH Interrupt Enable Clear Register High
02A0 2C60 IESR Interrupt Enable Set Register
02A0 2C64 IESRH Interrupt Enable Set Register High
02A0 2C68 IPR Interrupt Pending Register
02A0 2C6C IPRH Interrupt Pending Register High
02A0 2C70 ICR Interrupt Clear Register
02A0 2C74 ICRH Interrupt Clear Register High
02A0 2C78 IEVAL Interrupt Evaluate Register
02A0 2C7C - Reserved
02A0 2C80 QER QDMA Event Register
02A0 2C84 QEER QDMA Event Enable Register
02A0 2C88 QEECR QDMA Event Enable Clear Register
02A0 2C8C QEESR QDMA Event Enable Set Register
02A0 2C90 QSER QDMA Secondary Event Register
02A0 2C94 QSECR QDMA Secondary Event Clear Register
02A0 2C98 - 02A0 2DFF - Reserved
Shadow Region 7 Channel Registers
02A0 2E00 ER Event Register
02A0 2E04 ERH Event Register High
02A0 2E08 ECR Event Clear Register
02A0 2E0C ECRH Event Clear Register High
02A0 2E10 ESR Event Set Register
02A0 2E14 ESRH Event Set Register High
02A0 2E18 CER Chained Event Register
02A0 2E1C CERH Chained Event Register High
02A0 2E20 EER Event Enable Register
02A0 2E24 EERH Event Enable Register High
02A0 2E28 EECR Event Enable Clear Register
02A0 2E2C EECRH Event Enable Clear Register High
02A0 2E30 EESR Event Enable Set Register
02A0 2E34 EESRH Event Enable Set Register High
02A0 2E38 SER Secondary Event Register
02A0 2E3C SERH Secondary Event Register High
02A0 2E40 SECR Secondary Event Clear Register
02A0 2E44 SECRH Secondary Event Clear Register High
02A0 2E48 - 02A0 2E4C - Reserved
02A0 2E50 IER Interrupt Enable Register
02A0 2E54 IERH Interrupt Enable Register High
02A0 2E58 IECR Interrupt Enable Clear Register
02A0 2E5C IECRH Interrupt Enable Clear Register High
02A0 2E60 IESR Interrupt Enable Set Register
02A0 2E64 IESRH Interrupt Enable Set Register High
02A0 2E68 IPR Interrupt Pending Register
02A0 2E6C IPRH Interrupt Pending Register High
02A0 2E70 ICR Interrupt Clear Register
02A0 2E74 ICRH Interrupt Clear Register High
02A0 2E78 IEVAL Interrupt Evaluate Register
02A0 2E7C - Reserved
02A0 2E80 QER QDMA Event Register
02A0 2E84 QEER QDMA Event Enable Register
02A0 2E88 QEECR QDMA Event Enable Clear Register
02A0 2E8C QEESR QDMA Event Enable Set Register
02A0 2E90 QSER QDMA Secondary Event Register
02A0 2E94 QSECR QDMA Secondary Event Clear Register
02A0 2E98 - 02A0 2FFF - Reserved

Table 4-9 EDMA3 Parameter RAM

HEX ADDRESS RANGE ACRONYM REGISTER NAME
02A0 4000 - 02A0 401F - Parameter Set 0
02A0 4020 - 02A0 403F - Parameter Set 1
02A0 4040 - 02A0 405F - Parameter Set 2
02A0 4060 - 02A0 407F - Parameter Set 3
02A0 4080 - 02A0 409F - Parameter Set 4
02A0 40A0 - 02A0 40BF - Parameter Set 5
02A0 40C0 - 02A0 40DF - Parameter Set 6
02A0 40E0 - 02A0 40FF - Parameter Set 7
02A0 4100 - 02A0 411F - Parameter Set 8
02A0 4120 - 02A0 413F - Parameter Set 9
... ...
02A0 47E0 - 02A0 47FF - Parameter Set 63
02A0 4800 - 02A0 481F - Parameter Set 64
02A0 4820 - 02A0 483F - Parameter Set 65
... ...
02A0 5FC0 - 02A0 5FDF - Parameter Set 254
02A0 5FE0 - 02A0 5FFF - Parameter Set 255

Table 4-10 EDMA3 Transfer Controller 0 Registers

HEX ADDRESS RANGE ACRONYM REGISTER NAME
02A2 0000 PID Peripheral Identification Register
02A2 0004 TCCFG EDMA3TC Configuration Register
02A2 0008 - 02A2 00FC - Reserved
02A2 0100 TCSTAT EDMA3TC Channel Status Register
02A2 0104 - 02A2 011C - Reserved
02A2 0120 ERRSTAT Error Register
02A2 0124 ERREN Error Enable Register
02A2 0128 ERRCLR Error Clear Register
02A2 012C ERRDET Error Details Register
02A2 0130 ERRCMD Error Interrupt Command Register
02A2 0134 - 02A2 013C - Reserved
02A2 0140 RDRATE Read Rate Register
02A2 0144 - 02A2 023C - Reserved
02A2 0240 SAOPT Source Active Options Register
02A2 0244 SASRC Source Active Source Address Register
02A2 0248 SACNT Source Active Count Register
02A2 024C SADST Source Active Destination Address Register
02A2 0250 SABIDX Source Active Source B-Index Register
02A2 0254 SAMPPRXY Source Active Memory Protection Proxy Register
02A2 0258 SACNTRLD Source Active Count Reload Register
02A2 025C SASRCBREF Source Active Source Address B-Reference Register
02A2 0260 SADSTBREF Source Active Destination Address B-Reference Register
02A2 0264 - 02A2 027C - Reserved
02A2 0280 DFCNTRLD Destination FIFO Set Count Reload
02A2 0284 DFSRCBREF Destination FIFO Set Destination Address B Reference Register
02A2 0288 DFDSTBREF Destination FIFO Set Destination Address B Reference Register
02A2 028C - 02A2 02FC - Reserved
02A2 0300 DFOPT0 Destination FIFO Options Register 0
02A2 0304 DFSRC0 Destination FIFO Source Address Register 0
02A2 0308 DFCNT0 Destination FIFO Count Register 0
02A2 030C DFDST0 Destination FIFO Destination Address Register 0
02A2 0310 DFBIDX0 Destination FIFO BIDX Register 0
02A2 0314 DFMPPRXY0 Destination FIFO Memory Protection Proxy Register 0
02A2 0318 - 02A2 033C - Reserved
02A2 0340 DFOPT1 Destination FIFO Options Register 1
02A2 0344 DFSRC1 Destination FIFO Source Address Register 1
02A2 0348 DFCNT1 Destination FIFO Count Register 1
02A2 034C DFDST1 Destination FIFO Destination Address Register 1
02A2 0350 DFBIDX1 Destination FIFO BIDX Register 1
02A2 0354 DFMPPRXY1 Destination FIFO Memory Protection Proxy Register 1
02A2 0358 - 02A2 037C - Reserved
02A2 0380 DFOPT2 Destination FIFO Options Register 2
02A2 0384 DFSRC2 Destination FIFO Source Address Register 2
02A2 0388 DFCNT2 Destination FIFO Count Register 2
02A2 038C DFDST2 Destination FIFO Destination Address Register 2
02A2 0390 DFBIDX2 Destination FIFO BIDX Register 2
02A2 0394 DFMPPRXY2 Destination FIFO Memory Protection Proxy Register 2
02A2 0398 - 02A2 03BC - Reserved
02A2 03C0 DFOPT3 Destination FIFO Options Register 3
02A2 03C4 DFSRC3 Destination FIFO Source Address Register 3
02A2 03C8 DFCNT3 Destination FIFO Count Register 3
02A2 03CC DFDST3 Destination FIFO Destination Address Register 3
02A2 03D0 DFBIDX3 Destination FIFO BIDX Register 3
02A2 03D4 DFMPPRXY3 Destination FIFO Memory Protection Proxy Register 3
02A2 03D8 - 02A2 7FFC - Reserved

Table 4-11 EDMA3 Transfer Controller 1 Registers

HEX ADDRESS RANGE ACRONYM REGISTER NAME
02A2 8000 PID Peripheral Identification Register
02A2 8004 TCCFG EDMA3TC Configuration Register
02A2 8008 - 02A2 80FC - Reserved
02A2 8100 TCSTAT EDMA3TC Channel Status Register
02A2 8104 - 02A2 811C - Reserved
02A2 8120 ERRSTAT Error Register
02A2 8124 ERREN Error Enable Register
02A2 8128 ERRCLR Error Clear Register
02A2 812C ERRDET Error Details Register
02A2 8130 ERRCMD Error Interrupt Command Register
02A2 8134 - 02A2 813C - Reserved
02A2 8140 RDRATE Read Rate Register
02A2 8144 - 02A2 823C - Reserved
02A2 8240 SAOPT Source Active Options Register
02A2 8244 SASRC Source Active Source Address Register
02A2 8248 SACNT Source Active Count Register
02A2 824C SADST Source Active Destination Address Register
02A2 8250 SABIDX Source Active Source B-Index Register
02A2 8254 SAMPPRXY Source Active Memory Protection Proxy Register
02A2 8258 SACNTRLD Source Active Count Reload Register
02A2 825C SASRCBREF Source Active Source Address B-Reference Register
02A2 8260 SADSTBREF Source Active Destination Address B-Reference Register
02A2 8264 - 02A2 827C - Reserved
02A2 8280 DFCNTRLD Destination FIFO Set Count Reload
02A2 8284 DFSRCBREF Destination FIFO Set Destination Address B Reference Register
02A2 8288 DFDSTBREF Destination FIFO Set Destination Address B Reference Register
02A2 828C - 02A2 82FC - Reserved
02A2 8300 DFOPT0 Destination FIFO Options Register 0
02A2 8304 DFSRC0 Destination FIFO Source Address Register 0
02A2 8308 DFCNT0 Destination FIFO Count Register 0
02A2 830C DFDST0 Destination FIFO Destination Address Register 0
02A2 8310 DFBIDX0 Destination FIFO BIDX Register 0
02A2 8314 DFM PPRXY0 Destination FIFO Memory Protection Proxy Register 0
02A2 8318 - 02A2 833C - Reserved
02A2 8340 DFOPT1 Destination FIFO Options Register 1
02A2 8344 DFSRC1 Destination FIFO Source Address Register 1
02A2 8348 DFCNT1 Destination FIFO Count Register 1
02A2 834C DFDST1 Destination FIFO Destination Address Register 1
02A2 8350 DFBIDX1 Destination FIFO BIDX Register 1
02A2 8354 DFMPPRXY1 Destination FIFO Memory Protection Proxy Register 1
02A2 8358 - 02A2 837C - Reserved
02A2 8380 DFOPT2 Destination FIFO Options Register 2
02A2 8384 DFSRC2 Destination FIFO Source Address Register 2
02A2 8388 DFCNT2 Destination FIFO Count Register 2
02A2 838C DFDST2 Destination FIFO Destination Address Register 2
02A2 8390 DFBIDX2 Destination FIFO BIDX Register 2
02A2 8394 DFMPPRXY2 Destination FIFO Memory Protection Proxy Register 2
02A2 8398 - 02A2 83BC - Reserved
02A2 83C0 DFOPT3 Destination FIFO Options Register 3
02A2 83C4 DFSRC3 Destination FIFO Source Address Register 3
02A2 83C8 DFCNT3 Destination FIFO Count Register 3
02A2 83CC DFDST3 Destination FIFO Destination Address Register 3
02A2 83D0 DFBIDX3 Destination FIFO BIDX Register 3
02A2 83D4 DFMPPRXY3 Destination FIFO Memory Protection Proxy Register 3
02A2 83D8 - 02A2 FFFC - Reserved

Table 4-12 EDMA3 Transfer Controller 2 Registers

HEX ADDRESS RANGE ACRONYM REGISTER NAME
02A3 0000 PID Peripheral Identification Register
02A3 0004 TCCFG EDMA3TC Configuration Register
02A3 0008 - 02A3 00FC - Reserved
02A3 0100 TCSTAT EDMA3TC Channel Status Register
02A3 0104 - 02A3 011C - Reserved
02A3 0120 ERRSTAT Error Register
02A3 0124 ERREN Error Enable Register
02A3 0128 ERRCLR Error Clear Register
02A3 012C ERRDET Error Details Register
02A3 0130 ERRCMD Error Interrupt Command Register
02A3 0134 - 02A3 013C - Reserved
02A3 0140 RDRATE Read Rate Register
02A3 0144 - 02A3 023C - Reserved
02A3 0240 SAOPT Source Active Options Register
02A3 0244 SASRC Source Active Source Address Register
02A3 0248 SACNT Source Active Count Register
02A3 024C SADST Source Active Destination Address Register
02A3 0250 SABIDX Source Active Source B-Index Register
02A3 0254 SAMPPRXY Source Active Memory Protection Proxy Register
02A3 0258 SACNTRLD Source Active Count Reload Register
02A3 025C SASRCBREF Source Active Source Address B-Reference Register
02A3 0260 SADSTBREF Source Active Destination Address B-Reference Register
02A3 0264 - 02A3 027C - Reserved
02A3 0280 DFCNTRLD Destination FIFO Set Count Reload
02A3 0284 DFSRCBREF Destination FIFO Set Destination Address B Reference Register
02A3 0288 DFDSTBREF Destination FIFO Set Destination Address B Reference Register
02A3 028C - 02A3 02FC - Reserved
02A3 0300 DFOPT0 Destination FIFO Options Register 0
02A3 0304 DFSRC0 Destination FIFO Source Address Register 0
02A3 0308 DFCNT0 Destination FIFO Count Register 0
02A3 030C DFDST0 Destination FIFO Destination Address Register 0
02A3 0310 DFBIDX0 Destination FIFO BIDX Register 0
02A3 0314 DFMPPRXY0 Destination FIFO Memory Protection Proxy Register 0
02A3 0318 - 02A3 033C - Reserved
02A3 0340 DFOPT1 Destination FIFO Options Register 1
02A3 0344 DFSRC1 Destination FIFO Source Address Register 1
02A3 0348 DFCNT1 Destination FIFO Count Register 1
02A3 034C DFDST1 Destination FIFO Destination Address Register 1
02A3 0350 DFBIDX1 Destination FIFO BIDX Register 1
02A3 0354 DFMPPRXY1 Destination FIFO Memory Protection Proxy Register 1
02A3 0358 - 02A3 037C - Reserved
02A3 0380 DFOPT2 Destination FIFO Options Register 2
02A3 0384 DFSRC2 Destination FIFO Source Address Register 2
02A3 0388 DFCNT2 Destination FIFO Count Register 2
02A3 038C DFDST2 Destination FIFO Destination Address Register 2
02A3 0390 DFBIDX2 Destination FIFO BIDX Register 2
02A3 0394 DFMPPRXY2 Destination FIFO Memory Protection Proxy Register 2
02A3 0398 - 02A3 03BC - Reserved
02A3 03C0 DFOPT3 Destination FIFO Options Register 3
02A3 03C4 DFSRC3 Destination FIFO Source Address Register 3
02A3 03C8 DFCNT3 Destination FIFO Count Register 3
02A3 03CC DFDST3 Destination FIFO Destination Address Register 3
02A3 03D0 DFBIDX3 Destination FIFO BIDX Register 3
02A3 03D4 DFMPPRXY3 Destination FIFO Memory Protection Proxy Register 3
02A3 03D8 - 02A3 7FFC - Reserved

Table 4-13 EDMA3 Transfer Controller 3 Registers

HEX ADDRESS RANGE ACRONYM REGISTER NAME
02A3 8000 PID Peripheral Identification Register
02A3 8004 TCCFG EDMA3TC Configuration Register
02A3 8008 - 02A3 80FC - Reserved
02A3 8100 TCSTAT EDMA3TC Channel Status Register
02A3 8104 - 02A3 811C - Reserved
02A3 8120 ERRSTAT Error Register
02A3 8124 ERREN Error Enable Register
02A3 8128 ERRCLR Error Clear Register
02A3 812C ERRDET Error Details Register
02A3 8130 ERRCMD Error Interrupt Command Register
02A3 8134 - 02A3 813C - Reserved
02A3 8140 RDRATE Read Rate Register
02A3 8144 - 02A3 823C - Reserved
02A3 8240 SAOPT Source Active Options Register
02A3 8244 SASRC Source Active Source Address Register
02A3 8248 SACNT Source Active Count Register
02A3 824C SADST Source Active Destination Address Register
02A3 8250 SABIDX Source Active Source B-Index Register
02A3 8254 SAMPPRXY Source Active Memory Protection Proxy Register
02A3 8258 SACNTRLD Source Active Count Reload Register
02A3 825C SASRCBREF Source Active Source Address B-Reference Register
02A3 8260 SADSTBREF Source Active Destination Address B-Reference Register
02A3 8264 - 02A3 827C - Reserved
02A3 8280 DFCNTRLD Destination FIFO Set Count Reload
02A3 8284 DFSRCBREF Destination FIFO Set Destination Address B Reference Register
02A3 8288 DFDSTBREF Destination FIFO Set Destination Address B Reference Register
02A3 828C - 02A3 82FC - Reserved
02A3 8300 DFOPT0 Destination FIFO Options Register 0
02A3 8304 DFSRC0 Destination FIFO Source Address Register 0
02A3 8308 DFCNT0 Destination FIFO Count Register 0
02A3 830C DFDST0 Destination FIFO Destination Address Register 0
02A3 8310 DFBIDX0 Destination FIFO BIDX Register 0
02A3 8314 DFMPPRXY0 Destination FIFO Memory Protection Proxy Register 0
02A3 8318 - 02A3 833C - Reserved
02A3 8340 DFOPT1 Destination FIFO Options Register 1
02A3 8344 DFSRC1 Destination FIFO Source Address Register 1
02A3 8348 DFCNT1 Destination FIFO Count Register 1
02A3 834C DFDST1 Destination FIFO Destination Address Register 1
02A3 8350 DFBIDX1 Destination FIFO BIDX Register 1
02A3 8354 DFMPPRXY1 Destination FIFO Memory Protection Proxy Register 1
02A3 8358 - 02A3 837C - Reserved
02A3 8380 DFOPT2 Destination FIFO Options Register 2
02A3 8384 DFSRC2 Destination FIFO Source Address Register 2
02A3 8388 DFCNT2 Destination FIFO Count Register 2
02A3 838C DFDST2 Destination FIFO Destination Address Register 2
02A3 8390 DFBIDX2 Destination FIFO BIDX Register 2
02A3 8394 DFMPPRXY2 Destination FIFO Memory Protection Proxy Register 2
02A3 8398 - 02A3 83BC - Reserved
02A3 83C0 DFOPT3 Destination FIFO Options Register 3
02A3 83C4 DFSRC3 Destination FIFO Source Address Register 3
02A3 83C8 DFCNT3 Destination FIFO Count Register 3
02A3 83CC DFDST3 Destination FIFO Destination Address Register 3
02A3 83D0 DFBIDX3 Destination FIFO BIDX Register 3
02A3 83D4 DFMPPRXY3 Destination FIFO Memory Protection Proxy Register 3
02A3 83D8 - 02A3 FFFC - Reserved

Table 4-14 EDMA3 Transfer Controller 4 Registers

HEX ADDRESS RANGE ACRONYM REGISTER NAME
02A4 0000 PID Peripheral Identification Register
02A4 0004 TCCFG EDMA3TC Configuration Register
02A4 0008 - 02A4 00FC - Reserved
02A4 0100 TCSTAT EDMA3TC Channel Status Register
02A4 0104 - 02A4 011C - Reserved
02A4 0120 ERRSTAT Error Register
02A4 0124 ERREN Error Enable Register
02A4 0128 ERRCLR Error Clear Register
02A4 012C ERRDET Error Details Register
02A4 0130 ERRCMD Error Interrupt Command Register
02A4 0134 - 02A4 013C - Reserved
02A4 0140 RDRATE Read Rate Register
02A4 0144 - 02A4 023C - Reserved
02A4 0240 SAOPT Source Active Options Register
02A4 0244 SASRC Source Active Source Address Register
02A4 0248 SACNT Source Active Count Register
02A4 024C SADST Source Active Destination Address Register
02A4 0250 SABIDX Source Active Source B-Index Register
02A4 0254 SAMPPRXY Source Active Memory Protection Proxy Register
02A4 0258 SACNTRLD Source Active Count Reload Register
02A4 025C SASRCBREF Source Active Source Address B-Reference Register
02A4 0260 SADSTBREF Source Active Destination Address B-Reference Register
02A4 0264 - 02A4 027C - Reserved
02A4 0280 DFCNTRLD Destination FIFO Set Count Reload
02A4 0284 DFSRCBREF Destination FIFO Set Destination Address B Reference Register
02A4 0288 DFDSTBREF Destination FIFO Set Destination Address B Reference Register
02A4 028C - 02A4 02FC - Reserved
02A4 0300 DFOPT0 Destination FIFO Options Register 0
02A4 0304 DFSRC0 Destination FIFO Source Address Register 0
02A4 0308 DFCNT0 Destination FIFO Count Register 0
02A4 030C DFDST0 Destination FIFO Destination Address Register 0
02A4 0310 DFBIDX0 Destination FIFO BIDX Register 0
02A4 0314 DFMPPRXY0 Destination FIFO Memory Protection Proxy Register 0
02A4 0318 - 02A4 033C - Reserved
02A4 0340 DFOPT1 Destination FIFO Options Register 1
02A4 0344 DFSRC1 Destination FIFO Source Address Register 1
02A4 0348 DFCNT1 Destination FIFO Count Register 1
02A4 034C DFDST1 Destination FIFO Destination Address Register 1
02A4 0350 DFBIDX1 Destination FIFO BIDX Register 1
02A4 0354 DFMPPRXY1 Destination FIFO Memory Protection Proxy Register 1
02A4 0358 - 02A4 037C - Reserved
02A4 0380 DFOPT2 Destination FIFO Options Register 2
02A4 0384 DFSRC2 Destination FIFO Source Address Register 2
02A4 0388 DFCNT2 Destination FIFO Count Register 2
02A4 038C DFDST2 Destination FIFO Destination Address Register 2
02A4 0390 DFBIDX2 Destination FIFO BIDX Register 2
02A4 0394 DFMPPRXY2 Destination FIFO Memory Protection Proxy Register 2
02A4 0398 - 02A4 03BC - Reserved
02A4 03C0 DFOPT3 Destination FIFO Options Register 3
02A4 03C4 DFSRC3 Destination FIFO Source Address Register 3
02A4 03C8 DFCNT3 Destination FIFO Count Register 3
02A4 03CC DFDST3 Destination FIFO Destination Address Register 3
02A4 03D0 DFBIDX3 Destination FIFO BIDX Register 3
02A4 03D4 DFMPPRXY3 Destination FIFO Memory Protection Proxy Register 3
02A4 03D8 - 02A4 7FFC - Reserved

Table 4-15 EDMA3 Transfer Controller 5 Registers

HEX ADDRESS RANGE ACRONYM REGISTER NAME
02A4 8000 PID Peripheral Identification Register
02A4 8004 TCCFG EDMA3TC Configuration Register
02A4 8008 - 02A4 80FC - Reserved
02A4 8100 TCSTAT EDMA3TC Channel Status Register
02A4 8104 - 02A4 811C - Reserved
02A4 8120 ERRSTAT Error Register
02A4 8124 ERREN Error Enable Register
02A4 8128 ERRCLR Error Clear Register
02A4 812C ERRDET Error Details Register
02A4 8130 ERRCMD Error Interrupt Command Register
02A4 8134 - 02A4 813C - Reserved
02A4 8140 RDRATE Read Rate Register
02A4 8144 - 02A4 823C - Reserved
02A4 8240 SAOPT Source Active Options Register
02A4 8244 SASRC Source Active Source Address Register
02A4 8248 SACNT Source Active Count Register
02A4 824C SADST Source Active Destination Address Register
02A4 8250 SABIDX Source Active Source B-Index Register
02A4 8254 SAMPPRXY Source Active Memory Protection Proxy Register
02A4 8258 SACNTRLD Source Active Count Reload Register
02A4 825C SASRCBREF Source Active Source Address B-Reference Register
02A4 8260 SADSTBREF Source Active Destination Address B-Reference Register
02A4 8264 - 02A4 827C - Reserved
02A4 8280 DFCNTRLD Destination FIFO Set Count Reload
02A4 8284 DFSRCBREF Destination FIFO Set Destination Address B Reference Register
02A4 8288 DFDSTBREF Destination FIFO Set Destination Address B Reference Register
02A4 828C - 02A4 82FC - Reserved
02A4 8300 DFOPT0 Destination FIFO Options Register 0
02A4 8304 DFSRC0 Destination FIFO Source Address Register 0
02A4 8308 DFCNT0 Destination FIFO Count Register 0
02A4 830C DFDST0 Destination FIFO Destination Address Register 0
02A4 8310 DFBIDX0 Destination FIFO BIDX Register 0
02A4 8314 DFMPPRXY0 Destination FIFO Memory Protection Proxy Register 0
02A4 8318 - 02A4 833C - Reserved
02A4 8340 DFOPT1 Destination FIFO Options Register 1
02A4 8344 DFSRC1 Destination FIFO Source Address Register 1
02A4 8348 DFCNT1 Destination FIFO Count Register 1
02A4 834C DFDST1 Destination FIFO Destination Address Register 1
02A4 8350 DFBIDX1 Destination FIFO BIDX Register 1
02A4 8354 DFMPPRXY1 Destination FIFO Memory Protection Proxy Register 1
02A4 8358 - 02A4 837C - Reserved
02A4 8380 DFOPT2 Destination FIFO Options Register 2
02A4 8384 DFSRC2 Destination FIFO Source Address Register 2
02A4 8388 DFCNT2 Destination FIFO Count Register 2
02A4 838C DFDST2 Destination FIFO Destination Address Register 2
02A4 8390 DFBIDX2 Destination FIFO BIDX Register 2
02A4 8394 DFMPPRXY2 Destination FIFO Memory Protection Proxy Register 2
02A4 8398 - 02A4 83BC - Reserved
02A4 83C0 DFOPT3 Destination FIFO Options Register 3
02A4 83C4 DFSRC3 Destination FIFO Source Address Register 3
02A4 83C8 DFCNT3 Destination FIFO Count Register 3
02A4 83CC DFDST3 Destination FIFO Destination Address Register 3
02A4 83D0 DFBIDX3 Destination FIFO BIDX Register 3
02A4 83D4 DFMPPRXY3 Destination FIFO Memory Protection Proxy Register 3
02A4 83D8 - 02A4 FFFC - Reserved

4.7.2 Interrupts

4.7.2.1 Interrupt Sources and Interrupt Controller

The CPU interrupts on the C6457 device are configured through the C64x+ Megamodule Interrupt Controller. The interrupt controller allows for up to 128 system events to be programmed to any of the twelve CPU interrupt inputs (CPUINT4 - CPUINT15), the CPU exception input (EXCEP), or the advanced emulation logic. The 128 system events consist of both internally-generated events (within the megamodule) and chip-level events. Table 4-16 shows the mapping of system events. For more information on the Interrupt Controller, see the TMS320C64x+ Megamodule Reference Guide (SPRU871).

Table 4-16 C6457 System Event Mapping

EVENT NUMBER INTERRUPT EVENT DESCRIPTION
0(1) EVT0 Output of event combiner 0 in interrupt controller, for events 1 - 31.
1(1) EVT1 Output of event combiner 1 in interrupt controller, for events 32 - 63.
2(1) EVT2 Output of event combiner 2 in interrupt controller, for events 64 - 95.
3(1) EVT3 Output of event combiner 3 in interrupt controller, for events 96 - 127.
4 - 8 Reserved Reserved. These system events are not connected and, therefore, not used.
9(1) EMU_DTDMA EMU interrupt for:
  • Host scan access
  • DTDMA transfer complete
  • AET interrupt
10 None This system event is not connected and, therefore, not used.
11(1) EMU_RTDXRX EMU real-time data exchange (RTDX) receive complete
12(1) EMU_RTDXTX EMU RTDX transmit complete
13(1) IDMA0 IDMA channel 0 interrupt
14(1) IDMA1 IDMA channel 1 interrupt
15 DSPINT HPI-to-DSP interrupt
16 I2CINT I2C interrupt
17 MACINT Ethernet MAC interrupt
18 AEASYNCERR EMIFA error interrupt
19 Reserved Reserved. This system event is not connected and, therefore, not used.
20 INTDST0 RapidIO interrupt 0
21 INTDST1 RapidIO interrupt 1
22 INTDST2 RapidIO interrupt 2
23 INTDST3 RapidIO interrupt 3
24 EDMA3CC_GINT EDMA3 channel global completion interrupt
25 MACRXINT Ethernet MAC receive interrupt
26 MACTXINT Ethernet MAC transmit interrupt
27 MACTHRESH Ethernet MAC receive threshold interrupt
28 INTDST4 RapidIO interrupt 4
29 INTDST5 RapidIO interrupt 5
30 INTDST6 RapidIO interrupt 6
31 Reserved Reserved. These system events are not connected and, therefore, not used.
32 VCP2_INT VCP2 error interrupt
33 TCP2A_INT TCP2_A error interrupt
34 TCP2B_INT TCP2_B error interrupt
35 Reserved Reserved. These system events are not connected and, therefore, not used.
36 UINT UTOPIA interrupt
37 - 39 Reserved Reserved. These system events are not connected and, therefore, not used.
40 RINT0 McBSP0 receive interrupt
41 XINT0 McBSP0 transmit interrupt
42 RINT1 McBSP1 receive interrupt
43 XINT1 McBSP1 transmit interrupt
44 - 50 Reserved Reserved. Do not use.
51 GPINT0 GPIO interrupt
52 GPINT1 GPIO interrupt
53 GPINT2 GPIO interrupt
54 GPINT3 GPIO interrupt
55 GPINT4 GPIO interrupt
56 GPINT5 GPIO interrupt
57 GPINT6 GPIO interrupt
58 GPINT7 GPIO interrupt
59 GPINT8 GPIO interrupt
60 GPINT9 GPIO interrupt
61 GPINT10 GPIO interrupt
62 GPINT11 GPIO interrupt
63 GPINT12 GPIO interrupt
64 GPINT13 GPIO interrupt
65 GPINT14 GPIO interrupt
66 GPINT15 GPIO interrupt
67 TINTLO0 Timer 0 lower counter interrupt
68 TINTHI0 Timer 0 higher counter interrupt
69 TINTLO1 Timer 1 lower counter interrupt
70 TINTHI1 Timer 1 higher counter interrupt
71 EDMA3CC_INT0 EDMA3CC completion interrupt - Mask0
72 EDMA3CC_INT1 EDMA3CC completion interrupt - Mask1
73 EDMA3CC_INT2 EDMA3CC completion interrupt - Mask2
74 EDMA3CC_INT3 EDMA3CC completion interrupt - Mask3
75 EDMA3CC_INT4 EDMA3CC completion interrupt - Mask4
76 EDMA3CC_INT5 EDMA3CC completion interrupt - Mask5
77 EDMA3CC_INT6 EDMA3CC completion interrupt - Mask6
78 EDMA3CC_INT7 EDMA3CC completion interrupt - Mask7
79 EDMA3CC_ERRINT EDMA3CC error interrupt
80 Reserved Reserved. This system event is not connected and, therefore, not used.
81 EDMA3TC0_ERRINT EDMA3TC0 error interrupt
82 EDMA3TC1_ERRINT EDMA3TC1 error interrupt
83 EDMA3TC2_ERRINT EDMA3TC2 error interrupt
84 EDMA3TC3_ERRINT EDMA3TC3 error interrupt
85 EDMA3CC_AET EDMA3CC AET Event
86 EDMA3TC4_ERRINT EDMA3TC4 error interrupt
87 EDMA3TC5_ERRINT EDMA3TC5 error interrupt
88 - 93 Reserved Reserved. These system events are not connected and, therefore, not used.
94 ETBOVFLINT Overflow condition occurred in ETB
95 ETBUNFLINT Underflow condition occurred in ETB
96(1) INTERR Interrupt Controller dropped CPU interrupt event
97(1) EMC_IDMAERR EMC invalid IDMA parameters
98 - 99 Reserved Reserved. These system events are not connected and, therefore, not used.
100(1) EFIINTA EFI interrupt from side A
101(1) EFIINTB EFI interrupt from side B
102 - 112 Reserved Reserved. These system events are not connected and, therefore, not used.
113(1) L1P_ED1 L1P single bit error detected during DMA read
114 - 115 Reserved Reserved. These system events are not connected and, therefore, not used.
116(1) L2_ED1 L2 single bit error detected
117(1) L2_ED2 L2 two bit error detected
118(1) PDC_INT Powerdown sleep interrupt
119(1) SYS_CMPA CPU memory protection fault
120(1) L1P_CMPA L1P CPU memory protection fault
121(1) L1P_DMPA L1P DMA memory protection fault
122(1) L1D_CMPA L1D CPU memory protection fault
123(1) L1D_DMPA L1D DMA memory protection fault
124(1) L2_CMPA L2 CPU memory protection fault
125(1) L2_DMPA L2 DMA memory protection fault
126(1) IDMA_CMPA IDMA CPU memory protection fault
127(1) IDMA_BUSERR IDMA bus error interrupt
(1) This system event is generated from within the C64x+ megamodule.

4.7.2.2 External Interrupts Electrical Data/Timing

Table 4-17 Timing Requirements for External Interrupts(1)

(see Figure 4-11)
NO. MIN MAX UNIT
1 tw(NMIL) Width of the NMI interrupt pulse low 6P ns
2 tw(NMIH) Width of the NMI interrupt pulse high 6P ns
(1) P = 1/CPU clock frequency in ns. For example, when running parts at 1000 MHz, use P = 1 ns.
SM320C6457-HIREL NMI_Interrupt_Timing_6484.gif Figure 4-11 NMI Interrupt Timing

4.7.3 Reset Controller

The reset controller detects the different type of resets supported on the C6457 device and manages the distribution of those resets throughout the device.

The C6457 device has several types of resets:

  • Power-on reset
  • Warm reset
  • System reset
  • CPU reset

Table 4-18 explains further the types of reset, the reset initiator, and the effects of each reset on the device. For more information on the effects of each reset on the PLL controllers and their clocks, see Section 4.6.3.

Table 4-18 Reset Types

TYPE INITIATOR EFFECT(S)
Power-on Reset POR pin Resets the entire chip including the test and emulation logic. The device configuration pins are latched only during POR.
Warm Reset RESET pin Resets everything except for the test and emulation logic and PLL2. The emulator stays alive during warm reset. The device configuration pins are not re-latched. DDR2 memory contents will be preserved if the user places the DDR2 SDRAM in “Self-Refresh” mode before starting a Warm Reset sequence.
System Reset Emulator

Serial RapidIO

PLLCTL(1)

System reset, by default, behaves as hard reset, but can be configured as soft reset if initiated by Serial RapidIO or PLLCTL. Emulator-initiated reset is always a hard reset.
  • Hard reset effects are the same as those of a warm reset.
  • Soft reset means external memory contents can be maintained, it does not affect the clock logic, or the power control logic of the peripherals. See Section 4.7.3.3 for more details.

A system reset does not reset the test and emulation circuitry. The device configuration pins are also not re-latched.

CPU Local Reset Watchdog Timer CPU local reset.
(1) All masters in the device have access to the PLLCTL registers.

4.7.3.1 Power-on Reset (POR Pin)

Power-on reset is initiated by the POR pin and is used to reset the entire device, including the test and emulation logic. Power-on reset is also referred to as a cold reset because the device usually goes through a power-up cycle. During power-up, the POR pin must be asserted (driven low) until the power supplies have reached their normal operating conditions. Note that a device power-up cycle is not required to initiate a power-on reset. For power-on reset, the main PLL controller comes up in bypass mode and the PLL is not enabled. Other resets do not affect the state of the PLL or the dividers in the PLL controller. For the secondary PLL, the PLL is enabled and always clocking when POR is not asserted.

The following sequence must be followed during a power-on reset:

  1. Wait for all power supplies to reach normal operating conditions while keeping the POR pin asserted (driven low). While POR is asserted, all pins except RESETSTAT will be set to high-impedance. After the POR pin is de-asserted (driven high), all Z group pins, low group pins, and high group pins are set to their reset state and will remain at their reset state until otherwise configured by their respective peripheral. All peripherals that are power managed, are disabled after a Power-on Reset and must be enabled through the Device State Control registers (for more details, see Section 5.5.2).
  2. Clocks are reset, and they are propagated throughout the chip to reset any logic that was using reset synchronously. All logic is now reset and RESETSTAT will be driven low indicating that the device is in reset.
  3. POR must be held active until all supplies on the board are stable then for at least an additional 100 µs + 2000 CLKIN2 cycles.
  4. The POR pin can now be de-asserted. Reset sampled pin values are latched at this point. PLL2 is taken out of reset and begins its locking sequence, and all power-on device initialization also begins.
  5. After device initialization is complete, the RESETSTAT pin is de-asserted (driven high). By this time, PLL2 has already completed its locking sequence and is outputting a valid clock. The system clocks of both PLL controllers are allowed to finish their current cycles and then paused for 10 cycles of their respective system reference clocks. After the pause, the system clocks are restarted at their default divide by settings.
  6. The device is now out of reset and device execution begins as dictated by the selected boot mode.

NOTE

To most of the device, reset is de-asserted only when the POR and RESET pins are both de-asserted (driven high). Therefore, in the sequence described above, if the RESET pin is held low past the low period of the POR pin, most of the device will remain in reset. The RESET pin should not be tied together with the POR pin.

4.7.3.2 Warm Reset (RESET Pin)

A warm reset will reset everything on the device except the PLLs, PLL controller, test, and emulation logic. POR should also remain de-asserted during this time.

The following sequence must be followed during a warm reset:

  1. The RESET pin is pulled active low for a minimum of 24 CLKIN1 cycles. During this time the RESET signal is able to propagate to all modules (except those specifically mentioned above). All I/O are Hi-Z for modules affected by RESET, to prevent off-chip contention during the warm reset.
  2. Once all logic is reset, RESETSTAT is driven active to denote that the device is in reset.
  3. The RESET pin can now be released. A minimal device initialization begins to occur. Note that configuration pins are not re-latched and clocking is unaffected within the device.
  4. After device initialization is complete, the RESETSTAT pin is de-asserted (driven high).

NOTE

The POR pin should be held inactive (high) throughout the warm reset sequence. Otherwise, if POR is activated (brought low), the minimum POR pulse width must be met. The RESET pin should not be tied together with the POR pin.

NOTE

The DDR2 SDRAM contents will also be preserved if the user places the SDRAM into Self-Refresh mode before starting a Warm Reset sequence. Please see theTMS320C6457 DSP DDR2 Memory Controller User’s Guide (SPRUGK5).

4.7.3.3 System Reset

In a System Reset, test and emulation logic are unaffected. The device configuration pins are also not re-latched. System reset can be initiated by the emulator or Serial RapidIO or by the PLLCTL:

  • Emulator Initiated System Reset: The emulator initiated System Reset is always a Hard Reset. The effects of a Hard Reset are the same as a Warm Reset (defined in Section 4.7.3.2).
  • Serial RapidIO Initiated System Reset: The Serial Rapid IO initiated System Reset can be configured by the RSTCFG register (see Section 4.7.3.6.3) as a Soft Reset or Hard Reset. For more information on the Serial RapidIO initiated system reset, see Section 4.2 of the TMS320C6457 DSP Serial RapidIO (SRIO) User's Guide (SPRUGK4).
  • PLLCTL Initiated System Reset: The PLLCTL module can initiate a System Reset using the RSTCTRL register; see Section 4.7.3.6.2. The PLLCTL initiated System Reset can be configured by the RSTCFG register (see Section 4.7.3.6.3) as a Soft Reset or Hard Reset.

In the case of a Soft Reset, the clock logic or the power control logic of the peripherals are not affected, and, therefore, the enabled/disabled state of the peripherals is not affected. The following external memory contents are maintained during a soft reset:

  • DDR2 Memory Controller: The DDR2 Memory Controller registers are not reset. In addition, the DDR2 SDRAM memory content is retained if the user places the DDR2 SDRAM in self-refresh mode before invoking the soft reset.
  • EMIFA: The contents of the memory connected to the EMIFA are retained. The EMIFA registers are not reset.

During a soft reset, the following happens:

  1. The RESETSTAT pin goes low to indicate an internal reset is being generated. The reset is allowed to propagate through the system. Internal system clocks are not affected. PLLs also remain locked.
  2. After device initialization is complete, the RESETSTAT pin is deasserted (driven high). In addition, the PLL controllers pause their system clocks for about 10 cycles.
    • At this point:
      • The state of the peripherals before the soft reset is not changed. For example, if McBSP0 was in the enabled state before soft reset, it will remain in the enabled state after soft reset.
      • The I/O pins are controlled as dictated by the DEVSTAT register.
      • The DDR2 Memory Controller and EMIFA registers retain their previous values. Only the DDR2 Memory Controller and EMIFA state machines are reset by the soft reset.
      • The PLL controllers are operating in the mode prior to soft reset. System clocks are unaffected.

The boot sequence is started after the system clocks are restarted. Since the configuration pins (including the BOOTMODE[3:0] pins) are not latched with a System Reset, the previous values, as shown in the DEVSTAT register, are used to select the boot mode.

4.7.3.4 CPU Reset

Timer1 can provide a local CPU reset if it is set up in watchdog mode.

4.7.3.5 Reset Priority

If any of the above reset sources occur simultaneously, the PLLCTL processes only the highest priority reset request. The reset request priorities are as follows (high to low):

  • Power-on reset
  • Warm reset and system reset

4.7.3.6 Reset Controller Register

There are three reset controller registers: Reset Type Status (RSTYPE) register (029A 00E4), Software Reset Control (RSTCTRL) register (029A 00E8), and Reset Configuration (RSTCFG) register (029A 00EC). All three registers fall in the same memory range as the PLL1 Controller registers [029A 0000 - 029A 0170] (see Table 4-24).

4.7.3.6.1 Reset Type Status Register

The reset type status (RSTYPE) register latches the cause of the last reset. If multiple reset sources occur simultaneously, this register latches the highest priority reset source. The Reset Type Status register is shown in Figure 4-12 and described in Table 4-19.

Figure 4-12 Reset Type Status Register (RSTYPE) (Address - 029A 00E4h)
31 30 29 28 27 26 25 24 23 22 21 20 19 18 17 16
Reserved EMU-RST Reserved
R-0 R-0 R-0
15 14 13 12 11 10 9 8 7 6 5 4 3 2 1 0
Reserved SRIORST Reserved PLLCTRLRST WRST POR
R-0 R-0 R-0 R-0 R-0 R-0
LEGEND: R/W = Read/Write; R = Read only; -n = value after reset

Table 4-19 Reset Type Status Register (RSTYPE) Field Descriptions

Bit Acronym Description
31:29 Reserved Reserved. Read only. Always reads as 0. Writes have no effect.
28 EMU-RST
  • System reset initiated by emulator.
  • 0 = Not the last reset to occur.
  • 1 = The last reset to occur.
27:9 Reserved Reserved. Read only. Always reads as 0. Writes have no effect.
8 SRIORST
  • System reset initiated by SRIO.
  • 0 = Not the last reset to occur.
  • 1 = The last reset to occur.
7:3 Reserved Reserved. Read only. Always reads as 0. Writes have no effect.
2 PLLCTLRST
  • System reset initiated by PLLCTL.
  • 0 = Not the last reset to occur.
  • 1 = The last reset to occur.
1 WRST
  • Warm reset.
  • 0 = Warm reset was not the last reset to occur.
  • 1 = Warm reset was the last reset to occur.
0 POR
  • Power-on reset.
  • 0 = Power-on reset was not the last reset to occur.
  • 1 = Power-on reset was the last reset to occur.

4.7.3.6.2 Software Reset Control Register

This register contains a key that enables writes to the MSB of this register and the RSTCFG register. The key value is 0x5A69. A valid key will be stored as 0x000C, any other key value is invalid. When the RSTCTRL or the RSTCFG is written, the key is invalidated. Every write must be set up with a valid key. The Software Reset Control register (RSTCTRL) is shown in Figure 4-13 and described in Table 4-20.

Figure 4-13 Software Reset Control Register (RSTCTRL) (Hex Address - 029A 00E8h)
31 30 29 28 27 26 25 24 23 22 21 20 19 18 17 16
Reserved SWRST(1)
R-0x0000 R/W-0x
15 14 13 12 11 10 9 8 7 6 5 4 3 2 1 0
KEY
R/W-0x0003
LEGEND: R/W = Read/Write; R = Read only; -n = value after reset
(1) Writes are conditional based on valid key.

Table 4-20 Software Reset Control Register Field Descriptions

Bit Acronym Description
31:17 Reserved Reserved.
16 SWRST
  • Software reset
  • 0 = Reset
  • 1 = Not reset
15:0 KEY
  • Key used to enable writes to RSTCTRL and RSTCFG.

4.7.3.6.3 Reset Configuration Register

This register is used to configure the type of system resets initiated by the SRIO module or a PLL controller; i.e., a hard reset or a soft reset. By default, both the system resets will be hard resets. The Reset Configuration register (RSTCFG) is shown in Figure 4-14 and described in Table 4-21.

Figure 4-14 Reset Configuration Register (RSTCFG) (Address - 029A 00ECh)
31 30 29 28 27 26 25 24 23 22 21 20 19 18 17 16
Reserved
R-0x2000
15 14 13 12 11 10 9 8 7 6 5 4 3 2 1 0
Reserved PLLCTLRSTTYPE Reserved SRIORSTTYPE
R-0x000 R/W-0(1) R-0x000 R/W-0x0(1)
LEGEND: R/W = Read/Write; R = Read only; -n = value after reset
(1) Writes are conditional based on valid key. For details, see Section 4.7.3.6.2.

Table 4-21 Reset Configuration Register (RSTCFG) Field Descriptions

Bit Acronym Description
31:14 Reserved Reserved.
13 PLLCTLRSTTYPE PLL controller initiates a software driven reset of type:
  • 0 = Hard reset (default)
  • 1 = Soft reset
12:1 Reserved Reserved.
0 SRIORSTTYPE SRIO module initiates a reset of type:
  • 0 = Hard Reset (default)
  • 1 = Soft Reset

4.7.4 PLL1 and PLL1 Controller

This section provides a description of the PLL1 controller. For details on the operation of the PLL controller module, see the TMS320C6457 DSP Software-Programmable Phase-Locked Loop (PLL) Controller User's Guide (SPRUGL3).

NOTE

The PLL1 controller registers can be accessed by any master in the device.

The main PLL is controlled by the standard PLL controller. The PLL controller manages the clock ratios, alignment, and gating for the system clocks to the device. Figure 4-15 shows a block diagram of the PLL controller. The following paragraphs define the clocks and PLL controller parameters.

SM320C6457-HIREL PLL1_and_PLL1_Controller_6484.gif Figure 4-15 PLL1 and PLL1 Controller

The inputs, multiply factor within the PLL, and post-division for each of the chip-level clocks from the PLL output. The PLL controller also controls reset propagation through the chip, clock alignment, and test points. The PLL controller monitors the PLL status and provides an output signal indicating when the PLL is locked.

PLL1 power is supplied externally via the PLL1 power-supply pin (PLLV1). An external EMI filter circuit must be added to PLLV1, as shown in Figure 4-15. The 1.8-V supply of the EMI filter must be from the same 1.8-V power plane supplying the I/O power-supply pin, DVDD18. TI requires EMI filter manufacturer Murata, part number NFM18CC222R1C3 or NFM18CC223R1C3.

All PLL external components (C1, C2, and the EMI Filter) must be placed as close to the C64x+ DSP device as possible. For the best performance, TI recommends that all the PLL external components be on a single side of the board without jumpers, switches, or components other than those shown. For reduced PLL jitter, maximize the spacing between switching signal traces and the PLL external components (C1, C2, and the EMI Filter).

The minimum CORECLK rise and fall times should also be observed. For the input clock timing requirements, see Section 4.7.4.4.

CAUTION

The PLL controller module as described in the TMS320C6457 DSP Software-Programmable Phase-Locked Loop (PLL) Controller User's Guide (SPRUGL3) includes a superset of features, some of which are not supported on the C6457 DSP. The following sections describe the registers that are supported; it should be assumed that any registers not included in these sections is not supported by the C6457 DSP. Furthermore, only the bits within the registers described here are supported. Avoid writing to any reserved memory location or changing the value of reserved bits.

4.7.4.1 PLL1 Controller Device-Specific Information

4.7.4.1.1 Internal Clocks and Maximum Operating Frequencies

The main PLL, used to drive the core, the switch fabric, and a majority of the peripheral clocks (all but the DDR2 clock) requires a PLL controller to manage the various clock divisions, gating, and synchronization. The main PLL controller has several SYSCLK outputs that are listed below, along with the clock description. Each SYSCLK has a corresponding divider that divides down the output clock of the PLL. Note that dividers are not programmable unless explicitly mentioned in the description below.

  • SYSREFCLK: Full-rate clock (GEM_CLK1) for C64x+ megamodule.
  • SYSCLK2: 1/2-rate clock (GEM_L2_CLK) used to clock the L2 and L2 powerdown controller.
  • SYSCLK3: 1/x-rate clock (GEM_TRACE_CLK) for emulation and trace logic of the DSP. The default rate for this clock is 1/3. This is programmable from /1 to /32, where this clock does not violate the maximum clock rate of 333 MHz. The data rate on the trace pins are 1/2 of this clock.
  • SYSCLK4: 1/3-rate clock (CHIP_CLK3) for the switched central resources (SCRs), EDMA3, VCP2, TCP2_A, TCP2_B, SRIO, as well as the data bus interfaces of the EMIFA and DDR2 memory controller.
  • SYSCLK5: 1/6-rate clock (CHIP_CLK6) for other peripherals (PLL controller, PSC, L3 ROM, McBSPs, Timer64s, EMAC, HPI, UTOPIA, I2C, and GPIO).
  • SYSCLK6: 1/y-rate clock (CHIP_CLKS) for an optional McBSP CLKS module input to drive the clock generator. The default for this clock is 1/10. This is programmable from /6 to /32, where this clock does not violate the maximum clock rate of 100 MHz. This clock is also output to the SYSCLKOUT pin.
  • SYSCLK7: 1/z-rate clock (EMIF_MCLK) for an optional internal clock for EMIFA. The default for this clock is 1/10. This is programmable from /6 to /32, where this clock does not violate the maximum clock rate of 166 MHz. The data rate at the pins must not violate 100 MHz.
  • SYSCLK8: 1/p-rate clock (SLOW_SYSCLK). The default for this clock is 1/10. This is programmable from /10 to /32.

NOTE

In case any of the other programmable SYSCLKs are set slower than 1/10 rate, then SYSCLK8 (SLOW_SYSCLK) needs to be programmed to either match, or be slower than, the slowest SYSCLK in the system.

Note that there is a minimum and maximum operating frequency for CORECLK(N|P), ALTCORECLK, SYSREFCLK, SYSCLK3, SYSCLK6, and SYSCLK7. The PLL1 controller must not be configured to exceed any of these constraints (certain combinations of external core clock input, internal dividers, and PLL multiply ratios might not be supported). For the PLL clocks input and output frequency ranges, see Table 4-22.

Table 4-22 Timing Requirements for Reset

CLOCK SIGNAL MIN MAX UNIT
CORECLK(N|P) 50 61.44 MHz
ALTCORECLK 50 61.44 MHz
SYSREFCLK 400 1200 MHz
SYSCLK3 333 MHz
SYSCLK6 100 MHz
SYSCLK7 166 MHz

4.7.4.1.2 PLL1 Controller Operating Modes

The PLL1 controller has two modes of operation: bypass mode and PLL mode. The mode of operation is determined by the PLLEN bit of the PLL control register (PLLCTL). In PLL mode, SYSREFCLK is generated from the device input clock CORECLK(N|P) using the divider POSTDIV and the PLL multiplier PLLM. In bypass mode, CORECLK(N|P) is fed directly to SYSREFCLK.

All hosts (HPI, etc.) must hold off accesses to the DSP while the frequency of its internal clocks is changing. A mechanism must be in place such that the DSP notifies the host when the PLL configuration has completed.

4.7.4.1.3 PLL1 Stabilization, Lock, and Reset Times

The PLL stabilization time is the amount of time that must be allotted for the internal PLL regulators to become stable after device powerup. The PLL should not be operated until this stabilization time has expired.

The PLL reset time is the amount of wait time needed when resetting the PLL (writing PLLRST = 1), in order for the PLL to properly reset, before bringing the PLL out of reset (writing PLLRST = 0). For the PLL1 reset time value, see Table 4-23.

The PLL lock time is the amount of time needed from when the PLL is taken out of reset (PLLRST = 1 with PLLEN = 0) to when to when the PLL controller can be switched to PLL mode (PLLEN = 1). The PLL1 lock time is given in Table 4-23.

Table 4-23 PLL1 Stabilization, Lock, and Reset Times

MIN TYP MAX UNIT
PLL stabilization time 100 µs
PLL lock time 2000 × C(1)
PLL reset time 1000 ns
(1) C = CORECLK(N|P) cycle time in ns.

4.7.4.2 PLL1 Controller Memory Map

The memory map of the PLL1 controller is shown in Table 4-24. Note that only registers documented here are accessible on the C6457. Other addresses in the PLL1 controller memory map should not be modified.

Table 4-24 PLL1 Controller Registers (Including Reset Controller)

HEX ADDRESS RANGE ACRONYM REGISTER NAME
029A 0000 - 029A 00E3 - Reserved
029A 00E4 RSTYPE Reset Type Status Register (Reset Controller)
029A 00E8 RSTCTRL Software Reset Control Register
029A 00EC RSTCFG Reset Configuration Register
029A 00F0 - 029A 00FF - Reserved
029A 0100 PLLCTL PLL Control Register
029A 0104 - Reserved
029A 0108 - Reserved
029A 010C - Reserved
029A 0110 PLLM PLL Multiplier Control Register
029A 0114 - Reserved
029A 0118 - Reserved
029A 011C - Reserved
029A 0120 PLLDIV3 PLL Controller Divider 3 Register
029A 0124 - Reserved
029A 0128 POSTDIV PLL Post-Divider Register
029A 012C - Reserved
029A 0130 - Reserved
029A 0134 - Reserved
029A 0138 PLLCMD PLL Controller Command Register
029A 013C PLLSTAT PLL Controller Status Register
029A 0140 ALNCTL PLL Controller Clock Align Control Register
029A 0144 DCHANGE PLLDIV Ratio Change Status Register
029A 0148 - Reserved
029A 014C - Reserved
029A 0150 SYSTAT SYSCLK Status Register
029A 0154 - Reserved
029A 0158 - Reserved
029A 015C - Reserved
029A 0160 - 029A 0164 - Reserved
029A 0168 PLLDIV6 PLL Controller Divider 6 Register
029A 016C PLLDIV7 PLL Controller Divider 7 Register
029A 0170 PLLDIV8 PLL Controller Divider 8 Register
029A 0174 - 029B FFFF - Reserved

4.7.4.3 PLL1 Controller Registers

This section provides a description of the PLL1 controller registers. For details on the operation of the PLL controller module, see theTMS320C6457 DSP Software-Programmable Phase-Locked Loop (PLL) Controller User's Guide (SPRUGL3).

NOTE

The PLL1 controller registers can be accessed by any master in the device.

CAUTION

Not all of the registers documented in the TMS320C6457 DSP Software-Programmable Phase-Locked Loop (PLL) Controller User's Guide (SPRUGL3) are supported on the C6457. Only those registers documented in this section are supported. Furthermore, only the bits within the registers described here are supported. Avoid writing to any reserved memory location or changing the value of reserved bits.

4.7.4.3.1 PLL1 Control Register

The PLL1control register (PLLCTL) is shown in Figure 4-16 and described in Table 4-25.

Figure 4-16 PLL1 Control Register (PLLCTL) (Address - 029A 0100h)
31 30 29 28 27 26 25 24 23 22 21 20 19 18 17 16
Reserved
R-0
15 14 13 12 11 10 9 8 7 6 5 4 3 2 1 0
Reserved Rsvd Rsvd Reserved PLL
RST
Rsvd PLLPWRDN PLLEN
R-0 R/W-0 R-1 R/W-0 R/W-1 R-0 R/W-0 R/W-0
LEGEND: R/W = Read/Write; R = Read only; -n = value after reset

Table 4-25 PLL1 Control Register (PLLCTL) Field Descriptions

Bit Acronym Description
31:8 Reserved Reserved. Read only. Always reads as 0. Writes have no effect.
7 Reserved Reserved. Writes to this register must keep this bit as 0.
6 Reserved Reserved. Read only. Always reads as 1. Writes have no effect.
5:4 Reserved Reserved. Writes to this register must keep this bit as 0.
3 PLLRST PLL reset bit
  • 0 = PLL reset is released
  • 1 = PLL reset is asserted
2 Reserved Reserved. Read only. Always reads as 0. Writes have no effect.
1 PLLPWRDN PLL power-down mode select bit
  • 0 = PLL is operational
  • 1 = PLL is placed in power-down state, i.e., all analog circuitry in the PLL is turned-off
0 PLLEN PLL enable bit
  • 0 = Bypass mode. Divider POSTDIV and PLL are bypassed. All the system clocks (SYSCLKn) are divided down directly from input reference clock.
  • 1 = PLL mode. Divider POSTDIV and PLL are not bypassed. PLL output path is enabled. All the system clocks (SYSCLKn) are divided down from PLL output.

4.7.4.3.2 PLL Multiplier Control Register

The PLL multiplier control register (PLLM) is shown in Figure 4-17 and described in Table 4-26. The PLLM register defines the input reference clock frequency multiplier in conjunction with the PLL divider ratio bits (RATIO) in the PLL controller post-divider register (POSTDIV).

Figure 4-17 PLL Multiplier Control Register (PLLM) (Address - 029A 0110h)
31 30 29 28 27 26 25 24 23 22 21 20 19 18 17 16
Reserved
R-0
15 14 13 12 11 10 9 8 7 6 5 4 3 2 1 0
Reserved PLLM
R-0 R/W-0
LEGEND: R/W = Read/Write; R = Read only; -n = value after reset

Table 4-26 PLL Multiplier Control Register (PLLM) Field Descriptions

Bit Acronym Description
31:5 Reserved Reserved. Read only. Always reads as 0. Writes have no effect.
4:0 PLLM PLL multiplier bits. Defines the frequency multiplier of the input reference clock in conjunction with the PLL divider ratio bits

(RATIO) in POSTDIV.

  • 000000 = × 1
  • 000001 = × 2
  • 000010 = × 3
  • 000011 = × 4
  • 000100 = × 5
  • 000101 = × 6
  • 000110 = × 7
  • 000111 = × 8
  • 001000 = × 9
  • 001001 = × 10
  • 001010 = × 11
  • 001011 = × 12
  • 001100 = × 13
  • 001101 = × 14
  • 001110 = × 15
  • 001111 = × 16
  • 010000 = × 17
  • 010001 = × 18
  • 010010 = × 19
  • 010011 = × 20
  • 010100 = × 21
  • 010101 = × 22
  • 010110 = × 23
  • 010111 = × 24
  • 011000 = × 25
  • 011001 = × 26
  • 011010 = × 27
  • 011011 = × 28
  • 011100 = × 29
  • 011101 = × 30
  • 011110 = × 31
  • 011111 = × 32
  • 100000 = × 33
  • 100001 = × 34
  • 100010 = × 35
  • 100011 = × 36
  • 100100 = × 37
  • 100101 = × 38
  • 100110 = × 39
  • 100111 = × 40
  • 101000 = × 41
  • 101001 = × 42
  • 101010 = × 43
  • 101011 = × 44
  • 101100 = × 45
  • 101101 = × 46
  • 101110 = × 47
  • 101111 = × 48
  • 110000 = × 49
  • 110001 = × 50
  • 110010 = × 51
  • 110011 = × 52
  • 110100 = × 53
  • 110101 = × 54
  • 110110 = × 55
  • 110111 = × 56
  • 111000 = × 57
  • 111001 = × 58
  • 111010 = × 59
  • 111011 = × 60
  • 111100 = × 61
  • 111101 = × 62
  • 111110 = × 63
  • 111111 = × 64

4.7.4.3.3 PLL Post-Divider Control Register

The PLL post-divider control register (POSTDIV) is shown in Figure 4-18 and described in Table 4-27.

Figure 4-18 PLL Post-Divider Control Register (POSTDIV) (Address - 029A 0128)
31 30 29 28 27 26 25 24 23 22 21 20 19 18 17 16
Reserved
R-0
15 14 13 12 11 10 9 8 7 6 5 4 3 2 1 0
POSTDEN Reserved RATIO
R/W-1 R-0 R/W-2h
LEGEND: R/W = Read/Write; R = Read only; -n = value after reset

Table 4-27 PLL Post-Divider Control Register (POSTDIV) Field Descriptions

Bit Acronym Description
31:16 Reserved Reserved. Read only. Always reads as 0. Writes have no effect.
15 POSTDEN Post-divider enable bit.
  • 0 = Post-divider is disabled. No clock output.
  • 1 = Post-divider is enabled.
14:5 Reserved Reserved. Read only. Always reads as 0. Writes have no effect.
4:0 RATIO 0 through 1Fh are divider ratio bits:
  • 0 = ÷ 1. Divide frequency by 1.
  • 1h = ÷ 2. Divide frequency by 2.
  • 2h = ÷ 3. Divide frequency by 3.
  • 3h through 1Fh = Reserved, do not use.

4.7.4.3.4 PLL Controller Divider 3 Register

The PLL controller divider 3 register (PLLDIV3) is shown in Figure 4-19 and described in Table 4-28.

Figure 4-19 PLL Controller Divider 3 Register (PLLDIV3) (Address - 029A 015Ch)
31 30 29 28 27 26 25 24 23 22 21 20 19 18 17 16
Reserved
R-0
15 14 13 12 11 10 9 8 7 6 5 4 3 2 1 0
D3EN Reserved RATIO
R/W-1 R-0 R/W-2h
LEGEND: R/W = Read/Write; R = Read only; -n = value after reset

Table 4-28 PLL Controller Divider 3 Register (PLLDIV3) Field Descriptions

Bit Acronym Description
31:16 Reserved Reserved. Read only. Always reads as 0. Writes have no effect.
15 D3EN Divider 3 enable bit.
  • 0 = Divider 3 is disabled. No clock output.
  • 1 = Divider 3 is enabled.
14:5 Reserved Reserved. Read only. Always reads as 0. Writes have no effect.
4:0 RATIO 0 through 1Fh are divider ratio bits:
  • 0 = ÷ 1. Divide frequency by 1.
  • 1h = ÷ 2. Divide frequency by 2.
  • 2h = ÷ 3. Divide frequency by 3.
  • 3h = ÷ 4. Divide frequency by 4.
  • 4h through 1Fh = ÷ 5 to ÷ 32. Divide frequency by 5 to divide frequency by 32.

4.7.4.3.5 PLL Controller Divider 6 Register

The PLL controller divider 6 register (PLLDIV6) is shown in Figure 4-20 and described in Table 4-29.

Figure 4-20 PLL Controller Divider 6 Register (PLLDIV6) Address - 029A 0168)
31 30 29 28 27 26 25 24 23 22 21 20 19 18 17 16
Reserved
R-0
15 14 13 12 11 10 9 8 7 6 5 4 3 2 1 0
D6EN Reserved RATIO
R/W-1 R-0 R/W-9h
LEGEND: R/W = Read/Write; R = Read only; -n = value after reset

Table 4-29 PLL Controller Divider 6 Register (PLLDIV6) Field Descriptions

Bit Acronym Description
31:16 Reserved Reserved. Read only. Always reads as 0. Writes have no effect.
15 D6EN Divider 6 enable bit.
  • 0 = Divider 6 is disabled. No clock output.
  • 1 = Divider 6 is enabled.
14:5 Reserved Reserved. Read only. Always reads as 0. Writes have no effect.
4:0 RATIO 0 through 1Fh are divider ratio bits:
  • 0 = ÷ 1. Divide frequency by 1.
  • 1h = ÷ 2. Divide frequency by 2.
  • 2h = ÷ 3. Divide frequency by 3.
  • 3h = ÷ 4. Divide frequency by 4.
  • 4h through 1Fh = ÷ 5 to ÷ 32. Divide frequency by 5 to divide frequency by 32.

4.7.4.3.6 PLL Controller Divider 7 Register

The PLL controller divider 7 register (PLLDIV7) is shown in Figure 4-21 and described in Table 4-30.

Figure 4-21 PLL Controller Divider 7 Register (PLLDIV7) (Address - 029A 016Ch)
31 30 29 28 27 26 25 24 23 22 21 20 19 18 17 16
Reserved
R-0
15 14 13 12 11 10 9 8 7 6 5 4 3 2 1 0
D7EN Reserved RATIO
R/W-1 R-0 R/W-9h
LEGEND: R/W = Read/Write; R = Read only; -n = value after reset

Table 4-30 PLL Controller Divider 7 Register (PLLDIV7) Field Descriptions

Bit Acronym Description
31:16 Reserved Reserved. Read only. Always reads as 0. Writes have no effect.
15 D7EN Divider 7 enable bit.
  • 0 = Divider 6 is disabled. No clock output.
  • 1 = Divider 6 is enabled.
14:5 Reserved Reserved. Read only. Always reads as 0. Writes have no effect.
4:0 RATIO 0 through 1Fh are divider ratio bits:
  • 0 = ÷ 1. Divide frequency by 1.
  • 1h = ÷ 2. Divide frequency by 2.
  • 2h = ÷ 3. Divide frequency by 3.
  • 3h = ÷ 4. Divide frequency by 4.
  • 4h through 1Fh = ÷ 5 to ÷ 32. Divide frequency by 5 to divide frequency by 32.

4.7.4.3.7 PLL Controller Divider 8 Register

The PLL controller divider 8 register (PLLDIV7) is shown in Figure 4-22 and described in Table 4-31.

Figure 4-22 PLL Controller Divider 8 Register (PLLDIV8) (Address - 029A 0170)
31 30 29 28 27 26 25 24 23 22 21 20 19 18 17 16
Reserved
R-0
15 14 13 12 11 10 9 8 7 6 5 4 3 2 1 0
D8EN Reserved RATIO
R/W-1 R-0 R/W-9h
LEGEND: R/W = Read/Write; R = Read only; -n = value after reset

Table 4-31 PLL Controller Divider 8 Register (PLLDIV8) Field Descriptions

Bit Acronym Description
31:16 Reserved Reserved. Read only. Always reads as 0. Writes have no effect.
15 D8EN Divider 8 enable bit.
  • 0 = Divider 6 is disabled. No clock output.
  • 1 = Divider 6 is enabled.
14:5 Reserved Reserved. Read only. Always reads as 0. Writes have no effect.
4:0 RATIO 0 through 1Fh are divider ratio bits:
  • 0 = ÷ 1. Divide frequency by 1.
  • 1h = ÷ 2. Divide frequency by 2.
  • 2h = ÷ 3. Divide frequency by 3.
  • 3h = ÷ 4. Divide frequency by 4.
  • 4h through 1Fh = ÷ 5 to ÷ 32. Divide frequency by 5 to divide frequency by 32.

4.7.4.3.8 PLL Controller Command Register

The PLL controller command register (PLLCMD) contains the command bit for GO operation. PLLCMD is shown in Figure 4-23 and described in Table 4-32.

Figure 4-23 PLL Controller Command Register (PLLCMD) (Address - 029A 0138h)
31 30 29 28 27 26 25 24 23 22 21 20 19 18 17 16
Reserved
R-0
15 14 13 12 11 10 9 8 7 6 5 4 3 2 1 0
Reserved GOSET
R-0 R/W-0
LEGEND: R/W = Read/Write; R = Read only; -n = value after reset

Table 4-32 PLL Controller Command Register (PLLCMD) Field Descriptions

Bit Acronym Description
31:2 Reserved Reserved. Read only. Always reads as 0. Writes have no effect.
1 Reserved Reserved. Read only. Always reads as 0. Writes have no effect.
0 GOSET GO operation command for SYSCLK rate change and phase alignment. Before setting this bit to 1 to initiate a GO operation, check the GOSTAT bit in the PLLSTAT register to ensure all previous GO operations have completed.
  • 0 = No effect. Write of 0 clears bit to 0.
  • 1 = Initiates GO operation. Write of 1 initiates GO operation. Once set, GOSET remains set but further writes of 1 can initiate the GO operation.

4.7.4.3.9 PLL Controller Status Register

The PLL controller status register (PLLSTAT) shows the PLL controller status. PLLSTAT is shown in Figure 4-24 and described in Table 4-33.

Figure 4-24 PLL Controller Status Register (PLLSTAT) (Address - 029A 013C)
31 30 29 28 27 26 25 24 23 22 21 20 19 18 17 16
Reserved
R-0
15 14 13 12 11 10 9 8 7 6 5 4 3 2 1 0
Reserved GOSTAT
R-0 R-0
LEGEND: R/W = Read/Write; R = Read only; -n = value after reset

Table 4-33 PLL Controller Status Register (PLLSTAT) Field Descriptions

Bit Acronym Description
31:1 Reserved Reserved. Read only. Always reads as 0. Writes have no effect.
0 GOSTAT GO operation status.
  • 0 = GO operation is not in progress. SYSCLK divide ratios are not being changed.
  • 1 = GO operation is in progress. SYSCLK divide ratios are being changed.

4.7.4.3.10 PLL Controller Clock Align Control Register

The PLL controller clock align control register (ALNCTL) is shown in Figure 4-25 and described in Table 4-34.

Figure 4-25 PLL Controller Clock Align Control Register (ALNCTL) (Address - 029A 0140)
31 30 29 28 27 26 25 24 23 22 21 20 19 18 17 16
Reserved
R-0
15 14 13 12 11 10 9 8 7 6 5 4 3 2 1 0
Reserved ALN5 ALN4 Reserved
R-0 R-1 R-1 R-1
LEGEND: R/W = Read/Write; R = Read only; -n = value after reset

Table 4-34 PLL Controller Clock Align Control Register (ALNCTL) Field Descriptions

Bit Acronym Description
31:5 Reserved Reserved. Read only. Always reads as 0. Writes have no effect.
4:3 ALNn SYSCLKn alignment. Do not change the default values of these fields.
  • 0 = Do not align SYSCLKn to other SYSCLKs during GO operation. If SYSn in DCHANGE is set to 1, SYSCLKn switches to the new ratio immediately after the GOSET bit in PLLCMD is set.
  • 1 = Align SYSCLKn to other SYSCLKs selected in ALNCTL when the GOSET bit in PLLCMD is set. The SYSCLKn ratio is set to the ratio programmed in the RATIO bit in PLLDIVn
2:0 Reserved Reserved. Read only. Always reads as 0. Writes have no effect.

4.7.4.3.11 PLLDIV Ratio Change Status Register

Whenever a different ratio is written to the PLLDIVn registers, the PLLCTL flags the change in the PLLDIV ratio change status registers (DCHANGE). During the GO operation, the PLL controller will change the divide ratio of only the SYSCLKs with the bit set in DCHANGE. Note that changed clocks will be automatically aligned to other clocks. The PLLDIV divider ratio change status register is shown in Figure 4-26 and described in Table 4-35.

Figure 4-26 PLLDIV Divider Ratio Change Status Register (DCHANGE) (Address - 029A 0144)
31 30 29 28 27 26 25 24 23 22 21 20 19 18 17 16
Reserved
R-0
15 14 13 12 11 10 9 8 7 6 5 4 3 2 1 0
Reserved SYS5 SYS4 Reserved
R-0 R-0 R-0 R-0
LEGEND: R/W = Read/Write; R = Read only; -n = value after reset

Table 4-35 PLLDIV Divider Ratio Change Status Register (DCHANGE) Field Descriptions

Bit Acronym Description
31:5 Reserved Reserved. Read only. Always reads as 0. Writes have no effect.
4 SYS5
  • Identifies when the SYSCLK5 divide ratio has been modified.
  • 0 = SYSCLK5 ratio has not been modified. When GOSET is set, SYSCLK5 will not be affected.
  • 1 = SYSCLK5 ratio has been modified. When GOSET is set, SYSCLK5 will change to the new ratio.
3 SYS4
  • Identifies when the SYSCLK4 divide ratio has been modified.
  • 0 = SYSCLK4 ratio has not been modified. When GOSET is set, SYSCLK4 will not be affected.
  • 1 = SYSCLK4 ratio has been modified. When GOSET is set, SYSCLK4 will change to the new ratio.
2:0 Reserved Reserved. Read only. Always reads as 0. Writes have no effect.

4.7.4.3.12 SYSCLK Status Register

The SYSCLK status register (SYSTAT) shows the status of the system clocks (SYSCLKn). SYSTAT is shown in Figure 4-27 and described in Table 4-36.

Figure 4-27 SYSCLK Status Register (SYSTAT) (Address - 029A 0150)
31 30 29 28 27 26 25 24 23 22 21 20 19 18 17 16
Reserved
R-0
15 14 13 12 11 10 9 8 7 6 5 4 3 2 1 0
Reserved SYS5ON SYS4ON SYS3ON SYS2ON Rsvd
R-0 R-1 R-1 R-1 R-1 R-1
LEGEND: R/W = Read/Write; R = Read only; -n = value after reset

Table 4-36 SYSCLK Status Register (SYSTAT) Field Descriptions

Bit Acronym Description
31:4 Reserved Reserved. Read only. Always reads as 0. Writes have no effect.
4:1 SYSnON SYSCLKn on status.
  • 0 = SYSCLKn is gated.
  • 1 = SYSCLKn is on.
0: Reserved Reserved. Read only. Always reads as 1. Writes have no effect.

4.7.4.4 PLL1 Controller Input and Output Electrical Data/Timing

Table 4-37 CORECLK(N|P) and ALTCORECLK Timing Requirements(1)

NO. MIN MAX UNIT
CORECLK(N|P) and ALTCORECLK
1 tc(SYSCLK) Cycle time, CORECLK(N|P) or ALTCORECLK 16.27 20.00 ns
2 tw(SYSCLKH) Pulse duration, CORECLK(N|P) or ALTCORECLK high 0.45 x C1 ns
3 tw(SYSCLKL) Pulse duration, CORECLK(N|P) or ALTCORECLK low 0.45 x C1 ns
4 tt(SYSCLK) Transition time, CORECLK(N|P) or ALTCORECLK 50 1300 ps
5 tj(SYSCLK) Period Jitter (peak-to-peak), CORECLK(N|P) or ALTCORECLK 100 ps
SYSCLKOUT
1 tc(CKO) Cycle time, SYSCLKOUT 10 x C1 32 x C1 ns
2 tw(CKOH) Pulse duration, SYSCLKOUT high 4 x C1 - 0.7 32 x C1 + 0.7 ns
3 tw(CKOL) Pulse duration, SYSCLKOUT low 4 x C1 - 0.7 32 x C1 + 0.7 ns
4 tt(CKO) Transition time, SYSCLKOUT 1.0 ns
(1) If CORECLKSEL = 0, C1 = CORECLK(N|P) cycle time in ns. If CORECLKSEL = 1, C1 = ALTCORECLK cycle time in ns.
SM320C6457-HIREL CORECLK_and_ALTCORECLK_Timing_6484.gif Figure 4-28 CORECLK(N|P) and ALTCORECLK Timing

4.7.5 PLL2

The secondary PLL generates interface clocks for the DDR2 memory controller. Using the DDRCLKSEL pin the user can select the input source of PLL2 as either the DDRREFCLK or the ALTDDRCLK clock reference sources.

When coming out of power-on reset, PLL2 is enabled and initialized.

As shown in Figure 4-29, the PLL2 multiplier is fixed at a ×10 multiplier rate followed by a fixed /2 divider resulting in an effective x5 multiplier going to the DDR2PHY and attached DDR2 memory.

SM320C6457-HIREL PLL2_Block_Diagram_6484.gif Figure 4-29 PLL2 Block Diagram

PLL2 power is supplied externally via the PLL2 power supply (PLLV2). An external PLL filter circuit must be added to PLLV2 as shown in Figure 4-29. The 1.8-V supply for the EMI filter must be from the same 1.8-V power plane supplying the I/O power-supply pin, DVDD18. TI requires EMI filter manufacturer Murata NFM18CC222R1C3 or NFM18CC223R1C3. For more information on the external PLL filter or the EMI filter, see the TMS320TCI6484 and TMS320C6457 DSPs Hardware Design Guide (SPRAAV7).

All PLL external components (capacitors and the EMI filter) should be placed as close to the C64x+ DSP device as possible. For the best performance, TI requires that all the PLL external components be on a single side of the board without jumpers, switches, or components other than the ones shown. For reduced PLL jitter, maximize the spacing between switching signal traces and the PLL external components (capacitors and the EMI filter). The minimum CLKIN2 rise and fall times should also be observed.

4.7.5.1 PLL2 Device-Specific Information

4.7.5.1.1 Internal Clocks and Maximum Operating Frequencies

As shown in Figure 4-29, the output of PLL2, PLLOUT, is divided by 2 and directly fed to the DDR2 memory controller. This clock is used by the DDR2 memory controller to generate DDR2CLKOUT(N|P)0 and DDR2CLKOUT(N|P)1. Note that, internally, the data bus interface of the DDR2 memory controller is clocked by SYSCLK4 and PLL1 controller.

Note that there is a minimum and maximum operating frequency for DDRREFCLK and associated DDR2CLKOUT(N|P)0 and DDR2CLKOUT(N|P)1. For the PLL clocks input and output frequency ranges, see Table 4-38.

Table 4-38 PLL2 Clock Frequency Ranges

SIGNAL MIN MAX UNIT
DDRREFCLK (PLLEN = 1) 40 66.67 MHz
DDR2CLKOUT0(P|N) and DDR2CLKOUT1(P|N) 200 333 MHz

4.7.5.1.2 PLL2 Operating Modes

Unlike the PLL1 which can operate in by-pass and PLL mode, the PLL2 only operates in PLL mode. In PLL mode, DDR2CLKOUT0(P|N) and DDR2CLKOUT1 (P|N) are generated by an effective x5 multiplier consisting of the PLL2 fixed x10 multiplier followed by a /2 divider.

The PLL2 is affected by power-on reset. During power-on resets, the internal clocks of the PLL2 are affected as described in Section 4.7.3.

PLL2 is unlocked only during the power-up sequence (see Section 4.7.3) and is locked by the time the RESETSTAT pin goes high. It does not lose lock during any of the other reset

4.7.5.2 PLL2 Input Clock Electrical Data/Timing

Table 4-39 Timing Requirements for DDRREFCLK(N|P) and ALTDDRCLK(1)

(see Figure 4-30)
NO. MIN MAX UNIT
1 tc(CLKIN2) Cycle time, DDRREFCLK(N|P) or ALTDDRCLK 15.00 25.00 ns
2 tw(CLKIN2H) Pulse duration, DDRREFCLK(N|P) or ALTDDRCLK high 0.45 × C2 0.55 × C2 ns
3 tw(CLKIN2L) Pulse duration, DDRREFCLK(N|P) or ALTDDRCLK low 0.45 × C2 0.55 × C2 ns
4 tt(CLKIN2) Transition time, DDRREFCLK(N|P) or ALTDDRCLK 50 1300 ps
5 tJ(CLKIN2) Period jitter (peak-to-peak), DDRREFCLK(N|P) or ALTDDRCLK 0.02 × tc(CLKIN2)
(1) If DDRCLKSEL = 0, C2 = DDRREFCLK(N|P) cycle time in ns. If DDRCLKSEL = 1, C2 = ALTDDRCLK cycle time in ns.
SM320C6457-HIREL DDRREFCLK_Timing_6484.gif Figure 4-30 DDRREFCLK(N|P) Timing

4.7.6 DDR2 Memory Controller

The 32-bit DDR2 Memory Controller bus of the C6457 is used to interface to JESD79-2B standard-compliant DDR2 SDRAM devices. The DDR2 external bus interfaces only to DDR2 SDRAM devices; it does not share the bus with any other types of peripherals. The decoupling of DDR2 memories from other devices both simplifies board design and provides I/O concurrency from a second external memory interface, EMIFA.

The internal data bus clock frequency and DDR2 bus clock frequency directly affect the maximum throughput of the DDR2 bus. The clock frequency of the DDR2 bus is equal to the CLKIN2 frequency multiplied by 10. The internal data bus clock frequency of the DDR2 Memory Controller is fixed at a divide-by-three ratio of the CPU frequency. The maximum DDR2 throughput is determined by the smaller of the two bus frequencies. The DDR2 bus is designed to sustain a throughput of up to 2.67 Gbyte/sec at a 667-MHz data rate (333-MHz clock rate) as long as data requests are pending in the DDR2 Memory Controller.

4.7.6.1 DDR2 Memory Controller Device-Specific Information

The approach to specifying interface timing for the DDR2 memory bus is different than on other interfaces such as EMIF, McBSP, and HPI. For these other interfaces, the device timing was specified in terms of data manual specifications and I/O buffer information specification (IBIS) models.

For the C6457 DDR2 memory bus, the approach is to specify compatible DDR2 devices and provide the printed circuit board (PCB) solution and guidelines directly to the user. Texas Instruments (TI) has performed the simulation and system characterization to ensure all DDR2 interface timings in this solution are met. The complete DDR2 system solution is documented in the TMS320C6457 DDR2 Implementation Guidelines application report (SPRAB21).

TI supports only designs that follow the board design guidelines outlined in the application report.

The DDR2 memory controller on the C6457 device supports the following memory topologies:

  • A 32-bit wide configuration interfacing to two 16-bit wide DDR2 SDRAM devices.
  • A 16-bit wide configuration interfacing to a single 16-bit wide DDR2 SDRAM device.

A race condition may exist when certain masters write data to the DDR2 memory controller. For example, if master A passes a software message via a buffer in external memory and does not wait for indication that the write completes, when master B attempts to read the software message, then the master B read may bypass the master A write and, thus, master B may read stale data and, therefore, receive an incorrect message.

Some master peripherals (e.g., EDMA3 transfer controllers) will always wait for the write to complete before signaling an interrupt to the system, thus avoiding this race condition. For masters that do not have a hardware specification of write-read ordering, it may be necessary to specify data ordering via software.

If master A does not wait for indication that a write is complete, it must perform the following workaround:

  1. Perform the required write.
  2. Perform a dummy write to the DDR2 memory controller module ID and revision register.
  3. Perform a dummy read to the DDR2 memory controller module ID and revision register.
  4. Indicate to master B that the data is ready to be read after completion of the read in step 3. The completion of the read in step 3 ensures that the previous write was done.

4.7.6.2 DDR2 Memory Controller Peripheral Register Description(s)

Table 4-40 DDR2 Memory Controller Registers

HEX ADDRESS RANGE ACRONYM REGISTER NAME
7800 0000 MIDR DDR2 Memory Controller Module and Revision Register
7800 0004 DMCSTAT DDR2 Memory Controller Status Register
7800 0008 SDCFG DDR2 Memory Controller SDRAM Configuration Register
7800 000C SDRFC DDR2 Memory Controller SDRAM Refresh Control Register
7800 0010 SDTIM1 DDR2 Memory Controller SDRAM Timing 1 Register
7800 0014 SDTIM2 DDR2 Memory Controller SDRAM Timing 2 Register
7800 0018 - Reserved
7800 0020 BPRIO DDR2 Memory Controller Burst Priority Register
7800 0024 - 7800 004C - Reserved
7800 0050 - 7800 0078 - Reserved
7800 007C - 7800 00BC - Reserved
7800 00C0 - 7800 00E0 - Reserved
7800 00E4 DMCCTL DDR2 Memory Controller Control Register
7800 00E8 - 7FFF FFFF - Reserved

4.7.6.3 DDR2 Memory Controller Electrical Data/Timing

The TMS320C6457 DDR2 Implementation Guidelines application report (SPRAB21) specifies a complete DDR2 interface solution for the C6457 as well as a list of compatible DDR2 devices. TI has performed the simulation and system characterization to ensure all DDR2 interface timings in this solution are met; therefore, no electrical data/timing information is supplied here for this interface.

NOTE

TI supports only designs that follow the board design guidelines outlined in the application report.

4.7.7 External Memory Interface A (EMIFA)

The EMIFA can interface to a variety of external devices or ASICs, including:

  • Pipelined and flow-through synchronous-burst SRAM (SBSRAM)
  • ZBT (zero bus turnaround) SRAM and late write SRAM
  • Synchronous FIFOs
  • Asynchronous memory, including SRAM, ROM, and Flash

For more information about the EMIF peripheral, see the TMS320C6457 DSP External Memory Interface (EMIF) User's Guide (SPRUGK2).

4.7.7.1 EMIFA Device-Specific Information

Timing analysis must be done to verify all AC timings are met. TI recommends using I/O buffer information specification (IBIS) to analyze all AC timings.

To properly use IBIS models to attain accurate timing analysis for a given system, see the Using IBIS Models for Timing Analysis application report (SPRA839).

To maintain signal integrity, serial termination resistors should be inserted into all EMIF output signal lines (for the EMIF output signals, see Table 3-2).

A race condition may exist when certain masters write data to the EMIFA. For example, if master A passes a software message via a buffer in external memory and does not wait for indication that the write completes, when master B attempts to read the software message, then the master B read may bypass the master A write and, thus, master B may read stale data and, therefore, receive an incorrect message.

Some master peripherals (e.g., EDMA3 transfer controllers) will always wait for the write to complete before signaling an interrupt to the system, thus avoiding this race condition. For masters that do not have a hardware specification of write-read ordering, it may be necessary to specify data ordering via software.

If master A does not wait for indication that a write is complete, it must perform the following workaround:

  1. Perform the required write.
  2. Perform a dummy write to the EMIFA module ID and revision register.
  3. Perform a dummy read to the EMIFA module ID and revision register.
  4. Indicate to master B that the data is ready to be read after completion of the read in step 3. The completion of the read in step 3 ensures that the previous write was done.

4.7.7.2 EMIFA Peripheral Register Description(s)

Table 4-41 EMIFA Registers

HEX ADDRESS RANGE ACRONYM REGISTER NAME
7000 0000 MIDR Module ID and Revision Register
7000 0004 STAT Status Register
7000 0008 - Reserved
7000 000C - 7000 001C - Reserved
7000 0020 BURST_PRIO Burst Priority Register
7000 0024 - 7000 004C - Reserved
7000 0050 - 7000 007C - Reserved
7000 0080 CE2CFG EMIFA CE2 Configuration Register
7000 0084 CE3CFG EMIFA CE3 Configuration Register
7000 0088 CE4CFG EMIFA CE4 Configuration Register
7000 008C CE5CFG EMIFA CE5 Configuration Register
7000 0090 - 7000 009C - Reserved
7000 00A0 AWCC EMIFA Async Wait Cycle Configuration Register
7000 00A4 - 7000 00BC - Reserved
7000 00C0 INTRAW EMIFA Interrupt RAW Register
7000 00C4 INTMSK EMIFA Interrupt Masked Register
7000 00C8 INTMSKSET EMIFA Interrupt Mask Set Register
7000 00CC INTMSKCLR EMIFA Interrupt Mask Clear Register
7000 00D0 - 7000 00DC - Reserved
7000 00E0 - 77FF FFFF - Reserved

4.7.7.3 EMIFA Electrical Data/Timing

This section describes the electrical timing for the EMIFA peripheral.

4.7.7.3.1 AECLKIN and AECLKOUT Timing

Table 4-42 EMIFA AECLKIN Timing Requirements(1)(2)

(see Figure 4-31)
NO. MIN MAX UNIT
1 tc(EKI) Cycle time, AECLKIN 10(3) 40 ns
2 tw(EKIH) Pulse duration, AECLKIN high 2.7 ns
3 tw(EKIL) Pulse duration, AECLKIN low 2.7 ns
4 tt(EKI) Transition time, AECLKIN 2 ns
5 tj(EKI) Period Jitter, AECLKIN 0.02E(4) ns
(1) The reference points for the rise and fall transitions are measured at VIL MAX and VIH MIN.
(2) E = the EMIF input clock (AECLKIN or SYSCLK7) period in ns for EMIFA.
(3) Minimum AECLKIN cycle times must be met, even when AECLKIN is generated by an internal clock source. Minimum AECLKIN times are based on internal logic speed; the maximum usable speed of the EMIF may be lower due to AC timing requirements.
(4) This timing applies only when AECLKIN is used for EMIFA.
SM320C6457-HIREL EMIFA_AECLKIN_Timing_6484.gif Figure 4-31 EMIFA AECLKIN Timing

Table 4-43 EMIFA AECLKOUT Switching Characteristics(1)(2)(3)(4)

(see Figure 4-32)
NO. PARAMETER MIN MAX UNIT
1 tc(EKO) Cycle time, AECLKOUT E - 0.7 E + 0.7 ns
2 tw(EKOH) Pulse duration, AECLKOUT high EH - 0.7 EH + 0.7 ns
3 tw(EKOL) Pulse duration, AECLKOUT low EL - 0.7 EL + 0.7 ns
4 tt(EKO) Transition time, AECLKOUT 1 ns
5 td(EKIH-EKOH) Delay time, AECLKIN high to AECLKOUT high 1 8 ns
6 td(EKIL-EKOL) Delay time, AECLKIN low to AECLKOUT low 1 8 ns
(1) Over Recommended Operating Conditions.
(2) E = the EMIF input clock (AECLKIN or SYSCLK7) period in ns for EMIFA.
(3) The reference points for the rise and fall transitions are measured at VOL MAX and VOH MIN.
(4) EH is the high period of E (EMIF input clock period) in ns and EL is the low period of E (EMIF input clock period) in ns for EMIFA.
SM320C6457-HIREL EMIFA_AECLKOUT_Timing_6484.gif Figure 4-32 EMIFA AECLKOUT Timing

4.7.7.3.2 Asynchronous Memory Timing

This section describes the asynchronous EMIFA Read, Write, EM_WAIT Read and EM_WAIT Write timing requirements and switching characteristics.

Table 4-44 EMIFA Asynchronous Memory Read Switching Characteristics(1)(2)

(see Figure 4-33)
NO. PARAMETER MIN MAX UNIT
3 tc(ACEL-read) EMIF read cycle time when ew = 0. Meaning not in extended wait mode (RS + RST + RH + 3) × E - 1 (RS + RST + RH + 3) × E + 1 ns
EMIF read cycle time when ew = 1. Meaning extended wait mode enabled (RS + RST + RH + 3) × E - 1 (RS + RST + RH + 3) × E + 1 ns
4 tosu(ACEL-AAOEL) Output setup time from ACEn low to AAOE/ASOE low. SS = 0, not in select strobe mode (RS+1) × E-1.5 ns
Output setup time from ACEn low to AAOE/ASOE low. SS = 1, in select strobe mode
5 toh(AAOEH-ACEH) Output hold time from AAOE/ASOE high to ACEn high. SS = 0, not in select strobe mode (RS+1) × E-1.9 ns
Output hold time from AAOE/ASOE high to ACEn high. SS = 1, in select strobe mode
6 tosu(ABAV-AAOEL) Output setup time from ABA valid to AAOE/ASOE low (RS+1) × E-1.5 ns
7 toh(AAOEH-ABAV) Output hold time from AAOE/ASOE high to BA invalid (RS+1) × E-1.9 ns
8 tosu(AEAV-OEL) Output setup time from AEA valid to AAOE/ASOE low (RS+1) × E-1.5 ns
9 toh(AAOEH-AEAV) Output hold time from AAOE/ASOE high to AEA invalid (RS+1) × E-1.9 ns
10 tw(AAOEL) AAOE/ASOE active time low, when ew = 0, extended wait mode is disabled (RST+1) × E - 6 (RST+1) × E + 6 ns
AAOE/ASOE active time low, when ew = 1, extended wait mode is enabled
(1) E = the EMIF input clock (AECLKIN or SYSCLK7) period in ns for EMIFA.
(2) RS, RST, RH, WS, WST, WH, and TA are all based on the memory mapped register values. This means that the actual value listed here is the value in EMIF cycles - 1.
Example: For read setup of 1 EMIF cycle, RS = 0.

Table 4-45 EMIFA Asynchronous Memory Read Timing Requirements

(see Figure 4-33)
NO. MIN MAX UNIT
12 tsu(AEDV-AAOEH) Input setup time from AED valid to AAOE/ASOE high 6.5 ns
13 th(AAOEH-AEDV) Input hold time from AAOE/ASOE high to AED invalid 0 ns
SM320C6457-HIREL EMIFA_Asynchronous_Memory_Read_Timing_6484.gif Figure 4-33 EMIFA Asynchronous Memory Read Timing

Table 4-46 EMIFA Asynchronous Memory Write Timing Requirements(1)(2)

(see Figure 4-34)
NO. MIN MAX UNIT
15 tc(ACEL-write) EMIF write cycle time when ew = 0, extended wait mode (WS + WST + WH + TA + 4) × E - 1 (WS + WST + WH + TA + 4) × E + 1 ns
EMIF write cycle time when ew = 1, extended wait mode is enabled.
16 tosu(ACEL-AAWEL) Output setup time from ACEn low to ASWE/AAWE low. SS = 0, not in select strobe mode (WS+1) × E-1.7 ns
Output setup time from ACEn low to ASWE/AAWE low. SS = 1, in select strobe mode
17 toh(AAWEH-ACEH) Output hold time from ASWE/AAWE high to ACEn high. SS = 0, not in select strobe mode (WS+1) × E-1.8 ns
Output hold time from ASWE/AAWE high to ACEn high. SS = 1, in select strobe mode
18 tosu(WV-AAWEL) Output setup time from AR/W valid to ASWE/AAWE low (WS+1) × E-1.7 ns
19 toh(AAWEH-WIV) Output hold time from ASWE/AAWE high to AR/W invalid (WS+1) × E-1.8 ns
20 tosu(ABAV-AAWEL) Output setup time from BA valid to ASWE/AAWE low (WS+1) × E-1.7 ns
21 toh(AAWEH-ABAIV) Output hold time from ASWE/AAWE high to ABA invalid (WS+1) × E-1.8 ns
22 tosu(AEAV-AAWEL) Output setup time from AEA valid to ASWE/AAWE low (WS+1) × E-1.7 ns
23 toh(AAWEH-AEAIV) Output hold time from ASWE/AAWE high to AEA invalid (WS+1) × E-1.8 ns
24 tw(AAWEL) ASWE/AAWE active time low, when ew = 0. Extended wait mode is disabled. (WST+1) × E - 5.8 ns
ASWE/AAWE active time low, when ew = 1. Extended wait mode is enabled.
26 tosu(AEDV-AAWEL) Output setup time from AED valid to ASWE/AAWE low (WS+1) × E-5.0 ns
27 toh(AAWEH-AEDIV) Output hold time from ASWE/AAWE high to AED invalid (WS+1) × E-2.5 ns
(1) E = the EMIF input clock (AECLKIN or SYSCLK7) period in ns for EMIFA.
(2) RS, RST, RH, WS, WST, WH, and TA are all based on the memory mapped register values. This means that the actual value listed here is the value in EMIF cycles - 1.
Example: For read setup of 1 EMIF cycle, RS = 0.
SM320C6457-HIREL EMIFA_Asynchronous_Memory_Write_Timing_6484.gif Figure 4-34 EMIFA Asynchronous Memory Write Timing

Table 4-47 EMIFA EM_Wait Read Timing Requirements(1)

(see Figure 4-35)
NO. MIN MAX UNIT
2 tw(AARDY) Pulse duration, AARDY assertion and deassertion minimum time 2E
14 td(AARDY-AAOEH) Setup time, AARDY asserted before AAOE high 4E + 6
(1) E = the EMIF input clock (AECLKIN or SYSCLK7) period in ns for EMIFA.

Table 4-48 EMIFA EM_Wait Read Switching Characteristics(1)

(see Figure 4-35)
NO. PARAMETER MIN MAX UNIT
11 td(AARDYH-AAOEH) Delay time from AARDY deasserted to AAOE/ASOE high 4E + 6
(1) E = the EMIF input clock (AECLKIN or SYSCLK7) period in ns for EMIFA.
SM320C6457-HIREL EMIFA_EM_Wait_Read_Timing_6484.gif Figure 4-35 EMIFA EM_Wait Read Timing

Table 4-49 EMIFA EM_Wait Write Timing Requirements

(see Figure 4-36)
NO. MIN MAX UNIT
2 tw(AARDY) Pulse duration, AARDY assertion and deassertion minimum time 2E
25 td(AARDYH-AAWEH) Delay time from AARDY deasserted to ASWE/AAWE high 4E + 6.0
28 tsu(AARDY-AAWEH) Setup time, AARDY asserted before ASWE/AAWE high 4E + 6.0
SM320C6457-HIREL EMIFA_EM_Wait_Write_Timing_6484.gif Figure 4-36 EMIFA EM_Wait Write Timing

4.7.7.3.3 Programmable Synchronous Interface Timing

This section describes the synchronous EMIFA Read and Write timing requirements.

The following parameters are programmable via the EMIFA CE Configuration registers (CEnCFG) (see Table 4-51) and via the EMIFA Chip Select n Configuration Register (CESECn):

  • Read latency (R_LTNCY): 1-, 2-, or 3-cycle read latency
  • Write latency (W_LTNCY): 0-, 1-, 2-, or 3-cycle write latency
  • ACEx assertion length (CE_EXT): For standard SBSRAM or ZBT SRAM interface, ACEx goes inactive after the final command has been issued (CE_EXT = 0). For synchronous FIFO interface, ACEx is active when ASOE is active (CE_EXT = 1).
  • Function of ASADS/ASRE (R_ENABLE): For standard SBSRAM or ZBT SRAM interface, ASADS/ASRE acts as ASADS with deselect cycles (R_ENABLE = 0). For FIFO interface, ASADS/ASRE acts as SRE with NO deselect cycles (R_ENABLE = 1).

Figure 4-37, Figure 4-38, and Figure 4-39 are given as examples diagrams depicting some of the programmable options.

  • In Figure 4-37, R_LTNCY = 2, CE_EXT = 0, R_ENABLE = 0, and SSEL = 1.
  • In Figure 4-38, W_LTNCY = 0, CE_EXT = 0, R_ENABLE = 0, and SSEL = 1.
  • In Figure 4-39, W_LTNCY = 1, CE_EXT = 0, R_ENABLE = 0, and SSEL = 1.

Table 4-50 Timing Requirements for Programmable Synchronous Interface Cycles for EMIFA Module

(see Figure 4-37)
NO. MIN MAX UNIT
6 tsu(EDV-EKOH) Setup time, read AEDx valid before AECLKOUT high 2 ns
7 th(EKOH-EDV) Hold time, read AEDx valid after AECLKOUT high 1.5 ns

Table 4-51 Switching Characteristics for Programmable Synchronous Interface Cycles for EMIFA Module(1)

(see Figure 4-37, Figure 4-38, and Figure 4-39)
NO. PARAMETER MIN MAX UNIT
1 td(EKOH-CEV) Delay time, AECLKOUT high to ACEx valid 1.3 4.9 ns
2 td(EKOH-BEV) Delay time, AECLKOUT high to ABEx valid 4.9 ns
3 td(EKOH-BEIV) Delay time, AECLKOUT high to ABEx invalid 1.3 ns
4 td(EKOH-EAV) Delay time, AECLKOUT high to AEAx valid 4.9 ns
5 td(EKOH-EAIV) Delay time, AECLKOUT high to AEAx invalid 1.3 ns
8 td(EKOH-ADSV) Delay time, AECLKOUT high to ASADS/ASRE valid 1.3 4.9 ns
9 td(EKOH-OEV) Delay time, AECLKOUT high to ASOE valid 1.3 4.9 ns
10 td(EKOH-EDV) Delay time, AECLKOUT high to AEDx valid 5.2 ns
11 td(EKOH-EDIV) Delay time, AECLKOUT high to AEDx invalid 1.3 ns
12 td(EKOH-WEV) Delay time, AECLKOUT high to ASWE valid 1.3 4.9 ns
(1) Over recommended operating conditions.
SM320C6457-HIREL EMIFA_Programmable_Sync_IF_Read_Timing_Lat=2_6484.gif Figure 4-37 EMIFA Programmable Synchronous Interface Read Timing (With Read Latency = 2)(A)
(A) In this figure R_LTNCY = 2, CE_EXT = 0, R_ENABLE = 0, and SSEL = 1.

(B) AAOE/ASOE, and AAWE/ASWE operate as ASOE, and ASWE, respectively, during programmable synchronous interface accesses.

SM320C6457-HIREL EMIFA_Programmable_write_timing.gif Figure 4-38 EMIFA Programmable Synchronous Interface Write Timing (With Write Latency = 0)(A)
(A) In this figure W_LTNCY = 0, CE_EXT = 0, R_ENABLE = 0, and SSEL = 1.

(B) AAOE/ASOE, and AAWE/ASWE operate as ASOE, and ASWE, respectively, during programmable synchronous interface accesses.

SM320C6457-HIREL EMIFA_Programmable_Sync_IF_Write_Timing_Lat=1_6484.gif Figure 4-39 EMIFA Programmable Synchronous Interface Write Timing (With Write Latency = 1)(A)
(A) In this figure W_LTNCY = 1, CE_EXT = 0, R_ENABLE = 0, and SSEL = 1.

(B) AAOE/ASOE, and AAWE/ASWE operate as ASOE, and ASWE, respectively, during programmable synchronous interface accesses.

4.7.8 I2C Peripheral

The inter-integrated circuit (I2C) module provides an interface between a C64x+ DSP and other devices compliant with Philips Semiconductors Inter-IC bus (I2C bus) specification version 2.1 and connected by way of an I2C bus. External components attached to this 2-wire serial bus can transmit/receive up to 8-bit data to/from the DSP through the I2C module.

4.7.8.1 I2C Device-Specific Information

The C6457 device includes an I2C peripheral module. NOTE: when using the I2C module, ensure there are external pullup resistors on the SDA and SCL pins.

The I2C modules on the C6457 may be used by the DSP to control local peripheral ICs (DACs, ADCs, etc.) or may be used to communicate with other controllers in a system or to implement a user interface.

The I2C port supports:

  • Compatible with Philips I2C specification revision 2.1 (January 2000)
  • Fast mode up to 400 Kbps (no fail-safe I/O buffers)
  • Noise filter to remove noise 50 ns or less
  • 7-bit and 10-bit device addressing modes
  • Multi-master (transmit/receive) and slave (transmit/receive) functionality
  • Events: DMA, interrupt, or polling
  • Slew-rate limited open-drain output buffers

Figure 4-40 shows a block diagram of the I2C module.

SM320C6457-HIREL I2C_Module_Block_Diagram_6484.gif Figure 4-40 I2C Module Block Diagram

4.7.8.2 I2C Peripheral Register Description(s)

Table 4-52 I2C Registers

HEX ADDRESS RANGE ACRONYM REGISTER NAME
02B0 4000 ICOAR I2C own address register
02B0 4004 ICIMR I2C interrupt mask/status register
02B0 4008 ICSTR I2C interrupt status register
02B0 400C ICCLKL I2C clock low-time divider register
02B0 4010 ICCLKH I2C clock high-time divider register
02B0 4014 ICCNT I2C data count register
02B0 4018 ICDRR I2C data receive register
02B0 401C ICSAR I2C slave address register
02B0 4020 ICDXR I2C data transmit register
02B0 4024 ICMDR I2C mode register
02B0 4028 ICIVR I2C interrupt vector register
02B0 402C ICEMDR I2C extended mode register
02B0 4030 ICPSC I2C prescaler register
02B0 4034 ICPID1 I2C peripheral identification register 1 [Value: 0x0000 0105]
02B0 4038 ICPID2 I2C peripheral identification register 2 [Value: 0x0000 0005]
02B0 403C - 02B0 405C - Reserved
02B0 4060 - 02B3 407F - Reserved
02B0 4080 - 02B3 FFFF - Reserved

4.7.8.3 I2C Electrical Data/Timing

4.7.8.3.1 Inter-Integrated Circuits (I2C) Timing

Table 4-53 I2C Timing Requirements(1)

(see Figure 4-41)
NO. STANDARD MODE FAST MODE UNIT
MIN MAX MIN MAX
1 tc(SCL) Cycle time, SCL 10 2.5 us
2 tsu(SCLH-SDAL) Setup time, SCL high before SDA low (for a repeated START condition) 4.7 0.6 us
3 th(SDAL-SCLL) Hold time, SCL low after SDA low (for a START and a repeated START condition) 4 0.6 us
4 tw(SCLL) Pulse duration, SCL low 4.7 1.3 us
5 tw(SCLH) Pulse duration, SCL high 4 0.6 us
6 tsu(SDAV-SCLH) Setup time, SDA valid before SCL high 250 100(2) ns
7 th(SCLL-SDAV) Hold time, SDA valid after SCL low (For I2C bus devices) 0(3) 3.45 0(3) 0.9(4) us
8 tw(SDAH) Pulse duration, SDA high between STOP and START conditions 4.7 1.3 us
9 tr(SDA) Rise time, SDA 1000 20 + 0.1Cb(5) 300 ns
10 tr(SCL) Rise time, SCL 1000 20 + 0.1Cb(5) 300 ns
11 tf(SDA) Fall time, SDA 300 20 + 0.1Cb(5) 300 ns
12 tf(SCL) Fall time, SCL 300 20 + 0.1Cb(5) 300 ns
13 tsu(SCLH-SDAH) Setup time, SCL high before SDA high (for STOP condition) 4 0.6 us
14 tw(SP) Pulse duration, spike (must be suppressed) 0 50 ns
15 Cb (5) Capacitive load for each bus line 400 400 pF
(1) The I2C pins SDA and SCL do not feature fail-safe I/O buffers. These pins could potentially draw current when the device is powered down
(2) A Fast-mode I2C-bus device can be used in a Standard-mode I2C-bus system, but the requirement tsu(SDA-SCLH) ≥ 250 ns must then be met. This will automatically be the case if the device does not stretch the LOW period of the SCL signal. If such a device does stretch the LOW period of the SCL signal, it must output the next data bit to the SDA line tr max + tsu(SDA-SCLH) = 1000 + 250 = 1250 ns (according to the Standard-mode I2C-Bus Specification) before the SCL line is released.
(3) A device must internally provide a hold time of at least 300 ns for the SDA signal (referred to the VIHmin of the SCL signal) to bridge the undefined region of the falling edge of SCL.
(4) The maximum th(SDA-SCLL) has only to be met if the device does not stretch the low period [tw(SCLL)] of the SCL signal.
(5) Cb = total capacitance of one bus line in pF. If mixed with HS-mode devices, faster fall-times are allowed.
SM320C6457-HIREL I2C_Receive_Timing_6484.gif Figure 4-41 I2C Receive Timing

Table 4-54 I2C Switching Characteristics(1)

(see Figure 4-42)
NO. PARAMETER STANDARD MODE FAST MODE UNITS
MIN MAX MIN MAX
16 tc(SCL) Cycle time, SCL 10 2.5 ms
17 tsu(SCLH-SDAL) Setup time, SCL high to SDA low (for a repeated START condition) 4.7 0.6 ms
18 th(SDAL-SCLL) Hold time, SDA low after SCL low (for a START and a repeated START condition) 4 0.6 ms
19 tw(SCLL) Pulse duration, SCL low 4.7 1.3 ms
20 tw(SCLH) Pulse duration, SCL high 4 0.6 ms
21 td(SDAV-SDLH) Delay time, SDA valid to SCL high 250 100 ns
22 tv(SDLL-SDAV) Valid time, SDA valid after SCL low (For I2C bus devices) 0 0 0.9 ms
23 tw(SDAH) Pulse duration, SDA high between STOP and START conditions 4.7 1.3 ms
24 tr(SDA) Rise time, SDA 1000 20 + 0.1Cb(1) 300 ns
25 tr(SCL) Rise time, SCL 1000 20 + 0.1Cb(1) 300 ns
26 tf(SDA) Fall time, SDA 300 20 + 0.1Cb(1) 300 ns
27 tf(SCL) Fall time, SCL 300 20 + 0.1Cb(1) 300 ns
28 td(SCLH-SDAH) Delay time, SCL high to SDA high (for STOP condition) 4 0.6 ms
29 Cp Capacitance for each I2C pin 10 10 pF
(1) Cb = total capacitance of one bus line in pF. If mixed with HS-mode devices, faster fall-times are allowed.
SM320C6457-HIREL I2C_Transmit_Timing_6484.gif Figure 4-42 I2C Transmit Timing

4.7.9 Host-Port Interface (HPI) Peripheral

4.7.9.1 HPI Device-Specific Information

The C6457 device includes a user-configurable 16-bit or 32-bit Host-port interface (HPI16/HPI32). The HPIWIDTH pin allows the user configuration of the HPI as a 16-bit or 32-bit peripheral.

Table 4-55 HPIWIDTH Selection

CONFIGURATION PIN SETTING PERIPHERAL FUNCTION SELECTED
HPIWIDTH HPI DATA LOWER HPI DATA UPPER
0 (default is HPI16 mode) Enabled Hi-Z
1 (HPI32 mode) Enabled Enabled

Software handshaking via the HRDY bit of the Host Port Control Register (HPIC) is not supported on the C6457.

An HPI boot is terminated using a DSP interrupt. The DSP interrupt is registered in bit 0 (channel 0) of the EDMA Event Register (ER). This event must be cleared by software before triggering transfers on DMA channel 0.

4.7.9.2 HPI Peripheral Register Description(s)

Table 4-56 HPI Control Registers

HEX ADDRESS RANGE ACRONYM REGISTER NAME COMMENTS
0288 0000 - Reserved
0288 0004 PWREMU
_MGMT
HPI power and emulation management register The CPU has read/write access to the PWREMU_MGMT register; the Host does not have any access to this register.
0288 0008 -
0288 0024
- Reserved
0288 0028 - Reserved
0288 002C - Reserved
0288 0030 HPIC HPI control register The Host and the CPU have read/write access to the HPIC register.(1)
0288 0034 HPIA (HPIAW)(2) HPI address register (Write) The Host has read/write access to the HPIA registers. The CPU has only read access to the HPIA registers.
0288 0038 HPIA (HPIAR)(2) HPI address register (Read)
0288 000C -
028B 007F
- Reserved
0288 0080 -
028B FFFF
- Reserved
(1) The CPU can write 1 to the HINT bit to generate an interrupt to the host and it can write 1 to the DSPINT bit to clear/acknowledge an interrupt from the host.
(2) There are two 32-bit HPIA registers: HPIAR for read operations and HPIAW for write operations. The HPI can be configured such that HPIAR and HPIAW act as a single 32-bit HPIA (single-HPIA mode) or as two separate 32-bit HPIAs (dual-HPIA mode) from the perspective of the host. The CPU can access HPIAW and HPIAR independently. For details about the HPIA registers and their modes, see the TMS320C6457 DSP Host Port Interface (HPI) User's Guide (SPRUGK7).

4.7.9.3 HPI Electrical Data/Timing

Table 4-57 Host-Port Interface Timing Requirements(1)(2)

(see Table 4-58 and see Figure 4-43, Figure 4-44, Figure 4-45, Figure 4-46, Figure 4-47, Figure 4-48, Figure 4-49, and Figure 4-50)
NO. MIN MAX UNIT
9 tsu(HASL-HSTBL) Setup time, HAS low before HSTROBE low 5 ns
10 th(HSTBL-HASL) Hold time, HAS low after HSTROBE low 2 ns
11 tsu(SELV-HASL) Setup time, select signals(3) valid before HAS low 5 ns
12 th(HASL-SELV) Hold time, select signals(3) valid after HAS low 5 ns
13 tw(HSTBL) Pulse duration, HSTROBE low 15 ns
14 tw(HSTBH) Pulse duration, HSTROBE high between consecutive accesses 2M ns
15 tsu(SELV-HSTBL) Setup time, select signals(3) valid before HSTROBE low 5 ns
16 th(HSTBL-SELV) Hold time, select signals(3) valid after HSTROBE low 5 ns
17 tsu(HDV-HSTBH) Setup time, host data valid before HSTROBE high 5 ns
18 th(HSTBH-HDV) Hold time, host data valid after HSTROBE high 1 ns
37 tsu(HCSL-HSTBL) Setup time, HCS low before HSTROBE low 0 ns
38 th(HRDYL-HSTBL) Hold time, HSTROBE low after HRDY low. HSTROBE should not be inactivated until HRDY is active (low); otherwise, HPI writes will not complete properly. 1.1 ns
(1) HSTROBE refers to the following logical operation on HCS, HDS1, and HDS2: [NOT(HDS1 XOR HDS2)] OR HCS.
(2) M = SYSCLK5 period = 6 ÷ CPU clock frequency in ns. For example, when running parts at 1000 MHz, use M = 6 ns.
(3) Select signals include: HCNTL[1:0] and HR/W. For HPI16 mode only, select signals also include HHWIL.

Table 4-58 Host-Port Interface Switching Characteristics(1)(2)

(see Table 4-57 and see Figure 4-43, Figure 4-44, Figure 4-45, Figure 4-46, Figure 4-47, Figure 4-48, Figure 4-49, and Figure 4-50)
NO. PARAMETER MIN MAX UNIT
1 td(HSTBL-HDV) Delay time, HSTROBE low to DSP data valid Case 1. HPIC or HPIA read 1 15 ns
Case 2. HPID read with no auto-increment(3) 9 × M + 20
Case 3. HPID read with auto-increment and read FIFO initially empty(3) 9 × M + 20
Case 4. HPID read with auto-increment and data previously prefetched into the read FIFO 1 15
2 tdis(HSTBH-HDV) Disable time, HD high-impedance from HSTROBE high 1 4 ns
3 ten(HSTBL-HD) Enable time, HD driven from HSTROBE low 3 15 ns
4 td(HSTBL-HRDYH) Delay time, HSTROBE low to HRDY high 12 ns
5 td(HSTBH-HRDYH) Delay time, HSTROBE high to HRDY high 12 ns
6 td(HSTBL-HRDYL) Delay time, HSTROBE low to HRDY low Case 1. HPID read with no auto-increment(3) 10 × M + 20 ns
Case 2. HPID read with auto-increment and read FIFO initially empty(3) 10 × M + 20
7 td(HDV-HRDYL) Delay time, HD valid to HRDY low 0 ns
34 td(HSTBH-HRDYL) Delay time, HSTROBE high to HRDY low Case 1. HPIA write(3) 5 × M + 20 ns
Case 2. HPID write with no auto-increment(3) 5 × M + 20
35 td(HSTBL-HRDYL) Delay time, HSTROBE low to HRDY low for HPIA write and FIFO not empty(3) 40 × M + 20 ns
36 td(HASL-HRDYH) Delay time, HAS low to HRDY high 12 ns
(1) M = SYSCLK5 period = 6 ÷ CPU clock frequency in ns. For example, when running parts at 1000 MHz, use M = 6 ns.
(2) HSTROBE refers to the following logical operation on HCS, HDS1, and HDS2: [NOT(HDS1 XOR HDS2)] OR HCS.
(3) Assumes the HPI is accessing L2/L1 memory and no other master is accessing the same memory location.
SM320C6457-HIREL HPI16_Read_Timing_HAS_Not_Used_6484.gif Figure 4-43 HPI16 Read Timing (HAS Not Used, Tied High)
(A) HSTROBE refers to the following logical operation on HCS, HDS1, and HDS2: [NOT(HDS1 XOR HDS2)] OR HCS.

(B) Depending on the type of write or read operation (HPID without auto-incrementing; HPIA, HPIC, or HPID with auto-incrementing) and the state of the FIFO, transitions on HRDY may or may not occur. For more detailed information on the HPI peripheral, see the TMS320C6457 DSP Host Port Interface (HPI) User's Guide (SPRUGK7).

SM320C6457-HIREL HPI16_Read_Timing_HAS_Used_6484.gif Figure 4-44 HPI16 Read Timing (HAS Used)
(A) HSTROBE refers to the following logical operation on HCS, HDS1, and HDS2: [NOT(HDS1 XOR HDS2)] OR HCS.

(B) Depending on the type of write or read operation (HPID without auto-incrementing; HPIA, HPIC, or HPID with auto-incrementing) and the state of the FIFO, transitions on HRDY may or may not occur. For more detailed information on the HPI peripheral, see the TMS320C6457 DSP Host Port Interface (HPI) User's Guide (SPRUGK7).

SM320C6457-HIREL HPI16_Write_Timing_HAS_Not_Used_6484.gif Figure 4-45 HPI16 Write Timing (HAS Not Used, Tied High)
(A) HSTROBE refers to the following logical operation on HCS, HDS1, and HDS2: [NOT(HDS1 XOR HDS2)] OR HCS.

(B) Depending on the type of write or read operation (HPID without auto-incrementing; HPIA, HPIC, or HPID with auto-incrementing) and the state of the FIFO, transitions on HRDY may or may not occur. For more detailed information on the HPI peripheral, see the TMS320C6457 DSP Host Port Interface (HPI) User's Guide (SPRUGK7).

SM320C6457-HIREL HPI16_Write_Timing_HAS_Used_6484.gif Figure 4-46 HPI16 Write Timing (HAS Used)
(A) HSTROBE refers to the following logical operation on HCS, HDS1, and HDS2: [NOT(HDS1 XOR HDS2)] OR HCS.

(B) Depending on the type of write or read operation (HPID without auto-incrementing; HPIA, HPIC, or HPID with auto-incrementing) and the state of the FIFO, transitions on HRDY may or may not occur. For more detailed information on the HPI peripheral, see the TMS320C6457 DSP Host Port Interface (HPI) User's Guide (SPRUGK7).

SM320C6457-HIREL HPI32_Read_Timing_HAS_Not_Used_6484.gif Figure 4-47 HPI32 Read Timing (HAS Not Used, Tied High)
(A) HSTROBE refers to the following logical operation on HCS, HDS1, and HDS2: [NOT(HDS1 XOR HDS2)] OR HCS.

(B) Depending on the type of write or read operation (HPID without auto-incrementing; HPIA, HPIC, or HPID with auto-incrementing) and the state of the FIFO, transitions on HRDY may or may not occur. For more detailed information on the HPI peripheral, see the TMS320C6457 DSP Host Port Interface (HPI) User's Guide (SPRUGK7).

(C) The timing tw(HSTBH), HSTROBE high pulse duration, must be met between consecutive HPI accesses in HPI32 mode.

SM320C6457-HIREL HPI32_Read_Timing_HAS_Used_6484.gif Figure 4-48 HPI32 Read Timing (HAS Used)
(A) HSTROBE refers to the following logical operation on HCS, HDS1, and HDS2: [NOT(HDS1 XOR HDS2)] OR HCS.

(B) Depending on the type of write or read operation (HPID without auto-incrementing; HPIA, HPIC, or HPID with auto-incrementing) and the state of the FIFO, transitions on HRDY may or may not occur. For more detailed information on the HPI peripheral, see the TMS320C6457 DSP Host Port Interface (HPI) User's Guide (SPRUGK7).

(C) The timing tw(HSTBH), HSTROBE high pulse duration, must be met between consecutive HPI accesses in HPI32 mode.

SM320C6457-HIREL HPI32_Write_Timing_HAS_Not_Used_6484.gif Figure 4-49 HPI32 Write Timing (HAS Not Used, Tied High)
(A) HSTROBE refers to the following logical operation on HCS, HDS1, and HDS2: [NOT(HDS1 XOR HDS2)] OR HCS.

(B) Depending on the type of write or read operation (HPID without auto-incrementing; HPIA, HPIC, or HPID with auto-incrementing) and the state of the FIFO, transitions on HRDY may or may not occur. For more detailed information on the HPI peripheral, see the TMS320C6457 DSP Host Port Interface (HPI) User's Guide (SPRUGK7).

(C) The timing tw(HSTBH), HSTROBE high pulse duration, must be met between consecutive HPI accesses in HPI32 mode.

SM320C6457-HIREL HPI32_Write_Timing_HAS_Used_6484.gif Figure 4-50 HPI32 Write Timing (HAS Used)
(A) HSTROBE refers to the following logical operation on HCS, HDS1, and HDS2: [NOT(HDS1 XOR HDS2)] OR HCS.

(B) Depending on the type of write or read operation (HPID without auto-incrementing; HPIA, HPIC, or HPID with auto-incrementing) and the state of the FIFO, transitions on HRDY may or may not occur. For more detailed information on the HPI peripheral, see the TMS320C6457 DSP Host Port Interface (HPI) User's Guide (SPRUGK7).

(C) The timing tw(HSTBH), HSTROBE high pulse duration, must be met between consecutive HPI accesses in HPI32 mode.

4.7.10 Multichannel Buffered Serial Port (McBSP)

The McBSP provides these functions:

  • Full-duplex communication
  • Double-buffered data registers, which allow a continuous data stream
  • Independent framing and clocking for receive and transmit
  • Direct interface to industry-standard codecs, analog interface chips (AICs), and other serially connected analog-to-digital (A/D) and digital-to-analog (D/A) devices
  • External shift clock or an internal, programmable frequency shift clock for data transfer

For more detailed information on the McBSP peripheral, see the TMS320C6457 DSP Multichannel Buffered Serial Port (McBSP) Reference Guide (SPRUGK8).

4.7.10.1 McBSP Device-Specific Information

The CLKS signal for MCBSP0 and MCBSP1 can be sourced from an external pin or by the PLL1 controller; for details, see Section 4.7.4. If the clock from the PLL1 controller is used, the clock is shared between the two McBSPs.

4.7.10.1.1 McBSP Peripheral Register Description(s)

Table 4-59 McBSP 0 Registers

HEX ADDRESS RANGE ACRONYM REGISTER NAME
028C 0000 DRR0 McBSP0 Data Receive Register via Configuration Bus(1)
3000 0000 DRR0 McBSP0 Data Receive Register via EDMA3 Bus
028C 0004 DXR0 McBSP0 Data Transmit Register via Configuration Bus
3000 0010 DXR0 McBSP0 Data Transmit Register via EDMA Bus
028C 0008 SPCR0 McBSP0 Serial Port Control Register
028C 000C RCR0 McBSP0 Receive Control Register
028C 0010 XCR0 McBSP0 Transmit Control Register
028C 0014 SRGR0 McBSP0 Sample Rate Generator register
028C 0018 MCR0 McBSP0 Multichannel Control Register
028C 001C RCERE00 McBSP0 Enhanced Receive Channel Enable Register 0 Partition A/B
028C 0020 XCERE00 McBSP0 Enhanced Transmit Channel Enable Register 0 Partition A/B
028C 0024 PCR0 McBSP0 Pin Control Register
028C 0028 RCERE10 McBSP0 Enhanced Receive Channel Enable Register 1 Partition C/D
028C 002C XCERE10 McBSP0 Enhanced Transmit Channel Enable Register 1 Partition C/D
028C 0030 RCERE20 McBSP0 Enhanced Receive Channel Enable Register 2 Partition E/F
028C 0034 XCERE20 McBSP0 Enhanced Transmit Channel Enable Register 2 Partition E/F
028C 0038 RCERE30 McBSP0 Enhanced Receive Channel Enable Register 3 Partition G/H
028C 003C XCERE30 McBSP0 Enhanced Transmit Channel Enable Register 3 Partition G/H
028C 0040 - 028F FFFF - Reserved
(1) The CPU and EDMA3 controller can only read the register, they cannot write to it.

Table 4-60 McBSP 1 Registers

HEX ADDRESS RANGE ACRONYM REGISTER NAME
0290 0000 DRR1 McBSP1 Data Receive Register via Configuration Bus(1)
3400 0000 DRR1 McBSP1 Data Receive Register via EDMA bus
0290 0004 DXR1 McBSP1 Data Transmit Register via configuration bus
3400 0010 DXR1 McBSP1 Data Transmit Register via EDMA bus
0290 0008 SPCR1 McBSP1 serial port control register
0290 000C RCR1 McBSP1 Receive Control Register
0290 0010 XCR1 McBSP1 Transmit Control Register
0290 0014 SRGR1 McBSP1 sample rate generator register
0290 0018 MCR1 McBSP1 multichannel control register
0290 001C RCERE01 McBSP1 Enhanced Receive Channel Enable Register 0 Partition A/B
0290 0020 XCERE01 McBSP1 Enhanced Transmit Channel Enable Register 0 Partition A/B
0290 0024 PCR1 McBSP1 Pin Control Register
0290 0028 RCERE11 McBSP1 Enhanced Receive Channel Enable Register 1 Partition C/D
0290 002C XCERE11 McBSP1 Enhanced Transmit Channel Enable Register 1 Partition C/D
0290 0030 RCERE21 McBSP1 Enhanced Receive Channel Enable Register 2 Partition E/F
0290 0034 XCERE21 McBSP1 Enhanced Transmit Channel Enable Register 2 Partition E/F
0290 0038 RCERE31 McBSP1 Enhanced Receive Channel Enable Register 3 Partition G/H
0290 003C XCERE31 McBSP1 Enhanced Transmit Channel Enable Register 3 Partition G/H
0290 0040 - 0293 FFFF - Reserved

4.7.10.2 McBSP Electrical Data/Timing

Table 4-61 McBSP Timing Requirements(1)

(see Figure 4-51)
NO. MIN MAX UNIT
2 tc(CKRX) Cycle time, CLKR/X CLKR/X ext 10P(2) ns
3 tw(CKRX) Pulse duration, CLKR/X high or CLKR/X low CLKR/X ext 0.5tc(CKRX) - 1(2) ns
5 tsu(FRH-CKRL) Setup time, external FSR high before CLKR low CLKR int 9 ns
CLKR ext 1.3
6 th(CKRL-FRH) Hold time, external FSR high after CLKR low CLKR int 6 ns
CLKR ext 3
7 tsu(DRV-CKRL) Setup time, DR valid before CLKR low CLKR int 8 ns
CLKR ext 0.9
8 th(CKRL-DRV) Hold time, DR valid after CLKR low CLKR int 3 ns
CLKR ext 3.1
10 tsu(FXH-CKXL) Setup time, external FSX high before CLKX low CLKR int 9 ns
CLKR ext 1.3
11 th(CKXL-FXH) Hold time, external FSX high after CLKX low CLKR int 6 ns
CLKR ext 3
(1) P = 1/SYSREFCLK frequency in ns. For example, when running parts at 1000 MHz, use P = 1 ns.
(2) This parameter applies to the maximum McBSP frequency. Operate serial clocks (CLKR/X) in the reasonable range of 40/60 duty cycle.

Table 4-62 Switching Characteristics for McBSP(1)(2)(3)

(see Figure 4-51)
NO. PARAMETER MIN MAX UNIT
1 td(CKSH-CKRXH) Delay time, CLKS high to CLKR/X high for internal CLKR/X generated from CLKS input.(4) 1.4 10 ns
2 tc(CKRX) Cycle time, CLKR/X CLKR/X int 10P(5) (6) (7) ns
3 tw(CKRX) Pulse duration, CLKR/X high or CLKR/X low CLKR/X int 0.5tc(CKRX) - 1 ns
4 td(CKRH-FRV) Delay time, CLKR high to internal FSR valid CLKR int -2.1 3 ns
9 td(CKXH-FXV) Delay time, CLKX high to internal FSX valid CLKX int -1.7 3 ns
CLKX ext 1.7 9
12 tdis(CKXH-DXHZ) Disable time, DX Hi-Z following last data bit from CLKX high CLKX int -3.9 4 ns
CLKX ext 2 9
13 td(CKXH-DXV) Delay time, CLKX high to DX valid CLKX int -3.9 4 ns
CLKX ext 2 9
14 td(FXH-DXV) Delay time, FSX high to DX valid applies ONLY when in data delay 0 (XDATDLY = 00b) mode FSX int -2.3 + D1(8) 5.6 + D2(8) ns
FSX ext 1.9 + D1(8) 9 + D2(8)
(1) Over recommended operating conditions.
(2) CLKRP = CLKXP = FSRP = FSXP = 0. If polarity of any of the signals is inverted, then the timing references of that signal are also inverted.
(3) Minimum delay times also represent minimum output hold times.
(4) The CLKS signal is shared by both McBSP0 and McBSP1 on this device.
(5) Minimum CLKR ÷ X cycle times must be met, even when CLKR ÷ X is generated by an internal clock source. Minimum CLKR ÷ X cycle times are based on internal logic speed; the maximum usable speed may be lower due to EDMA limitations and AC timing requirements
(6) P = 1/SYSREFCLK frequency in ns. For example, when running parts at 1000 MHz, use P = 1 ns.
(7) Use whichever value is greater
(8) Extra delay from FSX high to DX valid applies only to the first data bit of a device, if and only if DXENA = 1 in SPCR.
if DXENA = 0, then D1 = D2 = 0
if DXENA = 1, then D1 = 4P, D2 = 8P
SM320C6457-HIREL McBSP_Timing_6484.gif Figure 4-51 McBSP Timing
(A) The CLKS signal is shared by both McBSP0 and McBSP1 on this device.

(B) Parameter No. 13 applies to the first data bit only when XDATDLY ≠ 0.

Table 4-63 Timing Requirements for FSR When GSYNC = 1

(see Figure 4-52)
NO. MIN MAX UNIT
1 tsu(FRH-CKSH) Setup time, FSR high before CLKS high 4 ns
2 th(CKSH-FRH) Hold time, FSR high after CLKS high 4 ns
SM320C6457-HIREL FSR_Timing_When_GSYNC=1_6484.gif Figure 4-52 FSR Timing When GSYNC = 1

Table 4-64 SPI Timing Requirements as Master or Slave: CLKSTP = 10b, CLKXP = 0(1)(2)

(see Figure 4-53)
NO. MASTER SLAVE UNIT
MIN MAX MIN MAX
4 tsu(DRV-CKXL) Setup time, DR valid before CLKX low 12 2-12P ns
5 th(CKXL-DRV) Hold time, DR valid after CLKX low 4 5+24P ns
(1) For all SPI Slave modes, CLKG is programmed as 1/6 of the CPU clock by setting CLKSM = CLKGDV = 1.
(2) P = 1/SYSREFCLK frequency in ns. For example, when running parts at 1000 MHz, use P = 1 ns.

Table 4-65 SPI Switching Characteristics as Master or Slave: CLKSTP = 10b, CLKXP = 0(1)(2)(3)(4)(5)

(see Figure 4-53)
NO. PARAMETERS MASTER SLAVE UNIT
MIN MAX MIN MAX
1 td(CKXL-FXH) Delay time, FSX high after CLKX low T-2 T+3 ns
2 td(FXL-CKXH) Delay time, CLKX high after FSX low L-3 L+3 ns
3 td(CKXH-DXV) Delay time, CLKX high to DX valid -2 4 12P+2.8 24P+17 ns
6 tdis(CKXL-DXHZ) Disable time, DX high impedance following last data bit from CLKX low L-2 L+3 ns
7 tdis(FXH-DXHZ) Disable time, DX high impedance following last data bit from FSX high 4P+3 12P+17 ns
8 td(FXL-DXV) Delay time, FSX low to DX valid 8P+1.8 18P+17 ns
(1) P = 1/SYSREFCLK frequency in ns. For example, when running parts at 1000 MHz, use P = 1 ns.
(2) For all SPI Slave modes, CLKG is programmed as 1/6 of the CPU clock by setting CLKSM = CLKGDV = 1.
(3) S = Sample rate generator input clock = 6P if CLKSM = 1
S = Sample rate generator input clock = P_clks if CLKSM = 0 (P_clks = CLKS period)
T = CLKX period = (1 + CLKGDV) * S
H = CLKX high pulse width = (CLKGDV/2 + 1) * S if CLKGDV is even
H = (CLKGDV + 1)/2 * S if CLKGDV is odd
L = CLKX low pulse width = (CLKGDV/2) * S if CLKGDV is even
L = (CLKGDV + 1)/2 * S if CLKGDV is odd
(4) FSRP = FSXP = 1. As a SPI Master, FSX is inverted to provide active-low slave-enable output. As a Slave, the active-low signal input on FSX and FSR is inverted before being used internally.
CLKXM = FSXM = 1, CLKRM = FSRM = 0 for Master McBSP
CLKXM = CLKRM = FSXM = FSRM = 0 for Slave McBSP
(5) FSX should be low before the rising edge of clock to enable Slave devices and then begin a SPI transfer at the rising edge of the Master clock (CLKX).
SM320C6457-HIREL SPI_Timing_M_or_S_CLKSTP=10b_CLKXP=0_6484.gif Figure 4-53 SPI Timing as Master or Slave: CLKSTP = 10b, CLKXP = 0

Table 4-66 SPI Timing Requirements as Master or Slave: CLKSTP = 10b, CLKXP = 1(1)(2)

(see Figure 4-54)
NO. MASTER SLAVE UNIT
MIN MAX MIN MAX
4 tsu(DRV-CKXH) Setup time, DR valid before CLKX high 12 2-12P ns
5 th(CKXH-DRV) Hold time, DR valid after CLKX high 4 5+24P ns
(1) P = 1/SYSREFCLK frequency in ns. For example, when running parts at 1000 MHz, use P = 1 ns.
(2) For all SPI Slave modes, CLKG is programmed as 1/6 of the CPU clock by setting CLKSM = CLKGDV = 1.

Table 4-67 SPI Switching Characteristics as Master or Slave: CLKSTP = 10b, CLKXP = 1(1)(2)(3)(4)(5)

(see Figure 4-54)
NO. MASTER SLAVE UNIT
PARAMETER MIN MAX MIN MAX
1 td(CKXH-FXH) Delay time, FSX high after CLKX high T-2 T+3 ns
2 td(FXL-CKXL) Delay time, CLKX low after FSX low H-3 H+3 ns
3 td(CKXL-DXV) Delay time, CLKX low to DX valid -2 4 12P + 2.8 24P + 17 ns
6 tdis(CKXH-DXHZ) Disable time, DX high impedance following last data bit from CLKX high H-2 H+3 ns
7 tdis(FXH-DXHZ) Disable time, DX high impedance following last data bit from FSX high 4P+3 12P+17 ns
8 td(FXL-DXV) Delay time, FSX low to DX valid 8P+2 18P+17 ns
(1) P = 1/SYSREFCLK frequency in ns. For example, when running parts at 1000 MHz, use P = 1 ns.
(2) For all SPI Slave modes, CLKG is programmed as 1/6 of the CPU clock by setting CLKSM = CLKGDV = 1.
(3) S = Sample rate generator input clock = 6P if CLKSM = 1
S = Sample rate generator input clock = P_clks if CLKSM = 0 (P_clks = CLKS period)
T = CLKX period = (1 + CLKGDV) * S
H = CLKX high pulse width = (CLKGDV/2 + 1) * S if CLKGDV is even
H = (CLKGDV + 1)/2 * S if CLKGDV is odd
L = CLKX low pulse width = (CLKGDV/2) * S if CLKGDV is even
L = (CLKGDV + 1)/2 * S if CLKGDV is odd
(4) FSRP = FSXP = 1. As a SPI Master, FSX is inverted to provide active-low slave-enable output. As a Slave, the active-low signal input on FSX and FSR is inverted before being used internally.
CLKXM = FSXM = 1, CLKRM = FSRM = 0 for Master McBSP
CLKXM = CLKRM = FSXM = FSRM = 0 for Slave McBSP
(5) FSX should be low before the rising edge of clock to enable Slave devices and then begin a SPI transfer at the rising edge of the Master clock (CLKX).
SM320C6457-HIREL SPI_Timing_M_or_S_CLKSTP=10b_CLKXP=1_6484.gif Figure 4-54 SPI Timing as Master or Slave: CLKSTP = 10b, CLKXP = 1

Table 4-68 SPI Timing Requirements as Master or Slave: CLKSTP = 11b, CLKXP = 0(1)(2)

(see Figure 4-55)
NO. MASTER SLAVE UNIT
MIN MAX MIN MAX
4 tsu(DRV-CKXH) Setup time, DR valid before CLKX high 12 2-12P ns
5 th(CKXH-DRV) Hold time, DR valid after CLKX high 4 5+24P ns
(1) P = 1/SYSREFCLK frequency in ns. For example, when running parts at 1000 MHz, use P = 1 ns.
(2) For all SPI Slave modes, CLKG is programmed as 1/6 of the CPU clock by setting CLKSM = CLKGDV = 1.

Table 4-69 SPI Switching Characteristics as Master or Slave: CLKSTP = 11b, CLKXP = 0(1)(2)(3)(4)(5)

(see Figure 4-55)
NO. MASTER SLAVE UNIT
PARAMETER MIN MAX MIN MAX
1 td(CKXL-FXH) Delay time, FSX high after CLKX low L-2 L+3 ns
2 td(FXL-CKXH) Delay time, CLKX high after FSX low T-3 T+3 ns
3 td(CKXL-DXV) Delay time, CLKX low to DX valid -2 4 12P+2.8 24P+17 ns
6 tdis(CKXL-DXHZ) Disable time, DX high impedance following last data bit from CLKX low -2 4 12P+3 20P+17 ns
7 tdis(FXL-DXHZ) Disable time, DX high impedance following last data bit from FSX low H-2 H+4 8P+2 18P+17 ns
(1) P = 1/SYSREFCLK frequency in ns. For example, when running parts at 1000 MHz, use P = 1 ns.
(2) For all SPI Slave modes, CLKG is programmed as 1/6 of the CPU clock by setting CLKSM = CLKGDV = 1.
(3) S = Sample rate generator input clock = 6P if CLKSM = 1
S = Sample rate generator input clock = P_clks if CLKSM = 0 (P_clks = CLKS period)
T = CLKX period = (1 + CLKGDV) * S
H = CLKX high pulse width = (CLKGDV/2 + 1) * S if CLKGDV is even
H = (CLKGDV + 1)/2 * S if CLKGDV is odd
L = CLKX low pulse width = (CLKGDV/2) * S if CLKGDV is even
L = (CLKGDV + 1)/2 * S if CLKGDV is odd
(4) FSRP = FSXP = 1. As a SPI Master, FSX is inverted to provide active-low slave-enable output. As a Slave, the active-low signal input on FSX and FSR is inverted before being used internally.
CLKXM = FSXM = 1, CLKRM = FSRM = 0 for Master McBSP
CLKXM = CLKRM = FSXM = FSRM = 0 for Slave McBSP
(5) FSX should be low before the rising edge of clock to enable Slave devices and then begin a SPI transfer at the rising edge of the Master clock (CLKX).
SM320C6457-HIREL SPI_Timing_M_or_S_CLKSTP=11b_CLKXP=0_6484.gif Figure 4-55 SPI Timing as Master or Slave: CLKSTP = 11b, CLKXP = 0

Table 4-70 SPI Timing Requirements as Master or Slave: CLKSTP = 11b, CLKXP = 1(1)(2)

(see Figure 4-56)
NO. MASTER SLAVE UNIT
MIN MAX MIN MAX
4 tsu(DRV-CKXH) Setup time, DR valid before CLKX high 12 2-12P ns
5 th(CKXH-DRV) Hold time, DR valid after CLKX high 4 5+24P ns
(1) P = 1/SYSREFCLK frequency in ns. For example, when running parts at 1000 MHz, use P = 1 ns.
(2) For all SPI Slave modes, CLKG is programmed as 1/6 of the CPU clock by setting CLKSM = CLKGDV = 1.

Table 4-71 SPI Switching Characteristics as Master or Slave: CLKSTP = 11b, CLKXP = 1(1)(2)(3)(4)(5)

(see Figure 4-56)
NO. MASTER SLAVE UNIT
PARAMETER MIN MAX MIN MAX
1 td(CKXH-FXL) Delay time, FSX low after CLKX high H-2 H+3 ns
2 td(FXL-CKXL) Delay time, CLKX low after FSX low T-3 T+3 ns
3 td(CKXH-DXV) Delay time, CLKX high to DX valid -2 4 12P+2.8 24P+17 ns
6 tdis(CKXH-DXHZ) Disable time, DX high impedance following last data bit from CLKX high -2 4 12P+3 20P+17 ns
7 tdis(FXL-DXHZ) Disable time, DX high impedance following last data bit from FSX low L-2 L+4 8P+2 18P+17 ns
(1) P = 1/SYSREFCLK frequency in ns. For example, when running parts at 1000 MHz, use P = 1 ns.
(2) For all SPI Slave modes, CLKG is programmed as 1/6 of the CPU clock by setting CLKSM = CLKGDV = 1.
(3) S = Sample rate generator input clock = 6P if CLKSM = 1
S = Sample rate generator input clock = P_clks if CLKSM = 0 (P_clks = CLKS period)
T = CLKX period = (1 + CLKGDV) * S
H = CLKX high pulse width = (CLKGDV/2 + 1) * S if CLKGDV is even; H = (CLKGDV + 1)/2 * S if CLKGDV is odd
L = CLKX low pulse width = (CLKGDV/2) * S if CLKGDV is even
L = (CLKGDV + 1)/2 * S if CLKGDV is odd
(4) FSRP = FSXP = 1. As a SPI Master, FSX is inverted to provide active-low slave-enable output. As a Slave, the active-low signal input on FSX and FSR is inverted before being used internally.
CLKXM = FSXM = 1, CLKRM = FSRM = 0 for Master McBSP
CLKXM = CLKRM = FSXM = FSRM = 0 for Slave McBSP
(5) FSX should be low before the rising edge of clock to enable Slave devices and then begin a SPI transfer at the rising edge of the Master clock (CLKX).
SM320C6457-HIREL SPI_Timing_M_or_S_CLKSTP=11b_CLKXP=1_6484.gif Figure 4-56 SPI Timing as Master or Slave: CLKSTP = 11b, CLKXP = 1

4.7.11 Ethernet MAC (EMAC)

The Ethernet Media Access Controller (EMAC) module provides an efficient interface between the C6457 DSP core processor and the networked community. The EMAC supports 10Base-T (10 Mbits/second [Mbps]), and 100BaseTX (100 Mbps), in half- or full-duplex mode, and 1000BaseT (1000 Mbps) in full-duplex mode, with hardware flow control and quality-of-service (QOS) support.

The EMAC module conforms to the IEEE 802.3-2002 standard, describing the Carrier Sense Multiple Access with Collision Detection (CSMA/CD) Access Method and Physical Layer specifications. The IEEE 802.3 standard has also been adopted by ISO/IEC and re-designated as ISO/IEC 8802-3:2000(E).

Deviation from this standard, the EMAC module does not use the Transmit Coding Error signal MTXER. Instead of driving the error pin when an underflow condition occurs on a transmitted frame, the EMAC will intentionally generate an incorrect checksum by inverting the frame CRC, so that the transmitted frame will be detected as an error by the network.

The EMAC control module is the main interface between the device core processor, the MDIO module, and the EMAC module. The relationship between these three components is shown in Figure 4-57. The EMAC control module contains the necessary components to allow the EMAC to make efficient use of device memory, plus it controls device interrupts. The EMAC control module incorporates 8K-bytes of internal RAM to hold EMAC buffer descriptors.

SM320C6457-HIREL EMAC_MDIO_and_EMAC_Control_Modules_6484.gif Figure 4-57 EMAC, MDIO, and EMAC Control Modules

For more detailed information on the EMAC/MDIO, see the TMS320C6457 DSP EMAC/MDIO Module Reference Guide (SPRUGK9).

4.7.11.1 EMAC Device-Specific Information

The EMAC module on the device supports Serial Gigabit Media Independent Interface (SGMII). The SGMII interface conforms to version 1.8 of the industry standard specification.

4.7.11.2 EMAC Peripheral Register Description(s)

The memory maps of the EMAC are shown in Table 4-72 through Table 4-77.

Table 4-72 Ethernet MAC (EMAC) Control Registers

HEX ADDRESS ACRONYM REGISTER NAME
02C8 0000 TXIDVER Transmit Identification and Version Register
02C8 0004 TXCONTROL Transmit Control Register
02C8 0008 TXTEARDOWN Transmit Teardown register
02C8 000F - Reserved
02C8 0010 RXIDVER Receive Identification and Version Register
02C8 0014 RXCONTROL Receive Control Register
02C8 0018 RXTEARDOWN Receive Teardown Register
02C8 001C - Reserved
02C8 0020 - 02C8 007C - Reserved
02C8 0080 TXINTSTATRAW Transmit Interrupt Status (Unmasked) Register
02C8 0084 TXINTSTATMASKED Transmit Interrupt Status (Masked) Register
02C8 0088 TXINTMASKSET Transmit Interrupt Mask Set Register
02C8 008C TXINTMASKCLEAR Transmit Interrupt Mask Clear Register
02C8 0090 MACINVECTOR MAC Input Vector Register
02C8 0094 MACEOIVECTOR MAC End of Interrupt Vector Register
02C8 0098 - 02C8 019C - Reserved
02C8 00A0 RXINTSTATRAW Receive Interrupt Status (Unmasked) Register
02C8 00A4 RXINTSTATMASKED Receive Interrupt Status (Masked) Register
02C8 00A8 RXINTMASKSET Receive Interrupt Mask Set Register
02C8 00AC RXINTMASKCLEAR Receive Interrupt Mask Clear Register
02C8 00B0 MACINTSTATRAW MAC Interrupt Status (Unmasked) Register
02C8 00B4 MACINTSTATMASKED MAC Interrupt Status (Masked) Register
02C8 00B8 MACINTMASKSET MAC Interrupt Mask Set Register
02C8 00BC MACINTMASKCLEAR MAC Interrupt Mask Clear Register
02C8 00C0 - 02C8 00FC - Reserved
02C8 0100 RXMBPENABLE Receive Multicast/Broadcast/Promiscuous Channel Enable Register
02C8 0104 RXUNICASTSET Receive Unicast Enable Set Register
02C8 0108 RXUNICASTCLEAR Receive Unicast Clear Register
02C8 010C RXMAXLEN Receive Maximum Length Register
02C8 0110 RXBUFFEROFFSET Receive Buffer Offset Register
02C8 0114 RXFILTERLOWTHRESH Receive Filter Low Priority Frame Threshold Register
02C8 0118 - 02C8 011C - Reserved
02C8 0120 RX0FLOWTHRESH Receive Channel 0 Flow Control Threshold Register
02C8 0124 RX1FLOWTHRESH Receive Channel 1 Flow Control Threshold Register
02C8 0128 RX2FLOWTHRESH Receive Channel 2 Flow Control Threshold Register
02C8 012C RX3FLOWTHRESH Receive Channel 3 Flow Control Threshold Register
02C8 0130 RX4FLOWTHRESH Receive Channel 4 Flow Control Threshold Register
02C8 0134 RX5FLOWTHRESH Receive Channel 5 Flow Control Threshold Register
02C8 0138 RX6FLOWTHRESH Receive Channel 6 Flow Control Threshold Register
02C8 013C RX7FLOWTHRESH Receive Channel 7 Flow Control Threshold Register
02C8 0140 RX0FREEBUFFER Receive Channel 0 Free Buffer Count Register
02C8 0144 RX1FREEBUFFER Receive Channel 1 Free Buffer Count Register
02C8 0148 RX2FREEBUFFER Receive Channel 2 Free Buffer Count Register
02C8 014C RX3FREEBUFFER Receive Channel 3 Free Buffer Count Register
02C8 0150 RX4FREEBUFFER Receive Channel 4 Free Buffer Count Register
02C8 0154 RX5FREEBUFFER Receive Channel 5 Free Buffer Count Register
02C8 0158 RX6FREEBUFFER Receive Channel 6 Free Buffer Count Register
02C8 015C RX7FREEBUFFER Receive Channel 7 Free Buffer Count Register
02C8 0160 MACCONTROL MAC Control Register
02C8 0164 MACSTATUS MAC Status Register
02C8 0168 EMCONTROL Emulation Control Register
02C8 016C FIFOCONTROL FIFO Control Register
02C8 0170 MACCONFIG MAC Configuration Register
02C8 074 SOFTRESET Soft Reset Register
02C8 01D0 MACSRCADDRLO MAC Source Address Low Bytes Register
02C8 01D4 MACSRCADDRHI MAC Source Address High Bytes Register
02C8 01D8 MACHASH1 MAC Hash Address Register 1
02C8 01DC MACHASH2 MAC Hash Address Register 2
02C8 01E0 BOFFTEST Back Off Test Register
02C8 01E4 TPACETEST Transmit Pacing Algorithm Test Register
02C8 01E8 RXPAUSE Receive Pause Timer Register
02C8 01EC TXPAUSE Transmit Pause Timer Register
02C8 0300 - 02C8 03FC - Reserved
02C8 0400 - 02C8 04FC - Reserved
02C8 0500 MACADDRLO MAC Address Low Bytes Register (used in Receive Address Matching)
02C8 0504 MACADDRHI MAC Address High Bytes Register (used in Receive Address Matching)
02C8 0508 MACINDEX MAC Index Register
02C8 050C - 02C8 05FC - Reserved
02C8 0600 TX0HDP Transmit Channel 0 DMA Head Descriptor Pointer Register
02C8 0604 TX1HDP Transmit Channel 1 DMA Head Descriptor Pointer Register
02C8 0608 TX2HDP Transmit Channel 2 DMA Head Descriptor Pointer Register
02C8 060C TX3HDP Transmit Channel 3 DMA Head Descriptor Pointer Register
02C8 0610 TX4HDP Transmit Channel 4 DMA Head Descriptor Pointer Register
02C8 0614 TX5HDP Transmit Channel 5 DMA Head Descriptor Pointer Register
02C8 0618 TX6HDP Transmit Channel 6 DMA Head Descriptor Pointer Register
02C8 061C TX7HDP Transmit Channel 7 DMA Head Descriptor Pointer Register
02C8 0620 RX0HDP Receive Channel 0 DMA Head Descriptor Pointer Register
02C8 0624 RX1HDP Receive t Channel 1 DMA Head Descriptor Pointer Register
02C8 0628 RX2HDP Receive Channel 2 DMA Head Descriptor Pointer Register
02C8 062C RX3HDP Receive t Channel 3 DMA Head Descriptor Pointer Register
02C8 0630 RX4HDP Receive Channel 4 DMA Head Descriptor Pointer Register
02C8 0634 RX5HDP Receive t Channel 5 DMA Head Descriptor Pointer Register
02C8 0638 RX6HDP Receive Channel 6 DMA Head Descriptor Pointer Register
02C8 063C RX7HDP Receive t Channel 7 DMA Head Descriptor Pointer Register
02C8 0640 TX0CP Transmit Channel 0 Completion Pointer (Interrupt Acknowledge) Register
02C8 0644 TX1CP Transmit Channel 1 Completion Pointer (Interrupt Acknowledge) Register
02C8 0648 TX2CP Transmit Channel 2 Completion Pointer (Interrupt Acknowledge) Register
02C8 064C TX3CP Transmit Channel 3 Completion Pointer (Interrupt Acknowledge) Register
02C8 0650 TX4CP Transmit Channel 4 Completion Pointer (Interrupt Acknowledge) Register
02C8 0654 TX5CP Transmit Channel 5 Completion Pointer (Interrupt Acknowledge) Register
02C8 0658 TX6CP Transmit Channel 6 Completion Pointer (Interrupt Acknowledge) Register
02C8 065C TX7CP Transmit Channel 7 Completion Pointer (Interrupt Acknowledge) Register
02C8 0660 RX0CP Receive Channel 0 Completion Pointer (Interrupt Acknowledge) Register
02C8 0664 RX1CP Receive Channel 1 Completion Pointer (Interrupt Acknowledge) Register
02C8 0668 RX2CP Receive Channel 2 Completion Pointer (Interrupt Acknowledge) Register
02C8 066C RX3CP Receive Channel 3 Completion Pointer (Interrupt Acknowledge) Register
02C8 0670 RX4CP Receive Channel 4 Completion Pointer (Interrupt Acknowledge) Register
02C8 0674 RX5CP Receive Channel 5 Completion Pointer (Interrupt Acknowledge) Register
02C8 0678 RX6CP Receive Channel 6 Completion Pointer (Interrupt Acknowledge) Register
02C8 067C RX7CP Receive Channel 7 Completion Pointer (Interrupt Acknowledge) Register
02C8 0680 - 02C8 06FC - Reserved
02C8 0700 - 02C8 077C - Reserved
02C8 0780 - 02C8 0FFF - Reserved

Table 4-73 EMAC Statistics Registers

HEX ADDRESS ACRONYM REGISTER NAME
02C8 0200 RXGOODFRAMES Good Receive Frames Register
02C8 0204 RXBCASTFRAMES Broadcast Receive Frames Register (Total number of Good Broadcast Frames Receive)
02C8 0208 RXMCASTFRAMES Multicast Receive Frames Register (Total number of Good Multicast Frames Received)
02C8 020C RXPAUSEFRAMES Pause Receive Frames Register
02C8 0210 RXCRCERRORS Receive CRC Errors Register (Total number of Frames Received with CRC Errors)
02C8 0214 RXALIGNCODEERRORS Receive Alignment/Code Errors register (Total number of frames received with alignment/code errors)
02C8 0218 RXOVERSIZED Receive Oversized Frames Register (Total number of Oversized Frames Received)
02C8 021C RXJABBER Receive Jabber Frames Register (Total number of Jabber Frames Received)
02C8 0220 RXUNDERSIZED Receive Undersized Frames Register (Total number of Undersized Frames Received)
02C8 0224 RXFRAGMENTS Receive Frame Fragments Register
02C8 0228 RXFILTERED Filtered Receive Frames Register
02C8 022C RXQOSFILTERERED Received QOS Filtered Frames Register
02C8 0230 RXOCTETS Receive Octet Frames Register (Total number of Received Bytes in Good Frames)
02C8 0234 TXGOODFRAMES Good Transmit Frames Register (Total number of Good Frames Transmitted)
02C8 0238 TXBCASTFRAMES Broadcast Transmit Frames Register
02C8 023C TXMCASTFRAMES Multicast Transmit Frames Register
02C8 0240 TXPAUSEFRAMES Pause Transmit Frames Register
02C8 0244 TXDEFERED Deferred Transmit Frames Register
02C8 0248 TXCOLLISION Transmit Collision Frames Register
02C8 024C TXSINGLECOLL Transmit Single Collision Frames Register
02C8 0250 TXMULTICOLL Transmit Multiple Collision Frames Register
02C8 0254 TXEXCESSIVECOLL Transmit Excessive Collision Frames Register
02C8 0258 TXLATECOLL Transmit Late Collision Frames Register
02C8 025C TXUNDERRUN Transmit Under Run Error Register
02C8 0260 TXCARRIERSENSE Transmit Carrier Sense Errors Register
02C8 0264 TXOCTETS Transmit Octet Frames Register
02C8 0268 FRAME64 Transmit and Receive 64 Octet Frames Register
02C8 026C FRAME65T127 Transmit and Receive 65 to 127 Octet Frames Register
02C8 0270 FRAME128T255 Transmit and Receive 128 to 255 Octet Frames Register
02C8 0274 FRAME256T511 Transmit and Receive 256 to 511 Octet Frames Register
02C8 0278 FRAME512T1023 Transmit and Receive 512 to 1023 Octet Frames Register
02C8 027C FRAME1024TUP Transmit and Receive 1024 to 1518 Octet Frames Register
02C8 0280 NETOCTETS Network Octet Frames Register
02C8 0284 RXSOFOVERRUNS Receive FIFO or DMA Start of Frame Overruns Register
02C8 0288 RXMOFOVERRUNS Receive FIFO or DMA Middle of Frame Overruns Register
02C8 028C RXDMAOVERRUNS Receive DMA Start of Frame and Middle of Frame Overruns Register
02C8 0290 - 02C8 02FC - Reserved

Table 4-74 EMAC Descriptor Memory

HEX ADDRESS ACRONYM REGISTER NAME
02E0 0000 - 02E0 3FFF - EMAC Descriptor Memory

Table 4-75 SGMII Control Registers

HEX ADDRESS ACRONYM REGISTER NAME
02C4 0000 IDVER Identification and Version register
02C4 0004 SOFT_RESET Software Reset Register
02C4 0010 CONTROL Control Register
02C4 0014 STATUS Status Register
02C4 0018 MR_ADV_ABILITY Advertised Ability Register
02C4 001C - Reserved
02C4 0020 MR_LP_ADV_ABILITY Link Partner Advertised Ability Register
02C4 0024 - Reserved
02C4 0030 TX_CFG Transmit Configuration Register
02C4 0034 RX_CFG Receive Configuration Register
02C4 0038 AUX_CFG Auxiliary Configuration Register
02C4 0040 - 02C4 0048 - Reserved

Table 4-76 EMIC Control Registers

HEX ADDRESS ACRONYM REGISTER NAME
02C8 1000 IDVER Identification and Version register
02C8 1004 SOFT_RESET Software Reset Register
02C8 1008 EM_CONTROL Emulation Control Register
02C8 100C INT_CONTROL Interrupt Control Register
02C8 1010 C_RX_THRESH_EN Receive Threshold Interrupt Enable Register
02C8 1014 C_RX_EN Receive Interrupt Enable Register
02C8 1018 C_TX_EN Transmit Interrupt Enable Register
02C8 101C C_MISC_EN Misc Interrupt Enable Register
02C8 1040 C_RX_THRESH_STAT Receive Threshold Masked Interrupt Status Register
02C8 1044 C_RX_STAT Receive Interrupt Masked Interrupt Status Register
02C8 1048 C_TX_STAT Transmit Interrupt Masked Interrupt Status Register
02C8 104C C_MISC_STAT Misc Interrupt Masked Interrupt Status Register
02C8 1070 C_RX_IMAX Receive Interrupts Per Millisecond
02C8 1074 C_TX_IMAX Transmit Interrupts Per Millisecond

4.7.11.3 EMAC Electrical Data/Timing (SGMII)

The TMS320TCI6484 and TMS320C6457 DSPs Hardware Design Guide application report (SPRAAV7) specifies a complete EMAC and SGMII interface solutions for the C6457 as well as a list of compatible EMAC and SGMII devices. TI has performed the simulation and system characterization to ensure all EMAC and SGMII interface timings in this solution are met; therefore, no electrical data/timing information is supplied here for this interface.

NOTE

TI supports only designs that follow the board design guidelines outlined in the application report.

4.7.12 Management Data Input/Output (MDIO)

The Management Data Input/Output (MDIO) module implements the 802.3 serial management interface to interrogate and controls up to 32 Ethernet PHY(s) connected to the device, using a shared two-wire bus. Application software uses the MDIO module to configure the auto-negotiation parameters of each PHY attached to the EMAC, retrieve the negotiation results, and configure required parameters in the EMAC module for correct operation. The module is designed to allow almost transparent operation of the MDIO interface, with very little maintenance from the core processor.

The EMAC control module is the main interface between the device core processor, the MDIO module, and the EMAC module. The relationship between these three components is shown in Figure 4-57.

For more detailed information on the EMAC/MDIO, see the TMS320C6457 DSP EMAC/MDIO Module Reference Guide (SPRUGK9).

4.7.12.1 MDIO Peripheral Register Description(s)

The memory map of the MDIO is shown in Table 4-77.

Table 4-77 MDIO Registers

HEX ADDRESS ACRONYM REGISTER NAME
02C8 1800 VERSION MDIO Version Register
02C8 1804 CONTROL MDIO Control Register
02C8 1808 ALIVE MDIO PHY Alive Status Register
02C8 180C LINK MDIO PHY Link Status Register
02C8 1810 LINKINTRAW MDIO link Status Change Interrupt (unmasked) Register
02C8 1814 LINKINTMASKED MDIO link Status Change Interrupt (masked) Register
02C8 1818 - 02C8 181C - Reserved
02C8 1820 USERINTRAW MDIO User Command Complete Interrupt (Unmasked) Register
02C8 1824 USERINTMASKED MDIO User Command Complete Interrupt (Masked) Register
02C8 1828 USERINTMASKSET MDIO User Command Complete Interrupt Mask Set Register
02C8 182C USERINTMASKCLEAR MDIO User Command Complete Interrupt Mask Clear Register
02C8 1830 - 02C8 187C - Reserved
02C8 1880 USERACCESS0 MDIO User Access Register 0
02C8 1884 USERPHYSEL0 MDIO User PHY Select Register 0
02C8 1888 USERACCESS1 MDIO User Access Register 1
02C8 188C USERPHYSEL1 MDIO User PHY Select Register 1
02C8 1890 - 02C8 1FFF - Reserved

4.7.12.2 MDIO Electrical Data/Timing

Table 4-78 MDIO Input Timing Requirements

(see Figure 4-58)
NO. MIN MAX UNIT
1 tc(MDCLK) Cycle time, MDCLK 400 ns
2a tw(MDCLKH) Pulse duration, MDCLK high 180 ns
2b tw(MDCLKL) Pulse duration, MDCLK low 180 ns
3 tt(MDCLK) Transition time, MDCLK 5 ns
4 tsu(MDIO-MDCLKH) Setup time, MDIO data input valid before MDCLK high 10 ns
5 th(MDCLKH-MDIO) Hold time, MDIO data input valid after MDCLK high 10 ns
SM320C6457-HIREL MDIO_Input_Timing_6484.gif Figure 4-58 MDIO Input Timing

Table 4-79 MDIO Output Switching Characteristics(1)

(see Figure 4-59)
NO. PARAMETER MIN MAX UNIT
7 td(MDCLKL-MDIO) Delay time, MDCLK low to MDIO data output valid 100 ns
(1) Over recommended operating conditions.
SM320C6457-HIREL MDIO_Output_Timing_6484.gif Figure 4-59 MDIO Output Timing

4.7.13 Timers

The timers can be used to: time events, count events, generate pulses, interrupt the CPU, and send synchronization events to the EDMA3 channel controller.

4.7.13.1 Timers Device-Specific Information

The C6457 device has two general-purpose timers, Timer0 and Timer1, each of which can be configured as a general-purpose timer or as a watchdog timer. When configured as a general-purpose timer, each timer can be programmed as a 64-bit timer or as two separate 32-bit timers.

Each timer is made up of two 32-bit counters: a high counter and a low counter. The timer pins, TINPLx and TOUTLx are connected to the low counter. The high counter does not have any external device pins.

4.7.13.1.1 Timer Watchdog Select

As mentioned previously, the timers can operate in watchdog mode. When in watchdog mode, the event output from Timer1 can optionally reset the CPU. In order for the event to trigger the reset when this operation is desired, the Timer1 watchdog reset selection register (WDRSTSEL) should be set to 1. The WDRSTSEL register is shown in Figure 4-60 and described in Table 4-80.

Figure 4-60 Timer1 Watchdog Reset Selection Register (WDRSTSEL) (Address - 0288 0920h)
31 30 29 28 27 26 25 24 23 22 21 20 19 18 17 16
Reserved
R- 0000 0000 0000 0000 0000 0000 0000 000
15 14 13 12 11 10 9 8 7 6 5 4 3 2 1 0
Reserved WDRSTSEL
R- 0000 0000 0000 0000 0000 0000 0000 000 R/W-0
LEGEND: R/W = Read/Write; R = Read only; -n = value after reset

Table 4-80 Timer1 Watchdog Reset Selection Register (WDRSTSEL) Field Descriptions

Bit Acronym Description
31:1 Reserved Reserved.
0 WRDSTSEL Reset Select for Watchdog Timer1
  • 0 = TOUT1L does not cause a reset to the C64x+ megamodule (default)
  • 1 = TOUT1L causes a reset to the C64x+ megamodule

4.7.13.2 Timers Peripheral Register Description(s)

Table 4-81 Timer 0 Registers

HEX ADDRESS RANGE ACRONYM REGISTER NAME
0294 0000 - Reserved
0294 0004 EMUMGT_CLKSPD0 Timer 0 Emulation Management/Clock Speed Register
0294 0008 - Reserved
0294 000C - Reserved
0294 0010 CNTLO0 Timer 0 Counter Register Low
0294 0014 CNTHI0 Timer 0 Counter Register High
0294 0018 PRDLO0 Timer 0 Period Register Low
0294 001C PRDHI0 Timer 0 Period Register High
0294 0020 TCR0 Timer 0 Control Register
0294 0024 TGCR0 Timer 0 Global Control Register
0294 0028 WDTCR0 Timer 0 Watchdog Timer Control Register
0294 002C - Reserved
0294 0030 - Reserved
0294 0034 - 0297 FFFF - Reserved

Table 4-82 Timer 1 Registers

HEX ADDRESS RANGE ACRONYM REGISTER NAME
0298 0000 - Reserved
0298 0004 EMUMGT_CLKSPD1 Timer 1 Emulation Management/Clock Speed Register
0298 0008 - Reserved
0298 000C - Reserved
0298 0010 CNTLO1 Timer 1 Counter Register Low
0298 0014 CNTHI1 Timer 1 Counter Register High
0298 0018 PRDLO1 Timer 1 Period Register Low
0298 001C PRDHI1 Timer 1 Period Register High
0298 0020 TCR1 Timer 1 Control Register
0298 0024 TGCR1 Timer 1 Global Control Register
0298 0028 WDTCR1 Timer 1 Watchdog Timer Control Register
0298 002C - Reserved
0298 0030 - Reserved
0298 0034 - 0299 FFFF - Reserved

4.7.13.3 Timers Electrical Data/Timing

The below tables and figures describe the timing requirements and switching characteristics of both the Timer0 and Timer1 peripherals.

Table 4-83 Timer Input Timing Requirements(1)

(see Figure 4-61)
NO. MIN MAX UNIT
1 tw(TIMIH) Pulse duration, TIMI high 12C ns
2 tw(TIMIL) Pulse duration, TIMI low 12C ns
(1) If CORECLKSEL = 0, C = 1/CORECLK(NIP) frequency in ns. If CORECLKSEL = 1, C = 1/ALTCORECLK frequency in ns.

Table 4-84 Timer Output Switching Characteristics(1)(2)

(see Figure 4-61)
NO. PARAMETER MIN MAX UNIT
3 tw(TIMOH) Pulse duration, TIMO high 12C - 3 ns
4 tw(TIMOL) Pulse duration, TIMO low 12C - 3 ns
(1) Over recommended operating conditions.
(2) If CORECLKSEL = 0, C = 1/CORECLK(NIP) frequency in ns. If CORECLKSEL = 1, C = 1/ALTCORECLK frequency in ns.
SM320C6457-HIREL Timer_Timing_6484.gif Figure 4-61 Timer Timing

4.7.14 Enhanced Viterbi-Decoder Coprocessor (VCP2)

4.7.14.1 VCP2 Device-Specific Information

The C6457 device has a high-performance embedded Viterbi-Decoder Coprocessor (VCP2) that significantly speeds up channel-decoding operations on-chip. The VCP2, operating at CPU clock divided-by-3, can decode more than 694 7.95-Kbps adaptive multi-rate (AMR) [K = 9, R = 1/3] voice channels. The VCP2 supports constraint lengths K = 5, 6, 7, 8, and 9, rates R = 3/4, 1/2, 1/3, 1/4, and 1/5, and flexible polynomials, while generating hard decisions or soft decisions. Communications between the VCP2 and the CPU are carried out through the EDMA3 controller.

The VCP2 supports:

  • Unlimited frame sizes
  • Code rates 3/4, 1/2, 1/3, 1/4, and 1/5
  • Constraint lengths 5, 6, 7, 8, and 9
  • Programmable encoder polynomials
  • Programmable reliability and convergence lengths
  • Hard and soft decoded decisions
  • Tail and convergent modes
  • Yamamoto logic
  • Tail biting logic
  • Various input and output FIFO lengths

For more detailed information on the VCP2, see the TMS320C6457 DSP Viterbi-Decoder Coprocessor 2 (VCP2) Reference Guide (SPRUGK0).

4.7.14.2 VCP2 Peripheral Register Description

Table 4-85 VCP2 Registers

EDMA BUS HEX ADDRESS RANGE CONFIGURATION BUS HEX ADDRESS RANGE ACRONYM REGISTER NAME
5800 0000 - VCPIC0 VCP2 Input Configuration Register 0
5800 0004 - VCPIC1 VCP2 Input Configuration Register 1
5800 0008 - VCPIC2 VCP2 Input Configuration Register 2
5800 000C - VCPIC3 VCP2 Input Configuration Register 3
5800 0010 - VCPIC4 VCP2 Input Configuration Register 4
5800 0014 - VCPIC5 VCP2 Input Configuration Register 5
5800 0018 - 5800 0044 - Reserved
5800 0048 - VCPOUT0 VCP2 Output Register 0
5800 004C - VCPOUT1 VCP2 Output Register 1
5800 0050 - 5800 007C - Reserved
5800 0080 N/A VCPWBM VCP2 Branch Metrics Write FIFO Register
5800 0084 - 5800 009C - Reserved
5800 00C0 N/A VCPRDECS VCP2 Decisions Read FIFO Register
N/A 02B8 0000 VCPPID VCP2 Peripheral ID Register
N/A 02B8 0018 VCPEXE VCP2 Execution Register
N/A 02B8 0020 VCPEND VCP2 Endian Mode Register
N/A 02B8 0040 VCPSTAT0 VCP2 Status Register 0
N/A 02B8 0044 VCPSTAT1 VCP2 Status Register 1
N/A 02B8 0050 VCPERR VCP2 Error Register
- - - Reserved
N/A 02B8 0060 VCPEMU VCP2 Emulation Control Register
N/A 02B8 0064 - 02B9 FFFF - Reserved
5800 1000 - BM Branch Metrics
5800 2000 - SM State Metric
5800 3000 - TBHD Traceback Hard Decision
5800 6000 - TBSD Traceback Soft Decision
5800 F000 - IO Decoded Bits

4.7.15 Enhanced Turbo Decoder Coprocessor (TCP2)

4.7.15.1 TCP2 Device-Specific Information

The C6457 device has two high-performance embedded Turbo-Decoder Coprocessors (TCP2_A and TCP2_B) that significantly speed up channel-decoding operations on-chip. Each TCP2, operating at CPU clock divided-by-3, can decode up to fifty 384-Kbps or eight 2-Mbps turbo-encoded channels (assuming 6 iterations). The TCP2 implements the max * log-map algorithm and is designed to support all polynomials and rates required by Third-Generation Partnership Projects (3GPP and 3GPP2), with fully programmable frame length and turbo interleaver. Decoding parameters such as the number of iterations and stopping criteria are also programmable. Communications between the TCP2 and the CPU are carried out through the EDMA3 controller.

Each TCP2 supports:

  • Parallel concatenated convolutional turbo decoding using the MAP algorithm
  • All turbo code rates greater than or equal to 1/5
  • 3GPP and CDMA2000 turbo encoder trellis
  • 3GPP and CDMA2000 block sizes in standalone mode
  • Larger block sizes in shared processing mode
  • Both max log MAP and log MAP decoding
  • Sliding windows algorithm with variable reliability and prolog lengths
  • The prolog reduction algorithm
  • Execution of a minimum and maximum number of iterations
  • The SNR stopping criteria algorithm
  • The CRC stopping criteria algorithm

For more detailed information on the TCP2, see the TMS320C6457 DSP Turbo-Decoder Coprocessor 2 (TCP2) Reference Guide (SPRUGK1).

Table 4-86 TCP2_A Registers

EDMA BUS HEX ADDRESS RANGE CONFIGURATION BUS HEX ADDRESS RANGE ACRONYM REGISTER NAME
5000 0000 - TCPIC0 TCP2 Input Configuration Register 0
5000 0004 - TCPIC1 TCP2 Input Configuration Register 1
5000 0008 - TCPIC2 TCP2 Input Configuration Register 2
5000 000C - TCPIC3 TCP2 Input Configuration Register 3
5000 0010 - TCPIC4 TCP2 Input Configuration Register 4
5000 0014 - TCPIC5 TCP2 Input Configuration Register 5
5000 0018 - TCPIC6 TCP2 Input Configuration Register 6
5000 001C - TCPIC7 TCP2 Input Configuration Register 7
5000 0020 - TCPIC8 TCP2 Input Configuration Register 8
5000 0024 - TCPIC9 TCP2 Input Configuration Register 9
5000 0028 - TCPIC10 TCP2 Input Configuration Register 10
5000 002C - TCPIC11 TCP2 Input Configuration Register 11
5000 0030 - TCPIC12 TCP2 Input Configuration Register 12
5000 0034 - TCPIC13 TCP2 Input Configuration Register 13
5000 0038 - TCPIC14 TCP2 Input Configuration Register 14
5000 003C - TCPIC15 TCP2 Input Configuration Register 15
5000 0040 - TCPOUT0 TCP2 Output Parameters Register 0
5000 0044 - TCPOUT1 TCP2 Output Parameters Register 1
5000 0048 - TCPOUT2 TCP2 Output Parameters Register 2
5001 0000 N/A X0 TCP2 Data/Sys and Parity Memory
5003 0000 N/A W0 TCP2 Extrinsic Mem 0
5004 0000 N/A W1 TCP2 Extrinsic Mem 1
5005 0000 N/A I0 TCP2 Interleaver Memory
5006 0000 N/A O0 TCP2 Output/Decision Memory
5007 0000 N/A S0 TCP2 Scratch Pad Memory
5008 0000 N/A T0 TCP2 Beta State Memory
5009 0000 N/A C0 TCP2 CRC Memory
500A 0000 N/A B0 TCP2 Beta Prolog Memory
500B 0000 N/A A0 TCP2 Alpha Prolog Memory
02BA 0000 TCPPID TCP2 Peripheral Identification Register
N/A 02BA 004C TCPEXE TCP2 Execute Register
N/A 02BA 0050 TCPEND TCP2 Endianness Register
N/A 02BA 0060 TCPERR TCP2 Error Register
N/A 02BA 0068 TCPSTAT TCP2 Status Register
N/A 02BA 0070 TCPEMU TCP2 Emulation Register
N/A 02BA 0074 - 02BA 00FF - Reserved

Table 4-87 TCP2_B Registers

EDMA BUS HEX ADDRESS RANGE CONFIGURATION BUS HEX ADDRESS RANGE ACRONYM REGISTER NAME
5010 0000 - TCPIC0 TCP2 Input Configuration Register 0
5010 0004 - TCPIC1 TCP2 Input Configuration Register 1
5010 0008 - TCPIC2 TCP2 Input Configuration Register 2
5010 000C - TCPIC3 TCP2 Input Configuration Register 3
5010 0010 - TCPIC4 TCP2 Input Configuration Register 4
5010 0014 - TCPIC5 TCP2 Input Configuration Register 5
5010 0018 - TCPIC6 TCP2 Input Configuration Register 6
5010 001C - TCPIC7 TCP2 Input Configuration Register 7
5010 0020 - TCPIC8 TCP2 Input Configuration Register 8
5010 0024 - TCPIC9 TCP2 Input Configuration Register 9
5010 0028 - TCPIC10 TCP2 Input Configuration Register 10
5010 002C - TCPIC11 TCP2 Input Configuration Register 11
5010 0030 - TCPIC12 TCP2 Input Configuration Register 12
5010 0034 - TCPIC13 TCP2 Input Configuration Register 13
5010 0038 - TCPIC14 TCP2 Input Configuration Register 14
5010 003C - TCPIC15 TCP2 Input Configuration Register 15
5010 0040 - TCPOUT0 TCP2 Output Parameters Register 0
5010 0044 - TCPOUT1 TCP2 Output Parameters Register 1
5010 0048 - TCPOUT2 TCP2 Output Parameters Register 2
5011 0000 N/A X0 TCP2 Data/Sys and Parity Memory
5013 0000 N/A W0 TCP2 Extrinsic Mem 0
5014 0000 N/A W1 TCP2 Extrinsic Mem 1
5015 0000 N/A I0 TCP2 Interleaver Memory
5016 0000 N/A O0 TCP2 Output/Decision Memory
5017 0000 N/A S0 TCP2 Scratch Pad Memory
5018 0000 N/A T0 TCP2 Beta State Memory
5019 0000 N/A C0 TCP2 CRC Memory
501A 0000 N/A B0 TCP2 Beta Prolog Memory
501B 0000 N/A A0 TCP2 Alpha Prolog Memory
02BA 0100 TCPPID TCP2 Peripheral Identification Register
N/A 02BA 014C TCPEXE TCP2 Execute Register
N/A 02BA 0150 TCPEND TCP2 Endianness Register
N/A 02BA 0160 TCPERR TCP2 Error Register
N/A 02BA 0168 TCPSTAT TCP2 Status Register
N/A 02BA 0170 TCPEMU TCP2 Emulation Register
N/A 02BA 0174 - 02BB FFFF - Reserved

4.7.16 UTOPIA

4.7.16.1 UTOPIA Device-Specific Information

The Universal Test and Operations PHY Interface for ATM (UTOPIA) peripheral is a 50 MHz, 8-Bit Slave-only interface. The UTOPIA is more simplistic than the Ethernet MAC, in that the UTOPIA is serviced directly by the EDMA3 controller. The UTOPIA peripheral contains two, two-cell FIFOs, one for transmit and one for receive, with which to buffer up data sent/received across the pins. There is a transmit and a receive event to the EDMA3 channel controller to enable servicing.

For more detailed information on the UTOPIA peripheral, see the TMS320C6457 DSP Universal Test and Operations PHY Interface for ATM 2 (UTOPIA2) (SPRUGL1).

4.7.16.2 UTOPIA Peripheral Register Description(s)

Table 4-88 UTOPIA Registers

HEX ADDRESS RANGE ACRONYM REGISTER NAME
02B4 0000 UCR UTOPIA Control Register
02B4 0004 - Reserved
02B4 0008 - Reserved
02B4 000C - Reserved
02B4 0010 - Reserved
02B4 0014 CDR Clock Detect Register
02B4 0018 EIER Error Interrupt Enable Register
02B4 001C EIPR Error Interrupt Pending Register
02B4 0020 - 02B4 01FF - Reserved
02B4 0200 - 02B7 FFFF - Reserved

Table 4-89 UTOPIA Data Queues (Receive and Transmit) Registers

HEX ADDRESS RANGE ACRONYM REGISTER NAME
3D00 0000 - 3D00 007F URQ UTOPIA Receive (RX) Data Queue
3D00 0080 - 3D00 03FF - Reserved
3D00 0400 - 3D00 047F UXQ UTOPIA Transmit (TX) Data Queue
3D00 0480 - 3D00 07FF - Reserved

4.7.16.3 UTOPIA Electrical Data/Timing

Table 4-90 UXCLK Timing Requirements(1)

(see Figure 4-62)
NO. MIN MAX UNIT
1 tc(UXCK) Cycle time, UXCLK 20 ns
2 tw(UXCKH) Pulse duration, UXCLK high 0.4tc(UXCK) 0.6tc(UXCK) ns
3 tw(UXCKL) Pulse duration, UXCLK low 0.4tc(UXCK) 0.6tc(UXCK) ns
4 tt(UXCK) Transition time, UXCLK 2 ns
(1) The reference points for the rise and fall transitions are measured at VIL MAX and VIH MIN.
SM320C6457-HIREL UXCLK_Timing_6484.gif Figure 4-62 UXCLK Timing

Table 4-91 URCLK Timing Requirements(1)

(see Figure 4-63)
NO. MIN MAX UNIT
1 tc(URCK) Cycle time, URCLK 20 ns
2 tw(URCKH) Pulse duration, URCLK high 0.4tc(URCK) 0.6tc(URCK) ns
3 tw(URCKL) Pulse duration, URCLK low 0.4tc(URCK) 0.6tc(URCK) ns
4 tt(URCK) Transition time, URCLK 2 ns
(1) The reference points for the rise and fall transitions are measured at VIL MAX and VIH MIN.
SM320C6457-HIREL URCLK_Timing_6484.gif Figure 4-63 URCLK Timing

Table 4-92 UTOPIA Slave Transmit Timing Requirements

(see Figure 4-64)
NO. MIN MAX UNIT
2 tsu(UXAV-UXCH) Setup time, UXADDR valid before UXCLK high 4 ns
3 th(UXCH-UXAV) Hold time, UXADDR valid after UXCLK high 1 ns
8 tsu(UXENBL-UXCH) Setup time, UXENB low before UXCLK high 4 ns
9 th(UXCH-UXENBL) Hold time, UXENB low after UXCLK high 1 ns

Table 4-93 UTOPIA Slave Transmit Cycles Switching Characteristics(1)

(see Figure 4-64)
No. Parameter Min Max Unit
1 td(UXCH-UXDV) Delay time, UXCLK high to UXDATA valid 2 12 ns
4 td(UXCH-UXCLAV) Delay time, UXCLK high to UXCLAV driven active value 2 12 ns
5 td(UXCH-UXCLAVL) Delay time, UXCLK high to UXCLAV driven inactive low 2 12 ns
6 td(UXCH-UXCLAVHZ) Delay time, UXCLK high to UXCLAV going Hi-Z 9 18.5 ns
7 tw(UXCLAVL-UXCLAVHZ) Pulse duration (low), UXCLAV low to UXCLAV Hi-Z 2 ns
10 td(UXCH-UXSV) Delay time, UXCLK high to UXSOC valid 2 12 ns
(1) Over recommended operating conditions.
SM320C6457-HIREL UTOPIA_Slave_Transmit_Timing_6484.gif Figure 4-64 UTOPIA Slave Transmit Timing(A)
(A) The UTOPIA slave module has signals that are middle-level signals indicating a high-impedance state (i.e., the UXCLAV and UXSOC signals).

Table 4-94 UTOPIA Slave Receive Timing Requirements

(see Figure 4-65)
NO. MIN MAX UNIT
1 tsu(URDV-URCH) Setup time, URDATA valid before URCLK high 4 ns
2 th(URCH-URDV) Hold time, URDATA valid after URCLK high 1 ns
3 tsu(URAV-URCH) Setup time, URADDR valid before URCLK high 4 ns
4 th(URCH-URAV) Hold time, URADDR valid after URCLK high 1 ns
9 tsu(URENBL-URCH) Setup time, URENB low before URCLK high 4 ns
10 th(URCH-URENBL) Hold time, URENB low after URCLK high 1 ns
11 tsu(URSH-URCH) Setup time, URSOC high before URCLK high 4 ns
12 th(URCH-URSH) Hold time, URSOC high after URCLK high 1 ns

Table 4-95 Switching Characteristics for UTOPIA Slave Receive Cycles(1)

(see Figure 4-65)
NO. PARAMETER MIN MAX UNIT
5 td(URCH-URCLAV) Delay time, URCLK high to URCLAV driven active value 3 12 ns
6 td(URCH-URCLAVL) Delay time, URCLK high to URCLAV driven inactive low 3 12 ns
7 td(URCH-URCLAVHZ) Delay time, URCLK high to URCLAV going Hi-Z 9 18.5 ns
8 tw(URCLAVL-URCLAVHZ) Pulse duration (low), URCLAV low to URCLAV Hi-Z 3 ns
(1) Over recommended operating conditions.
SM320C6457-HIREL UTOPIA_Slave_Receive_Timing_6484.gif Figure 4-65 UTOPIA Slave Receive Timing(A)
(A) The UTOPIA slave module has signals that are middle-level signals indicating a high-impedance state (i.e., the URCLAV and URSOC signals).

4.7.17 Serial RapidIO (SRIO) Port

The SRIO port on the C6457 device is a high-performance, low pin-count interconnect aimed for embedded markets. The use of the RapidIO interconnect in a baseband board design can create a homogeneous interconnect environment, providing even more connectivity and control among the components. RapidIO is based on the memory and device addressing concepts of processor buses where the transaction processing is managed completely by hardware. This enables the RapidIO interconnect to lower the system cost by providing lower latency, reduced overhead of packet data processing, and higher system bandwidth, all of which are key for wireless interfaces. The RapidIO interconnect offers very low pin-count interfaces with scalable system bandwidth based on 10-Gigabit per second (Gbps) bidirectional links.

The PHY part of the RIO consists of the physical layer and includes the input and output buffers (each serial link consists of a differential pair), the 8-bit/10-bit encoder/decoder, the PLL clock recovery, and the parallel-to-serial/serial-to-parallel converters.

The C6457 device supports four 1× or one 4× Serial RapidIO links. The RapidIO interface should be designed to operate at a data rate of 3.125 Gbps per differential pair. This equals 12.5 raw GBaud/s for the 4× RapidIO port, or approximately 9 Gbps data throughput rate.

4.7.17.1 Serial RapidIO Device-Specific Information

The approach to specifying interface timing for the SRIO Port is different than on other interfaces such as EMIFA, HPI, and McBSP. For these other interfaces, the device timing was specified in terms of data manual specifications and I/O buffer information specification (IBIS) models.

For the C6457 SRIO Port, Texas Instruments (TI) provides a printed circuit board (PCB) solution showing two DSPs connected via a 4× SRIO link directly to the user. TI has performed the simulation and system characterization to ensure all SRIO interface timings in this solution are met. The complete SRIO system solution is documented in the TMS320TCI6484 and TMS320C6457 SerDes Implementation Guidelines application report (SPRAAY1).

NOTE

TI supports only designs that follow the board design guidelines outlined in the application report.

The Serial RapidIO peripheral is a master peripheral in the C6457 DSP. It conforms to the RapidIO™ Interconnect Specification, Part VI: Physical Layer 1×/4× LP-Serial Specification, Revision 1.3.

4.7.17.2 Serial RapidIO Peripheral Register Description(s)

Table 4-96 RapidIO Control Registers

HEX ADDRESS RANGE ACRONYM REGISTER NAME
02D0 0000 RIO_PID Peripheral Identification Register
02D0 0004 RIO_PCR Peripheral Control Register
02D0 0008 - 02D0 001C - Reserved
02D0 0020 RIO_PER_SET_CNTL0 Peripheral Settings Control Register 0
02D0 0024 RIO_PER_SET_CNTL1 Peripheral Settings Control Register 1
02D0 0028 - 02D0 002C - Reserved
02D0 0030 RIO_GBL_EN Peripheral Global Enable Register
02D0 0034 RIO_GBL_EN_STAT Peripheral Global Enable Status
02D0 0038 RIO_BLK0_EN Block Enable 0
02D0 003C RIO_BLK0_EN_STAT Block Enable Status 0
02D0 0040 RIO_BLK1_EN Block Enable 1
02D0 0044 RIO_BLK1_EN_STAT Block Enable Status 1
02D0 0048 BLK2_EN Block Enable 2
02D0 004C BLK2_EN_STAT Block Enable Status 2
02D0 0050 BLK3_EN Block Enable 3
02D0 0054 BLK3_EN_STAT Block Enable Status 3
02D0 0058 BLK4_EN Block Enable 4
02D0 005C BLK4_EN_STAT Block Enable Status 4
02D0 0060 BLK5_EN Block Enable 5
02D0 0064 BLK5_EN_STAT Block Enable Status 5
02D0 0068 BLK6_EN Block Enable 6
02D0 006C BLK6_EN_STAT Block Enable Status 6
02D0 0070 BLK7_EN Block Enable 7
02D0 0074 BLK7_EN_STAT Block Enable Status 7
02D0 0078 BLK8_EN Block Enable 8
02D0 007C BLK8_EN_STAT Block Enable Status 8
02D0 0080 DEVICEID_REG1 RapidIO DEVICEID1 Register
02D0 0084 DEVICEID_REG2 RapidIO DEVICEID2 Register
02D0 0088 DEVICEID_REG3 RapidIO DEVICEID3 Register
02D0 008C DEVICEID_REG4 RapidIO DEVICEID4 Register
02D0 0090 PF_16B_CNTL0 Packet Forwarding Register 0 for 16-bit Device IDs
02D0 0094 PF_8B_CNTL0 Packet Forwarding Register 0 for 8-bit Device IDs
02D0 0098 PF_16B_CNTL1 Packet Forwarding Register 1 for 16-bit Device IDs
02D0 009C PF_8B_CNTL1 Packet Forwarding Register 1 for 8-bit Device IDs
02D0 00A0 PF_16B_CNTL2 Packet Forwarding Register 2 for 16-bit Device IDs
02D0 00A4 PF_8B_CNTL2 Packet Forwarding Register 2 for 8-bit Device IDs
02D0 00A8 PF_16B_CNTL3 Packet Forwarding Register 3 for 16-bit Device IDs
02D0 00AC PF_8B_CNTL3 Packet Forwarding Register 3 for 8-bit Device IDs
02D0 00B0 - 02D0 00FC - Reserved
02D0 0100 SERDES_CFGRX0_CNTL SerDes Receive Channel Configuration Register 0
02D0 0104 SERDES_CFGRX1_CNTL SerDes Receive Channel Configuration Register 1
02D0 0108 SERDES_CFGRX2_CNTL SerDes Receive Channel Configuration Register 2
02D0 010C SERDES_CFGRX3_CNTL SerDes Receive Channel Configuration Register 3
02D0 0110 SERDES_CFGTX0_CNTL SerDes Transmit Channel Configuration Register 0
02D0 0114 SERDES_CFGTX1_CNTL SerDes Transmit Channel Configuration Register 1
02D0 0118 SERDES_CFGTX2_CNTL SerDes Transmit Channel Configuration Register 2
02D0 011C SERDES_CFGTX3_CNTL SerDes Transmit Channel Configuration Register 3
02D0 0120 SERDES_CFG0_CNTL SerDes Macro Configuration Register 0
02D0 0124 SERDES_CFG1_CNTL SerDes Macro Configuration Register 1
02D0 0128 SERDES_CFG2_CNTL SerDes Macro Configuration Register 2
02D0 012C SERDES_CFG3_CNTL SerDes Macro Configuration Register 3
02D0 0130 - 02D0 01FC - Reserved
02D0 0200 DOORBELL0_ICSR DOORBELL Interrupt Condition Status Register 0
02D0 0204 - Reserved
02D0 0208 DOORBELL0_ICCR DOORBELL Interrupt Condition Clear Register 0
02D0 020C - Reserved
02D0 0210 DOORBELL1_ICSR DOORBELL Interrupt Condition Status Register 1
02D0 0214 - Reserved
02D0 0218 DOORBELL1_ICCR DOORBELL Interrupt Condition Clear Register 1
02D0 021C - Reserved
02D0 0220 DOORBELL2_ICSR DOORBELL Interrupt Condition Status Register 2
02D0 0224 - Reserved
02D0 0228 DOORBELL2_ICCR DOORBELL Interrupt Condition Clear Register 2
02D0 022C - Reserved
02D0 0230 DOORBELL3_ICSR DOORBELL Interrupt Condition Status Register 3
02D0 0234 - Reserved
02D0 0238 DOORBELL3_ICCR DOORBELL Interrupt Condition Clear Register 3
02D0 023C - Reserved
02D0 0240 RX_CPPI_ICSR RX CPPI Interrupt Condition Status Register
02D0 0244 - Reserved
02D0 0248 RX_CPPI_ICCR RX CPPI Interrupt Condition Clear Register
02D0 024c - Reserved
02D0 0250 TX_CPPI_ICSR TX CPPI Interrupt Condition Status Register
02D0 0254 - Reserved
02D0 0258 TX_CPPI_ICCR TX CPPI Interrupt Condition Clear Register
02D0 025C - Reserved
02D0 0260 LSU_ICSR LSU Interrupt Condition Status Register
02D0 0264 - Reserved
02D0 0268 LSU_ICCR LSU Interrupt Condition Clear Register
02D0 026C - Reserved
02D0 0270 ERR_RST_EVNT_ICSR Error, Reset, and Special Event Interrupt Condition Status Register
02D0 0274 - Reserved
02D0 0278 ERR_RST_EVNT_ICCR Error, Reset, and Special Event Interrupt Condition Clear Register
02D0 027C - Reserved
02D0 0280 DOORBELL0_ICRR DOORBELL0 Interrupt Condition Routing Register
02D0 0284 DOORBELL0_ICRR2 DOORBELL 0 Interrupt Condition Routing Register 2
02D0 0288 - 02D0 028C - Reserved
02D0 0290 DOORBELL1_ICRR DOORBELL1 Interrupt Condition Routing Register
02D0 0294 DOORBELL1_ICRR2 DOORBELL 1 Interrupt Condition Routing Register 2
02D0 0298 - 02D0 029C - Reserved
02D0 02A0 DOORBELL2_ICRR DOORBELL2 Interrupt Condition Routing Register
02D0 02A4 DOORBELL2_ICRR2 DOORBELL 2 Interrupt Condition Routing Register 2
02D0 02A8 - 02D0 02AC - Reserved
02D0 02B0 DOORBELL3_ICRR DOORBELL3 Interrupt Condition Routing Register
02D0 02B4 DOORBELL3_ICRR2 DOORBELL 3 Interrupt Condition Routing Register 2
02D0 02B8 - 02D0 02BC - Reserved
02D0 02C0 RX_CPPI_ICRR Receive CPPI Interrupt Condition Routing Register
02D0 02C4 RX_CPPI_ICRR2 Receive CPPI Interrupt Condition Routing Register 2
02D0 02C8 - 02D0 02CC - Reserved
02D0 02D0 TX_CPPI_ICRR Transmit CPPI Interrupt Condition Routing Register
02D0 02D4 TX_CPPI_ICRR2 Transmit CPPI Interrupt Condition Routing Register 2
02D0 02D8 - 02D0 02DC - Reserved
02D0 02E0 LSU_ICRR0 LSU Interrupt Condition Routing Register 0
02D0 02E4 LSU_ICRR1 LSU Interrupt Condition Routing Register 1
02D0 02E8 LSU_ICRR2 LSU Interrupt Condition Routing Register 2
02D0 02EC LSU_ICRR3 LSU Interrupt Condition Routing Register 3
02D0 02F0 ERR_RST_EVNT_ICRR Error, Reset, and Special Event Interrupt Condition Routing Register
02D0 02F4 ERR_RST_EVNT_ICRR2 Error, Reset, and Special Event Interrupt Condition Routing Register 2
02D0 02F8 ERR_RST_EVNT_ICRR3 Error, Reset, and Special Event Interrupt Condition Routing Register 3
02D0 02FC - Reserved
02D0 0300 INTDST0_DECODE INTDST Interrupt Status Decode Register 0
02D0 0304 INTDST1_DECODE INTDST Interrupt Status Decode Register 1
02D0 0308 INTDST2_DECODE INTDST Interrupt Status Decode Register 2
02D0 030C INTDST3_DECODE INTDST Interrupt Status Decode Register 3
02D0 0310 INTDST4_DECODE INTDST Interrupt Status Decode Register 4
02D0 0314 INTDST5_DECODE INTDST Interrupt Status Decode Register 5
02D0 0318 INTDST6_DECODE INTDST Interrupt Status Decode Register 6
02D0 031C INTDST7_DECODE INTDST Interrupt Status Decode Register 7
02D0 0320 INTDST0_RATE_CNTL INTDST Interrupt Rate Control Register 0
02D0 0324 INTDST1_RATE_CNTL INTDST Interrupt Rate Control Register 1
02D0 0328 INTDST2_RATE_CNTL INTDST Interrupt Rate Control Register 2
02D0 032C INTDST3_RATE_CNTL INTDST Interrupt Rate Control Register 3
02D0 0330 INTDST4_RATE_CNTL INTDST Interrupt Rate Control Register 4
02D0 0334 INTDST5_RATE_CNTL INTDST Interrupt Rate Control Register 5
02D0 0338 INTDST6_RATE_CNTL INTDST Interrupt Rate Control Register 6
02D0 033C INTDST7_RATE_CNTL INTDST Interrupt Rate Control Register 7
02D0 0340 - 02D0 03FC - Reserved
02D0 0400 LSU1_REG0 LSU1 Control Register 0
02D0 0404 LSU1_REG1 LSU1 Control Register 1
02D0 0408 LSU1_REG2 LSU1 Control Register 2
02D0 040C LSU1_REG3 LSU1 Control Register 3
02D0 0410 LSU1_REG4 LSU1 Control Register 4
02D0 0414 LSU1_REG5 LSU1 Control Register 5
02D0 0418 LSU1_REG6 LSU1 Control Register 6
02D0 041C LSU1_FLOW_MASKS1 LSU1 Congestion Control Flow Mask Register
02D0 0420 LSU2_REG0 LSU2 Control Register 0
02D0 0424 LSU2_REG1 LSU2 Control Register 1
02D0 0428 LSU2_REG2 LSU2 Control Register 2
02D0 042C LSU2_REG3 LSU2 Control Register 3
02D0 0430 LSU2_REG4 LSU2 Control Register 4
02D0 0434 LSU2_REG5 LSU2 Control Register 5
02D0 0438 LSU2_REG6 LSU2 Control Register 6
02D0 043C LSU2_FLOW_MASKS2 LSU2 Congestion Control Flow Mask Register
02D0 0440 LSU3_REG0 LSU3 Control Register 0
02D0 0444 LSU3_REG1 LSU3 Control Register 1
02D0 0448 LSU3_REG2 LSU3 Control Register 2
02D0 044C LSU3_REG3 LSU3 Control Register 3
02D0 0450 LSU3_REG4 LSU3 Control Register 4
02D0 0454 LSU3_REG5 LSU3 Control Register 5
02D0 0458 LSU3_REG6 LSU3 Control Register 6
02D0 045C LSU3_FLOW_MASKS3 LSU3 Congestion Control Flow Mask Register
02D0 0460 LSU4_REG0 LSU4 Control Register 0
02D0 0464 LSU4_REG1 LSU4 Control Register 1
02D0 0468 LSU4_REG2 LSU4 Control Register 2
02D0 046C LSU4_REG3 LSU4 Control Register 3
02D0 0470 LSU4_REG4 LSU4 Control Register 4
02D0 0474 LSU4_REG5 LSU4 Control Register 5
02D0 0478 LSU4_REG6 LSU4 Control Register 6
02D0 047C LSU4_FLOW_MASKS4 LSU4 Congestion Control Flow Mask Register
02D0 0480 - 02D0 04FC - Reserved
02D0 0500 QUEUE0_TXDMA_HDP Queue Transmit DMA Head Descriptor Pointer Register 0
02D0 0504 QUEUE1_TXDMA_HDP Queue Transmit DMA Head Descriptor Pointer Register 1
02D0 0508 QUEUE2_TXDMA_HDP Queue Transmit DMA Head Descriptor Pointer Register 2
02D0 050C QUEUE3_TXDMA_HDP Queue Transmit DMA Head Descriptor Pointer Register 3
02D0 0510 QUEUE4_TXDMA_HDP Queue Transmit DMA Head Descriptor Pointer Register 4
02D0 0514 QUEUE5_TXDMA_HDP Queue Transmit DMA Head Descriptor Pointer Register 5
02D0 0518 QUEUE6_TXDMA_HDP Queue Transmit DMA Head Descriptor Pointer Register 6
02D0 051C QUEUE7_TXDMA_HDP Queue Transmit DMA Head Descriptor Pointer Register 7
02D0 0520 QUEUE8_TXDMA_HDP Queue Transmit DMA Head Descriptor Pointer Register 8
02D0 0524 QUEUE9_TXDMA_HDP Queue Transmit DMA Head Descriptor Pointer Register 9
02D0 0528 QUEUE10_TXDMA_HDP Queue Transmit DMA Head Descriptor Pointer Register 10
02D0 052C QUEUE11_TXDMA_HDP Queue Transmit DMA Head Descriptor Pointer Register 11
02D0 0530 QUEUE12_TXDMA_HDP Queue Transmit DMA Head Descriptor Pointer Register 12
02D0 0534 QUEUE13_TXDMA_HDP Queue Transmit DMA Head Descriptor Pointer Register 13
02D0 0538 QUEUE14_TXDMA_HDP Queue Transmit DMA Head Descriptor Pointer Register 14
02D0 053C QUEUE15_TXDMA_HDP Queue Transmit DMA Head Descriptor Pointer Register 15
02D0 0540 - 02D0 057C - Reserved
02D0 0580 QUEUE0_TXDMA_CP Queue Transmit DMA Completion Pointer Register 0
02D0 0584 QUEUE1_TXDMA_CP Queue Transmit DMA Completion Pointer Register 1
02D0 0588 QUEUE2_TXDMA_CP Queue Transmit DMA Completion Pointer Register 2
02D0 058C QUEUE3_TXDMA_CP Queue Transmit DMA Completion Pointer Register 3
02D0 0590 QUEUE4_TXDMA_CP Queue Transmit DMA Completion Pointer Register 4
02D0 0594 QUEUE5_TXDMA_CP Queue Transmit DMA Completion Pointer Register 5
02D0 0598 QUEUE6_TXDMA_CP Queue Transmit DMA Completion Pointer Register 6
02D0 059C QUEUE7_TXDMA_CP Queue Transmit DMA Completion Pointer Register 7
02D0 05A0 QUEUE8_TXDMA_CP Queue Transmit DMA Completion Pointer Register 8
02D0 05A4 QUEUE9_TXDMA_CP Queue Transmit DMA Completion Pointer Register 9
02D0 05A8 QUEUE10_TXDMA_CP Queue Transmit DMA Completion Pointer Register 10
02D0 05AC QUEUE11_TXDMA_CP Queue Transmit DMA Completion Pointer Register 11
02D0 05B0 QUEUE12_TXDMA_CP Queue Transmit DMA Completion Pointer Register 12
02D0 05B4 QUEUE13_TXDMA_CP Queue Transmit DMA Completion Pointer Register 13
02D0 05B8 QUEUE14_TXDMA_CP Queue Transmit DMA Completion Pointer Register 14
02D0 05BC QUEUE15_TXDMA_CP Queue Transmit DMA Completion Pointer Register 15
02D0 05D0 - 02D0 05FC - Reserved
02D0 0600 QUEUE0_RXDMA_HDP Queue Receive DMA Head Descriptor Pointer Register 0
02D0 0604 QUEUE1_RXDMA_HDP Queue Receive DMA Head Descriptor Pointer Register 1
02D0 0608 QUEUE2_RXDMA_HDP Queue Receive DMA Head Descriptor Pointer Register 2
02D0 060C QUEUE3_RXDMA_HDP Queue Receive DMA Head Descriptor Pointer Register 3
02D0 0610 QUEUE4_RXDMA_HDP Queue Receive DMA Head Descriptor Pointer Register 4
02D0 0614 QUEUE5_RXDMA_HDP Queue Receive DMA Head Descriptor Pointer Register 5
02D0 0618 QUEUE6_RXDMA_HDP Queue Receive DMA Head Descriptor Pointer Register 6
02D0 061C QUEUE7_RXDMA_HDP Queue Receive DMA Head Descriptor Pointer Register 7
02D0 0620 QUEUE8_RXDMA_HDP Queue Receive DMA Head Descriptor Pointer Register 8
02D0 0624 QUEUE9_RXDMA_HDP Queue Receive DMA Head Descriptor Pointer Register 9
02D0 0628 QUEUE10_RXDMA_HDP Queue Receive DMA Head Descriptor Pointer Register 10
02D0 062C QUEUE11_RXDMA_HDP Queue Receive DMA Head Descriptor Pointer Register 11
02D0 0630 QUEUE12_RXDMA_HDP Queue Receive DMA Head Descriptor Pointer Register 12
02D0 0634 QUEUE13_RXDMA_HDP Queue Receive DMA Head Descriptor Pointer Register 13
02D0 0638 QUEUE14_RXDMA_HDP Queue Receive DMA Head Descriptor Pointer Register 14
02D0 063C QUEUE15_RXDMA_HDP Queue Receive DMA Head Descriptor Pointer Register 15
02D0 0640 - 02D0 067C - Reserved
02D0 0680 QUEUE0_RXDMA_CP Queue Receive DMA Completion Pointer Register 0
02D0 0684 QUEUE1_RXDMA_CP Queue Receive DMA Completion Pointer Register 1
02D0 0688 QUEUE2_RXDMA_CP Queue Receive DMA Completion Pointer Register 2
02D0 068C QUEUE3_RXDMA_CP Queue Receive DMA Completion Pointer Register 3
02D0 0690 QUEUE4_RXDMA_CP Queue Receive DMA Completion Pointer Register 4
02D0 0694 QUEUE5_RXDMA_CP Queue Receive DMA Completion Pointer Register 5
02D0 0698 QUEUE6_RXDMA_CP Queue Receive DMA Completion Pointer Register 6
02D0 069C QUEUE7_RXDMA_CP Queue Receive DMA Completion Pointer Register 7
02D0 06A0 QUEUE8_RXDMA_CP Queue Receive DMA Completion Pointer Register 8
02D0 06A4 QUEUE9_RXDMA_CP Queue Receive DMA Completion Pointer Register 9
02D0 06A8 QUEUE10_RXDMA_CP Queue Receive DMA Completion Pointer Register 10
02D0 06AC QUEUE11_RXDMA_CP Queue Receive DMA Completion Pointer Register 11
02D0 06B0 QUEUE12_RXDMA_CP Queue Receive DMA Completion Pointer Register 12
02D0 06B4 QUEUE13_RXDMA_CP Queue Receive DMA Completion Pointer Register 13
02D0 06B8 QUEUE14_RXDMA_CP Queue Receive DMA Completion Pointer Register 14
02D0 06BC QUEUE15_RXDMA_CP Queue Receive DMA Completion Pointer Register 15
02D0 06C0 - 02D0 006FC - Reserved
02D0 0700 TX_QUEUE_TEAR_DOWN Transmit Queue Teardown Register
02D0 0704 TX_CPPI_FLOW_MASKS0 Transmit CPPI Supported Flow Mask Register 0
02D0 0708 TX_CPPI_FLOW_MASKS1 Transmit CPPI Supported Flow Mask Register 1
02D0 070C TX_CPPI_FLOW_MASKS2 Transmit CPPI Supported Flow Mask Register 2
02D0 0710 TX_CPPI_FLOW_MASKS3 Transmit CPPI Supported Flow Mask Register 3
02D0 0714 TX_CPPI_FLOW_MASKS4 Transmit CPPI Supported Flow Mask Register 4
02D0 0718 TX_CPPI_FLOW_MASKS5 Transmit CPPI Supported Flow Mask Register 5
02D0 071C TX_CPPI_FLOW_MASKS6 Transmit CPPI Supported Flow Mask Register 6
02D0 0720 TX_CPPI_FLOW_MASKS7 Transmit CPPI Supported Flow Mask Register 7
02D0 0724 - 02D0 073C - Reserved
02D0 0740 RX_QUEUE_TEAR_DOWN Receive Queue Teardown Register
02D0 0744 RX_CPPI_CNTL Receive CPPI Control Register
02D0 0748 - 02D0 07DC - Reserved
02D0 07E0 TX_QUEUE_CNTL0 Transmit CPPI Weighted Round Robin Control Register 0
02D0 07E4 TX_QUEUE_CNTL1 Transmit CPPI Weighted Round Robin Control Register 1
02D0 07E8 TX_QUEUE_CNTL2 Transmit CPPI Weighted Round Robin Control Register 2
02D0 07EC TX_QUEUE_CNTL3 Transmit CPPI Weighted Round Robin Control Register 3
02D0 07F0 - 02D0 07FC - Reserved
02D0 0800 RXU_MAP_L0 Mailbox-to-Queue Mapping Register L0
02D0 0804 RXU_MAP_H0 Mailbox-to-Queue Mapping Register H0
02D0 0808 RXU_MAP_L1 Mailbox-to-Queue Mapping Register L1
02D0 080C RXU_MAP_H1 Mailbox-to-Queue Mapping Register H1
02D0 0810 RXU_MAP_L2 Mailbox-to-Queue Mapping Register L2
02D0 0814 RXU_MAP_H2 Mailbox-to-Queue Mapping Register H2
02D0 0818 RXU_MAP_L3 Mailbox-to-Queue Mapping Register L3
02D0 081C RXU_MAP_H3 Mailbox-to-Queue Mapping Register H3
02D0 0820 RXU_MAP_L4 Mailbox-to-Queue Mapping Register L4
02D0 0824 RXU_MAP_H4 Mailbox-to-Queue Mapping Register H4
02D0 0828 RXU_MAP_L5 Mailbox-to-Queue Mapping Register L5
02D0 082C RXU_MAP_H5 Mailbox-to-Queue Mapping Register H5
02D0 0830 RXU_MAP_L6 Mailbox-to-Queue Mapping Register L6
02D0 0834 RXU_MAP_H6 Mailbox-to-Queue Mapping Register H6
02D0 0838 RXU_MAP_L7 Mailbox-to-Queue Mapping Register L7
02D0 083C RXU_MAP_H7 Mailbox-to-Queue Mapping Register H7
02D0 0840 RXU_MAP_L8 Mailbox-to-Queue Mapping Register L8
02D0 0844 RXU_MAP_H8 Mailbox-to-Queue Mapping Register H8
02D0 0848 RXU_MAP_L9 Mailbox-to-Queue Mapping Register L9
02D0 084C RXU_MAP_H9 Mailbox-to-Queue Mapping Register H9
02D0 0850 RXU_MAP_L10 Mailbox-to-Queue Mapping Register L10
02D0 0854 RXU_MAP_H10 Mailbox-to-Queue Mapping Register H10
02D0 0858 RXU_MAP_L11 Mailbox-to-Queue Mapping Register L11
02D0 085C RXU_MAP_H11 Mailbox-to-Queue Mapping Register H11
02D0 0860 RXU_MAP_L12 Mailbox-to-Queue Mapping Register L12
02D0 0864 RXU_MAP_H12 Mailbox-to-Queue Mapping Register H12
02D0 0868 RXU_MAP_L13 Mailbox-to-Queue Mapping Register L13
02D0 086C RXU_MAP_H13 Mailbox-to-Queue Mapping Register H13
02D0 0870 RXU_MAP_L14 Mailbox-to-Queue Mapping Register L14
02D0 0874 RXU_MAP_H14 Mailbox-to-Queue Mapping Register H14
02D0 0878 RXU_MAP_L15 Mailbox-to-Queue Mapping Register L15
02D0 087C RXU_MAP_H15 Mailbox-to-Queue Mapping Register H15
02D0 0880 RXU_MAP_L16 Mailbox-to-Queue Mapping Register L16
02D0 0884 RXU_MAP_H16 Mailbox-to-Queue Mapping Register H16
02D0 0888 RXU_MAP_L17 Mailbox-to-Queue Mapping Register L17
02D0 088C RXU_MAP_H17 Mailbox-to-Queue Mapping Register H17
02D0 0890 RXU_MAP_L18 Mailbox-to-Queue Mapping Register L18
02D0 0894 RXU_MAP_H18 Mailbox-to-Queue Mapping Register H18
02D0 0898 RXU_MAP_L19 Mailbox-to-Queue Mapping Register L19
02D0 089C RXU_MAP_H19 Mailbox-to-Queue Mapping Register H19
02D0 08A0 RXU_MAP_L20 Mailbox-to-Queue Mapping Register L20
02D0 08A4 RXU_MAP_H20 Mailbox-to-Queue Mapping Register H20
02D0 08A8 RXU_MAP_L21 Mailbox-to-Queue Mapping Register L21
02D0 08AC RXU_MAP_H21 Mailbox-to-Queue Mapping Register H21
02D0 08B0 RXU_MAP_L22 Mailbox-to-Queue Mapping Register L22
02D0 08B4 RXU_MAP_H22 Mailbox-to-Queue Mapping Register H22
02D0 08B8 RXU_MAP_L23 Mailbox-to-Queue Mapping Register L23
02D0 08BC RXU_MAP_H23 Mailbox-to-Queue Mapping Register H23
02D0 08C0 RXU_MAP_L24 Mailbox-to-Queue Mapping Register L24
02D0 08C4 RXU_MAP_H24 Mailbox-to-Queue Mapping Register H24
02D0 08C8 RXU_MAP_L25 Mailbox-to-Queue Mapping Register L25
02D0 08CC RXU_MAP_H25 Mailbox-to-Queue Mapping Register H25
02D0 08D0 RXU_MAP_L26 Mailbox-to-Queue Mapping Register L26
02D0 08D4 RXU_MAP_H26 Mailbox-to-Queue Mapping Register H26
02D0 08D8 RXU_MAP_L27 Mailbox-to-Queue Mapping Register L27
02D0 08DC RXU_MAP_H27 Mailbox-to-Queue Mapping Register H27
02D0 08E0 RXU_MAP_L28 Mailbox-to-Queue Mapping Register L28
02D0 08E4 RXU_MAP_H28 Mailbox-to-Queue Mapping Register H28
02D0 08E8 RXU_MAP_L29 Mailbox-to-Queue Mapping Register L29
02D0 08EC RXU_MAP_H29 Mailbox-to-Queue Mapping Register H29
02D0 08F0 RXU_MAP_L30 Mailbox-to-Queue Mapping Register L30
02D0 08F4 RXU_MAP_H30 Mailbox-to-Queue Mapping Register H30
02D0 08F8 RXU_MAP_L31 Mailbox-to-Queue Mapping Register L31
02D0 08FC RXU_MAP_H31 Mailbox-to-Queue Mapping Register H31
02D0 0900 FLOW_CNTL0 Flow Control Table Entry Register 0
02D0 0904 FLOW_CNTL1 Flow Control Table Entry Register 1
02D0 0908 FLOW_CNTL2 Flow Control Table Entry Register 2
02D0 090C FLOW_CNTL3 Flow Control Table Entry Register 3
02D0 0910 FLOW_CNTL4 Flow Control Table Entry Register 4
02D0 0914 FLOW_CNTL5 Flow Control Table Entry Register 5
02D0 0918 FLOW_CNTL6 Flow Control Table Entry Register 6
02D0 091C FLOW_CNTL7 Flow Control Table Entry Register 7
02D0 0920 FLOW_CNTL8 Flow Control Table Entry Register 8
02D0 0924 FLOW_CNTL9 Flow Control Table Entry Register 9
02D0 0928 FLOW_CNTL10 Flow Control Table Entry Register 10
02D0 092C FLOW_CNTL11 Flow Control Table Entry Register 11
02D0 0930 FLOW_CNTL12 Flow Control Table Entry Register 12
02D0 0934 FLOW_CNTL13 Flow Control Table Entry Register 13
02D0 0938 FLOW_CNTL14 Flow Control Table Entry Register 14
02D0 093C FLOW_CNTL15 Flow Control Table Entry Register 15
02D0 0940 - 02D0 09FC - Reserved
RapidIO Peripheral-Specific Registers
02D0 1000 DEV_ID Device Identity CAR
02D0 1004 DEV_INFO Device Information CAR
02D0 1008 ASBLY_ID Assembly Identity CAR
02D0 100C ASBLY_INFO Assembly Information CAR
02D0 1010 PE_FEAT Processing Element Features CAR
02D0 1014 - Reserved
02D0 1018 SRC_OP Source Operations CAR
02D0 101C DEST_OP Destination Operations CAR
02D0 1020 - 02D0 1048 - Reserved
02D0 104C PE_LL_CTL Processing Element Logical Layer Control CSR
02D0 1050 - 02D0 1054 - Reserved
02D0 1058 LCL_CFG_HBAR Local Configuration Space Base Address 0 CSR
02D0 105C LCL_CFG_BAR Local Configuration Space Base Address 1 CSR
02D0 1060 BASE_ID Base Device ID CSR
02D0 1064 - Reserved
02D0 1068 HOST_BASE_ID_LOCK Host Base Device ID Lock CSR
02D0 106C COMP_TAG Component Tag CSR
02D0 1070 - 02D0 10FC - Reserved
RapidIO Extended Features -LP Serial Registers
02D0 1100 SP_MB_HEAD 1×/4× LP Serial Port Maintenance Block Header
02D0 1104 - 02D0 1118 - Reserved
02D0 1120 SP_LT_CTL Port Link Time-Out Control CSR
02D0 1124 SP_RT_CTL Port Response Time-Out Control CSR
02D0 1128 - 02D0 1138 - Reserved
02D0 113C SP_GEN_CTL Port General Control CSR
02D0 1140 SP0_LM_REQ Port 0 Link Maintenance Request CSR
02D0 1144 SP0_LM_RESP Port 0 Link Maintenance Response CSR
02D0 1148 SP0_ACKID_STAT Port 0 Local Acknowledge ID Status CSR
02D0 114C - 02D0 1154 - Reserved
02D0 1158 SP0_ERR_STAT Port 0 Error and Status CSR
02D0 115C SP0_CTL Port 0 Control CSR
02D0 1160 SP1_LM_REQ Port 1 Link Maintenance Request CSR
02D0 1164 SP1_LM_RESP Port 1 Link Maintenance Response CSR
02D0 1168 SP1_ACKID_STAT Port 1 Local Acknowledge ID Status CSR
02D0 116C - 02D0 1174 - Reserved
02D0 1178 SP1_ERR_STAT Port 1 Error and Status CSR
02D0 117C SP1_CTL Port 1 Control CSR
02D0 1180 SP2_LM_REQ Port 2 Link Maintenance Request CSR
02D0 1184 SP2_LM_RESP Port 2 Link Maintenance Response CSR
02D0 1188 SP2_ACKID_STAT Port 2 Local Acknowledge ID Status CSR
02D0 118C - 02D0 1194 - Reserved
02D0 1198 SP2_ERR_STAT Port 2 Error and Status CSR
02D0 119C SP2_CTL Port 2 Control CSR
02D0 11A0 SP3_LM_REQ Port 3 Link Maintenance Request CSR
02D0 11A4 SP3_LM_RESP Port 3 Link Maintenance Response CSR
02D0 11A8 SP3_ACKID_STAT Port 3 Local Acknowledge ID Status CSR
02D0 11AC - 02D0 11B4 - Reserved
02D0 11B8 SP3_ERR_STAT Port 3 Error and Status CSR
02D0 11BC SP3_CTL Port 3 Control CSR
02D0 11C0 -02D0 1FFC - Reserved
RapidIO Extended Feature -Error Management Registers
02D0 2000 ERR_RPT_BH Error Reporting Block Header
02D0 2004 - Reserved
02D0 2008 ERR_DET Logical/Transport Layer Error Detect CSR
02D0 200C ERR_EN Logical/Transport Layer Error Enable CSR
02D0 2010 H_ADDR_CAPT Logical/Transport Layer High Address Capture CSR
02D0 2014 ADDR_CAPT Logical/Transport Layer Address Capture CSR
02D0 2018 ID_CAPT Logical/Transport Layer Device ID Capture CSR
02D0 201C CTRL_CAPT Logical/Transport Layer Control Capture CSR
02D0 2020 - 02D0 2024 - Reserved
02D0 2028 PW_TGT_ID Port-Write Target Device ID CSR
02D0 202C - 02D0 203C - Reserved
02D0 2040 SP0_ERR_DET Port 0 Error Detect CSR
02D0 2044 SP0_RATE_EN Port 0 Error Enable CSR
02D0 2048 SP0_ERR_ATTR_CAPT_DBG0 Port 0 Attributes Error Capture CSR 0
02D0 204C SP0_ERR_CAPT_DBG1 Port 0 Packet/Control Symbol Error Capture CSR 1
02D0 2050 SP0_ERR_CAPT_DBG2 Port 0 Packet/Control Symbol Error Capture CSR 2
02D0 2054 SP0_ERR_CAPT_DBG3 Port 0 Packet/Control Symbol Error Capture CSR 3
02D0 2058 SP0_ERR_CAPT_DBG4 Port 0 Packet/Control Symbol Error Capture CSR 4
02D0 205C - 02D0 2064 - Reserved
02D0 2068 SP0_ERR_RATE Port 0 Error Rate CSR 0
02D0 206C SP0_ERR_THRESH Port 0 Error Rate Threshold CSR
02D0 2070 - 02D0 207C - Reserved
02D0 2080 SP1_ERR_DET Port 1 Error Detect CSR
02D0 2084 SP1_RATE_EN Port 1 Error Enable CSR
02D0 2088 SP1_ERR_ATTR_CAPT_DBG0 Port 1 Attributes Error Capture CSR 0
02D0 208C SP1_ERR_CAPT_DBG1 Port 1 Packet/Control Symbol Error Capture CSR 1
02D0 2090 SP1_ERR_CAPT_DBG2 Port 1 Packet/Control Symbol Error Capture CSR 2
02D0 2094 SP1_ERR_CAPT_DBG3 Port 1 Packet/Control Symbol Error Capture CSR 3
02D0 2098 SP1_ERR_CAPT_DBG4 Port 1 Packet/Control Symbol Error Capture CSR 4
02D0 209C - 02D0 20A4 - Reserved
02D0 20A8 SP1_ERR_RATE Port 1 Error Rate CSR
02D0 20AC SP1_ERR_THRESH Port 1 Error Rate Threshold CSR
02D0 20B0 - 02D0 20BC - Reserved
02D0 20C0 SP2_ERR_DET Port 2 Error Detect CSR
02D0 20C4 SP2_RATE_EN Port 2 Error Enable CSR
02D0 20C8 SP2_ERR_ATTR_CAPT_DBG0 Port 2 Attributes Error Capture CSR 0
02D0 20CC SP2_ERR_CAPT_DBG1 Port 2 Packet/Control Symbol Error Capture CSR 1
02D0 20D0 SP2_ERR_CAPT_DBG2 Port 2 Packet/Control Symbol Error Capture CSR 2
02D0 20D4 SP2_ERR_CAPT_DBG3 Port 2 Packet/Control Symbol Error Capture CSR 3
02D0 20D8 SP2_ERR_CAPT_DBG4 Port 2 Packet/Control Symbol Error Capture CSR 4
02D0 20DC - 02D0 20E4 - Reserved
02D0 20E8 SP2_ERR_RATE Port 2 Error Rate CSR
02D0 20EC SP2_ERR_THRESH Port 2 Error Rate Threshold CSR
02D0 20F0 - 02D0 20FC - Reserved
02D0 2100 SP3_ERR_DET Port 3 Error Detect CSR
02D0 2104 SP3_RATE_EN Port 3 Error Enable CSR
02D0 2108 SP3_ERR_ATTR_CAPT_DBG0 Port 3 Attributes Error Capture CSR 0
02D0 210C SP3_ERR_CAPT_DBG1 Port 3 Packet/Control Symbol Error Capture CSR 1
02D0 2110 SP3_ERR_CAPT_DBG2 Port 3 Packet/Control Symbol Error Capture CSR 2
02D0 2114 SP3_ERR_CAPT_DBG3 Port 3 Packet/Control Symbol Error Capture CSR 3
02D0 2118 SP3_ERR_CAPT_DBG4 Port 3 Packet/Control Symbol Error Capture CSR 4
02D0 211C - 02D0 2124 - Reserved
02D0 2128 SP3_ERR_RATE Port 3 Error Rate CSR
02D0 212C SP3_ERR_THRESH Port 3 Error Rate Threshold CSR
02D0 2130 -02D1 0FFC - Reserved
Implementation Registers
02D1 1000 - 02D1 1FFC - Reserved
02D1 2000 SP_IP_DISCOVERY_TIMER Port IP Discovery Timer in 4x mode
02D1 2004 SP_IP_MODE Port IP Mode CSR
02D1 2008 IP_PRESCAL Port IP Prescaler Register
02D1 200C - Reserved
02D1 2010 SP_IP_PW_IN_CAPT0 Port-Write-In Capture CSR Register 0
02D1 2014 SP_IP_PW_IN_CAPT1 Port-Write-In Capture CSR Register 1
02D1 2018 SP_IP_PW_IN_CAPT2 Port-Write-In Capture CSR Register 2
02D1 201C SP_IP_PW_IN_CAPT3 Port-Write-In Capture CSR Register 3
02D1 2020 - 02D1 3FFC - Reserved
02D1 4000 SP0_RST_OPT Port 0 Reset Option CSR
02D1 4004 SP0_CTL_INDEP Port 0 Control Independent Register
02D1 4008 SP0_SILENCE_TIMER Port 0 Silence Timer Register
02D1 400C SP0_MULT_EVNT_CS Port 0 Multicast-Event Control Symbol Request Register
02D1 4010 - Reserved
02D1 4014 SP0_CS_TX Port 0 Control Symbol Transmit Register
02D1 4018 - 02D1 40FC - Reserved
02D1 4100 SP1_RST_OPT Port 1 Reset Option CSR
02D1 4104 SP1_CTL_INDEP Port 1 Control Independent Register
02D1 4108 SP1_SILENCE_TIMER Port 1 Silence Timer Register
02D1 410C SP1_MULT_EVNT_CS Port 1 Multicast-Event Control Symbol Request Register
02D1 4110 - Reserved
02D1 4114 SP1_CS_TX Port 1 Control Symbol Transmit Register
02D1 4118 - 02D1 41FC - Reserved
02D1 4200 SP2_RST_OPT Port 2 Reset Option CSR
02D1 4204 SP2_CTL_INDEP Port 2 Control Independent Register
02D1 4208 SP2_SILENCE_TIMER Port 2 Silence Timer Register
02D1 420C SP2_MULT_EVNT_CS Port 2 Multicast-Event Control Symbol Request Register
02D1 4214 SP2_CS_TX Port 2 Control Symbol Transmit Register
02D1 4218 - 02D1 42FC - Reserved
02D1 4300 SP3_RST_OPT Port 3 Reset Option CSR
02D1 4304 SP3_CTL_INDEP Port 3 Control Independent Register
02D1 4308 SP3_SILENCE_TIMER Port 3 Silence Timer Register
02D1 430C SP3_MULT_EVNT_CS Port 3 Multicast-Event Control Symbol Request Register
02D1 4310 - Reserved
02D1 4314 SP3_CS_TX Port 3 Control Symbol Transmit Register
02D1 4318 - 02D2 0FFF - Reserved
02D2 1000 - 02DF FFFF - Reserved

4.7.17.3 Serial RapidIO Electrical Data/Timing

The TMS320TCI6484 and TMS320C6457 SerDes Implementation Guidelines application report (SPRAAY1) specifies a complete printed circuit board (PCB) solution for the C6457 as well as a list of compatible SRIO devices showing two DSPs connected via a 4× SRIO link. TI has performed the simulation and system characterization to ensure all SRIO interface timings in this solution are met; therefore, no electrical data/timing information is supplied here for this interface.

NOTE

TI supports only designs that follow the board design guidelines outlined in the application report.

Serial RapidIO is electrically compliant with the RapidIO™ Interconnect Specification, Part VI: Physical Layer 1×/4× LP-Serial Specification, Revision 1.3.

4.7.18 General-Purpose Input/Output (GPIO)

4.7.18.1 GPIO Device-Specific Information

On the C6457, the GPIO peripheral pins GP[15:0] are also used to latch configuration pins. For more detailed information on device/peripheral configuration and the C6457 device pin muxing, see Section 5.5.

4.7.18.2 GPIO Peripheral Register Description(s)

Table 4-97 GPIO Registers

HEX ADDRESS RANGE ACRONYM REGISTER NAME
02B0 0008 BINTEN GPIO interrupt per bank enable register
02B0 000C - Reserved
02B0 0010 DIR GPIO Direction Register
02B0 0014 OUT_DATA GPIO Output Data register
02B0 0018 SET_DATA GPIO Set Data register
02B0 001C CLR_DATA GPIO Clear Data Register
02B0 0020 IN_DATA GPIO Input Data Register
02B0 0024 SET_RIS_TRIG GPIO Set Rising Edge Interrupt Register
02B0 0028 CLR_RIS_TRIG GPIO Clear Rising Edge Interrupt Register
02B0 002C SET_FAL_TRIG GPIO Set Falling Edge Interrupt Register
02B0 0030 CLR_FAL_TRIG GPIO Clear Falling Edge Interrupt Register
02B0 008C - Reserved
02B0 0090 - 02B0 00FF - Reserved
02B0 0100 - 02B0 3FFF - Reserved

4.7.18.3 GPIO Electrical Data/Timing

Table 4-98 GPIO Input Timing Requirements(1)

(see Figure 4-66)
NO. MIN MAX UNIT
1 tw(GPOH) Pulse duration, GPOx high 12C ns
2 tw(GPOL) Pulse duration, GPOx low 12C ns
(1) If CORECLKSEL = 0, C = 1 ÷ CORECLK(NIP) frequency, in ns. If CORECLKSEL = 1, C = 1 ÷ ALTCORECLK frequency, in ns.

Table 4-99 GPIO Output Switching Characteristics(1)(2)

(see Figure 4-66)
NO. PARAMETER MIN MAX UNIT
1 tw(GPOH) Pulse duration, GPOx high 12C - 3 ns
2 tw(GPOL) Pulse duration, GPOx low 12C - 3 ns
(1) Over recommended operating conditions.
(2) If CORECLKSEL = 0, C = 1 ÷ CORECLK(NIP) frequency, in ns. If CORECLKSEL = 1, C = 1 ÷ ALTCORECLK frequency, in ns.
SM320C6457-HIREL GPIO_Timing_6484.gif Figure 4-66 GPIO Timing

4.7.19 Emulation Features and Capability

4.7.19.1 Advanced Event Triggering (AET)

The C6457 device supports Advanced Event Triggering (AET). This capability can be used to debug complex problems as well as understand performance characteristics of user applications. AET provides the following capabilities:

  • Hardware Program Breakpoints: specify addresses or address ranges that can generate events such as halting the processor or triggering the trace capture.
  • Data Watchpoints: specify data variable addresses, address ranges, or data values that can generate events such as halting the processor or triggering the trace capture.
  • Counters: count the occurrence of an event or cycles for performance monitoring.
  • State Sequencing: allows combinations of hardware program breakpoints and data watchpoints to precisely generate events for complex sequences.

For more information on AET, see the following documents:

  • Using Advanced Event Triggering to Find and Fix Intermittent Real-Time Bugs application report (SPRA753)
  • Using Advanced Event Triggering to Debug Real-Time Problems in High Speed Embedded Microprocessor Systems application report (SPRA387)

4.7.19.2 Trace

The C6457 device supports Trace. Trace is a debug technology that provides a detailed, historical account of application code execution, timing, and data accesses. Trace collects, compresses, and exports debug information for analysis. Trace works in real-time and does not impact the execution of the system.

For more information on board design guidelines for Trace Advanced Emulation, see the 60-Pin Emulation Header Technical Reference (SPRU655).

4.7.19.2.1 Trace Electrical Data/Timing

Table 4-100 Switching Characteristics for Trace (1)

(see Figure 4-67)
NO. PARAMETER MIN MAX UNIT
1 tw(DPnH) Pulse duration, DPn/EMUn high 2.4 ns
1 tw(DPnH)90% Pulse duration, DPn/EMUn high detected at 90% Voh 1.5 ns
2 tw(DPnL) Pulse duration, DPn/EMUn low 2.4 ns
2 tw(DPnL)10% Pulse duration, DPn/EMUn low detected at 10% Voh 1.5 ns
3 tsko(DPn) Output skew time, time delay difference between DPn/EMUn pins configured as trace -500 500 ps
(1) Over recommended operating conditions.
SM320C6457-HIREL trace_timing.gif Figure 4-67 Trace Timing

4.7.19.3 IEEE 1149.1 JTAG

The JTAG interface is used to support boundary scan and emulation of the device. The boundary scan supported allows for an asynchronous TRST and only the 5 baseline JTAG signals (e.g., no EMU[1:0]) required for boundary scan. Most interfaces on the device follow the Boundary Scan Test Specification (IEEE1149.1), while all of the SerDes (SRIO and SGMII) support the AC-coupled net test defined in AC-Coupled Net Test Specification (IEEE1149.6).

It is expected that all compliant devices are connected through the same JTAG interface, in daisy-chain fashion, in accordance with the specification. The JTAG interface uses 1.8-V LVCMOS buffers, compliant with the Power Supply Voltage and Interface Standard for Nonterminated Digital Integrated Circuit Specification (EAI/JESD8-5).

4.7.19.3.1 IEEE 1149.1 JTAG Compatibility Statement

For maximum reliability, the C6457 DSP includes an internal pulldown (IPD) on the TRST pin to ensure that TRST will always be asserted upon power up and the DSP's internal emulation logic will always be properly initialized when this pin is not routed out. JTAG controllers from Texas Instruments actively drive TRST high. However, some third-party JTAG controllers may not drive TRST high but expect the use of an external pullup resistor on TRST. When using this type of JTAG controller, assert TRST to initialize the DSP after powerup and externally drive TRST high before attempting any emulation or boundary scan operations.

4.7.19.3.2 JTAG Electrical Data/Timing

Table 4-101 JTAG Test Port Timing Requirements

(see Figure 4-68)
NO. MIN MAX UNIT
1 tc(TCK) Cycle time, TCK 10 20 ns
3 tsu(TDIV-TCKH) Setup time, TDI/TMS/TRST valid before TCK high 2 ns
4 th(TCKH-TDIV) Hold time, TDI/TMS/TRST valid after TCK high 5 ns

Table 4-102 JTAG Test Port Switching Characteristics(1)

(see Figure 4-68)
NO. PARAMETER MIN MAX UNIT
2 td(TCKL-TDOV) Delay time, TCK low to TDO valid 0.25 x tc(TCK) ns
(1) Over recommended operating conditions.
SM320C6457-HIREL JTAG_Test-Port_Timing_6484.gif Figure 4-68 JTAG Test-Port Timing

4.7.19.3.3 HS-RTDX Electrical Data/Timing

Table 4-103 Timing Requirements for HS-RTDX

(see Figure 4-69)
NO. MIN MAX UNIT
1 tc(TCK) Cycle time, TCK 20 ns
2 tsu(TDIV-TCKH) Setup time, EMUn valid before TCK high 1.5 ns
3 th(TCKH-TDIV) Hold time, EMUn valid after TCK high 1.5 ns

Table 4-104 Switching Characteristics for HS-RTDX(1)

(see Figure 4-69)
NO. PARAMETER MIN MAX UNIT
4 td(TCKL-TDOV) Delay time, TCK high to EMUn valid 3 16.5 ns
(1) Over recommended operating conditions.
SM320C6457-HIREL HS-RTDX_Timing_6484.gif Figure 4-69 HS-RTDX Timing