ZHCSFL2D October   2016  – June 2019 OPA2325 , OPA325 , OPA4325

PRODUCTION DATA.  

  1. 特性
  2. 应用
    1.     失调电压与输入共模电压间的关系
  3. 说明
    1.     可用作 ADC 驱动放大器的 OPAx325
  4. 修订历史记录
  5. Pin Configuration and Functions
    1.     Pin Functions: OPA325
    2.     Pin Functions: OPA2325
    3.     Pin Functions: OPA4325
  6. Specifications
    1. 6.1 Absolute Maximum Ratings
    2. 6.2 ESD Ratings
    3. 6.3 Recommended Operating Conditions
    4. 6.4 Thermal Information: OPA325
    5. 6.5 Thermal Information: OPA2325
    6. 6.6 Thermal Information: OPA4325
    7. 6.7 Electrical Characteristics: VS = 2.2 V to 5.5 V or ±1.1 V to ±2.75 V
    8. 6.8 Typical Characteristics
  7. Detailed Description
    1. 7.1 Overview
    2. 7.2 Functional Block Diagram
    3. 7.3 Feature Description
      1. 7.3.1 Zero-Crossover Input Stage
      2. 7.3.2 Low Input Offset Voltage
      3. 7.3.3 Input and ESD Protection
    4. 7.4 Device Functional Modes
  8. Application and Implementation
    1. 8.1 Application Information
      1. 8.1.1 Operating Characteristics
      2. 8.1.2 Basic Amplifier Configurations
      3. 8.1.3 Driving an Analog-to-Digital Converter
    2. 8.2 Typical Application
      1. 8.2.1 Design Requirements
      2. 8.2.2 Detailed Design Procedure
      3. 8.2.3 Application Curves
  9. Power Supply Recommendations
  10. 10Layout
    1. 10.1 Layout Guidelines
    2. 10.2 Layout Example
  11. 11器件和文档支持
    1. 11.1 文档支持
      1. 11.1.1 相关文档
    2. 11.2 相关链接
    3. 11.3 接收文档更新通知
    4. 11.4 社区资源
    5. 11.5 商标
    6. 11.6 静电放电警告
    7. 11.7 Glossary
  12. 12机械、封装和可订购信息

封装选项

机械数据 (封装 | 引脚)
散热焊盘机械数据 (封装 | 引脚)
订购信息

Detailed Design Procedure

Traditional CMOS rail-to-rail input amplifiers use a complementary input stage: an N-channel input differential pair in parallel with a P-channel differential pair, as shown in Figure 47.

OPA325 OPA2325 OPA4325 schem-trad-cm.gifFigure 47. Complementary Input Stage (Traditional Rail-to-Rail Input CMOS Amplifiers)

The N-channel pair is active for input voltages close to the positive rail, typically (V+) – 1 V to 200 mV above the positive supply, and the P-channel pair is on for inputs from 200 mV below the negative supply to approximately (V+) – 1 V. There is a small transition region, typically (V+) – 1.1 V to (V+) – 0.9 V, in which both pairs are on. This transition region is shown in Figure 48 for a traditional rail-to-rail input CMOS amplifier. Within this transition region, PSRR, CMRR, offset voltage, offset drift, and THD can be degraded when compared to device operation outside of this region.

OPA325 OPA2325 OPA4325 ai_offset_cm_volt_bos406.gifFigure 48. Input Offset Voltage vs Common-Mode Voltage
(For Traditional Rail-to-Rail Input CMOS Amplifiers)

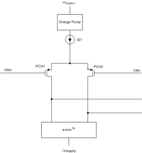
The OPAx325 amplifiers include an internal charge pump that powers the amplifier input stage with an internal supply rail that is higher than the external power supply. The internal supply rail allows a single differential pair to operate and to be linear across the entire input common-mode voltage range, as shown in Figure 49.

OPA325 OPA2325 OPA4325 schem-zero-cross.gifFigure 49. Single Differential Input Pair with a Charge Pump (Zero-Crossover)

The unique zero-crossover topology shown in Figure 49 eliminates the input offset transition region, typical of most rail-to-rail input operational amplifiers. This topology allows the OPAx325 to provide superior CMRR across the entire common-mode input range that extends 100 mV beyond both power-supply rails. Figure 50 shows the input offset voltage versus input common-mode voltage plot for the OPAx325.

OPA325 OPA2325 OPA4325 C003_SBOS637.pngFigure 50. Offset Voltage vs Common-Mode Voltage (OPAx325, Zero-Crossover Amplifier)

The OPAx325 and a typical CMOS amplifier were used in identical circuits where these amplifiers were configured as a unity-gain buffer amplifier; see Figure 51 and Figure 52. A pure sine wave with an amplitude of 2 V (4 VPP) was given as input to the two identical circuits of Figure 51 and Figure 52. The outputs of these circuits were captured on a spectrum analyzer. Figure 53 and Figure 54 illustrate the output voltage spectrum for the OPAx325 and a typical CMOS rail-to-rail amplifier, respectively. The output of the OPAx325 has very few spurs and harmonics when compared to the typical rail-to-rail CMOS amplifier, as illustrated in Figure 55.

OPA325 OPA2325 OPA4325 G-1-bos637.gifFigure 51. OPAx325 as a Unity-Gain Buffer
OPA325 OPA2325 OPA4325 G-1-typ-cmos-bos637.gifFigure 52. Typical CMOS Rail-to-Rail Amplifier as a Unity-Gain Buffer