ZHCS244C January   2012  – August 2015 DLPC300

PRODUCTION DATA.  

  1. 特性
  2. 应用
  3. 说明
  4. 修订历史记录
  5. Pin Configuration and Functions
  6. Specifications
    1. 6.1  Absolute Maximum Ratings
    2. 6.2  ESD Ratings
    3. 6.3  Recommended Operating Conditions
    4. 6.4  Thermal Information
    5. 6.5  I/O Electrical Characteristics
    6. 6.6  Crystal Port Electrical Characteristics
    7. 6.7  Power Consumption
    8. 6.8  I2C Interface Timing Requirements
    9. 6.9  Parallel Interface Frame Timing Requirements
    10. 6.10 Parallel Interface General Timing Requirements
    11. 6.11 Parallel I/F Maximum Supported Horizontal Line Rate
    12. 6.12 BT.565 I/F General Timing Requirements
    13. 6.13 Flash Interface Timing Requirements
    14. 6.14 DMD Interface Timing Requirements
    15. 6.15 Mobile Dual Data Rate (mDDR) Memory Interface Timing Requirements
    16. 6.16 JTAG Interface: I/O Boundary Scan Application Switching Characteristics
  7. Detailed Description
    1. 7.1 Overview
    2. 7.2 Functional Block Diagram
    3. 7.3 Feature Description
    4. 7.4 Device Functional Modes
      1. 7.4.1 Configuration Control
      2. 7.4.2 Parallel Bus Interface
      3. 7.4.3 BT.656 Interface
  8. Application and Implementation
    1. 8.1 Application Information
    2. 8.2 Typical Application
      1. 8.2.1 Design Requirements
      2. 8.2.2 Detailed Design Procedure
        1. 8.2.2.1 System Input Interfaces
          1. 8.2.2.1.1 Control Interface
        2. 8.2.2.2 Input Data Interface
        3. 8.2.2.3 System Output Interfaces
          1. 8.2.2.3.1 Illumination Interface
        4. 8.2.2.4 System Support Interfaces
          1. 8.2.2.4.1 Mobile DDR Synchronous Dram (MDDR)
          2. 8.2.2.4.2 Flash Memory Interface
          3. 8.2.2.4.3 DLPC300 Reference Clock
        5. 8.2.2.5 DMD Interfaces
          1. 8.2.2.5.1 DLPC300 to DLP3000 Digital Data
          2. 8.2.2.5.2 DLPC300 to DLP3000 Control Interface
          3. 8.2.2.5.3 DLPC300 to DLP3000 Micromirror Reset Control Interface
        6. 8.2.2.6 Maximum Signal Transition Time
    3. 8.3 System Examples
      1. 8.3.1 Video Source System Application
      2. 8.3.2 High Pattern Rate System With Optional Fpga
  9. Power Supply Recommendations
    1. 9.1 System Power-Up and Power-Down Sequence
      1. 9.1.1 Power Up Sequence
      2. 9.1.2 Power Down Sequence
      3. 9.1.3 Additional Power-Up Initialization Sequence Details
    2. 9.2 System Power I/O State Considerations
    3. 9.3 Power-Good (PARK) Support
  10. 10Layout
    1. 10.1 Layout Guidelines
      1. 10.1.1 Printed Circuit Board Design Guidelines
      2. 10.1.2 Printed Circuit Board Layer Stackup Geometry
      3. 10.1.3 Signal Layers
      4. 10.1.4 Routing Constraints
      5. 10.1.5 Termination Requirements
      6. 10.1.6 PLL
      7. 10.1.7 General Handling Guidelines for Unused CMOS-Type Pins
      8. 10.1.8 Hot-Plug Usage
      9. 10.1.9 External Clock Input Crystal Oscillator
    2. 10.2 Layout Example
    3. 10.3 Thermal Considerations
  11. 11器件和文档支持
    1. 11.1 器件支持
      1. 11.1.1 Third-Party Products Disclaimer
      2. 11.1.2 器件命名规则
      3. 11.1.3 器件标记
    2. 11.2 文档支持
      1. 11.2.1 相关文档
    3. 11.3 社区资源
    4. 11.4 商标
    5. 11.5 静电放电警告
    6. 11.6 Glossary
  12. 12机械、封装和可订购信息

封装选项

请参考 PDF 数据表获取器件具体的封装图。

机械数据 (封装 | 引脚)
  • ZVB|176
散热焊盘机械数据 (封装 | 引脚)
订购信息

6 Specifications

6.1 Absolute Maximum Ratings

over operating free-air temperature (unless otherwise noted).(1)
MIN MAX UNIT
ELECTRICAL
Voltage applied to(2) VDD10 –0.5 1.32 V
VDD_PLL –0.5 1.32 V
VCC18 –0.5 2.75 V
VCC_FLSH –0.5 3.60 V
VCC_INTF –0.5 3.60 V
All other input terminals, VO –0.5 3.60 V
ENVIRONMENTAL
TJ Junction temperature –30 105 ºC
Tstg Storage temperature –40 125 ºC
(1) Stresses beyond those listed under Absolute Maximum Ratings may cause permanent damage to the device. These are stress ratings only, which do not imply functional operation of the device at these or any other conditions beyond those indicated under Recommended Operating Conditions. Exposure to absolute-maximum-rated conditions for extended periods may affect device reliability.
(2) All voltages referenced to VSS (ground).

6.2 ESD Ratings

VALUE UNIT
V(ESD) Electrostatic discharge Human body model (HBM), per ANSI/ESDA/JEDEC JS-001, all pins(1) ±2000 V
Charged device model (CDM), per JEDEC specification JESD22-C101, all pins(2) ±500
(1) JEDEC document JEP155 states that 500-V HBM allows safe manufacturing with a standard ESD control process.
(2) JEDEC document JEP157 states that 250-V CDM allows safe manufacturing with a standard ESD control process.

6.3 Recommended Operating Conditions

over operating free-air temperature range (unless otherwise noted). The functional performance of the device specified in this data sheet is achieved when operating the device by the Recommended Operating Conditions. No level of performance is implied when operating the device above or below the recommended operating conditions limits.
MIN NOM MAX UNIT
ELECTRICAL
VDD10 Core logic supply voltage 0.95 1 1.05 V
VDD_PLL Analog PLL supply voltage 0.95 1 1.05 V
VCC18 I/O supply voltage (except flash and 24-bit RGB interface signals) 1.71 1.8 1.89 V
VCC_FLSH Configuration and control I/O supply voltage 1.8-V LVCMOS 1.71 1.8 1.89 V
2.5-V LVCMOS 2.375 2.5 2.625
3.3-V LVCMOS 3.135 3.3 3.465
VCC_INTF 24-bit RGB interface supply voltage 1.8-V LVCMOS 1.71 1.8 1.89 V
2.5-V LVCMOS 2.375 2.5 2.625
3.3-V LVCMOS 3.135 3.3 3.465
VI Input voltage, all other pins –0.3 VCCIO(1) + 0.3 V
VO Output voltage, all other pins 0 VCCIO(1) V
ENVIRONMENTAL
TJ Operating junction temperature –20 85 ºC
(1) VCCIO represents the actual supply voltage applied to the corresponding I/O.

6.4 Thermal Information

THERMAL METRIC(1) DLPC300 UNIT
ZVB (NFBGA)
176 PINS
RθJC Junction-to-case thermal resistance 19.52 ºC/W
RθJA Junction-to-air thermal resistance (with no forced airflow) 64.96 ºC/W
(1) For more information about traditional and new thermal metrics, see the Semiconductor and IC Package Thermal Metrics application report, SPRA953.

6.5 I/O Electrical Characteristics

Voltage and current characteristics for each I/O type signal listed in Pin Configuration and Functions. All inputs and outputs are LVCMOS.
PARAMETER TEST CONDITIONS MIN MAX UNIT
VIH High-level input voltage B64 inputs VCC = 1.8 V 1.19 VCC + 0.3 V
I1, I2, I3, I4, B14, B18, B34, B38 inputs 1.2 VCC + 0.3
I2, I3, B34, B38 inputs VCC = 2.5 V 1.7 VCC + 0.3
I2, I3, B34, B38 inputs VCC = 3.3 V 2 VCC + 0.3
VIL Low-level input voltage I1, I2, I3, I4, B14, B18, B34, B38 inputs VCC = 1.8 V –0.3 0.5 V
B64 inputs –0.3 0.57
I2, I3, B34, B38 inputs VCC = 2.5 V –0.3 0.7
I2, I3, B34, B38 inputs VCC = 3.3 V –0.3 0.8
VOH High-level output voltage O14, O24, B14, B34 outputs VCC = 1.8 V IOH = –2.58 mA 1.25 V
O58 outputs IOH = = –6.41 mA 1.25
B18, B38 outputs IOH = = –5.15 mA 1.25
O64, O74, B64 outputs IOH = = –4 mA 1.53
O24, B34 outputs VCC = 2.5 V IOH = = –6.2 mA 1.7
B38 outputs IOH = –12.4 mA 1.7
B38 outputs IOH = –10.57 mA 2.4
B38 outputs VCC = 3.3 V IOH = –10.57 mA 1.25
O24, B34 outputs IOH = –-5.29 mA 2.4
VOL Low-level output voltage O64, O74, B64 outputs VCC = 1.8 V IOL = 4 mA 0.19 V
O14, O24, B14, B34 outputs IOL = 2.89 mA 0.4
B18, B38 outputs IOL = 5.72 mA 0.4
O58 outputs IOL = 5.78 mA 0.4
O24, B34 outputs VCC = 2.5 V IOL = 6.3 mA 0.7
B38 outputs IOL = 12.7 mA 0.7
O24, B34 outputs VCC = 3.3 V IOL = 9.38 mA 0.4
B38 outputs IOL = 18.68 mA 0.4

6.6 Crystal Port Electrical Characteristics

PARAMETER NOM UNIT
PLL_REFCLK_I TO GND capacitance 4.5 pF
PLL_REFCLK_O TO GND capacitance 4.5 pF

6.7 Power Consumption

assumes the transfer of a 12 × 6 checkerboard image in 864 × 480 land scape mode at periodic 30 frames per second over the parallel RGB interface at 25ºC(1)
PARAMETER TEST CONDITIONS MIN NOM MAX UNIT
VCC_INTF 1.8 V 0.1 mW
VCC_FLSH 2.5 V 0
VCC18 1.8 V 50.8
VDD_PLL 1 V 2.8
VDD10 1 V 39
(1) This table lists the typical current and power consumption of the individual supplies. Note that VCC_FLSH power is 0 because the serial flash is only accessed upon device configuration and not during normal operation.

6.8 I2C Interface Timing Requirements

MIN MAX UNIT
ƒscl I2C clock frequency 0 400 kHz
tsch I2C clock high time 1 µs
tscl I2C clock low time 1 µs
tsp I2C spike time 20 ns
tsds I2C serial-data setup time 100 ns
tsdh I2C serial-data hold time 100 ns
ticr I2C input rise time 100 ns
tocf I2C output fall time 50 pF 30 200 ns
tbuf I2C bus free time between stop and start conditions 1.3 µs
tsts I2C start or repeat start condition setup 1 µs
tsth I2C start or repeat start condition hold 1 µs
tsph I2C stop condition setup 1 µs
tvd Valid-data time SCL low to SDA output valid 1 µs
Valid-data time of ACK condition ACK signal from SCL low to SDA (out) low 1 µs
tsch I2C bus capacitive load 0 100 pF

6.9 Parallel Interface Frame Timing Requirements

MIN MAX UNIT
tp_vsw Pulse duration – VSYNC high 50% reference points 1 lines
tp_vbp Vertical back porch – Time from the leading edge of VSYNC to the leading edge HSYNC for the first active line(2) 50% reference points 2 lines
tp_vfp Vertical front porch – Time from the leading edge of the HSYNC following the last active line in a frame to the leading edge of VSYNC(2) 50% reference points 1 lines
tp_tvb Total vertical blanking – Time from the leading edge of HSYNC following the last active line of one frame to the leading edge of HSYNC for the first active line in the next frame. (This is equal to the sum of vertical back porch (tp_vbp) + vertical front porch (tp_vfp).) 50% reference points 12 lines
tp_hsw Pulse duration – HSYNC high 50% reference points 4 128 PCLKs
tp_hbp Horizontal back porch – Time from rising edge of HSYNC to rising edge of DATAEN 50% reference points 4 PCLKs
tp_hfp Horizontal front porch – Time from falling edge of DATAEN to rising edge of HSYNC 50% reference points 8 PCLKs
tp_thh Total horizontal blanking – Sum of horizontal front and back porches 50% reference points See(1) PCLKs
(1) Total horizontal blanking is driven by the maximum line rate for a given source, which is a function of resolution and orientation. See Parallel I/F Maximum Supported Horizontal Line Rate for the maximum line rate for each source/display combination. tp_thb = Roundup[(1000 × ƒclock) / LR] – APPL where ƒclock = Pixel clock rate in MHz, LR = Line rate in kHz, and APPL is the number of active pixels per (horizontal) line. If tp_thb is calculated to be less than tp_hbp + tp_hfp, then the pixel clock rate is too low or the line rate is too high and one or both must be adjusted.
(2) The programmable parameter Vertical Sync Line Delay (I2C: 0x23) must be set such that: 6 – Vertical Front Porch (tp_vfp) (min 0) ≤ Vertical Sync Line DelayVertical Back Porch (tp_vbp) – 2 (max 15). The default value for Vertical Sync Line Delay is set to 5; thus, only a Vertical Back Porch less than 7 requires potential action.

6.10 Parallel Interface General Timing Requirements

MIN MAX UNIT
ƒclock Clock frequency, PCLK 1 33.5 MHz
tp_clkper Clock period, PCLK 50% reference points 29.85 1000 ns
tp_clkjit Clock jitter, PCLK Maximum ƒclock See(1)
tp_wh Pulse duration low, PCLK 50% reference points 10 ns
tp_wl Pulse duration high, PCLK 50% reference points 10 ns
tp_su Setup time – HSYNC, DATEN, PDATA(23:0) valid before the active edge of PCLK(2) (3) 50% reference points 3 ns
tp_h Hold time – HSYNC, DATEN, PDATA(23:0) valid after the active edge of PCLK(2) (3) 50% reference points 3 ns
tt Transition time – all signals 20% to 80% reference points 0.2 4 ns
(1) Clock jitter (in ns) should be calculated using this formula: Jitter = [1 / ƒclock – 28.35 ns]. Setup and hold times must be met during clock jitter.
(2) The active (capture) edge of PCLK for HSYNC, DATEN, and PDATA(23:0) is software programmable, but defaults to the rising edge.
(3) See Figure 3.

6.11 Parallel I/F Maximum Supported Horizontal Line Rate

DMD PARALLEL BUS SOURCE RESOLUTION LANDSCAPE FORMAT(1) PORTRAIT FORMAT(1)
RESOLUTION
(H × V)
MAX LINE RATE
(kHz)
RESOLUTION
(H × V)
MAX LINE RATE
(kHz)
0.3 WVGA diamond NSTC(2) 720 × 240 17 Not supported N/A
PAL(2) 720 × 288 20 Not supported N/A
QVGA 320 × 240 17 240 × 320 22
QWVGA 427 × 240 17 240 × 427(2) 27
3:2 VGA 640 × 430 30 430 × 640 45
4:3 VGA 640 × 480 34 480 × 640 45
WVGA-720 720 × 480 34 480 × 720 51
WVGA-752 752 × 480 34 480 × 752 53
WVGA-800 800 × 480 34 480 × 800 56
WVGA-852 852 × 480 34 480 × 852 56
WVGA-853 853 × 480 34 480 × 853 56
WVGA-854 854 × 480 34 480 × 854 56
WVGA-864 864 × 480 34 480 × 864 56
Optical test 608 × 684 48 Not supported N/A
(1) See the DLPC300 Software Programmer's Guide (DLPU004) to invoke the appropriate input and output resolutions.
(2) NTSC and PAL are assumed to be interlaced sources.

6.12 BT.565 I/F General Timing Requirements

The DLPC300 controller input interface supports the industry standard BT.656 parallel video interface. See the appropriate ITU-R BT.656 specification for detailed interface timing requirements.(1)
MIN MAX UNIT
ƒclock Clock frequency, PCLK 1 33.5 MHz
tp_clkper Clock period, PCLK 50% reference points 29.85 1000 ns
tp_clkjit Clock jitter, PCLK Maximum ƒclock See(1)
tp_wh Pulse duration low, PCLK 50% reference points 10 ns
tp_wl Pulse duration high, PCLK 50% reference points 10 ns
tp_su Setup time – HSYNC, DATEN, and PDATA(23:0) valid before the active edge of PCLK 50% reference points 3 ns
tp_h Hold time – HSYNC, DATEN, and PDATA(23:0) valid after the active edge of PCLK 50% reference points 3 ns
tt Transition time – all signals 20% to 80% reference points 0.2 4 ns
(1) The BT.656 I/F accepts 8-bit per color, 4:2:2 YCb/Cr data encoded per the industry standard by PDATA(7:0) on the active edge of PCLK (that is, programmable) as shown in Figure 3.

6.13 Flash Interface Timing Requirements

see (2) (3)
MIN MAX UNIT
ƒclock Clock frequency, SPICLK(1) 33.3266 33.34 MHz
tp_clkper Clock period, SPICLK 50% reference points 29.994 30.006 ns
tp_wh Pulse duration low, SPICLK 50% reference points 10 ns
tp_wl Pulse duration high, SPICLK 50% reference points 10 ns
tt Transition time – All signals 20% to 80% reference points 0.2 4 ns
tp_su Setup time – SPIDIN valid before SPICLK falling edge 50% reference points 10 ns
tp_h Hold time – SPIDIN valid after SPICLK falling edge 50% reference points 0 ns
tp_clqv SPICLK clock low to output valid time – SPIDOUT and SPICS0 50% reference points 1 ns
tp_clqx SPICLK clock low output hold time – SPI_DOUT and SPICS0 50% reference points –1 ns
(1) This range includes the 200 ppm of the external oscillator (but no jitter).
(2) Standard SPI protocol is to transmit data on the falling edge of SPICLK and to capture data on the rising edge. The DLPC300 does transmit data on the falling edge, but it also captures data on the falling edge rather than the rising edge. This provides support for SPI devices with long clock-to-Q timing. DLPC300 hold capture timing has been set to facilitate reliable operation with standard external SPI protocol devices.
(3) With the above output timing, DLPC300 provides the external SPI device 14-ns input setup and 14-ns input hold relative to the rising edge of SPICLK.

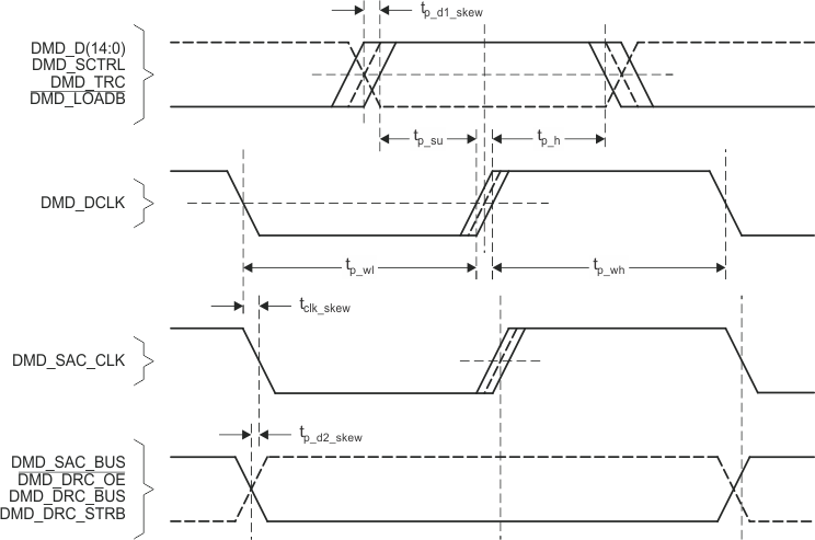
6.14 DMD Interface Timing Requirements

The DLPC300 controller DMD interface consists of a 76.19-MHz (nominal) DDR output-only interface with LVCMOS signaling.(5)
FROM (INPUT) TO (OUTPUT) MIN MAX UNIT
ƒclock Clock frequency(1) n/a DMD_DCLK and DMD_SAC_CLK 76.198 76.206 MHz
tp_clkper Clock period 50% reference points n/a DMD_DCLK and DMD_SAC_CLK 13.123 15 ns
tp_wh Pulse duration low 50% reference points n/a DMD_DCLK and DMD_SAC_CLK 6.2 ns
tp_wl Pulse duration high 50% reference points n/a DMD_DCLK and DMD_SAC_CLK 6.2 ns
tt Transition time 20% to 80% reference points n/a all signals 0.3 2 ns
tp_su Output setup time (2) (4) 50% reference points Both rising and falling edges of DMD_DCLK DMD_D(14:0), DMD_SCTRL, DMD_LOADB and DMD_TRC 1.5 ns
tp_h Output hold time(2) (4) 50% reference points Both rising and falling edges of DMD_DCLK DMD_D(14:0), DMD_SCTRL, DMD_LOADB, and DMD_TRC 1.5 ns
tp_d1_skew DMD data skew(3) 50% reference points Relative to each other DMD_D(14:0), DMD_SCTRL, DMD_LOADB, and DMD_TRC 0.2 ns
tp_clk_skew Clock skew 50% reference points Relative to each other DMD_DCLK and DMD_SAC_CLK 0.2 ns
tp_d2_skew DAD/SAC data skew 50% reference points Relative to DMD_SAC_CLK DMD_SAC_BUS, DMD_DRC_OE, DMD_DRC_BUS, and DMD_DRC_STRB 0.2 ns
(1) This range includes the 200 ppm of the external oscillator (but no jitter).
(2) Assumes minimum DMD setup time = 1 ns and minimum DMD hold time = 1 ns
(3) Assumes DMD data routing skew = 0.1 ns max
(4) Output setup/hold numbers already account for controller clock jitter. Only routing skew and DMD setup/hold need be considered in system timing analysis.
(5) Assumes a 30-Ω series termination for all DMD interface signals

6.15 Mobile Dual Data Rate (mDDR) Memory Interface Timing Requirements

see (2) (3) (4)
MIN MAX UNIT
tCYCLE Cycle-time reference 7500 ps
tCH CK high pulse duration(5) 2700 ps
tCL CK low pulse duration(5) 2700 ps
tDQSH DQS high pulse duration(5) 2700 ps
tDQSL DQS low pulse duration(5) 2700 ps
tWAC CK to address and control outputs active –2870 2870 ps
tQAC CK to DQS output active 200 ps
tDAC DQS to DQ and DM output active –1225 1225 ps
tDQSRS Input (read) DQS and DQ skew(1) 1000 ps
(1) Note that DQS must be within the tDQSRS read data-skew window, but need not be centered.
(2) This includes the 200 ppm of the external oscillator (but no jitter).
(3) Output setup/hold numbers already account for controller clock jitter. Only routing skew and memory setup/hold must be considered in system timing analysis.
(4) Assumes a 30-Ω series termination on all signal lines
(5) CK and DQS pulse duration specifications for the DLPC300 assume it is interfacing to a 166-MHz mDDR device. Even though these memories are only operated at 133.33 MHz, according to memory vendors, the rated tCK specification (that is, 6 ns) can be applied to determine minimum CK and DQS pulse duration requirements to the memory.

6.16 JTAG Interface: I/O Boundary Scan Application Switching Characteristics

PARAMETER TEST CONDITIONS MIN MAX UNIT
f(clock) Clock frequency, JTAGTCK 10 MHz
tc Cycle time, JTAGTCK 100 ns
tw(L) Pulse duration low, PCLK 50% reference points 40 ns
tw(H) Pulse duration high, PCLK 50% reference points 40 ns
tsu Setup time – JTAGTDI, JTAGTMS; Valid before JTAGTCK↑↓ 20% to 80% reference points 8 ns
th Hold time – JTAGTDI, JTAGTMS; Valid after JTAGTCK↑↓ 2 ns
tt Transition time 5 ns
tpd (1) Output propagation, Clock to Q From (Input) JTAGTCK↓ to (Output) JTAGTDO 3 12 ns
(1) Switching characteristics over Recommended Operating Conditions, CL (minimum timing) = 5 pF, CL (maximum timing) = 85 pF (unless otherwise noted).
DLPC300 i2c_intloadcircuit_voltwavefrms.gif
A. ACL includes probe and jig capacitance.
Figure 1. I2C Interface Load Circuit and Voltage Waveforms
DLPC300 Pll_frame_tim_lps023.gif Figure 2. Parallel I/F Frame Timing
DLPC300 general_tim_lps023.gif Figure 3. Parallel and BT.656 I/F General Timing
DLPC300 flash_tim_lps023.gif Figure 4. Flash Interface Timing
DLPC300 DMD_tim_lps023.gif Figure 5. DMD Interface Timing
DLPC300 boundary_scan_timing.gif Figure 6. Boundary Scan Timing
DLPC300 mem_add_tim_lps023.gif DLPC300 mem_wrt_tim_lps023.gif DLPC300 mem_rd_tim_lps023.gif Figure 7. mDDR Memory Interface Timing