ZHCSLN9A October   2020  – May 2021 DAC61402 , DAC81402

PRODUCTION DATA  

  1. 特性
  2. 应用
  3. 说明
  4. Revision History
  5. Device Comparison Table
  6. Pin Configuration and Functions
  7. Specifications
    1. 7.1  Absolute Maximum Ratings
    2. 7.2  ESD Ratings
    3. 7.3  Recommended Operating Conditions
    4. 7.4  Thermal Information
    5. 7.5  Electrical Characteristics
    6. 7.6  Timing Requirements: Write, IOVDD: 1.7 V to 2.7 V
    7. 7.7  Timing Requirements: Write, IOVDD: 2.7 V to 5.5 V
    8. 7.8  Timing Requirements: Read and Daisy Chain, FSDO = 0, IOVDD: 1.7 V to 2.7 V
    9. 7.9  Timing Requirements: Read and Daisy Chain, FSDO = 1, IOVDD: 1.7 V to 2.7 V
    10. 7.10 Timing Requirements: Read and Daisy Chain, FSDO = 0, IOVDD: 2.7 V to 5.5 V
    11. 7.11 Timing Requirements: Read and Daisy Chain, FSDO = 1, IOVDD: 2.7 V to 5.5 V
    12. 7.12 Timing Diagrams
    13. 7.13 Typical Characteristics
  8. Detailed Description
    1. 8.1 Overview
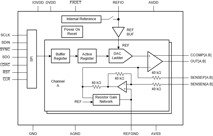
    2. 8.2 Functional Block Diagram
    3. 8.3 Feature Description
      1. 8.3.1 R-2R Ladder DAC
      2. 8.3.2 Programmable-Gain Output Buffer
        1. 8.3.2.1 Sense Pins
      3. 8.3.3 DAC Register Structure
        1. 8.3.3.1 DAC Output Update
          1. 8.3.3.1.1 Synchronous Update
          2. 8.3.3.1.2 Asynchronous Update
        2. 8.3.3.2 Broadcast DAC Register
        3. 8.3.3.3 Clear DAC Operation
      4. 8.3.4 Internal Reference
      5. 8.3.5 Power-On Reset (POR)
        1. 8.3.5.1 Hardware Reset
        2. 8.3.5.2 Software Reset
      6. 8.3.6 Thermal Alarm
    4. 8.4 Device Functional Modes
      1. 8.4.1 Power-Down Mode
    5. 8.5 Programming
      1. 8.5.1 Stand-Alone Operation
      2. 8.5.2 Daisy-Chain Operation
      3. 8.5.3 Frame Error Checking
    6. 8.6 Register Map
      1. 8.6.1  NOP Register (address = 00h) [reset = 0000h]
      2. 8.6.2  DEVICEID Register (address = 01h) [reset = 0A70h or 0930h]
      3. 8.6.3  STATUS Register (address = 02h) [reset = 0000h]
      4. 8.6.4  SPICONFIG Register (address = 03h) [reset = 0AA4h]
      5. 8.6.5  GENCONFIG Register (address = 04h) [reset = 4000h]
      6. 8.6.6  BRDCONFIG Register (address = 05h) [reset = 000Fh]
      7. 8.6.7  SYNCCONFIG Register (address = 06h) [reset = 0000h]
      8. 8.6.8  DACPWDWN Register (address = 09h) [reset = FFFFh]
      9. 8.6.9  DACRANGE Register (address = 0Ah) [reset = 0000h]
      10. 8.6.10 TRIGGER Register (address = 0Eh) [reset = 0000h]
      11. 8.6.11 BRDCAST Register (address = 0Fh) [reset = 0000h]
      12. 8.6.12 DACn Register (address = 11h to 12h) [reset = 0000h]
  9. Application and Implementation
    1. 9.1 Application Information
    2. 9.2 Typical Application
      1. 9.2.1 Design Requirements
      2. 9.2.2 Detailed Design Procedure
      3. 9.2.3 Application Curves
  10. 10Power Supply Recommendations
  11. 11Layout
    1. 11.1 Layout Guidelines
    2. 11.2 Layout Example
  12. 12Device and Documentation Support
    1. 12.1 Documentation Support
      1. 12.1.1 Related Documentation
    2. 12.2 接收文档更新通知
    3. 12.3 支持资源
    4. 12.4 Trademarks
    5. 12.5 静电放电警告
    6. 12.6 术语表
  13. 13Mechanical, Packaging, and Orderable Information

封装选项

机械数据 (封装 | 引脚)
散热焊盘机械数据 (封装 | 引脚)
订购信息