SLVU380A September   2010  – October 2021 TPS54320

 

  1.   Trademarks
  2. 1Introduction
    1. 1.1 Background
    2. 1.2 Performance Specification Summary
    3. 1.3 Modifications
      1. 1.3.1 Output Voltage Set Point
      2. 1.3.2 Slow Start Time
      3. 1.3.3 Track In
      4. 1.3.4 Adjustable UVLO
      5. 1.3.5 Input Voltage Rails
  3. 2Test Setup and Results
    1. 2.1  Input / Output Connections
    2. 2.2  Efficiency
    3. 2.3  Output Voltage Load Regulation
    4. 2.4  Output Voltage Line Regulation
    5. 2.5  Load Transients
    6. 2.6  Loop Characteristics
    7. 2.7  Output Voltage Ripple
    8. 2.8  Input Voltage Ripple
    9. 2.9  Powering Up
    10. 2.10 Thermal Characteristics
  4. 3Board Layout
    1. 3.1 Layout
    2. 3.2 Estimated Circuit Area
  5. 4Schematic and Bill of Materials
    1. 4.1 Schematic
    2. 4.2 Bill of Materials
  6. 5Revision History

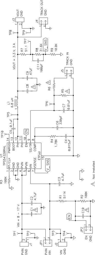
Schematic

Figure 4-1 is the schematic for the TPS54320.

GUID-E99A437A-C77C-4D34-B254-10778FA2CD79-low.gifFigure 4-1 TPS54320EVM-513 Schematic