SFFS277 November 2023 TMS320F280033 , TMS320F280034 , TMS320F280034-Q1 , TMS320F280036-Q1 , TMS320F280036C-Q1 , TMS320F280037 , TMS320F280037-Q1 , TMS320F280037C , TMS320F280037C-Q1 , TMS320F280038-Q1 , TMS320F280038C-Q1 , TMS320F280039 , TMS320F280039-Q1 , TMS320F280039C , TMS320F280039C-Q1
The various redundancy architectures possible for the safety instrumented systems are indicated in Table 8-1. For more information, see [9].
| Diagnostic Implementation | ||
|---|---|---|
| 1 | 1oo1 Architecture![]() | None. |
| 2 | 1oo1D![]() | Diagnostic channel is implemented using various hardware diagnostic features like Watchdog, and so forth. |
| 3 | 1oo1D Same figure as above. | Diagnostic channel is implemented using reciprocal comparison (uses two processing units for implementing reciprocal comparison) and other hardware diagnostic features. |
| 4 | 1oo2![]() | Two different processing units are used to implement one channel. |
| 5 | 2oo2![]() | Two different processing units are used to implement one channel. |
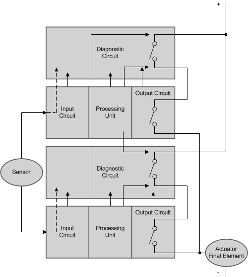
| 6 | 2oo2D![]() | Two 1oo1D structures of #2 wired together to implement a safe channel. |
| 7 | 2oo2D Same figure as above. | Two 1oo1D structures of #3 wired together. |
| 8 | 1oo2D![]() | Similar to 2oo2D implementation of #6 with additional control lines wired to control one set of units using the other unit |
| 9 | 1oo2D Same figure as above. | Similar to 2oo2D implementation of #7 with additional control lines wired to control one set of units using the other unit. |
| 10 | 2oo3![]() | Use three different processing units to implement majority voting. The fourth channel can be used either standalone or with hardware diagnostic features. |